Реферат: Направленное бурение скважин
|
Название: Направленное бурение скважин Раздел: Рефераты по геологии Тип: реферат | |||||||||||||||||||||||||||||||||||||||||||||||||||||||||||||||||||||||||||||||||||||||||||||||||||||||
| УЧЕБНО-МЕТОДИЧЕСКИЙ МОДУЛЬ №1 «СТРОИТЕЛЬСТВО СКВАЖИН» УЧЕБНО-МЕТОДИЧЕСКИЙ БЛОК №1 «ПРОБЛЕМА ПРОФИЛЯ СКВАЖИН» ТЕОРЕТИЧЕСКИЙ ОБЗОР Томск 2000 НАПРАВЛЕННОЕ БУРЕНИЕ СКВАЖИН 1. Общие сведения об искривлении скважин При бурении все скважины по различным причинам в той или иной мере отклоняются от первоначально заданного направления. Этот процесс называется искривлением. Непреднамеренное искривление называется естественным, а искривление скважин с помощью различных технологических и технических приемов - искусственным. Вообще искривление скважин сопровождается осложнениями, к числу которых относятся более интенсивный износ бурильных труб, повышенный расход мощности, затруднения при производстве спуско-подъемных операций, обрушение стенок скважины и др. Однако в ряде случаев искривление скважин позволяет значительно снизить затраты средств и времени при разработке месторождений нефти и газа. Таким образом, если искривление скважины нежелательно, то его стремятся предупредить, а если оно необходимо, то его развивают. Этот процесс называется направленным бурением, которое может быть определено как бурение скважин с использованием закономерностей естественного искривления и с помощью технологических приемов и технических средств для вывода скважины в заданную точку. При этом искривление скважин обязательно подвергается контролю и управлению. 1.1. Элементы, определяющие пространственное
положение и искривление скважин В процессе бурения направленной скважины необходимо знать положение каждой ее точки в пространстве. Для этого определяются координаты ее устья и параметры трассы, к которым относятся зенитный угол Q, азимут скважины a (рис. 1) и ее длина L. Зенитный угол - это угол между осью скважины или касательной к ней и вертикалью. Азимут - это угол между направлением на север и горизонтальной проекцией касательной к оси скважины, измеренный по часовой стрелке. Длина скважины - это расстояние между устьем и забоем по оси. Проекция оси скважины на вертикальную плоскость называется профилем, а на горизонтальную - планом. Вертикальная плоскость, проходящая через ось скважины, или касательную к ней, называется апсидальной. При выполаживании скважины происходит увеличение зенитного угла (бурение с подъемом угла), а при выкручивании - уменьшение (бурение с падением угла). При искривлении скважины влево азимут ее уменьшается, а вправо - увеличивается. Темп отклонения скважины от ее начального направления характеризуется интенсивностью искривления i, которая может быть определена как для зенитного iQ , так и азимутального ia искривления iQ = (Qк - Qн )/L, (1) ia = (aк - aн )/L, (2) где Qн и aн - соответственно начальные зенитный и азимутальный углы на определенном интервале скважины, град; Qк и aк - то же для конечных углов интервала, град; L - длина интервала скважины, м. Если скважина искривляется с постоянной интенсивностью и только в апсидальной плоскости, то ее ось представляет собой дугу окружности радиусом R, величина которого может быть определена по формуле R = 57,3/i. (3) Следует отметить, что интенсивность азимутального искривления существенно зависит от зенитного угла скважины и при малых зенитных углах может достигать весьма значительных величин, а это не дает полного представления о положении скважины. Для оценки общего искривления служит угол пространственного искривления j, показанный на рис. 2. В случае, если бы скважина, имеющая в точке А зенитный угол Qн и азимут aн , не искривлялась, то забой ее оказался бы в точке В, но за счет искривления фактически забой оказался в точке С, зенитный угол стал равным Qк , а азимут aк . Угол ВАС и является углом пространственного искривления. Величина его аналитически определяется по формуле j = arccos [cos Qн . cos Qк + sin Qн . sin Qк . cos(aк - aн )]. (4) С достаточной степенью точности этот угол может быть определен по формуле М.М. Александрова j = [DQ2 + (Da . sin Qср )2 ]0,5 , (5) где DQ и Da - соответственно приращения зенитного и азимутального углов на интервале, град; Qср - средний зенитный угол интервала, град.
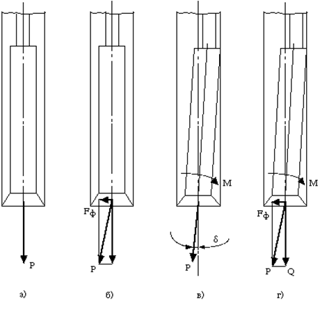
Интенсивность пространственного искривления ij определяется по формуле ij = j/L, (6) где L - длина интервала, для которого определен угол пространственного искривления, м. Величина ij не может быть больше интенсивности искривления для тех или иных средств направленного бурения, определяемых их технической характеристикой. Кроме указанных величин направленные скважины характеризуются величиной отхода (смещения) S и глубиной по вертикали h. Отход - длина горизонтальной проекции прямой, соединяющей устье и забой скважины. Глубина по вертикали - длина вертикали, соединяющей устье с горизонтальной плоскостью, проходящей через забой скважины (рис. 1). 1.2. Причины и закономерности естественного искривления скважин Отклонение скважин от проектного положения может происходить вследствие неправильного заложения оси скважины при забуривании или искривления в процессе бурения. В первом случае имеют место причины субъективного характера, которые могут быть легко устранены. Для этого необходимо обеспечить соосность фонаря вышки, проходного отверстия ротора и оси скважины; горизонтальность стола ротора, прямолинейности ведущей трубы, бурильных труб и УБТ согласно техническим условиям. Во втором случае действуют объективные причины, связанные с неравномерным разрушением породы на забое скважины. Каждая из этих причин проявляется в виде сил и опрокидывающих моментов, действующих на породоразрушающий инструмент. Все эти силы и моменты могут быть приведены к одной равнодействующей и главному моменту. При этом возможны четыре случая. 1. Все силы приводятся к равнодействующей, совпадающей с осью скважины, момент отсутствует (рис. 3, а). В этом случае обеспечивается бурение прямолинейной скважины. Таким образом, если искривление нежелательно, то необходимо создать вышеприведенные условия, что, однако, трудно достижимо. 2. Все силы приводятся к равнодействующей, направленной под углом к оси скважины, момент отсутствует (рис. 3, б). Под действием боковой составляющей равнодействующей силы происходит фрезерование стенки скважины, а следовательно, искривление. Интенсивность искривления зависит от физико-механических свойств пород, боковой фрезерующей способности долота, механической скорости бурения и других факторов. Следует отметить, что при искривлении только за счет фрезерования стенки скважины имеют место резкие перегибы ствола, что приводит к посадкам инструмента при спуске и требует дополнительной проработки скважины.
3. Все силы приводятся к равнодействующей, совпадающей с осью породоразрушающего инструмента и к опрокидывающему моменту относительно его центра (рис. 3, в). Вследствие этого между осью скважины и осью инструмента образуется некоторый угол d, в результате чего и происходит искривление. Интенсивность искривления в этом случае практически не зависит от физико- механических свойств горных пород и фрезерующей способности долота, ось скважины представляет собой плавную линию близкую к дуге окружности, что облегчает все последующие работы. 4. Все силы приводятся к равнодействующей, не совпадающей с осью скважины, и к опрокидывающему моменту (рис. 3, г). В этом случае искривление скважины происходит за счет совместного действия фрезерования стенки скважины и наклонного положения инструмента относительно оси скважины. Возникновение вышеуказанных сил и моментов, действующих на породоразрушающий инструмент, происходит из-за множества причин, не все из которых известны. Все они условно могут быть подразделены на три группы - геологические, технологические и технические. 1.3. Общие закономерности искривления скважин Анализ искривления скважин показывает, что оно подчиняется определенным закономерностям, но для разных месторождений они различны и могут существенно отличаться. Однако можно сформулировать следующие общие закономерности искривления. 1. В большинстве случаев скважины стремятся занять направление, перпендикулярное слоистости горных пород. По мере приближения к этому направлению интенсивность искривления снижается. 2. Уменьшение зазора между стенками скважины и инструментом приводит к уменьшению искривления. 3. Места установки центрирующих элементов и их диаметр весьма существенно влияют на направление и интенсивность зенитного искривления. 4. Увеличение жесткости инструмента уменьшает искривление скважины, поэтому скважины большего диаметра искривляются менее интенсивно, чем скважины малого диаметра. 5. Увеличение осевой нагрузки приводит к увеличению интенсивности искривления, а повышение частоты вращения колонны бурильных труб - к снижению искривления. 6. Направление и интенсивность азимутального искривления зависят от геологических факторов. 7. Абсолютная величина интенсивности азимутального искривления зависит от зенитного угла скважины. С его увеличением интенсивность азимутального искривления снижается. 2. Измерение искривления скважин В процессе бурения необходим постоянный контроль за положением оси скважины в пространстве. Только в этом случае можно построить геологический разрез и определить истинные глубины залегания продуктивных пластов, определить положение забоя скважины и обеспечить попадание его в заданную проектом точку. Для этого необходимо знать зенитные и азимутальные углы скважины и глубины их измерений. Такие замеры производятся с помощью специальных приборов, называемых инклинометрами. По способу измерения и передачи информации на поверхность инклинометры подразделяются на забойные, производящие измерения и передачу информации в процессе бурения, автономные приборы, опускаемые внутрь колонны бурильных труб и выдающие информацию только после подъема инструмента, и инклинометры, опускаемые в скважину на кабеле или тросе. В первом случае информация от забойных датчиков по каналу связи передается на поверхность, где и расшифровывается. В настоящее время используются как проводные, так и беспроводные каналы связи. Проводной канал связи широко используется с электробурами, так как в этом случае возможна передача сигнала с забоя по силовому кабелю. На этом принципе работает телесистема СТЭ. Существуют системы с встроенными в каждую бурильную трубу кабелями, соединяемые разъемами, линии с индукционной связью и линии из цельного сбросового кабеля. Такие линии связи обеспечивают высокую передающую способность, но они достаточно дороги, осложняют спуско-подъемные операции, имеют низкую стойкость из-за износа кабеля, создают помехи при ликвидации обрывов бурильных труб. К беспроводным каналам связи относятся гидравлический, электрический, акустический и некоторые другие. В гидравлическом канале информация передается по промывочной жидкости в виде импульсов давления, частота, фаза или амплитуда которых соответствует величине передаваемого параметра. Беспроводный электрический канал связи основан на передаче электрического сигнала по породе и колонне бурильных труб. Однако в этом случае с увеличением глубины скважины происходит значительное затухание и искажение сигнала. На этом принципе работает система ЗИС-4 и ее модификации. Другие каналы связи пока не находят широкого применения.
Забойные инклинометрические системы позволяют постоянно контролировать положение скважины в пространстве, что является их бесспорным преимуществом. Кроме замеров зенитного угла и азимута с помощью таких систем одновременно измеряются непосредственно на забое скважины и другие параметры процесса бурения, а также характеристики проходимых пород. Однако применение телеметрических систем существенно увеличивает себестоимость работ. Автономные инклинометры опускаются (бросаются) внутрь колонны бурильных труб и производят измерение зенитного угла и азимута в процессе бурения, но информация на поверхность не передается, а хранится в памяти прибора и считывается из нее после подъема колонны бурильных труб. Разрешающим сигналом для замера является, как правило, остановка процесса бурения, а при бурении инклинометр отключается. За один спуск инструмента может быть произведено до 50 замеров в зависимости от типа инклинометра. Наибольшее распространение в настоящее время у нас в стране получили инклинометры, опускаемые в скважину на кабеле. При их применении на замеры параметров искривления требуется дополнительное время, но такие инклинометры просты по конструкции и имеют низкую стоимость. По способу измерения азимута их можно подразделить на приборы для измерения в немагнитной среде, в которых азимут измеряется с помощью магнитной стрелки, и приборы для измерения в магнитной среде. Из первых наиболее известен инклинометр типа КИТ. В его комплект входят глубинный прибор и панель управления. Глубинный прибор включает в себя измерительную часть и переключающее устройство, помещенные в немагнитный корпус, заполненный демпфирующей жидкостью. К головке корпуса крепится одножильный кабель, на котором глубинный прибор опускается в скважину.
Измерительная часть, показанная на рис. 6, состоит из рамки, ось вращения которой совпадает с осью прибора. Рамка может вращаться вокруг оси в подшипниках 11 и 12. В наклонной скважине рамка под действием эксцентричного груза 1 устанавливается так, что плоскость качания маятника 2 совпадает с апсидальной плоскостью скважины. Связанная с маятником 2 стрелка 3 занимает относительно реохорда 4 положение, зависящее от зенитного угла скважины Q. Магнитная стрелка 5 датчика азимута опирается на острие иглы 7, занимающей всегда вертикальное положение. Это обеспечивается грузом 8, расположенным ниже опоры. Начало кругового реохорда 6 датчика азимута за счет эксцентричного груза 1 всегда располагается в апсидальной плоскости скважины. В верхней части рамки расположен коллектор с тремя контактными кольцами 9 и двумя парами щеток 10. Арретирование магнитной стрелки и отвеса и переключение датчиков на измерение зенитного угла или азимута производится переключающим механизмом, который приводится в действие электромагнитом, находящимся в глубинном приборе и управляемым с поверхности. В процессе спуска и подъема глубинного прибора стрелка отвеса и магнитная стрелка дугами 13 и 14 прижаты к реохордам. При остановке для замера параметров искривления они освобождаются, выдерживаются некоторое время для успокоения, затем вновь прижимаются к реохордам и производится поочередное измерение зенитного угла и азимута путем измерения величины сопротивления реохордов от начала до соответствующей стрелки. Для сокращения затрат времени при измерении в процессе искусственного искривления скважины глубинный прибор инклинометра опускается внутрь колонны бурильных труб. При этом в КНБК включается 24-36 м ЛБТ. Для исключения влияния стальных труб глубинный прибор при измерении должен находится не ближе 5 м от УБТ и 3 м от стальных замков ЛБТ. Шаг измерений инклинометром в различных условиях показан на рис.6. Контроль за измерениями производится путем повторных замеров, перекрытием предыдущих замеров и в особо ответственных случаях двумя инклинометрами.
3. Построение проекций скважин по данным инклинометрических замеров и контроль за траекторией ствола Имея данные по замерам зенитных углов и азимутов скважины в отдельных точках, производится построение фактического профиля и плана скважины. Фактическая трасса скважины сравнивается с проектной, на основании чего делается вывод о возможности попадания скважины в заданный круг допуска. В случае, если это попадание невозможно, принимается решение о применении специальных технических средств направленного бурения с целью вывода скважины на проектную трассу. 3.1. Графический способ построения проекций скважин Для построения плана и профиля скважины предварительно определяются вертикальные h и горизонтальные S проекции участков ствола между точками замеров зенитного Q и азимутального a углов скважины. При построении горизонтальной проекции используется следующая формула Si = li . sin Qi ср , (7) где li - длина участка ствола скважины между точками замера, м; Qi ср - средний зенитный угол участка, град. Qi ср = (Qiн + Qiк )/2, (8) где Qiн - зенитный угол в начале интервала, град; Qiк - зенитный угол в конце интервала, град. При построении вертикальной проекции скважины расчет величины горизонтальной проекции участка ствола ведется по формуле Si = li . sin Qi ср . cos (aпр - ai ср ), (9)
где aпр - проектный азимут скважины, град; ai ср - средний азимутальный угол участка, град. ai ср = (aiн + aiк )/2, (10) где aiн - азимут скважины в начале интервала, град; aiк - азимут скважины в конце интервала, град. Величины вертикальных проекций участков ствола определяются по формуле hi = l . cos Qi ср . (11) Построение горизонтальной проекции ведется следующим образом. Через точку О, принятую за устье скважины (рис. 7), проводится направление на север. От этого направления откладывается проектный азимут скважины aпр и отрезок ОА, равный в принятом масштабе проектному отходу (смещению) S. Далее через точку О проводится линия под углом a1 ср , равным среднему значению азимута скважины на первом участке, и по ней откладывается в принятом масштабе горизонтальная проекция участка ствола S1 , определенная по формуле (7). Через полученную точку 1 под углом a2 ср к направлению на север проводится линия, по которой откладывается отрезок S2 в том же масштабе, и т. д. до точки N, являющемся забоем скважины. Соединив точки N и А, можно определить требуемый азимут скважины aтр для обеспечения попадания в заданную проектом точку, а также допустимые отклонения Da при заданном радиусе круга допуска r. Требуемый зенитный угол Qтр для попадания в проектную точку определяется по формуле Qтр = arctg [Sтр /(H - HN )], (12) где Sтр - длина горизонтальной проекции отрезка NA, определяемая по рис. 7 с учетом масштаба построения, м; Н - проектная глубина скважины по вертикали (глубина кровли продуктивного пласта), м; HN - глубина по вертикали точки N, м. При построении вертикальной проекции скважины от точки О (рис. 8), принятую за устье, по вертикали вниз в принятом масштабе откладывается проектная глубина скважины по вертикали H, а от полученной точки по горизонтали откладывается проектное смещение (отход) S. Полученная точка А является проектной точкой вскрытия продуктивного горизонта. Далее от точки О по вертикали вниз в масштабе построения откладывается вертикальная проекция первого участка ствола, рассчитанная по формуле (11), а от полученной точки по горизонтали в том же масштабе откладывается горизонтальная проекция первого участка, рассчитанная по формуле (9). Полученная точка 1 соединяется с точкой О. Отрезок О1 является проекцией ствола скважины на вертикальную плоскость, проходящую через устье скважины и проектную точку вскрытия продуктивного горизонта. Затем от точки О по вертикали в масштабе построения откладывается сумма вертикальных проекций первого и второго участков ствола h1 + h2 , а от полученной точки по горизонтали откладывается в масштабе сумма горизонтальных проекций S1 + S2 . Это делается для повышения точности и исключения ошибок построения. Полученная точка 2 соединяется с точкой 1. Такое построение проводится до точки N, являющейся забоем скважины. Соединив точку N с точкой А, можно определить требуемый зенитный угол скважины Qтр для обеспечения попадания ее в проектную точку, и допустимые отклонения DQ этого угла при заданном радиусе круга допуска r. Однако при определении требуемых зенитного Qтр и азимутального aтр углов необходимо учитывать естественное искривление скважин при бурении ее за оставшийся интервал. 3.2. Аналитическое определение координат ствола скважины Графический метод построения траекторий скважины достаточно прост и нагляден, однако трудоемок и имеет сравнительно малую точность. Более точно координаты любой точки ствола могут быть определены аналитически. Затем происходит сравнение необходимых и фактических координат и определяется возможность решения поставленной перед скважиной задачи. За начало координат принимается устье скважины. Ось OZ направлена вертикально вниз, ось OX - в направлении на проектную точку в горизонтальной плоскости, ось OY - перпендикулярно к ним и вправо относительно оси OX. Ствол скважины разбивается на участки определенной длины, например, 20 м. Приращения координат на отдельных участках DXi , DYi и DZi определяются из выражений DX = li . sin Qсрi . cos (aпр - aсрi ); (13) DY = li . sin Qcрi . sin (aпр - aсрi ); (14) DZ = li . cos Qсрi , (15) где li - длина i - го участка, м; Qсрi и aсрi - средние значения зенитного угла и азимута на i-ом участке, определяемые по формулам (8) и (10), град; aпр - проектный азимут скважины, град. Координаты X,Y и Z n-ной точки ствола будут равны n n n X = S xi , Y = S yi , Z = S zi . (16) i=1 i=1 i=1 Зная текущие координаты забоя скважины, рассчитанные по формулам (16), и координаты точки вскрытия продуктивного горизонта, можно с достаточной степенью точности определить ожидаемые координаты точки вскрытия пласта, расстояние предполагаемой точки вскрытия пласта от проектной, требуемые зенитный и азимутальный углы для попадания скважины в центр круга допуска и допустимые отклонения этих углов при заданном радиусе круга допуска. Ожидаемые координаты Xож и Yож при текущих координатах XN , YN и ZN забоя скважины определяются по формулам Xож = XN + (Hпр - ZN ) tg Qож . cos (aпр - aож ), (17) Yож = YN + (Hпр - ZN ) tg Qож . sin (aпр - aож ), (18) где Qож и aож - ожидаемые значения зенитного угла и азимута с учетом естественного искривления за интервал от точки N до точки вскрытия продуктивного горизонта, град; Hпр - проектная глубина скважины по вертикали, м; aпр - проектный азимут скважины, град. Отклонение rож предполагаемой точки вскрытия пласта от проектной составит rож = [(S - Xож )2 + Yож 2 ]0,5 , (19) где S - проектный отход (смещение) скважины, м. Если это отклонение rож больше радиуса круга допуска, то необходимо принять соответствующие меры для выведения скважины на проектную траекторию. Требуемые зенитный Qтр и азимутальный aтр углы для попадания скважины в заданную проектом точку могут быть определены из выражений Qтр = arctg [YN /(Hпр - ZN ) sin g], (20) aтр = aпр + g, (21) где g = arctg [YN /(S - XN )]. (22) Допустимые отклонения зенитного DQ и азимутального Da углов при заданном радиусе круга допуска R равны DQ = arcsin [0,7R . cos aтр /(Hпр - ZN )], (23) Da = DQ /sin Qтр . (24) 3.3. Вероятность попадания скважины в круг допуска После бурения ряда скважин в сходных геологических условиях возможно определение вероятности Р попадания следующей скважины в круг допуска по формуле -r2 /2s2 Р = 1 - е , (25) где r - радиус круга допуска, м; s - среднеквадратическое отклонение пробуренных скважин от центра круга допуска, м. s = [S Dr2 /(n - 1)]0,5 , (26) где Dr - отход от центра круга допуска для пробуренных скважин, м; n - число пробуренных скважин. Пример. Для десяти пробуренных скважин отходы от центра круга допуска составили (в порядке возрастания) 12, 14, 22, 46, 52, 54, 63, 68, 72 и 87 м. В этом случае среднеквадратическое отклонение s = 57,73 м, а вероятность попадания Р скважины в круг допуска радиусом r = 100 м равна -1002 /2 . 57,732 Р = 1 - е = 0,7769. При радиусе круга допуска 75 м эта вероятность равна 0,5700. Следовательно, для последнего случая из ста пробуренных скважин в сорока трех потребуется применение технических средств искусственного искривления с целью вывода скважин в круг допуска (правки). Эти работы необходимо закладывать в технические проекты, а в сметах предусматривать дополнительные расходы. 4. Проектирование профилей направленных скважин Проектирование профилей наклонно направленных скважин заключается, во-первых, в выборе типа профиля, во-вторых, в определении интенсивности искривления на отдельных участках ствола, и, в-третьих, в расчете профиля, включающем расчет длин, глубин по вертикали и отходов по горизонтали для каждого интервала ствола и скважины в целом. 4.1. Типы профилей и рекомендации по их выбору Профиль наклонно направленной скважины выбирается так, чтобы при минимальных затратах средств и времени на ее проходку было обеспечено попадание скважины в заданную точку продуктивного пласта при допустимом отклонении. Профили скважин классифицируют по количеству интервалов ствола. За интервал принимается участок скважины с неизменной интенсивностью искривления. По указанному признаку профили наклонно направленных скважин подразделяются на двух, трех, четырех, пяти и более интервальные. Кроме того, профили подразделяются на плоские - расположенные в одной вертикальной плоскости, и пространственные, представляющие собой пространственную кривую линию. Далее рассматриваются только плоские профили. Простейшим с точки зрения геометрии является двухинтервальный профиль (рис. 9, а), содержащий вертикальный участок и участок набора зенитного угла. Такой тип профиля обеспечивает максимальный отход скважины при прочих равных условиях, но требует постоянного применения специальных компоновок на втором интервале, что приводит к существенному увеличению затрат средств и времени на бурение. Поэтому такой тип профиля в настоящее время применяется сравнительно редко и только тогда, когда имеет место значительное естественное искривление скважин в сторону увеличения зенитного угла. Трехинтервальный тип профиля, состоящий из вертикального участка, участка набора зенитного угла и третьего участка, имеет две разновидности. В одном случае (рис. 9, б) третий участок прямолинейный (участок стабилизации зенитного угла), в другом (рис. 9, в) - участок малоинтенсивного уменьшения зенитного угла. Трехинтервальные профили рекомендуется применять в тех случаях, когда центрирующие элементы компоновок низа бурильной колонны мало изнашиваются в процессе бурения (сравнительно мягкие, малоабразивные породы). Такие типы профилей позволяют ограничить до минимума время работы с отклонителем и при наименьшем зенитном угле скважины получить сравнительно большое отклонение от вертикали. Четырехинтервальный тип профиля (рис. 9, г) включает вертикальный участок, участок набора зенитного угла, участок стабилизации и участок уменьшения зенитного угла. Это самый распространенный тип профиля в Западной Сибири. Его применение рекомендуется при значительных отклонениях скважин от вертикали в случае, если по геолого-техническим условиям затруднено безаварийное бурение компоновками с полноразмерными центраторами в нижних интервалах ствола скважины. Редко применяемая на практике разновидность четырехинтервального профиля включает в себя четвертый интервал с малоинтенсивным увеличением зенитного угла (рис. 9, д), что обеспечивается применением специальных КНБК. Такая разновидность профиля дает достаточно большой отход скважины и вскрытие продуктивного пласта с зенитным углом скважины при входе в него равным 40-60О . Это позволяет увеличить приток нефти в скважину, однако реализация такого профиля технически затруднена. При большой глубине скважины в четырехинтервальном типе профиля первой разновидности в конце четвертого интервала зенитный угол может уменьшиться до 0О , что при дальнейшем углублении скважины ведет к появлению пятого вертикального интервала (рис. 9, е). Для обеспечения попадания ствола в заданную точку вскрытия продуктивного горизонта в реальной практике бурения, профиль скважины может содержать еще несколько дополнительных интервалов, например, набора зенитного угла, его стабилизации и т. д. Поэтому могут быть шести, семи, и более интервальные профили скважин. Для всех рассмотренных профилей первый участок вертикальный. Ранее выпускались буровые установки, которые позволяли сразу забурить скважину под некоторым углом наклона. В настоящее время в ряде случаев с использованием современных установок наклонный ствол забуривается путем задавливания направления под зенитным углом 3-5О . Это позволяет значительно сократить затраты времени на ориентирование отклонителей в скважине, так как в наклонном стволе эта операция осуществляется намного проще.
В последнее время все большее распространение получает бурение скважин с горизонтальным участком ствола, что позволяет существенно повысить дебит скважин и нефтеотдачу пластов. В практике буровых работ США такие скважины по типу профиля делятся на четыре категории в зависимости от величины радиуса кривизны при переходе от вертикального участка к горизонтальному (большой, средний, малый и сверхмалый радиусы). Скважины с большим радиусом кривизны имеют интенсивность искривления от 0,6 до 2 град/10 м. С указанными интенсивностями искривления бурится подавляющее большинство наклонно направленных скважин в Западной Сибири. Длина горизонтальной части ствола в этом случае может быть весьма значительной и определяется, главным образом, только сопротивлением продольному перемещению бурильной колонны. Такой тип профиля скважин наиболее подходит для морских месторождений, когда требуется обеспечить добычу из пласта, находящегося на большом расстоянии от платформы. Интенсивность искривления при бурении со средним радиусом кривизны составляет от 2 до 6 град/10 м. Западными фирмами по такому типу профиля бурится подавляющее большинство скважин с горизонтальным участком ствола. Это обусловлено следующим: - многие зоны осложнений могут быть разбурены вертикальным стволом и обсажены; - длина интервалов применения отклонителей существенно меньше, чем для скважин с большим радиусом кривизны; - точка забуривания искривленного ствола располагается ближе к точке вскрытия продуктивного горизонта, что повышает точность попадания в заданный круг допуска. Однако проходка таких скважин требует специального инструмента, вписывающегося в принятый радиус кривизны. Стандартный тип профиля со средним радиусом кривизны (рис. 9, ж) содержит наклонный прямолинейный участок 3, длина которого может меняться для обеспечения попадания ствола в заданную точку. Однако если накоплен значительный опыт бурения таких скважин, то этот участок может быть исключен (рис. 9, з). Интервалы 5 (рис. 9, ж) и 3 (рис. 9, з) имеют интенсивность искривления порядка 1 град/10 м и возникают самопроизвольно вследствие невозможности резкого перехода от криволинейного интервала к прямолинейному даже при применении стабилизирующих компоновок. Длина этих интервалов около 30 м. При бурении с малым радиусом кривизны интенсивность искривления составляет от 4 до 10 град/м, при этом радиус кривизны находится в пределах от 6 до 15 м. Для бурения таких скважин используется специальный инструмент - гибкие бурильные трубы и УБТ, ведутся работы по созданию гибких забойных двигателей. Основное преимущество такого типа профиля - точный подход скважины к выбранному объекту эксплуатации. Однако при этом низка механическая скорость бурения, отсутствует серийная забойная аппаратура для контроля за положением ствола скважины, и сравнительно невелика длина горизонтального участка. Очевидно, что для более широкого внедрения такого типа профиля требуются дополнительные научные исследования и конструкторские разработки. Для получения сверхмалых радиусов кривизны (от нескольких сантиметров до 0,6 м) используются высоконапорные струи воды, с помощью которых создаются стволы диаметром 40 - 70 мм. Этот метод пока применяют только в экспериментальных целях. Скважины с горизонтальным участком ствола, сооружаемые в Западной Сибири, имеют комбинированный профиль. До кровли продуктивного пласта скважина буриться с интенсивностью искривления до 2 град/10 м (большой радиус кривизны по американской классификации). Зенитный угол скважины доводится при этом до 60-65О . В продуктивном пласте интенсивность искривления ствола составляет 8-10 град/10 м, и зенитный угол доводится до 90О , а далее продолжается бурение горизонтального интервала длиной до 1000 м. Имеется опыт бурения таких скважин при радиусах кривизны 250-460 м. 4.2. Определение допустимой интенсивности искривления скважин Выбор необходимой интенсивности искривления ствола производится с учетом нескольких факторов. Очевидно, что при значительной интенсивности искривления, ухудшаются условия эксплуатации всего оборудования и инструмента, при спуске бурильных и обсадных колонн возможны посадки и образование желобов. Однако длина интервала искривления в этом случае сокращается, что приводит к уменьшению дополнительных затрат времени на бурение с отклонителем. При малой интенсивности искривления затраты за счет увеличения длины интервала бурения с отклонителем существенно выше. Допустимый радиус кривизны определяется с различных точек зрения. Во-первых, минимально допустимый радиус кривизны ствола рассчитывается исходя из условий проходимости всего инструмента и оборудования по скважине. При этом учитывается возможен ли спуск инструмента под действием веса, например, колонны бурильных труб. В этом случае допускается изгиб спускаемого инструмента, в частности турбобура, но, естественно, без остаточных деформаций. Если принудительный спуск невозможен (спуск на кабеле, тросе), то между инструментом и стенками скважины должен быть зазор, величина которого согласно инструкции принимается равным 1,5 - 3 мм. В общем случае достаточно точно минимальный радиус кривизны Rmin с этой точки зрения определяется по формуле [1] Rmin = L2 / [8 . (D - в - k)], (27) где L - длина спускаемого инструмента, м; в - его диаметр, м; в - диаметр скважины или внутренний диаметр соответствующей обсадной колонны в зависимости от исходных условий расчета, м; k - необходимый зазор, м. Во-вторых, чтобы не происходило разрушение стенок скважины при спуско-подъемных операциях, т.е. для исключения желобообразования, минимальный радиус искривления R должен удовлетворять следующему условию [1] R > P . l/ Fдоп , (28) где P - натяжение бурильной колонны при подъеме инструмента, кН; l - расстояние между замками, м; Fдоп - допустимая сила прижатия замка к стенке скважины, кН. Для условий Западной Сибири при глубинах до 1000 м Fдоп = 10 кН, а при больших глубинах Fдоп = 20-30 кН. В крепких породах Fдоп = 40-50 кН. [1] В-третьих, для нормальной эксплуатации бурильных и обсадных колонн, т.е. для того, чтобы напряжение в трубах за счет изгиба в искривленных интервалах не превышали допустимых, минимальный радиус кривизны Rmin должен быть следующим Rmin ³ E. d/2 [sизг ], (29) E - модуль упругости, МПа/мм2 ; в - наружный диаметр труб, мм; [sизг ] - допустимое напряжение изгиба, МПа/мм2 . Определив минимальные радиусы по формулам (27) - (29), выбирают наибольший, по которому и ведут дальнейшее проектирование. Нередко минимальный радиус кривизны оговаривается инструкциями. Так, например, до недавнего времени в Западной Сибири максимальная интенсивность искривления была ограничена величиной в 2 град/10 м, что соответствует радиусу кривизны около 285 м, затем эта величина была уменьшена до 1,5 град/10 м. Значительно ограничивается интенсивность искривления ствола в интервале установки насосного оборудования (900 - 1400 м в зависимости от глубины залегания продуктивного горизонта). Согласно инструкции [4] она должна быть не более 3 град/100 м. Это ограничение связано с тем, что в искривленных участках существенно снижается межремонтный период (МРП) насосного оборудования, который является одним из основных показателей его работы. 4.3. Расчет профиля скважины Общий порядок расчета профиля скважины сводится к следующему. 1. По ранее пробуренным на месторождении скважинам определяются закономерности искривления и влияние на него различных факторов. Эти данные позволяют определить интенсивность естественного искривления на отдельных интервалах. 2. По схеме кустования или структурной карте и геологическим разрезам определяются проектный азимут скважины, глубина скважины по вертикали и проектное смещение (отход). 3. Определяется конечная глубина верхнего вертикального участка. Очевидно, что чем меньше глубина, на которой производится искусственное искривление скважины, тем меньше общие затраты средств и времени на бурение. С этой точки зрения длина верхнего вертикального участка должна быть минимальной. С другой стороны, искусственное искривление ствола в рыхлых породах затруднено, хотя в Западной Сибири есть опыт искривления, начиная с глубины 20 м. В ряде районов страны длина рассматриваемого интервала принимается такой, чтобы насосное оборудование в процессе эксплуатации скважин находилось в вертикальном участке. Длина его в этом случае доходит до 1000 м. При бурении скважин с кустовых площадок на длину верхнего вертикального участка накладывается еще ряд требований, связанных с необходимостью исключения пересечения стволов. Эти требования будут рассмотрены ниже в разделе 8.1. 4. Выбирается КНБК, обеспечивающая необходимую интенсивность искусственного искривления, которая не должна превышать ранее рассчитанную максимальную интенсивность искривления. В ряде случаев, наоборот, сначала может быть принята КНБК и по ней определяется интенсивность искусственного искривления. Интенсивность искривления на участках естественного уменьшения зенитного угла устанавливается исходя из практического опыта. 5. По величине интенсивности искусственного искривления определяются радиусы кривизны R соответствующих интервалов по формуле (3). Полученные величины радиусов сравниваются с минимально допустимыми и при необходимости корректируются. 6. Производится расчет профиля, т. е. определяется необходимый зенитный угол скважины в конце интервала набора кривизны, проекции всех интервалов на горизонтальную и вертикальную плоскость, их длины, глубина скважины по вертикали, отход (смещение) и глубина скважины по стволу. Рассчитанные глубина по вертикали и смещение сравниваются с заданными, что является проверкой правильности всех расчетов. В приведенных ниже формулах приняты следующие условные обозначения: h - глубина скважины по вертикали, м; S - общий отход скважины (смещение), м; Hn - вертикальная проекция n- го интервала, м; Sn - горизонтальная проекция n- го интервала, м; ln - длина n- го интервала, м; Rn - радиус кривизны n- го интервала, м; L - глубина скважины по стволу, м; Qn - зенитный угол скважины в конце n- го интервала, град. 4.3.1 Трехинтервальный профиль При третьем прямолинейном интервале профиля (рис. 10, а) расчет ведется по следующей схеме
Q2 = arccos {[R2 . (R2 - S)] + H . [(H2 +S2 - 2R2 . S)]0,5 }/ [(R2 - S)2 + H2 ], (39) где H = h - H1 . l2 = 0,01745 . R2 . Q2 , (40) H2 = R2 . sin Q2 , (41) S2 = R2 . (1 - cos Q2 ), (42) l3 = (H - H2 )/cos Q2 , (43)
H3 = h - H1 - H2 , (44) S3 = (H - H2 ) . tg Q2 , (45) L = H1 + l2 + l3 . (46) 4.3.2. Четырехинтервальный профиль При проектировании скважин с четырехинтервальным профилем (рис. 11) в качестве исходных данных, кроме глубины скважины по вертикали h, отхода S, глубины вертикального участка H1 , радиусов кривизны R2 и R4 , вводится зенитный угол скважины в конце второго интервала Q2 . Его величина определяется либо нормативно (в ряде случаев зенитный угол скважины не может превышать определенной величины, например, 20О ), либо берется несколько больше, рассчитанной по формуле (39). Далее определяется длина третьего прямолинейного участка по формуле l3 = A - B, (47) где A = [(h - H1 - R2 . sin Q2 ) / cos Q2 ] -ôS - Bô. sin Q2 , (48) В = R2 (1 - cos Q2 ) + (h - H1 - R2 . sin Q2 ) tg Q2 . (49) Зенитный угол скважины на конечной глубине Q4 определяется по формуле Q4 = Q2 - arctg [C/(R4 2 - C2 )0,5 ], (50) где C = [ 2R4 ôS - Bô cos Q2 - (S - B)2 cos2 Q2 ]0,5 . (51) Параметры второго интервала определяются по формулам (40), (41) и (42). Для третьего интервала глубина по вертикали h3 и отход S3 определяются из выражений h3 = l3 . cos Q2 , (52) S3 = l3 . sin Q2 . (53) Для четвертого интервала параметры профиля определяются по формулам l4 = 0,01745 . R4 (Q2 - Q4 ), (54) S4 = R4 (cos Q4 - cos Q2 ). (55) 5. Технические средства направленного бурения Для искусственного искривления скважин в требуемом направлении используются различные технические средства, называемые отклонителями. При роторном бурении технические средства и технология искусственного искривления более сложны, поэтому чаще используются отклонители с забойными двигателями. Далее рассматриваются только такие отклонители. С их помощью на породоразрушающем инструменте создается отклоняющая сила, или между осью скважины и осью породоразрушающего инструмента возникает некоторый угол перекоса. Зачастую эти отклоняющие факторы действуют совместно, но какой-либо из них имеет превалирующее значение. При этом доказано, что для любой отклоняющей компоновки при отсутствии прогиба турбобура и разработки ствола скважины при любых соотношениях диаметров долота и турбобура, искривление ствола вследствие фрезерования стенки скважины в 4,84 раза больше, чем в результате асимметричного разрушения забоя [3]. Если происходит прогиб забойного двигателя, то доля искривления ствола за счет асимметричного разрушения породы на забое будет еще меньше. В случае, если искривление происходит в основном за счет фрезерования стенки скважины, то такие отклонители называются с упругой направляющей секцией, а если за счет перекоса инструмента - с жесткой направляющей секцией.
К наиболее распространенным отклонителям относится кривой переводник, показанный на рис. 12. Он представляет собой обычный переводник, присоединительные резьбы которого выполнены под углом друг к другу. Этот угол составляет от 1 до 4О . Кривой переводник включается в компоновку между забойным двигателем и УБТ. В результате большой жесткости УБТ в забойном двигателе возникает изгиб, и на породоразрушающем инструменте возникает отклоняющая сила. Величина ее существенно зависит от длины и жесткости забойного двигателя, поэтому кривые переводники используются с односекционными или укороченными турбобурами и винтовыми забойными двигателями. Интенсивность искривления скважины при применении кривых переводников зависит от угла перекоса резьб, геометрических, жесткостных и весовых характеристик компоновки, режима бурения, фрезерующей способности долота, физико-механических свойств горных пород, зенитного угла скважины. Поэтому она колеблется в широких пределах от 1 д 6 град/10 м. Максимальный зенитный угол, который может быть достигнут при применении кривого переводника с односекционным турбобуром, составляет 40-45О [2]. При необходимости достижения больших зенитных углов следует использовать укороченные или короткие забойные двигатели. К бесспорным преимуществам кривого переводника относится его простота, однако при его использовании ухудшаются условия работы забойного двигателя за счет упругой деформации, интенсивность искривления из-за указанных выше факторов колеблется в широких пределах, породоразрушающий инструмент из-за наличия отклоняющей силы работает в более тяжелых условиях.
Турбинные отклонители серии ТО (рис. 13) состоят из турбинной 1 и шпиндельной 2 секций. Корпуса секций соединяются между собой кривым переводником 3, позволяющим передавать осевую нагрузку. Крутящий момент от вала турбинной секции к валу шпинделя, располагающихся под углом друг к другу, передается кулачковым шарниром 4. Максимальный угол перекоса осей присоединительных резьб кривого переводника g может быть определен по формуле [1] g = 57,3(2l1 - l2 )(D - d)/ 2l1 2 , (56) где l1 - расстояние от торца долота до кривого переводника, м; l2 - расстояние от кривого проводника до верхнего переводника отклонителя, м; в - диаметр долота, м; в - диаметр турбобура, м. Величина l1 может быть определена из выражения l1 = 23,9 [(D - d)/ i10 ]0,5 , (57) где i10 - желаемая интенсивность искривления скважины, град/10 м. Предельное значение величины l2 , при которой не происходит прогиба турбобура, определяется по формуле l2 = 2,83 . l1 . (58)
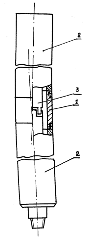
Преимуществами турбинных отклонителей являются приближение кривого переводника к забою скважины, в результате чего искривление ствола имеет более стабильный характер, мало зависящее от физико-механических свойств пород и технологии бурения. Использование нескольких турбинных секций (отклонители серии ОТС) позволяет увеличивать мощность и крутящий момент на долоте и применять такие отклонители в скважинах малого диаметра, т. е. там, где обычные кривые переводники не дают желаемых результатов. Существенным недостатком турбинных отклонителей является малый моторесурс кулачкового шарнира, соединяющего валы шпиндельной и турбинной секций. Этого недостатка в некоторой степени лишены шпиндель-отклонители (рис. 14), у которых кривой переводник 1 включен в разъемный корпус 2 шпинделя, а вал изготавливается составным, соединенным кулачковыми полумуфтами 3. Такая конструкция отклонителя позволяет разгрузить полумуфты от гидравлических нагрузок и увеличить долговечность узлов по сравнению с турбинными отклонителями. Шпинтель-отклонители можно эксплуатировать вместо обычного шпинделя с любым секционным турбобуром. Угол перекоса кривого переводника серийно выпускаемых шпиндель-отклонителей составляет 1О 30', а наружный диаметр - 195 и 240 мм. За счет приближения кривого переводника к забою повышается отклоняющая способность и стабильность искривления скважины.
Наиболее простым в изготовлении является отклонитель с эксцентричной накладкой, показанный на рис. 15. В этом случае на шпинделе или корпусе забойного двигателя приваривается накладка. В результате на породоразрушающем инструменте возникает отклоняющая сила и происходит искривление скважины. Радиус R искривления ствола может быть рассчитан по формуле R = l/ [2 sin(b + j)], (53) при этом sin b = h/ l2 (60) sin j = (d + 2h - D)/ 2. l1 , (61) где l - длина турбобура, м; h - высота накладки, мм; в - диаметр долота, мм; в - диаметр забойного двигателя, мм; l1 - расстояние от торца долота до накладки, м; l2 - расстояние от накладки до верхнего переводника турбобура, м. При применении отклонителей с накладкой искривления скважины наиболее стабильно по сравнению с другими отклонителя. В отличии от обычных кривых переводников с увеличением зенитного угла скважины отклоняющая способность отклонителя с накладкой не уменьшается. Он может быть использован с любым забойным двигателем. Однако следует отметить и существенный недостаток - "зависание" инструмента в процессе бурения в результате трения накладки о породу. В ряде случаев, особенно в крепких породах, отмечается снижение механической скорости бурения до 50 %. Для уменьшения влияния этого фактора края накладки выполняются скошенными, она облицовывается резиной, однако проблема "зависания" сохраняется. Разновидностью отклонителя с накладкой, позволяющей в какой-то мере избавиться от этого недостатка, является упругий отклонитель. Он представляет собой накладку на шпинделе турбобура, опирающуюся на резиновую рессору. В случае "зависания" или заклинивания инструмента происходит прогиб рессоры, что способствует свободному проходу отклонителя по скважине. Изменяя толщину рессоры, можно регулировать интенсивность искривления скважины. Для повышения интенсивности и стабильности искривления в ряде случаев в компоновку низа бурильной колонны включается два отклонителя, например, шпиндель-отклонитель с винтовым забойным двигателем и обычный кривой переводник. При этом, естественно, направления действия отклонителей должны совпадать. При применении всех описанных выше отклонителей после искривления скважины на требуемую величину производится замена компоновки независимо от степени износа породоразрушающего инструмента. Для сокращения затрат времени возможно бурение компоновкой с отклонителем с одновременным вращением колонны бурильных труб ротором. Наиболее пригодным для этих целей является отклонитель с эксцентричной накладкой, т.к. при использовании других отклонителей происходит быстрый износ забойных двигателей. При этом следует отметить увеличение диаметра скважины до 10 % от номинального.
Для регулирования интенсивности искривления в процессе бурения без подъема инструмента предложено несколько конструкций отклонителей. Однако в настоящее время серийно выпускается только отклонитель телепилот, разработанный Французским институтом нефти. Он представляет собой кривой переводник с изменяющимся углом перекоса от 0 до 2,5 или 3О в зависимости от модификации. Принципиальная схема отклонителя показана на рис. 18. Он состоит из верхней 1 и нижней 2 секций, соединенных валом 3, ось которого наклонена под некоторым углом g к осям секций. При взаимном положении секций 1 и 2, показанном на рис. 16, а, угол перекоса между ними отсутствует и при бурении искривления скважины не происходит. При повороте секций друг относительно друга на 180О (рис. 16, б) угол перекоса между осями секций составит 2g, и при бурении скважина будет искривляться с максимальной для данного отклонителя интенсивностью. При других взаимных положениях секций угол перекоса между ними будет в пределах от 0 до 2gО . Поворот секций друг относительно друга производится с помощью электродвигателя по командам с поверхности земли, передаваемым по кабелю. Изготавливались экспериментальные отклонители, в которых команда на поворот секции передавалась по гидравлическому каналу путем сброса внутрь колонны бурильных труб стальных шаров. Фиксация секций друг относительно друга в разных модификациях отклонителей производится как дискретно, так и в любом желаемом положении.
6. Ориентирование отклонителей Ориентирование отклонителей заключается в совмещении направления их действия с направлением необходимого отклонения ствола скважины. Ориентирование производится относительно фиксированной в каком-либо определенном положении плоскости. В наклонных скважинах такой плоскостью чаще всего является апсидальная, т.е. вертикальная плоскость, проходящая через ось скважины, а в вертикальных - плоскость магнитного или истинного меридиана. Угол между фиксированной плоскостью и плоскостью, в которой происходит искусственное искривление ствола скважины (плоскость отклонения), называется углом установки отклонителя. Угол установки измеряется от фиксированной плоскости по часовой стрелке и может изменяться от 0 до 360О . Для вертикальных скважин угол установки отклонителя равен азимуту требуемого искривления скважины. В наклонных скважинах при угле установки y равном 0О происходит искривление ствола в сторону увеличения зенитного угла Q. При угле установки y = 180О в процессе бурения скважины с отклонителем зенитный угол ее уменьшается. Азимутальный угол в том и другом случае остается неизменным. Если y = 90О , то при искривлении азимут скважины увеличивается, а при y = 270О - азимут уменьшается при сохранении зенитного угла. При условии, что 0О < y < 90О , при искривлении происходит увеличение зенитного угла Q и азимута a. Если 90О < y < 180О , то азимут возрастает, а зинитный угол уменьшается. Если 180О < y < 270О при искривлении происходит уменьшение зенитного угла и азимута. Если 270О < y < 360О зенитный угол возрастает, а азимут уменьшается (рис. 17). Точное значение угла установки отклонителя при требуемом изменении зенитного угла и азимута может быть определено различными методами: аналитически, графически несколькими способами, по номограммам, предложенными разными авторами, с помощью специальных приборов. Известные формулы для расчета угла установки отклонителя достаточно громоздки и содержат значение угла пространственного искривления скважины на интервале применения отклонителя, т.е. предварительно необходимо задаться длиной этого интервала. Однако фактическая длина интервала искривления практически никогда не совпадает с предварительно принятой, поэтому в расчете угла установки появляется погрешность. Наиболее просто и с достаточной степенью точности угол установки отклонителя может быть определен графически. Для этого от направления, условно принятого за северное (рис. 18), откладывается фактический aф (на забое скважины) и требуемый aтр (в конце интервала искривления) азимутальные углы скважины. По полученным направлениям в принятом линейном масштабе (например, 1О = 1 см) откладываются соответственно фактический Qф и требуемый Qтр зенитные углы. Требуемые азимутальный aтр и Qтр углы определяются из необходимости выведения скважины в заданную проектом точку по ранее приведенной методике. Полученные точки А и В соединяются, образовавшийся при этом угол ВАС равен искомому углу установки y. Он измеряется от направления АС по часовой стрелке. Величина отрезка АВ на рис. 18 в принятом линейном масштабе равна требуемому углу пространственного искривления скважины. Зная из технической характеристики отклонителя интенсивность искривления скважины i при его применении, можно определить длину интервала искусственного искривления L по формуле L = j/i. (62) Перед ориентированием отклонителя в скважине должно быть определено его фактическое положение относительно либо плоскости магнитного меридиана (в вертикальном стволе), либо апсидальной плоскости (в наклонном стволе). В первом случае наиболее распространенным является метод непрерывного прослеживания за положением отклонителя в скважине в процессе его спуска (метод меток). Другие способы ориентирования в этом случае либо сложны, либо имеют низкую точность. При ориентировании по меткам на концах всех элементов бурильной колонны предварительно наносятся метки, расположенные в одной осевой плоскости (на одной образующей). Ориентированный спуск отклонителя по меткам может осуществляться различными методами, но наиболее распространенным является следующий. На бумажной ленте длиной чуть более длины окружности замков бурильных труб приблизительно посредине ставится метка О (отклонитель). Отклонитель опускается в скважину и на его навинчивается УБТ. Метка О на ленте совмещается с меткой на отклонителе, указывающей направление его действия, на бумажную ленту переносится метка с нижнего конца УБТ и ставится цифра 1. Инструмент опускается в скважину, навинчивается ЛБТ (для обеспечения возможности замера параметров искривления скважины магнитным инклинометром без подъема колонны бурильных труб при искусственном искривлении), метка 1 на ленте совмещается с меткой на верхнем конце УБТ, а метка с нижнего конца ЛБТ переносится на ленту, и ставится цифра 2. Инструмент опускается, навинчивается СБТ, метка 2 на ленте совмещается с меткой на верхнем конце ЛБТ и на ленту переносится метка 3 с нижнего конца СБТ. В такой последовательности производится спуск всего инструмента. Для повышения точности ориентирования при изменении диаметра труб бумажную ленту необходимо менять. Так, например, после спуска всех ЛБТ 147х11 на верхний их конец с бумажной ленты переносится метка О. Далее метка О на новой бумажной ленте совмещается с меткой О на верхнем конце ЛБТ, на ленту переносится метка нижнего конца СБТ ТБПВ 127х9, и спуск продолжается. После навинчивания квадрата, метка на последней опущенной трубе совмещается с последней меткой на ленте, а метка О с ленты переносится на переводник квадрата. Эта метка указывает направление действия отклонителя, находящегося в скважине. Далее необходимо путем поворота всей колонны бурильных труб (всегда по часовой стрелке) совместить эту метку с проектным направлением скважины. При этом необходимо учесть угол закручивания инструмента под действием реактивного момента забойного двигателя. Практически эта операция выполняется следующим образом. Из плана - программы на проводку скважины, которая выдается буровой бригаде до начала бурения, берутся значения проектного азимута скважины aпр и азимут приемных мостков буровой установки aм , и предварительно определяется значение вспомогательного угла в по формуле в = aпр - aм . (63)
Угол в откладывается на неподвижной части ротора от направления мостков по ходу часовой стрелки, если он положительный, и против хода - если отрицательный (рис. 19). На роторе ставится метка П, указывающая направление на проектную точку. От этой метки П всегда по ходу часовой стрелки откладывается угол закручивания инструмента w под действием реактивного момента забойного двигателя, и на роторе ставится метка О. Затем вращением колонны бурильных труб совмещаются метки О на переводнике квадрата и роторе, последний закрывается, инструмент без вращения опускается на забой и начинается бурение. Для постоянного наблюдения за положением отклонителя в процессе углубки ствола на роторе ставится вспомогательная метка, совмещенная с одним из ребер квадрата. При наращивании инструмента отворачивается ведущая труба, навинчивается наращиваемая, последняя метка на бумажной ленте совмещается с меткой на последней трубе, находящейся в скважине, и на ленту переносится метка с наращиваемой трубы. Инструмент опускается в скважину, навинчивается квадрат, последняя метка на бумажной ленте совмещается с меткой на нарощенной трубе, а метка О с ленты переносится на переводник квадрата. Далее процесс ориентирования повторяется и продолжается углубка ствола скважины в заданном направлении. Точность ориентирования по меткам М сравнительно невелика и может быть определена по формуле М = 3 n0,5 град, (64) где n - число переноса меток. Угол закручивания инструмента под действием реактивного момента забойного двигателя, откладываемый на неподвижной части ротора от метки П по часовой стрелке, зависит от многих факторов. К их числу относится тип забойного двигателя, физико-механические свойства буримых пород, тип долота, осевая нагрузка, расход и качество промывочной жидкости, компоновка колонны бурильных труб, интенсивность искривления скважины и др. Значение угла закручивания может быть определено аналитически или по номограммам. Однако чаще его определяют исходя из опыта бурения в конкретных условиях, так, например, в условиях Западной Сибири для компоновки, состоящей из долота диаметром 295,3 мм, турбобура ТШ 240 (1 секция), кривого переводника, УБТ 178 х90 - 12 м, ЛБТ 147х11 - 36 м, ТБПВ 127х9 - остальное, используемой для искривления скважин в интервале бурения под кондуктор, значения угла закручивания приведены в табл. 1. Угол закручивания инструмента при бурении под кондуктор Таблица 1
Для компоновки, состоящей из долота диаметром 215,9 мм , турбинного отклонителя ТО 195, ЛБТ 147х11 - 36 м, ТБПВ 127х9 - 500-700 м, ЛБТ 147х11 - остальное, используемой при бурении под эксплуатационную колонну, значения угла закручивания приведены в табл. 2. Угол закручивания инструмента при бурении под эксплуатационную колонну Таблица 2
Однако, как указывалось ранее, угол закручивания инструмента зависит от многих факторов, поэтому фактическое его значение зачастую весьма существенно отличается от принятого. В связи с этим в процессе искусственного искривления скважины производится определение фактического угла закручивания. При этом, как правило, используется графический метод. Для этого после бурения с отклонителем определенного интервала, например, 40 м, производится замер фактического зенитного угла и азимута скважины. Далее от условного направления, принятого за северное, откладывается азимутальный угол скважины в начале интервала искривления aн , а по полученному направлению в принятом линейном масштабе, например, 1О = 1 см, откладывается начальный зенитный угол Qн (точка А, рис. 20). В точке А от направления АD по часовой стрелке откладывается угол установки отклонителя y, а по полученному направлению в принятом линейном масштабе - угол пространственного искривления скважины j на пробуренном интервале. Этот угол определяется по формуле j = i . h, (65) где i - интенсивность искусственного искривления для используемого отклонителя, град/м (определяется из технической характеристики отклонителя); h - длина пробуренного интервала, м. Полученная точка В соединяется с точкой О, при этом углы aр и Qр являются расчетными для пробуренного интервала. Затем в точке О от направления на север откладывается фактический (замеренный) азимут aф и по полученному направлению в принятом линейном масштабе фактический зенитный угол скважины Qф . Полученный угол ВАС является поправкой к углу закручивания инструмента, принятого по табл. 1 или 2. Эта поправка берется со знаком плюс, если фактический азимут меньше расчетного, и со знаком минус, если aф > aр . В случае, если точки А, В и С окажутся на одной прямой, но В и С не совпадают, то это свидетельствует о том, что фактический угол закручивания инструмента равен принятому, но фактическая интенсивность искусственного искривления для используемого отклонителя отличается от указанной в технической характеристике. После определения величины поправки угла закручивания инструмента необходимо произвести корректировку угла установки отклонителя путем поворота колонны бурильных труб. Для более точного откладывания углов на неподвижной части ротора необходимо перевести их значения в градусах в длину дуги окружности S стола ротора по формуле S = r . a/ 57,3, (66) где r - радиус стола ротора; a - откладываемый угол. Длина дуги измеряется стальной рулеткой. В наклонном стволе используется косвенный метод ориентирования, основанный на определении положения плоскости действия отклонителя относительно апсидальной плоскости скважины. Это существенно снижает затраты времени и повышает точность ориентирования отклонителя. В компоновку низа бурильной колонны включается так называемый магнитный переводник, представляющий собой обычный переводник, во внутренней боковой поверхности которого встроен постоянный магнит. Создаваемый им магнитный поток имеет то же направление действия, что и направление действия отклонителя. При ориентировании внутрь колонны бурильных труб опускается инклинометр с магнитной буссолью, например, типа КИТ. Разрыв реохорда (начало отсчета) буссоли инклинометра за счет эксцентричного груза рамки датчиков в наклонной скважине располагается в апсидальной плоскости. Магнитная стрелка буссоли, находящейся в магнитном переводнике, фиксируется в направлении действия отклонителя. При замере инклинометр показывает угол разворота плоскости действия отклонителя по отношению к азимуту скважины. Отсчитывается этот угол против хода часовой стрелки.
Ориентирование отклонителя в скважине практически производится следующим образом. Предварительно определяется значение вспомогательного угла в по формуле в = a - aм , (67) где a - фактический азимут скважины на забое; aм - азимут приемных мостков, значение которого берется из плана - программы на проводку скважины. Угол в откладывается на неподвижной части ротора от направления приемных мостков по часовой стрелке, если он положителен и против часовой стрелки, если отрицателен (рис. 21). На роторе ставится метка А - фактический азимут скважины. От полученной метки А против хода часовой стрелки откладывается угол l, замеренный инклинометром в магнитном переводнике, на роторе ставится метка, а затем она переносится на переводник квадрата. Эта метка указывает направление действия отклонителя. Далее от метки А на роторе по часовой стрелке откладывается угол установки отклонителя y и угол закручивания колонны бурильных труб w, определенные по ранее приведенной схеме. На роторе ставится метка О, затем путем вращения колонны бурильных труб ротором метка О на переводнике квадрата совмещается с меткой О на роторе, ротор закрывается и начинается процесс бурения скважины в новом направлении. В процессе бурения необходимо проводить постоянный контроль за положением скважины в пространстве. Для этого производятся замеры зенитного угла и азимута через 12 - 25 м проходки в зависимости от условий бурения и используемого отклонителя. Замеры производятся путем спуска инклинометра внутрь колонны бурильных труб. При этом для обеспечения замера азимута в КНБК включается 24 - 36 м ЛБТ между УБТ и стальными бурильными трубами. Для исключения погрешностей при измерении инклинометр должен находиться не ближе 15 м от УБТ и 3 м от стального замка ЛБТ. Таким образом, замер производится на некотором удалении от забоя. Для определения зенитного угла и азимута скважины непосредственно на забое чаще всего используется графический метод. Для этого от некоторого направления, условно принимаемого за северное, откладываются азимуты ствола в начале интервала искусственного искривления и замеренный в ЛБТ aт (рис. 22). По этим направлениям в принятом линейном масштабе откладываются соответствующие зенитные углы Qн и Qт . Полученные точки А и В соединяются между собой. Величина отрезка АВ в принятом линейном масштабе равна углу пространственного искривления скважины jт на интервале hт от начала применения отклонителя до точки замера параметров искривления в ЛБТ. Следовательно, интенсивность пространственного искривления ij на этом интервале равна ij = j / hт . (68) Угол пространственного искривления скважины jз на интервале h от начала применения отклонителя до забоя составит jз = ij . h. (69) Значение этого угла jз в принятом линейном масштабе откладывается по направлению АВ от точки А. Полученная точка С соединяется с точкой О, после чего определяются зенитный угол Qз и азимут aз на забое скважины. 7. Неориентируемые компоновки для управления искривлением скважин Использование различных типов отклонителей позволяет искривлять скважины со значительной интенсивностью, однако при этом требуется время на их ориентирование. Следует отметить, что при выполнении этой операции зачастую по различным причинам происходят ошибки, что приводит к еще большим затратам времени. Поэтому для управления искривлением предлагаются различные КНБК, позволяющие бурить скважины в нужном направлении и не требующие ориентирования. Разные типы таких компоновок обеспечивают бурение вертикальных участков, прямолинейных наклонных, с малоинтенсивным увеличением или уменьшением зенитного угла. Однако при их использовании, хотя общие тенденции искривления сохраняются, но интенсивность колеблется в широких пределах в зависимости от конкретных геологических условий. Поэтому для каждого месторождения необходимо выявление закономерностей искривления для различных типов породоразрушающего инструмента, забойных двигателей, длины и диаметра УБТ, мест установки центрирующих элементов. Кроме того, применение различных компоновок дает хорошие результаты только в случае, если направления желаемого и естественного искривления совпадают или близки друг к другу. В противном случае эффективность использования КНБК значительно снижается. Стабилизация, уменьшение или увеличение зенитного угла наклонно направленных скважин достигается установкой в КНБК центратора на соответствующем расстоянии от торца долота. На рис. 23 показаны теоретические зависимости интенсивности искривления от этого расстояния для различных диаметров долот, турбобуров и центраторов [4]. Анализ приведенных графиков показывает, что общие тенденции искривления скважин для различных случаев сохраняются. При малом расстоянии до центратора интенсивность искривления близка к 0, затем возрастает до некоторого максимума, а затем снижается. Следует отметить существенное влияние диаметра центратора. При его уменьшении даже на 2 мм интенсивность искривления снижается в некоторых случаях в 2 раза. В компании ЮКОС при бурении вертикальных участков и участков стабилизации по зенитному углу и азимуту под 245 мм кондуктор используются компоновки включающие долото, калибратор, забойный двигатель Т 12РТ – 240 и второй калибратор, или долото, калибратор, забойный двигатель Т 12РТ – 240 с двумя наваренными на корпусе центраторами диаметром 282 мм. Эта же компоновка, но без центраторов на корпусе позволяет увеличивать зенитный угол с интенсивностью 1 – 50 на 100 м при одновременном уменьшении азимута на 1 – 50 на 100 м. При бурении под эксплуатационную колону для стабилизации параметров искривления используется компоновка состоящая из долота, калибратора, забойного двигателя 3ТСШ1 – 195 с двумя шестипланочными центраторами диаметром 213 мм на шпинделе. Такая компоновка, но с одним центратором позволяет стабилизировать зенитный угол с одновременным уменьшением азимута на 1 – 30 на 100 м. При необходимости увеличении зенитного угла используются следующие компоновки: долото, калибратор, турбобур 3ТСШ1 – 195, на шпинделе которого установлена центрирующая коронка СТК диаметром 214 мм, или долото, два калибратора соединенных ниппельным проводником, турбобур 3ТСШ1 – 195. При применении этих компоновок зенитный угол повышается с интенсивностью 1 – 30 на 100 м при одновременном уменьшении на 1 – 30 на 100 м. Для мало интенсивного снижения зенитного угла на 1 – 30 на 100 м используется компоновка состоящая из долота, калибратора, турбобура 3ТСШ1 – 195. При этом азимут также уменьшается на 1 – 30 на 100 м. при необходимости уменьшении зенитного угла с интенсивностью до 3 – 150 на 100 м применяются компоновки, включающие долото, переводник муфтовый, винтовой забойный двигатель Д – 2 – 195, переводник, ЛБТ 147х11 длиной 12 м или долото, переводник, труба ТБПК 127х11 длиной 6 - 8 м, калибратор, турбобур 3ТСШ1 – 195. При применении последней компоновки азимут скважины снижается с интенсивностью 3 – 50 на 100 м.
8. Бурение скважин с кустовых площадок Кустовым бурением называют такой способ, при котором устья скважин находятся на общей площадке сравнительно небольших размеров, а забои в соответствии с геологической сеткой разработки месторождения. Впервые этот способ был применен в 1934 г. на Каспии, затем стал использоваться в Пермском нефтяном районе. Особенно бурное развитие он получил в Западной Сибири, где в настоящее время более 90 % объема бурения выполняется с кустовых площадок. Бурение скважин кустовым способом имеет целый ряд существенных преимуществ. Прежде всего, это экономически выгодно, так как при этом значительно сокращаются затраты средств и времени на обустройство площадок под скважины, подъездных путей к ним и других коммуникаций, существенно уменьшаются затраты времени на вышкостроение, промысловое обустройство скважин, их эксплуатационное обслуживание и ремонт. Кроме того, кустовое бурение выгодно и с экологической точки зрения, так как позволяет значительно уменьшить площадь земель, занимаемых под буровыми, а также снизить затраты на природоохранные мероприятия. Однако широкое развитие кустового способа бурения потребовало разработки новых технологий направленного бурения, новых технических средств и оборудования. 8.1. Особенности проектирования и бурения скважин с кустовых площадок
При бурении скважин с кустовых площадок в связи с тем, что устья скважин располагаются близко друг к другу, возможны тяжелые аварии, связанные с пересечением стволов двух скважин. Для предотвращения этого явления при проектировании необходимо учитывать ряд дополнительных факторов. Основной принцип проектирования состоит в том, что в процессе бурения стволы скважин должны отдаляться друг от друга. Это достигается, во-первых, оптимальным направлением движения станка (НДС) на кустовой площадке, во-вторых, соответствующей очередностью разбуривания скважин и, в-третьих, безопасной глубиной зарезки наклонного ствола. Наиболее оптимальным вариантом бурения с кустовой площадки является такой, при котором направления на проектные забои скважин близки к перпендикулярным по отношению к НДС, а совпадение НДС и направлений на проектные забои нежелательно и должно быть минимальным (рис. 24).
После определения НДС производится проектирование очередности бурения скважин. Она зависит от величины угла, измеряемого от НДС до проектного направления на забой скважины по ходу часовой стрелки. В первую очередь бурятся скважины, для которых этот угол составляет 120-240О (I сектор), причем сначала скважины с большими зенитными углами (рис. 25). Во вторую очередь - скважины, горизонтальные проекции которых образуют с НДС угол, равный 60-120О и 240-300О (II сектор), и вертикальные скважины. В последнюю очередь бурятся скважины, для которых указанный угол ограничен секторами 0-60О и 300-360О (III сектор), причем сначала скважины с меньшими зенитными углами. Глубина зарезки наклонного ствола при бурении скважин I и II секторов для первой скважины принимается минимальной, а для последующих - увеличивается. Во II секторе допускается для последующих скважин глубину зарезки наклонного ствола уменьшать только в том случае, если разность в азимутах забуривания соседних скважин составляет 90О и более. Для скважин III сектора глубина зарезки наклонного ствола для очередной скважины принимается меньшей, чем для предыдущей. Расстояние по вертикали между точками забуривания наклонного ствола для двух соседних скважин, согласно действующей инструкции [4], должно быть не менее 30 м, если разность в проектных азимутах стволов составляет менее 10О ; не менее 20 м, если разность азимутов 10-20О ; и не менее 10 м во всех остальных случаях. Непосредственно в процессе бурения для предотвращения пересечения стволов необходимо обеспечить вертикальность верхней части ствола. Даже небольшое искривление в 1-2О на этом участке, особенно в направлении движения станка, может привести к пересечению стволов. Для предотвращения искривления необходимо проверить центровку буровой вышки, горизонтальность стола ротора, прямолинейность всех элементов КНБК, соосность резьб. В процессе бурения на план куста необходимо наносить горизонтальные проекции всех скважин. Однако истинное положение ствола может отличаться от расчетного. Это объясняется погрешностями при измерениях параметров искривления и ошибками графических построений. Поэтому зона вокруг ствола скважины с некоторым радиусом r, равным среднеквадратической ошибке в определении положения забоя, считается опасной с точки зрения пересечения стволов. Величина этого радиуса с достаточной степенью точности может быть принята равной 1,5 % текущей глубины скважины за вычетом вертикального участка, но не менее 1,5 м. Если в процессе бурения соприкасаются опасные зоны двух скважин, то необходимо замеры параметров искривления производить через 25 м проходки двумя инклинометрами и применять лопастные долота, что снижает вероятность повреждения обсадной колонны в ранее пробуренной скважине. Чаще же, как показывает практика, пересечение стволов возникает из-за неточностей в ориентировании и несвоевременных замерах параметров искривления. ЗАКЛЮЧЕНИЕНаправленное бурение является одной из наиболее бурно развивающихся областей в бурении скважин на нефть и газ. Это связано с тем, что все большее число скважин бурится с горизонтальным участком ствола, доля бурения на море возрастает, восстановление бездействующих скважин наиболее эффективно путем зарезки дополнительно ствола. Все это требует разработки новых более надежных технических средств и технологий проводки таких скважин. ЛИТЕРАТУРА1. Сушон Л.Я., Емельянов П.В., Муллагалиев Р.Т. Управление искривлением наклонных скважин в Западной Сибири. - М.: Недра, 1988. - 124 с. 2. Калинин А.Г., Никитин Б.А., Солодкий К.М., Султанов Б.З. Бурение наклонных и горизонтальных скважин: Справочник; Под ред. А.Г. Калинина. - М.: Недра, 1997. - 648 с. 3. Григорян Н.А. Бурение наклонных скважин уменьшенных и малых размеров. - М.: Недра, 1974. - 240 с. 4. Инструкция по бурению наклонных скважин с кустовых площадок на нефтяных месторождениях Западной Сибири. - Тюмень: Изд. СибНИИНП, 1986. - 138 с. 5. Евченко В.С., Захарченко Н.П., Каган Я.М. и др. Разработка нефтяных месторождений наклонно направленными скважины. - М.: Недра, 1986. - 278 с. |
|||||||||||||||||||||||||||||||||||||||||||||||||||||||||||||||||||||||||||||||||||||||||||||||||||||||











