Реферат: Система питания дизельных и карбюраторных двигателей
|
Название: Система питания дизельных и карбюраторных двигателей Раздел: Рефераты по транспорту Тип: реферат | ||
| Реферат На тему: Система питания дизельных и карбюраторных двигателей. Выполнил Проверил Оглавление: 1 Введение……………………………………………….. стр 3-4 Система питания дизельных двигателей. 2 Топливо для дизельных двигателей………...………... стр 5 3 Смесеобразование в дизелях………………...………... стр 6-7 4 Система питания дизеля……………………………..... стр 8-10 5 Топливные насосы высокого давления……………..... стр 11-13 6 Форсунки…………………………………………..…... стр 13-15 Система питания карбюраторных двигателей. 7 Топливо для карбюраторных двигателей……..……... стр 15-16 8 Система питания карбюраторного двигателя..……… стр 16 9 Смесеобразование. Влияние качества и состава горючей смеси на работу двигателя……...………………………........ стр 17 10 Карбюратор К-22Г автомобилей ГАЗ-51 и ГАЗ-63А. стр 17-18 11 Подача топлива и воздуха в карбюратор и горючей смеси в двигатель………………………………………………………. стр18 12 Топливопроводы, топливный насос, топливный фильтр, воздухоочиститель, впускные и выпускные трубопроводы, глуши-тель…………………………………………………………… стр 18-20 13 Заключение…..………………………………………... стр 21 15 Литературы…..………………………………………... стр 22 Автомобили и тракторы, являясь базовыми машинами для большин-ства строительных и дорожных машин (бульдозеров, кранов, погрузчиков и т. д.), широко используются для массовых перевозок сыпучих и вязких грузов, разнообразных строительных материалов, изделий и конструкций. Транспортные работы влияют на эффективность строительства. Стои-мость транспортных работ составляет 12—20% от общей стоимости стро-ительства. Начало развития двигателей внутреннего сгорания относится к 60-м годам XIX в. В 1860 г. Появился газовый двигатель Ленуара, в 1870 г.— четырехтактный газовый двигатель Отто. В России первый бензиновый двигатель был создан в Петербурге в 1879 г. капитаном русского флота И. С. Костовичем. В 1897 г. в Германий по проекту инженера Р. Дизеля был построен двигатель с воспламенением топлива от сжатого до высокой температуры воздуха. В 1901 г. в России по проекту талантливого инже-нера Г. В. Тринклера был построен первый в мире бескомпрессорный двигатель с воспламенением от сжатия. В 1910 г. по проекту русского изобретателя Я. В. Мамина был построен бескомпрессорный двигатель с воспламенением от сжатия для колесного трактора. После Великой Октябрьской социалистической революции в нашей стране стало быстро расти производство двигателей внутреннего сгорания для различных отраслей народного хозяйства, в том числе и для строи-тельных машин. В развитии и совершенствовании двигателей внутреннего сгорания большую роль сыграли русские ученые В. И. Гриневецкий,» Е. К. Мазинг, Н. Р. Бриллинг, А. С. Орлин, В. Н. Болтинский и др. В настоящее время на моторных и автотракторных заводах уже не выпускаются карбюраторные (ЗИЛ-130, ГАЗ-53 и др.) и дизельные (ЯМЗ-236, ЯМЗ-238, ЯМЗ-740, СМД-14, В-30, Д-108, А-03, Д-130, Д-180 и др.) двигатели для автомобилей, тракторов, строительных и дорожных машин. Начало развития советского автомобилестроения относится к 1924 г., когда Московский завод АМО выпустил первые грузовые автомобили АМО-Ф-15. В 1925 г. Ярославский автомобильный завод стал выпускать трехтонные грузовые автомобили. В 1932—1933 гг. автомобильные заводы в Москве и Горьком начали выпускать грузовые автомобили ЗИС-5 и ГАЗ-АА. В 1937 г. Советский Союз вышел на второе место в мире и первое в Европе по выпуску грузовых автомобилей. В годы Великой Отечественной войны был построен Миасский авто-мобильный завод, выпускавший грузовые автомобили. После окончания войны построены автозаводы в Минске, Ульяновске, Кутаиси, Одессе, Мытищах, Львове, Павлове, Жодине, Кременчугег Запорожье, Могилеве и других городах и реконструированы Московский, Горьковский автомо-бильные заводы и Ярославский моторостроительный завод. В 1946—1948 гг. автомобильная промышленность перешла к выпуску автомобилей новых конструкций. Московский автозавод им. И. А. Лиха-чева в 1948 г. приступил к выпуску автомобилей ЗИС-150 и ЗИС-151, а с 1961 г.—грузовых автомобилей ЗИЛ-130 и ЗИЛ-131. Горьковский автоза-вод в 1946 г. начал выпуск грузовых автомобилей ГАЗ-51, в 1948 г.— грузовых автомобилей ГАЗ-63. С 1964 г. завод стал выпускать вместо автомобиля ГАЗ-63 автомобиль ГАЗ-66 и с 1965 г.—вместо автомобиля ГАЗ-51 автомобиль ГАЗ-53. Минский автозавод в 1947 г. приступил к вы-пуску грузовых автомобилей МАЗ и самосвалов повышенной проходимо-сти, а с 1977 г. — к производству автомобилей нового семейства МАЗ-5335. Кутаисский и Кременчугский автозаводы выпускают самосвалы и тягачи (КрАЗ-256Б1, КрАЗ-258Б1 и др.). Белорусский автозавод с 1965 г. выпускает мощные высокопроизводительные автомобили-самосвалы БелАЗ-540А. Камский автомобильный завод выпускает транспортные ав-томобили КамАЗ-5320, самосвалы К.амАЗ-5511 и тягачи КамАЗ-5410. Массовый выпуск тракторов начался в годы первой пятилетки на двух тракторных заводах — Волгоградском имени Ф. Э. Дзержинского в 1930 г. и Харьковском в 1932 г., рассчитанных на ежегодный выпуск 50 тыс. колесных тракторов. С 1937 г. эти заводы перешли на выпуск гусе-ничных тракторов СХТЗ-НАТИ. В 1933 г. был пущен Челябинский трак-торный завод, предназначенный для выпуска гусеничных дизельных тракторов. В годы Великой Отечественной войны были созданы Алтайский, Ли-пецкий и Владимирский тракторные заводы и восстановлены Волгоград-ский имени Ф. Э. Дзержинского и Харьковский. После окончания войны построены новые тракторные заводы — Минский, Онежский и Харьков-ский тракторосборочный и др. В послевоенные годы тракторная промыш-ленность полностью перешла на выпуск дизельных тракторов. В 1962 г. Советский Союз вышел на первое место в мире по выпуску тракторов. В настоящее время тракторная и машиностроительная промышлен-ность выпускает тракторы и автомобили различных типов; обладающие высокими тяговыми, экономическими, эксплуатационными качествами, работающие на повышенных скоростях в тяжелых дорожных условиях. При создании новых моделей тракторов большое внимание уделяется повышению их надежности, унификации основных деталей и узлов, сокращению трудоемкости технического обслуживания, что позволяет резко повысить эффективность использования транспортных средств в народном хозяйстве страны. СИСТЕМА ПИТАНИЯ ДИЗЕЛЬНЫХ ДВИГАТЕЛЕЙ Топливо для дизельных двигателей. В дизельных двигателях применяют дизельное топливо, являющееся продуктом переработки нефти. Топливо, используемое в дизельных двига-телях, должно обладать следующими основными качествами: оптималь-ной вязкостью, низкой температурой застывания, высокой склонностью к воспламенению, высокой термоокислительной стабильностью, высокими антикоррозионными свойствами, отсутствием механических примесей и воды, хорошей стабильностью при хранении и транспортировке. Вязкость дизельного топлива влияет на процессы топливоподачи и распыливания. При недостаточной вязкости топлива увеличивается утечка его через зазоры в распылителях форсунки и в прецизионных парах топли-вного насоса, а при высокой ухудшаются процессы топливоподачи, рас-пыливания и смесеобразования в двигателе. Вязкость топлива зависит от температуры. Температура застывания топлива влияет на процесс подачи топлива из топливного бака в цилиндры двигателя. Поэтому топливо дол-жно иметь низкую температуру застывания. Склонность топлива к воспламенению влияет на протекание процесса сгорания. Дизельные топлива, обладающие высокой склонностью к вос-пламенению, обеспечивают плавное протекание процесса сгорания, без резкого повышения давления. Воспламеняемость топлива оценивают це-тановым числом (ЦЧ), которое численно равно процентному содержанию по объему цетана в смеси цетана и альфаметилнафталина, равноценной по воспламеняемости данному топливу. Для дизельных топлив ЦЧ=40÷60. Термоокислительная стабильность дизельного топлива характеризует его стойкость против смоло- и нагарообразования. Повышенное нагаро- и смолообразование вызывает ухудшение отвода теплоты от стенок камеры сгорания и нарушение подачи топлива через форсунки в. двигатель, что приводит к снижению мощности и экономичности двигателя. Дизельное топливо не должно содержать коррозирующих веществ, так как присутствие их приводит к коррозии деталей топливоподающей аппаратуры и двигателя. Дизельное топливо не должно содержать механи-ческих примесей и воды. Присутствие механических примесей вызывает засорение фильтров, топливопроводов, форсунок, каналов топливного на-соса и увеличивает, износ деталей топливной аппаратуры и двигателя. Стабильность дизельного топлива характеризует его способность сохра-нять свои начальные физические и химические свойства при хранении Для автотракторных дизелей применяют выпускаемые промышлен-ностью топлива: ДЛ— дизельное летнее (при температуре выше 0°С), ДЗ —дизельное зимнее (ори температуре до —30°С); ДА —дизельное арк-тическое (при температуре ниже —30° С) (ГОСТ 4749—73). Смесеобразование в дизелях. Процесс приготовления горючей смеси внутри цилиндра двигателя называют смесеобразованием. Процесс смесеобразования в дизеле состоит в распыливании впрыскиваемого жидкого топлива форсункой на мельчай-шие капли и в равномерном распределении их в объеме сжатого воздуха в камере сгорания. Смесеобразование в дизеле осуществляется в конце про-цесса сжатия и в начале процесса расширения и протекает за очень корот-кий промежуток времени, соответствующий 30—40° поворота коленчато-го вала. В результате кратковременности процесса смесеобразования и низкой испаряемости дизельного топлива горючая смесь получается неод-нородной, что вызывает необходимость увеличения избытка воздуха для обеспечения полного сгорания топлива. Поэтому дизели работают с коэф-фициентом избытка воздуха, большем единицы (а= 1,2÷1,8). Высокое зна-чение коэффициента избытка воздуха способствует уменьшению среднего эффективного давления. Чтобы уменьшить коэффициент избытка воздуха при обеспечении полного и своевременного сгорания топлива, следует улучшать качество смесеобразования. Для улучшения смесеобразования необходимо повышать тонкость, однородность и равномерность распыливания топлива. Гонкость и одно-родность распыливания характеризуется диаметром и числом капель, по-лучающихся при распаде струи топлива. Тонкость и однородность распы-ливания улучшаются с повышением давления впрыска и противодавления в цилиндре, с уменьшением диаметра соплового отверстия форсунки и вязкости топлива. Равномерное распределение капель в камере сгорания зависит от дальнобойности факела распыленного топлива. Дальнобойность (глубина проникновения частиц топлива в среду сжатого воздуха) факела увеличи-вается при повышении давления впрыска и при уменьшении противодав-ления в цилиндре. На равномерное распределение капель топлива в объё-ме сжатого воздуха, а следовательно, и на качество смесеобразования зна-чительное влияние оказывает конструкция камеры сгорания. В автотракторных дизелях применяют два типа камер сгорания: не-разделенные и разделенные. Неразделенные камеры сгорания (рис. 1, а) представляют собой единый объем, заключенный между днищем поршня и поверхностью головки, в котором происходит процесс смесеобразования и сгорания топлива, впрыснутого через форсунку. Тонкость распыливания и необходимая дальнобойность факела обеспечиваются большим давлени-ем впрыска, равным 20—60 МПа, и малым диаметром сопловых отвер-стий форсунки. Равномерное распределение частиц топлива в объеме сжа-того воздуха достигают применением многодырчатых форсунок. Дизели с неразделенными камерами характеризуются высокой эконо-мичностью и хорошими пусковыми качествами, но обладают повышенной жесткостью (резкое нарастание давления в процессе сгорания) работы и высокими требованиями к изготовлению и эксплуатации топливной аппаратуры. Разделенные камеры сгорания состоят из двух объемов, которые сое-динены между собой одним или несколькими каналами. Разделённые ка-
Рис. 1. Формы камер сгорания меры бывают двух типов: вихревые камеры и предкамеры. Вихревая ка-мера (рис. 1, б) состоит из основной 3 и вихревой 1 камер, соединенных между собой каналом 2, «который расположен под углом к днищу поршня и тангенциально по отношению к вихревой, камере. Вихревая камера об-ычно имеет шаровую форму и располагается в головке цилиндра. Объем вихревой камеры составляет 60—80% от всего объема камеры сгорания. Процесс смесеобразования и сгорания в дизелях с вихревой камерой осуществляется следующим образом. В процессе сжатия воздух из полос-ти цилиндра поступает по тангенциальному каналу в вихревую камеру, где приобретает интенсивное вращательное движение. Благодаря этому топливо, впрыскиваемое форсункой, хорошо перемешивается с воздухом и самовоспламеняется. При сгорании топлива в вихревой камере давление в ней резко повышается и смесь несгоревшего топлива с продуктами сго-рания перетекает через тангенциальный канал в основную камеру, где смешивается с еще неиспользованным воздухом, и полностью сгорает. Достоинство вихрекамерных дизелей: хорошее смесеобразование, воз-можность работы с пониженным коэффициентом избытка воздуха при бездымном сгорании, мягкая работа, возможность применения однодыр-чатых форсунок со сравнительно малым давлением впрыска топлива (10—15 МПа). К недостаткам дизелей с вихревой камерой относятся меньшая экономичность по сравнению с дизелями с неразделенным камерами и затруднительный пуск. В предкамерных дизелях камера сгорания состоит из основной каме-ры 3 и предкамеры 2 (рис. 1, в), соединенных между собой одним или нес-колькими каналами. Объем предкамеры составляет , 25-40% объема всей камеры сгорания. Процесс смесеобразования сгорания в предкамерных дизелях происходит следующим образом. В процессе сжатия часть возду-ха из полости цилиндра перетекает в предкамеру с большой скоростью. Топливо, впрыскиваемое в предкамеру форсункой 1 , перемешивается с движущимися с большой скоростью в ней воздухом и частично сгорает при малом коэффициенте избытка воздуха. При сгорании топлива давле-ние в предкамере резко повышается и смесь несгоревшего топлива с про-дуктами сгорания перетекает в основную камеру, где смешивается с еще неиспользованным воздухом и полностью сгорает. Предкамерные дизели обладают теми же достоинствами и недостатками, что и вихрекамерные дизели. Система питания дизеля Система питания предназначена: для подачи под давлением в каждый цилиндр одинаковой, точно отмеренной порции топлива, соответствую-щей режиму работы дизеля; для очистки подаваемого топлива от механи- Рис. 2. Схема системы питания дизеля ческих примесей и воды; для подачи и очистки воздуха и для отвода из цилиндров отработавших газов. Система питания дизеля (рис. 2) состоит из топливного бака 11, фильтров грубой 15 и тонкой 5 очистки топлива, топливоподкачивающего насоса 12 , насоса высокого давления с регулятором 17, форсунок 3 , возду-хоочистителя 16 , топливопровода высокого давления 6 , трубок слива топ-лива 4 из форсунок, предпускового подогревателя 1 и топливопроводов низкого давления 2, 9, 10, 13 и 14. Топливо из бака 11 по топливопроводу 14 засасывается топливопод-качивающим насосом 12 в фильтр грубой очистки 15 , где обчищается от крупных механических примесей. Очищенное топливо подается топливо-подкачивающим насосом 12 под давлением по топливопроводу 13 к филь-тру 5 тонкой очистки. В фильтре 8 топливо очищается от оставшихся при-месей и по топливопроводу 9 поступает в насос 17 высокого давления. Из насоса 17 топливо под большим давлением подается по топливопроводу высокого давления 6 к форсункам 3 , из которых в распыленном виде впрыскивается в камеры 5 сгорания. Излишки топлива, поданного в насос отводятся из него через перепускной клапан 7 по топливопроводу 10 об-ратно в насос 12. Топливо, которое просачивается через зазоры сопряга-емых деталей форсунок, по трубкам 4 отводится в фильтр 8 . Топливные баки служат для хранения на автомобиле или тракторе ди-зельного топлива и обладают емкостью, обеспечивающее работу дизеля с нагрузкой в течение 10—12 ч. Топливные фильтры предназначены для очистки топлива от механи-ческих примесей и воды. Топливо очищается в фильтрах грубой и тонкой очистки. Фильтр грубой очистки очищает от крупных частиц (40—80 мкм) механических примесей. Он включается в систему между баком и топли-воподкачивающим насосом. Фильтр грубой очистки (рис. 3) состоит из корпуса 4 , крышки 1 , фильтрующего элемента 3 и крана 6 для слива от-стоя. Фильтрующий элемент состоит из сетчатого металлического карка-са с навитым на него ворсистым хлопчатобумажным шнуром. Правиль-ность установки фильтрующего элемента обеспечивается розеткой 5 . Между корпусом 4 и крышкой 1 установлена прокладка 2. Топливо, поступающее в корпус фильтра, проходит между витками хлопчатобумажного шнура, оставляя на его ворсинках механические при-меси. Очищенное топливо поступает во внутреннюю полость фильтрую-щего элемента и далее в отводящий топливопровод. Фильтры тонкой очистки обеспечивают очистку топлива от механи- ческих частиц небольшого размера (4—6 мкм). Их включают в систему питания между топливоподкачивающим насосом и насосом высокого дав-ления. Фильтрующие элементы фильтров тонкой очистки устанавливае-мых на автотракторных дизелях, изготовляют из хлопчатобумажной нити или минеральной шерсти.
Рис. 3. Фильтр грубой очистки топлива Топливоподкачивающие насосы предназначены для непрерывной по-дачи топлива из бака в насос высокого давления под постоянным избыточ-ным давлением (ОД—0,3 МПа). Топливоподкачивающие насосы, приме-няемые на дизелях, по конструкции делят на поршневые, шестеренчатые и коловратные. В автотракторных дизелях широко применяют поршневые насосы, которые устанавливают на корпус топливного насоса высокого давления и приводят в действие от его кулачкового вала.
Рис. 4. Топливоподкачивающий насос: а, б – разрезы; в, г, - схемы действия. Топливоподкачивающий насос (рис. 4, а, б) состоит из корпуса 13 , поршня 20 с пружиной 21 , роликового толкателя 17 со штоком 16 и пру-жиной 15, всасывающего 12 и нагнетательного 2 клапанов с пружинами 3 и пробок 4 и 22 . Нагнетательный клапан 2 центрируется в пробке 4 . Над всасывающим клапаном расположен насос для ручной прокачки топлива, имеющий отверстие для центрирвания всасывающего клапана. Насос ручной прокачки топлива служит для заполнения топливом системы питания при пуске дизеля. Он состоит из цилиндра с крышкой 6 . В цилиндре движется поршень 8 со штоком 5 и рукояткой 7 . На дне ци-линдра имеется уплотнительное кольцо 10, которое зажимается при на-винчивании рукоятки штока на крышку цилиндра. Топливо в насос подво-дится по каналу 11 , а отводится по топливопроводу 1 . Топливные насосы высокого давления Топливный насос предназначен для подачи под давлением к форсунке каждого цилиндра одинаковой точно отмеренной порции топлива, соот-ветствующей режиму работы дизеля, в момент, обеспечивающий хорошие условия смесеобразования и сгорания. В автотракторных дизелях наибо-лее распространены топливные насосы золотникового типа с постоянным ходом плунжера. В этих насосах количество подаваемого топлива регули-руют поворотом плунжера. В качестве примера рассмотрим конструкцию топливного насоса 4ТН9ХЮ (четырехплунжерный топливный насос с диаметром плунжера 9 мм и ходом плунжера 10 мм). Устройство насоса. Он (рис. 5) состоит из корпуса 18 , кулачкового ва-ла 19 , головки 6 , четырех секций насоса и механизма регулирования коли-чества подаваемого топлива. Корпус представляет собой отлитую из чугуна коробку, к которой крепят головку с помощью болтов 7 и в которой размещают узлы и детали насоса. Корпус внутри имеет горизонтальную перегородку, которая делит его на верхнюю и нижнюю полости. В верхней полости размещены меха-низм регулирования количества подаваемого топлива и выступающие из головки части плунжерных пар, а в нижней — кулачковый вал 19 . В гори-зонтальной перегородке имеются четыре отверстия, в которых установле-ны толкатели 14 . С правой стороны корпуса имеется прилив для установ-ки топливоподкачивающего насоса. К заднему торцу корпуса крепят регу-лятор частоты вращения, ж переднему торцу — плиту 17 и установочный фланец 16 . Кулачковый вал служит для периодического перемещения плунжеров из нижнего положения, в верхнее. Вал установлен на шариковых подшип-никах. Он имеет четыре кулачка тангенциального профиля и эксцентрик для привода в действие топливоподкачивающего насоса. Вал приводился во вращение от шестерни, установленной на фланец К. Шестерня соединя-ется с валом с помощью шлицевой втулки 15 , которая насажена на его ко-нический хвостовик. На конце вала со стороны регулятора закреплена шестерня, с помощью которой приводится во вращение механизм регуля-тора. Кулачковый вал у четырехтактных дизелей вращается в два раза медленнее коленчатого вала. Вал изготовляют штамповкой из углеродис-той стали. Головка 6 представляет собой фасонную отливку из чугуна, в которой размещены детали секций насоса, два продольных канала 21 и 26 (рис.6, а), соединенных между собой поперечным каналом, и шариковый пере-пускной клапан. Топливо из фильтра тонкой очистки поступает в канал 26 , а из него — в канал 21 . Головка насоса соединена с корпусом шпиль-ками (рис. 5). « Секция насоса (рис. 5, 6, а) состоит из гильзы 2 , плунжера 3 , пружи-ны плунжера 11 , нагнетательного клапана 4 с седлом 24 и пружиной 23 , штуцера 5 , толкателя 14 с роликом 30 и регулировочным болтом 13 . Гильза (рис. 6, а, б) представляет собой цилиндр, в верхней утолщен-ной части которого расположены два сквозных отверстия: верхнее — впускное 25 и нижнее — перепускное 22 . Впускное отверстие каждой гильзы соединено с каналом 26, а перепускное — с каналом 21 . Гильзу ус-танавливают в головке 6 насоса в определенном положении и фиксируют от проворачивания установочным винтом 27 . Плунжер предназначен для подачи топлива под давлением к форсун-ке и является золотником для регулирования количества подаваемого топ-лива соответственно нагрузке дизеля. В верхней части плунжер имеет кольцевую выточку 35 (рис. 6, б) и вертикальный паз 34 , имеющий с од-ной стороны спиральную отсечную кромку 20 для регулирования количес- тва подаваемого плунжером топлива. Головка плунжера имеет централь-ное вертикальное 32 и радиальное 33 отверстия. На цилиндрической части плунжера предусмотрена кольцевая выточка 36 для распределения смазки по трущимся поверхностям плунжера и гильзы. В нижней части плунжера имеется выступ 31 , на который устанавливают тарелку 28 плунжера. На конце плунжера напрессован поводок 8 . Плунжер перемещается в гильзе, как поршень в цилиндре. Нагнетательный клапан (рис. 6, г , д ) служит для периодического ра-зобщения внутренней полости топливопровода высокого давления с над-плунжерным пространством. Клапан имеет коническую запорную фаску 38 , цилиндрический разгрузочный поясок 37 и хвостовик с продольными пазами. Седло клапана (рис. 6, а), установленное на торец гильзы 2 , при- жимается к ней с помощью штуцера 5 , ввертываемого в головку насоса. Гильза, плунжер, нагнетательный клапан и седло клапана изготовляют из легированной стали. Толкатель (рис. 5, 6, а) служит для передачи движения от кулачкового вала 19 к плунжеру 3 . Он представляет собой тонкостенный стальной ста-кан. Сверху в толкатель ввернут регулировочный болт 18 с контргайкой 29 . В нижней части корпуса толкателя запрессована ось ролика 30 . Механизм регулирования количества подаваемого топлива (рис. 5) предназначен для увеличения или уменьшения количества топлива, пода-ваемого в цилиндры, при изменении режима работы дизеля. Механизм состоит из рейки 12 , на которой стяжными болтами 10 закреплены хому-тики 9 и скобы 1 . В пазы хомутиков входят поводки 8 плунжеров. Рейка 12 с помощью скобы 1 связана с регулятором частоты вращения. Трущиеся поверхности подвижных деталей топливного насоса, кроме гильзы и плунжера, смазываются дизельным маслом, которое находится в нижней полости корпуса насоса. Поверхности гильзы и плунжера смазы-ваются дизельным топливом.
Рис. 5 Топливный насос 4ТН9×10 Рис. 6 Конструкция принцип дей- ствия секции топливного насоса Форсунки Форсунка предназначена для впрыска топлива в камеру сгорания и распыливания его на мелкие частицы. Форсунки, применяемые на дизе-лях, разделяют на закрытые и открытые. Закрытыми называют такие форсунки, у которых топливопровод вы-сокого д авления в период между впрысками топлива разобщен с камерой сгорания специальной запорной иглой. Управление иглой в форсунках осуществляется механическим или ги-дравлическим приводом. В автотракторных дизелях широко распростра-нены форсунки с гидравлическим управлением (под действием давления топлива). Закрытые форсунки в зависимости от способа смесеобразования имеют различную конструкцию распиливающего устройства. По кон-струкции распылители бывают игольчатые с одним или несколькими соп-ловыми отверстиями и штифтовые с одним сопловым отверстием и кони-ческим или цилиндрическим штифтом на конце иглы. Игольчатые распы-лители с несколькими сопловыми отверстиями (4—10) применяют, как правило, в дизелях с неразделенными камерами сгорания. Штифтовые распылители, как и игольчатые распылители с одним сопловым отверсти-ием, обычно применяют в дизелях с разделенными камерами сгорания. В качестве примера рассмотрим конструкцию и принцип действия за-крытой штифтовой форсунки с гидравлическим управлением иглой. Фор-сунка (рис. 7) состоит из стального корпуса 15 , к которому гайкой 16 кре-пится распылитель 18 с запорной иглой 17 . Игла запарным конусом 23 прижимается к коническому седлу в распылителе посредством пружины 14 и штанги 2 . На нижнем конце иглы 17 имеется конический штифт 24 , который выступает из соплового отверстия. Нижний торец пружины 14 упирается в тарелку штанги 2 , а верхний - в тарелку регулировочного вин-та 12 , который ввернут в гайку 13 , завернутую до упора в корпус форсун-
фиксируется контргайкой 11 . Регули- ровочный винт сверху закрывается колпаком 10 , навернутым на гайку 13 . Колпак 10 уплотняется с корпусом с помощью медной прокладки 6 . Рас- пылитель и иглу изготовляют из леги- рованной стали и подвергают терми- ческой обработке. Чтобы обеспечить требуемую герметичность в прецизи- онной паре распылитель— игла, их трущиеся поверхности притирают друг к другу. Замена деталей в парене- Рис. 7. Форсунки разрешается. При работе двигателя топливо из насоса потопливопроводу 5 высокого давления, присоединенному накидной гайкой 4 к корпусу 15 , посту-пает через каналы 3 в корпусе 15 форсунки, кольцевую канавку 21 и канал 1 в распылителе в полость 19 . При нагнетательном ходе плунжера давление топлива в полости 19 возрастает. Это давление передается на ко-ническую поверхность 22 иглы. В момент, когда давление топлива на иглу преодолевает усилие пружины, игла распылителя приподнимается и топ-ливо впрыскивается в камеру сгорания через узкую кольцевую щель меж-ду сопловым отверстием распылителя 18 и штифтом 24 иглы. Топливо под большим давлением, проходя через кольцевую щель, приобретает боль-шую скорость и распыливается на мелкие частицы. Штифт придает струе распыленного топлива форму конуса, что обеспечивает хорошее смесеоб-разование. После окончания подачи топлива насосом давление в полости 19 упадет и игла под действием пружины прижимается конусом 23 к сед-лу, разобщая полость 19 и камеру сгорания. Несмотря на герметичность прецизионной пары распылитель — игла, небольшое количество топлива прорывается через зазор между деталями пары. Просочившееся топливо поступает в сливную трубку 8 через отвер-стие 7 в гайке 13 и сверленый болт 9 . Форсунку крепят к головке цилиндров с помощью двух шпилек. При установке форсунки для лучшего уплотнения под гайку 16 устанавли-вают медную прокладку 20 . Открытыми называют такие форсунки, у которых отсутствует за-порное устройство между трубопроводом высокого давления и камерой сгорания. Открытые форсунки по сравнению с закрытыми имеют ряд существенных недостатков: подтекание топлива через сопловое отверстие из-за недостатка чёткого начала и конца впрыска топлива при малой час- тоте вращения коленчатого вала вследствие резкого уменьшения давления впрыска. Из-за указанных недостатков открытые форсунки на дизелях применяют редко. СИСТЕМА ПИТАНИЯ КАРБЮРАТОРНЫХ ДВИГАТЕЛЕЙ Топливо для карбюраторных двигателей В карбюраторных двигателях в качестве топлива применяют бензин. Основной тепловой показатель бензина — его низшая теплота сгорания (около 44 000 кДж/кг). Качество бензина оценивают по его основным эк-сплуатационно-техническим свойствам: испаряемости, антидетонацион-ной стойкости, термоокислительной стабильности, отсутствию механичес-ких примесей и воды, стабильности при хранении и транспортировке. Испаряемость бензина характеризует способность его переходить из жидкой фазы в паровую. Испаряемость бензина определяют по его фрак-ционному составу, который находится его разгонкой при различных тем-пературах. Об испаряемости бензина судят по температурам выкипания 10, 50 и 90% бензина. Так, например, температура выкипания 10% бензи-на характеризует его пусковые качества. Чем больше испаряемость при малых температурах, тем лучше качество бензина. Бензины имеют различную антидетонационную стойкость, т.е. раз-личило склонность к детонации. Антидетонационная стойкость бензина оценивается октановым числом (ОЧ), которое числено равно процентному содержанию по объему изооктана в смеси изооктана и гептана, равноцен-ной по детонационной стойкости данному топливу. ОЧ изооктана прини-мают за 100, а гептана за нуль. Чем выше ОЧ бензина, тем меньше его склонность к детонации. Для повышения ОЧ к бензину добавляют этиловую жидкость, которая состоит из тетраэтилсвинца (ТЭС) — антидетонатора и диброметена — выносителя. Этиловую жидкость добавляют к бензину в количестве 0,5—1 см3 на 1 кг бензина. Бензины с добавкой этиловой жидкости называют этилированными, они ядовиты, и при их использовании необходимо соб-людать меры предосторожности. Этилированный бензин окрашен в крас-но-оранжевый или сине-зеленый цвет. Бензин не должен содержать коррозирующих веществ (серы; сернис-тых соединений, водорастворимых кислот и щелочей), так как присут-ствие их приводит к коррозии деталей двигателя. Термоокислительная стабильность бензина характеризует его стой-кость против смоло- и нагарообразования. Повышенное нагаро- и смоло-образование вызывает ухудшение отвода теплоты; от стенок камеры сго-рания, уменьшение объема камеры сгорания и нарушение нормальной по-дачи топлива в двигатель, что приводит к снижению мощности и эконо-мичности двигателя. Бензин не должен содержать механических примесей и воды. Присут-ствие механических примесей вызывает засорение фильтров, топливопро-водов, каналов карбюратора и увеличивает износ стенок цилиндров и дру-гих деталей. Наличие воды в бензине затрудняет пуск двигателя. Стабильность бензина при хранении характеризует его способность сохранять свои начальные физические и химические свойства при хране-нии и транспортировке. Автомобильные бензины маркируются буквой А с цифровым индеек-сом, показывающим значение ОЧ. В соответствии с ГОСТ 4095—75 выпускались бензины марок А-66, А-72, А-76, ? АИ-93 и АИ-98. Система питания карбюраторного двигателя Система питания предназначена для очистки топлива и воздуха, при- готовления горючей смеси требуемого качества, подачи ее в цилиндры двигателя в необходимом количестве и отвода из цилиндров отработав-ших газов. Система питания (рис. 8) состоит из топливного бака 2 , топливного фильтра 1 , топливного насоса 6 , воздухоочистителя 4 , карбюратора 7 . глу-шителя отработавших газов 10 , топливопроводов 5 , впускного 8 и выпус-кного трубопроводов. Бензин из бака 2 через фильтр 1 подается топлив-ным насосом 6 в карбюратор 7 по топливопроводу 5 . В карбюраторе бен-зин распиливается на мельчайшие капли, смешивается с воздухом, посту-пившим из атмосферы через воздухоочиститель 4 , и частично испаряется. В результате этого в карбюраторе образуется горючая смесь. Горючая смесь во время такта впуска поступает из карбюратора к цилиндрам дви-гателя по впускному трубопроводу 8 . Во время такта выпуска отработав-шие газы из цилиндра через выпускной трубопровод 9 и глушитель 10 отводятся в атмосферу. Бензин в бак заливают через трубку 3 .
Рис. 8. Схема системы питания карбюраторного двигателя Смесеобразование. Влияние качества и состава горючей смеси на работу двигателя Чтобы обеспечить полное сгорание топлива в цилиндре двигателя, топливо должно быть соответствующим образом подготовлено к процессу сгорания в виде горючей смеси. Процесс приготовления горючей смеси из паров топлива и воздуха называют смесеобразованием или карбюрацией. В карбюраторных двигателях горючая смесь приготовляется не в цилин-дре, а в специальных устройствах, называемых карбюраторами. Процесс смесеобразования состоит из дозировки топлива и воздуха, истечения топлива или бензовоздушной эмульсии из распылителей, рас-пыливания топлива и перемешивания его с воздухом и испарения топлива. Этот процесс начинается в карбюраторе, продолжается при движений: горючей смеси во впускном трубопроводе и заканчивается в цилиндре двигателя в конце такта сжатия. На работу двигателя оказывают существенное влияние качество и состав горючей смеси. В горючей смеси топливо должно быть хорошо распылено и равномерно перемешано с воздухом. Топливо и воздух дол-жны содержаться в горючей смеси в строго определенных соотношениях. Карбюратор К-22Г автомобилей ГАЗ-51 и ГАЗ-63А Карбюратор К-22Г относится к трехдиффузорным карбюраторам с па-дающим потоком смеси, в которых горючая смесь компенсируется при по-мощи перепускного воздушного клапана, автоматически регулирующего разрежение в диффузоре. Карбюратор имеет: а) главную дозирующую систему, состоящую из главного 26 (рис. 9) и дополнительного 25 жиклеров с распылителями 14 и 15 (выполненных в двух блоках), а также из автоматического перепускного воздушного кла-пана; устье распылителя 14 главного жиклера находится в малом диффу-зоре 7 , входящем внутрь среднего диффузора 3 , а устье распылителя 15 дополнительного жиклера—в большом вспомогательном диффузоре 8 ; ав-томатический перепускной воздушный клапан состоит из четырех упру-гих пластин 5 , регулирующих прохождений воздушного потока между стенками смесительной камеры и диффузорами 7 и 3 ; б) систему холостого хода, в которую входят бензиновый жиклер 6 , два воздушных жиклера 10 и 11 эмульсионный жиклер 9 ; в) экономайзер с механическим приводом; к экономайзеру относятся жиклер 27 мощности и клапан 22 экономайзера, нагруженный пружиной; г) ускорительный насос, конструктивно объединённый с экономайзе-ром, со следующими деталями: поршень 19 с пружиной 18 , обратный кла-пан 21 , выпускной клапан 17 и жиклер 16 ; д) пусковое устройство — воздушную заслонку 13 с автоматическим клапаном 12 ; е) пневматический ограничитель числа оборотов коленчатого вала двигателя, функции которого выполняют дроссельная заслонка 28 , имею-щая фигурное сечение, и пружина 29 .
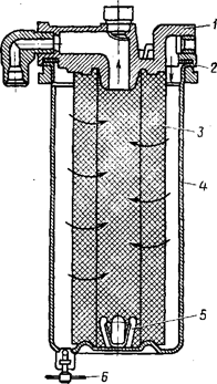
Рис, 9. Схема карбюратора К-22Г (автомобиль ГАЗ-51): 1 -улдеяачный винт; 2 —канал холостого хода; 3 —средний диффузор; 4 —эмульционный канал; 5 -пластина; 6 —жиклер холостого хода; 7 — малый диффузор; 8 — большой диффузор; 9 - эмульционный жиклер; 10 и 11 — воздушные зканслеры; 12 — клапан воздушной заслонки; 13- воздушная заслонка; 14 — распылитель главного жиклёра; 15 —распылитель дополнительного жиклёра; 16 —жиклёр ускорительного насоса; 17 — выпускной клапан; 18 — пружина; 19 —поршень; 20— стержень; 21— обратный клапан; 22 — клапан экономайзера; 23 — канал; 24 — регулировочный винт главного жиклера; 25 — дополнительный жиклер; 26 — главный жиклер; 27 — жиклёр мощности; 28- дроссельная заслонка; 29 — пружина ограничителя оборотов. Подача топлива и воздуха в карбюратор и горючей смеси в двигатель В систему подачи топлива входят топливные баки, топливопроводы, топливный насос и топливные фильтры. Топливные баки служат для хра-нения бензина, их емкость обеспечивает работу двигателя с нагрузкой в течение 10—12 ч. Баки изготовляют из тонкой листовой стали и снабжают ребрами жесткости. Бак имеет заливную горловину для заправки бензи-ном, внутренние перегородки, уменьшающие плескание бензина, пробку для слива отстоя и датчик указателя уровня топлива. В заливной горлови-не расположен сетчатый съемный фильтр для предварительной очистки бензина. Горловину закрывают откидной герметичной крышкой с впуск-ным и выпускным клапанами. Впускной клапан впускает воздух в бак при разрежении (2+4) х103 Па, обеспечивая бесперебойную подачу бензина в карбюратор. Выпускной клапан открывается при повышении давления в баке до (1,1 -4-1,8) 10* Па. Топливопроводы обеспечивают герметичность топливной системы при всех рабочих давлениях. Их изготовляют из медных или латунных трубок. Топливопроводы между собой и с приборами системы питания со-единяются с помощью штуцеров и накидных гаек.
Бензин из бака через топ-ливопровод 1 (рис. 11, а) посту-пает в отстойник 5 . В отстойни-ке вода и часть примесей оседа-ют на дно, а бензин фильтрует-ся, проходя через щели между пластинами. Очищенный бен-зин отсасывается в топливный насос через отверстия 1 в плас-Рис. 11. Топливный фильтр-отстойник тинах и выходной канал 3. Воздухоочиститель (воздушный фильтр) предназначен для очистки воздуха от пыли. Воздухоочистители по пособу очистки воздуха подразде-ляют на инерционные, фильтрующие и комбинированные. В инерционных воздухоочистителях очистка воздуха состоит в отде-лении более тяжелых, чем воздух, частиц пыли при изменении направле-ния движения потока воздуха. В фильтрующих воздухоочистителях очистка воздуха состоит в за-держании частиц пыли воздуха фильтрующим элементом, в качестве ко-торого применяют металлические сетки, войлок, хлопчатобумажные ткани и др. В комбинированных воздухоочистителях очистка воздуха сначала осуществляется инерционным способом, а затем фильтрующим. Комбинированные воздухоочистители обеспечивают наилучшую очистку воздуха, поэтому они получили наибольшее распространение в автотракторных двигателях. Комбинированные воздухоочистители выпол-няют сухими, мокрыми и смешанными (су-хая инерционная и мокрая фильтрующая очистка). Комбинированный воздухоочиститель ВМ-16 (масляно-инерционный) с двумя сту- пенями очистки (рис. 12) состоит из корпу-са 4 , крышки 6 с патрубком 8 отбора воздуха в компрессор фильтрующего элемента 5 , масляной ванны 2 , переходника 7 забора воз- Рис. 12. Воздушный фильтр духа и переходника 1 для подачи воздуха ВМ-16 в карбюратор. Впускные трубопроводы предназначены для распределения горю-чей смеси по цилиндрам двигателя. Их отливают из чугуна или алюминиевого сплава и снабжают фланцем для крепления карбюратора. Впускные трубопроводы обычно выполняют симметричными относительно карбю-ратора, что обеспечивает равномерное распределение горючей смеси по цилиндрам. Для подогрева горючей смеси среднюю часть впускного трубопрово-да выполняют с двойными стенками, между которыми проходят отрабо-тавшие газы, поступающие через специальные окна из выпускного трубо-провода. В ряде конструкций двигателей подогрев смеси регулируют с по-мощью заслонки, установленной в выпускном трубопроводе. Заслонка от-клоняет поток отработавших газов от стенки впускного трубопровода и регулирует температуру подогрева горючей смеси. Заслонка имеет ручной или автоматический привод. Выпускные трубопроводы предназначены для отвода отработавших газов от цилиндров двигателей. Их отливают из чугуна или алюминиевого сплава, они имеют фланец для крепления выхлопного трубопровода, иду-щего к глушителю. Глушитель (рис. 13) предназначен для уменьшения шума при выхлопе отработавших газов и для искрогашения. Глушитель представляет собой цилиндрический барабан с внутренними перегородками, имеющими большое количество отверстий. Действие глушителя основано на умень-шении скорости и давления выхлопных газов.
Рис. 13 Глушитель (автомобиль ЗИЛ-164): 1и 6- патрубки; 2– труба; 3 и 5 – перегородки; 4 – корпус. Заключение. Перспективы развития сельского хозяйства нашей страны во многом зависят от обеспечения его высокопроизводительной и надежной техни-кой. На майском (1982 г.) Пленуме ЦК КПСС отмечалось, что необходимо повысить ответственность за использование и сохранность техники, улуч-шить качество ее ремонта и поднять уровень технической готовности ма-шин и оборудования, не допуская их преждевременного списания. Это возможно только при условии хорошего знания конструкции машины и правил ее эксплуатации. Создателям новой современной техники предстоит разработать и ос-воить тракторы, сельскохозяйственные машины и приспособления сотен наименований. Увеличение производства мощной техники, оснащение ею колхозов и совхозов — верный и надежный путь, который поможет земле-дельцам комплексно механизировать возделывание, уборку и послеубо-рочную обработку сельскохозяйственных культур, значительно повысить уровень механизации овощеводства и картофелеводства, ускорить перевод сельскохозяйственного производства на индустриальную базу и прогрес-сивные технологии. Новые модели тракторов разрабатывают с учетом агротехнических требований, выдвинутых сельскохозяйственным производством, примени-тельно к природно-климатическим особенностям разных зон страны. Отечественные заводы не только увеличивают выпуск тракторов, но и значительно улучшают их технико-экономические показатели. Повыша-ются мощность, скорости движения, экономичность, надежность и долго-вечность; уменьшается металлоемкость; унифицируются детали, сбороч-ные единицы и механизмы; увеличивается проходимость; упрощается тех-ническое обслуживание. Знание конструкций новых и модернизированных тракторов, агрега-тируемых с ними машин и методов их эффективной эксплуатации дает возможность повысить производительность труда механизатора, внедрить индустриальные технологии возделывания зерновых, кормовых и других культур, т. е. обеспечить получение высоких и устойчивых урожаев. Литературы: 1 Г. П. Панкратов «Двигатели внутреннего сгорания, автомобили, трак-торы и их эксплуатация» Москва «Высшая школа» 1984. 2 Учебники и учебные пособия для подготовки сельскохозяйственных кадров массовых профессий «Трактор Т-130М» Москва Агропромиздат 1985. 3 Ярославский ордена Ленина завод «Двигатели ЯМЗ-236, ЯМЗ-238» Руководство по эксплуатации Ярославль 1975. 4 Техническое описание и инструкция по эксплуатации тракторов Т-150К, Т-157, Т-158. Харьков 1989. |






Топливный насос
предназначен для подачи бензина в поплавную камеру карбюратора из топливного бака. Топ-ливные насосы обычно выполняют диа-фрагменного типа. Диафрагменный на-сос (рис. 10) состоит из корпуса 11
, крышки 1
и головки 4
. В головке насоса размещены два впускных 3
один вы-пускной 12
клапаны. Между головкой и корпусом установлена диафрагма 5
, ко-торая с помощью толкателя 9
соединена Рис. 10. Топливный насос рычагом 6
привода.
Топливный фильтр
предназначен для очистки бензина от механичес-ких примесей и воды. В качестве топливного фильтра в карбюраторных двигателях используют фильтры-отстойники. Топливный фильтр-отстой-ник (рис 11, а) состоит из корпуса 2
, отстойника 5
, фильтрующего элемен-та 4
и сливной пробки 6
. Фильтрующий элемент состоит из набора алюми-ниевых или латунных пластин 3
(рис. 11,6), которые имеют выступы 2
высотой 0,05 мм и отверстия 1
для прохода чистого бензина.