Реферат: Токарное дело 2
|
Название: Токарное дело 2 Раздел: Промышленность, производство Тип: реферат | ||||||||||
|
Приспособления и установка деталей (заготовок) Кулачковые патроны На токарных станках применяют двух-, трех- и четырехкулачковые патроны с ручным и механизированным приводом зажима. В двухкулачковых самоцентрирующих патронах закрепляют различные фасонные отливки и поковки; кулачки таких патронов, как правило, предназначены для закрепления только одной детали. В трехкулачковых самоцентрирующих патронах закрепляют заготовки круглой и шестигранной формы или круглые прутки большого диаметра. В четырехкулачковых самоцентрирующих патронах закрепляют прутки квадратного сечения, а в патронах с индивидуальной регулировкой кулачков - детали прямоугольной или несимметричной формы. Наиболее широко применяют трехкулачковый самоцентрирующий патрон (рисунок ниже). Кулачки 1, 2 и 3 патрона перемещаются одновременно с помощью диска 4. На одной стороне этого диска выполнены пазы (имеющие форму архимедовой спирали), в которых расположены нижние выступы кулачков, а на другой - нарезано коническое зубчатое колесо, сопряженное с тремя коническими зубчатыми колесами 5. При повороте ключом одного из колес 5 диск 4 (благодаря зубчатому зацеплению) также поворачивается и посредством спирали перемещает одновременно и равномерно все три кулачка по пазам корпуса 6 патрона. В зависимости от направления вращения диска кулачки приближаются к центру патрона или удаляются от него, зажимая или освобождая деталь. Кулачки обычно изготовляют трехступенчатыми и для повышения износостойкости закаливают. Различают кулачки крепления заготовок по внутренней и наружной поверхностям; при креплении по внутренней поверхности заготовка должна иметь отверстие, в котором могут разместиться кулачки.
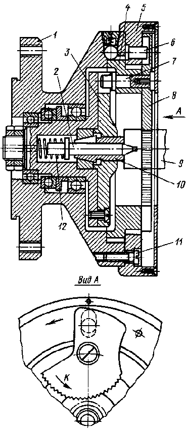
Кулачковые патроны могут оснащаться механизированным приводом - тяговым или встроенным. Патроны с тяговым приводом имеют зажимные элементы, связанные цельными или пустотелыми тягами с пневмо- или гидроцилиндром. На рисунке ниже представлена конструкция двухкулачкового рычажного патрона со сменными кулачками 14, которые предварительно устанавливаются по заготовке (относительно оси вращения) путем смещения сухарей 12 (скрепленных с кулачками 14 винтами 13) по пазам в ползунах 11. Ползуны 11 перемещаются к центру патрона рычагами 10, которые при движении упора 15 (вместе с тягой 3) поворачиваются вокруг оси 9 в корпусе 8. При повороте рычаги 10 опираются на поверхности 7. Перемещение ползунов 11 (вместе с кулачками 14) от центра патрона производится конической поверхностью упора 15 при обратном движении тяги 3, связанной с упором посредством направляющей втулки 6 и соединительных деталей 2, 4 и 5. Патрон крепится к станку винтами 1.
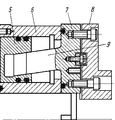
Патрон с встроенным приводом (рисунок ниже) имеет встроенный пневмоцилиндр 6 с поршнем 5 и крепится к станку фланцем 1. Резиновое кольцо 11 смягчает удары поршня о фланец 4. Уплотнительные кольца 10 и 12 обеспечивают герметичность пневмопривода. Ползуны 7 (с зажимными кулачками 8) имеют выступы 9, которые входят в пазы поршня 5. Угол наклона пазов 40,5 градуса, что обеспечивает условия самоторможения. При подаче воздуха по каналам 2 и 3 в левую или правую полость цилиндра ползуны 7 перемещаются от центра патрона или к его центру и через кулачки 8 разжимают или зажимают заготовку.
Четырехкулачковый патрон с независимым перемещением кулачков (рисунок ниже) состоит из корпуса 1, в котором выполнены четыре паза, в каждом пазу смонтирован кулачок 4 с винтом 3, используемым для независимого перемещения кулачков по пазам в радиальном направлении. От осевого смещения винт 3 удерживается сухарем 2. При повороте кулачков на 180 градусов патрон может применяться для крепления заготовок по внутренней поверхности. На передней поверхности патрона нанесены концентричные круговые риски (расстояние между рисками 10-15 мм), с помощью которых кулачки выставляются на одинаковом расстоянии от центра патрона.Джинсовая одежда
Приспособления и установка деталей (заготовок) Центры, хомутики и поводковые патроны
Хомутики. Передачу вращения от шпинделя к обрабатываемой заготовке, установленной в центрах станка, осуществляют с помощью хомутика, который надевают на заготовку и закрепляют винтом 1, рисунок ниже - а), при этом хвостовик 2 хомутика упирается в палец поводкового патрона. Более удобен в работе самозатягивающий хомутик, рисунок ниже - б), в котором хвостовик 2 закреплен в корпусе 5 подвижно на оси 4. Нижняя часть хвостовика 2, обращенная к заготовке, выполнена эксцентрично по отношению к оси 4 и имеет насечку. Для установки хомутика на заготовку хвостовик 2 наклоняют в сторону пружины 3, которая после установки хомутика предварительно затягивает заготовку хвостовиком. В процессе обработки палец-поводок 1 патрона производит окончательную затяжку заготовки хвостовиком пропорционально силе резания.
Приспособления и установка деталей (заготовок) Цанговые патроны и мембранные патроны
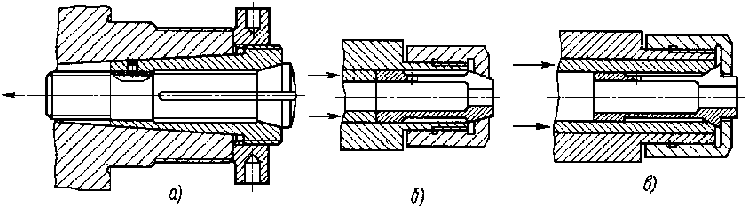
Цанговые патроны. Цанговые патроны применяют главным образом для закрепления холоднотянутого прутка или для повторного зажима заготовок по предварительно обработанной поверхности. По конструкции различают патроны с втягиваемой, рисунок выше - а), выдвижной, рисунок выше - б) и неподвижной, рисунок выше - е) цангами. По назначению цанги делятся на подающие и зажимные. Основные типы цанг для токарных станков представлены на рисунке ниже. Подающая цанга - а) представляет собой стальную закаленную втулку, имеющую три неполных разреза, образующих пружинящие лепестки, концы которых поджаты друг к другу. Форма и размеры отверстия подающей цанги должны соответствовать профилю прутка. Подающая цанга навинчивается на подающую трубу, которая получает осевое перемещение и осуществляет подачу расположенного в ней прутка от кулачкового механизма или от гидромеханического привода. При загрузке станка пруток проталкивается между лепестками подающей цанги и раздвигает их. Лепестки прижимаются силой своей упругости к поверхности прутка. При перемещении подающей трубы лепестки подающей цанги под действием сил трения сжимаются и увеличивают силу сцепления при подаче прутка. Зажимная цельная цанга - в) выполняется в виде втулки с пружинящими лепестками. Цанга с тремя лепестками применяется при обработке заготовок диаметром до 3 мм, с четырьмя - диаметром до 80 мм и с шестью - диаметром свыше 80 мм. Угол при вершине конуса цанги обычно равен 30 градусам. На рисунке - б) показана зажимная цанга со сменными вкладышами. Перед обработкой прутка другого сечения ослабляют винты 3 и устанавливают вкладыши 1 нужного профиля и размера, ориентируя их по штифтам 2. Для обработки заготовок малого диаметра применяют зажимные разъемные цанги - г), у которых кулачки разводятся пружинами. В некоторых случаях применяют разъемные цанги со сменными вкладышами - е), форма и размеры которых зависят от формы и размеров обрабатываемого прутка.
Мембранные патроны. Мембранные патроны применяют в том случае, когда необходимо обработать партию заготовок с высокой точностью центрирования. В мембранном патроне рожкового типа, рисунки ниже - а) и б), обрабатываемую заготовку 1 устанавливают между торцами винтов 4, которые через рожки 3 связаны с мембраной 2. При прогибе мембраны в сторону заготовки концы рожков 3 с винтами 4 расходятся и освобождают заготовку; при снятии нагрузки происходит закрепление заготовки. Настройка патрона на размер детали и усилие зажима регулируются винтами 4. Мембранные патроны чашечного типа позволяют закреплять заготовки за внутреннюю, рисунок - е) и наружную, рисунок - г), поверхности. Заготовки в обоих случаях крепятся с помощью мембраны 1 при затяжке винта 3. Пенопласт псб 25
Оправки служат для закрепления изделий, обрабатываемых снаружи и имеющих расточенные отверстия концентрично наружной поверхности. Они применяются также при торцовой обработке изделий и при подрезке. Поэтому оправки с насаженными на них изделиями можно закреплять на станке различными способами - на центрах, в кулачковых патронах или же непосредственно на шпинделе. Заклинвающаяся оправка Закрепление изделий на оправках осуществляется двумя способами: 1) насадкой - вклиниванием оправки в отверстие изделия; 2) надеванием изделия на оправку и затем закреплением его путем разжатия самой оправки или затяжной гайкой. Насадку по первому способу производят при помощи заклинивающейся оправки, показанной на рисунке выше. Такая оправка представляет собой валик, сделанный с небольшой конусностью, которая не должна превышать 1 : 100 мм. Концы оправки делают меньшего диаметра, чем среднюю ее часть, и с лысками для закрепления хомутиков; с торцов высверливают центровые углубления для установки на центры станка. Во время работы обрабатываемое изделие не провертывается на такой оправке только благодаря силе трения, возникающей между соприкасающимися их поверхностями. Поэтому изделие необходимо насаживать на оправку всегда плотно, причем осторожными, но с достаточной силой ударами. Для предотвращения заедания между изделиями и оправками последние изготовляются из мягкой стали с последующей цементацией, после чего их рабочую поверхность шлифуют. Оправки большой длины при малом диаметре не делают, так как они будут во время работы прогибаться и дрожать, отчего обработка изделия ухудшится или может оказаться совсем невозможной. На каждой заклинивающейся оправке можно производить закрепление только таких изделий, у которых отверстия одинакового диаметра и обработаны с достаточной точностью. В противном случае оправка может или не входить в отверстие, или же свободно просовываться через него насквозь, отчего закрепление таких изделий может оказаться невозможным. В связи с этим такие оправки необходимо иметь или в большом выборе, или изготовлять их на месте для каждого отдельного случая. Оправка, состоящая из разжимной втулочки и конусного валика При втором способе крепления изделий применяются разжимные оправки. Они позволяют закреплять изделия с отверстиями разных диаметров. Наибольший диаметр отверстий не должен превышать диаметра оправки в разжатом ее состоянии, в противном случае изделие будет или слабо или совсем не закреплено. Наименьший диаметр отверстий должен быть не меньше диаметра оправки в сжатом ее состоянии. Крепление разжимных оправок на станке можно производить в центрах, в кулачковых патронах и на шпинделе через специально для этой оправки изготовленную планшайбу. На рисунке выше показана разжимная оправка, состоящая из конусного валика и втулочки, которая имеет шесть прорезов, по три с каждого торца. На втулочку надевают изделие, а затем вместе с втулочкой заклинивают на валике оправки, устанавливаемом на центрах станка. Валик оправки должен иметь небольшую конусность, так как при большой конусности во время работы может произойти расклинивание его с втулочкой и, следовательно, разъединение с обрабатываемым изделием. Разжимные оправки целесообразнее применять с принудительным удерживанием на них изделий. Такие оправки весьма надежно удерживают изделие и тем самым позволяют снимать стружку большого сечения, что повышает производительность станка и точность обработки. Одна из таких оправок показана на рисунке ниже. Изделие надевают на конусную снаружи и изнутри втулочку, имеющую по три прореза с каждого торца. Во втулочку вставляют конусный посередине валик, оба конца которого имеют резьбу. Большая гайка служит для снятия изделия, если оно сильно заклинилось, а меньшая - для зажима втулочки и, следовательно, для закрепления изделия. Оправка, состоящая из конусной с прорезами втулочки и конусного валика Иногда втулочку этой оправки изготовляют снаружи цилиндрической формы. В этом случае валик имеет нарезку только с одного конца; другой же его конец может быть наглухо запрессован в планшайбу малого диаметра, служащую для закрепления оправки на шпинделе станка. Такие оправки очень удобно применять для закрепления изделий, требующих торцовой обработки. Необходимо помнить, что оправки применяются с успехом только при чистовой обработке изделий. При обдирочных работах, когда снимается стружка большого сечения, надежно закрепить обрабатываемое изделие на оправке невозможно. Люнеты применяются при обработке длинных и недостаточно жестких изделий, прогибающихся от собственного веса и в особенности под действием резца.Люнеты бывают неподвижные и подвижные. Люнет роликовый неподвижный Неподвижный люнет прикрепляется к направляющим станины планкой 1 и болтом 2 (одним или двумя). Поэтому основание корпуса 3 имеет снизу поверхность ровную или с канавками, в соответствии с сечением направляющих станины. Верхняя часть люнета откидная, одним концом 4 соединенная шарнирно с корпусом, а другим 5 по мере необходимости закрепляемая болтом. Обрабатываемое изделие поддерживается тремя роликами сухарей 6, из которых два находятся в нижней части (в корпусе) и один - в верхней откидной части люнета. При установке изделие вставляют специально проточенной для этого шейкой в люнет, прикрывают его верхней частью, после чего винтами 7 сухари подводят к поверхности шейки и закрепляют неподвижно болтами 8. При работе между шейкой удерживаемого таким образом изделия и сухарями люнета возникает сильное трение, отчего, сильно нагреваясь, истираются сухари или портится обрабатываемое изделие. Поэтому в последнее время начали применять сухари, снабженные роликами 9. Люнет роликовый подвижный Подвижный люнет устанавливается на суппорте и крепится болтами. Спереди он делается как бы открытым. Два сухаря (реже три) люнета упираются роликами в изделие несколько сзади резца и, перемещаясь вместе с ним, воспринимают на себя его давление. При обработке очень тонких валов приходится ставить ряд люнетов, из которых несколько неподвижных и всегда один подвижный. При скоростном точении длинных валов применяются люнеты с сухарями, оснащенными твердым сплавом, или с роликовыми сухарями, которые меньше изнашиваются сами и не портят изделие. На центрование валов в люнетах расходуется обычно много времени. Этого не наблюдается при применении самоцентрирующих люнетов. Самоцентрнрующий люнет: 1-корпус; 2 - разъемное кольцо; 3 -зажимной сухарь; 4 - ползун; 5 - съемная колодка; 6- ручка; 7 - червяк; 8 - откидная крышка; 9 - шарнирный болт Обработка на планшайбе и угольнике Обработка на планшайбе. При обработке основания рейсмуса (см. рис. 75, д) требуется, чтобы ось отверстия под стойку рейсмуса была строго перпендикулярна, а верхняя торцовая поверхность основания параллельна опорной плоскости основания. Подобные требования предъявляются и к другим деталям машин. Указанные требования будут выполнены, если после закрепления основания рейсмуса для обработки отверстия под стойку и торцовой поверхности его ранее обработанная опорная плоскость будет расположена перпендикулярно к оси вращения станка. Использование самоцентрирующего или четырехкулачкового патрона может привести к браку детали, если она почему-либо не будет плотно прижата опорной плоскостью к установочной поверхности всех кулачков патрона. Такой же результат получится и в том случае, если хотя бы один из кулачков займет положение, показанное на рис. 47. Наилучшее закрепление детали при данных условиях обработки показано на рис. 199, а. На планшайбе 1 обрабатываемая деталь 2 закреплена прихватами 3. Планшайба представляет собой диск с утолщенной средней частью, усиленный ребрами, центрированный и закрепленный на шпинделе станка. Головки болтов прихватов входят в Т-образные пазы планшайбы или иногда болты проходят через отверстия в планшайбе. Не следует слишком сильно завертывать гайки этих болтов во избежание деформирования, а иногда и поломки планшайбы. В некоторых случаях при этом может быть деформирована и обрабатываемая деталь. Проверка установки детали, закрепляемой на планшайбе, производится так же, как при закреплении в четырехкулачковом патроне. При немного отжатых гайках болтов прихватов деталь может быть смещена в любую сторону легкими ударами молотка. Если обрабатываемая деталь располагается так, что центр тяжести ее не лежит на оси вращения шпинделя станка, она должна быть уравновешена (рис. 199, б) каким-либо грузом 4. Подбор массы груза — противовеса, состоящего обычно из чугунных шайб, должен обеспечить уравновешенное состояние планшайбы. Оно контролируется при отключенном от механизма коробки скоростей шпинделе. Если баланс грузов не достигнут, планшайба со шпинделем, поворачиваясь вокруг своей оси, Закрепление на планшайбе применяется и тогда, когда форма обрабатываемой детали затрудняет или даже исключает использование четырехкулачкового патрона. При отсутствии планшайбы для выполнения рассмотренных работ может быть использован и корпус четырехкулачкового патрона. Разумеется, такой метод крепления заготовок, как низкопроизводительный, можно рекомендовать лишь при изготовлении деталей малыми партиями. Обработка на угольнике. Если в какой-либо детали, например в подшипнике, отверстие должно быть обработано так, чтобы его ось была параллельна опорной плоскости и расстояние от оси до этой плоскости было равно заданному, то подобные операции следует выполнять на угольнике (рис 200, а), прикрепленном должным образом к планшайбе. Полки угольника должны составлять между собой угол 90°. Продолговатые отверстия в одной из полок угольника сделаны для болтов, посредством которых он прикрепляется к планшайбе, а такие же отверстия в другой полке — для болтов, используемых для закрепления обрабатываемой детали. Полки сравнительно больших угольников для большей жесткости соединяются скрепляющими ребрами. Установка угольника на планшайбу (рис, 200, б) осуществляется в следующем порядке. Угольник прикрепляют к планшайбе предварительно, но так, чтобы расстояние от оси шпинделя до полки угольника, на которой будет установлена обрабатываемая деталь, было равно (приблизительно) требуемому расстоянию от оси отверстия в детали до ее опорной плоскости. После этого на угольнике устанавливают и закрепляют предварительно обрабатываемую деталь 2 (например, подшипник). Затем производится выверка установки угольника (с деталью), его окончательное закрепление (при достижении размера от опорной поверхности до центра отверстия) и выверка установки детали на угольнике с помощью рейсмуса. После этого, окончательно закрепив деталь, перемещением противовеса 1 находят такое его положение, при котором планшайба становится уравновешенной. Если требуется обработать партию деталей, то на угольнике по первой детали следует установить планки — упоры. На рис. 201 показано переналаживаемое приспособление — угольник. Перемещение угольника 7 в двух координатах осуществляется болтами 2 и 4. Отсчет величины перемещения ведется по миллиметровым шкалам 6 с нониусами. Упоры 1 и 5 позволяют пользоваться мерными плитками, при необходимости более точных измерений перемещений угольника в процессе установки обрабатываемой детали. Балансировка приспособления с установленной деталью ведется с помощью противовесов 3. Другие примеры обработки детали на угольнике схематически показаны также на рис. 202. У патрубка (рис. 202, а) подлежит обработке торцовая плоскость А. Она должна быть перпендикулярна к плоскости фланца, соприкасающегося с угольником. Ось отверстия В в кронштейне (рис. 202, б) должна быть расположена под углом а к плоскости его основания. В этом случае угол между полками угольника должен быть равен 90 — а0. Балансировка осуществляется посредством противовеса 1. |









Центры.
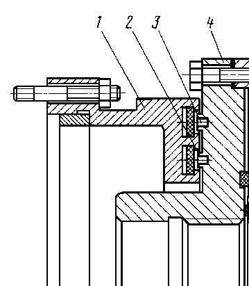
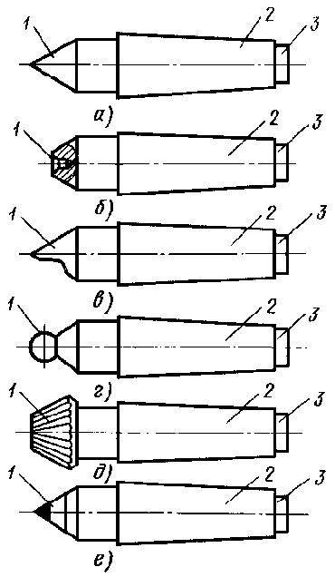
В зависимости от формы и размеров обрабатываемых деталей применяют центры различных типов (рисунок справа). Угол при вершине рабочей части центра - а) обычно равен 60 градусам. Конические поверхности рабочей 1 и хвостовой 2 частей центра не должны иметь забоин, так как это приводит к погрешностям при обработке заготовок. Диаметр опорной части 3 меньше, малого диаметра конуса хвостовой части, что позволяет выбивать центр из гнезда без повреждения конической поверхности хвостовой части. Центр, показанный на рисунке - б), служит для установки заготовок диаметром до 4 мм. У этих заготовок вместо центровых отверстий изготовляют наружный конус с углом при вершине 60 градусов, который входит во внутренний конус центра; поэтому такой центр называется обратным. Если необходимо подрезать торец заготовки, то применяют задний срезанный центр - в), который устанавливают только в пиноль задней бабки. Центр со сферической рабочей частью - г) применяют в тех случаях, когда требуется обработать заготовку, ось которой не совпадает с осью вращения шпинделя станка. Центр с рифленой поверхностью рабочей части - д) используют при обработке без поводкового патрона заготовок с большим центровым отверстием. В процессе обработки передний центр вращается вместе с деталью и служит только опорой, а задний центр не вращается и поэтому (вследствие потери твердости от повышенного нагрева) интенсивно изнашивается. Для предотвращения износа рабочую часть заднего центра изготовляют из твердого сплава - е). При обработке с большими скоростями резания и нагрузками применяют задние вращающиеся центры (рисунок ниже). В хвостовой части 4 центра на опорах качения 2, 3 и 5 смонтирована ось, на конце которой выполнена рабочая часть 1 центра, что обеспечивает ее вращение вместе с обрабатываемой заготовкой.













будет всегда останавливаться в одном положении — грузом вверх, если груз мал, или грузом вниз — если груз велик. Изменять влияние груза можно не только его массой, но и перемещением вдоль паза. Планшайбу с установленной на ней деталью и грузом считают отбалансированной, когда ее можно остановить в любом положении и она не будет стремиться его изменить. Работа с неотбалансированной планшайбой недопустима, так как дебаланс весьма вредно влияет на износ подшипников шпинделя.
