Реферат: Проектирование свайного,ленточного и столбчатого фундамента
|
Название: Проектирование свайного,ленточного и столбчатого фундамента Раздел: Рефераты по строительству Тип: реферат | |||||||||||||||||||||||||||||||||||||||||||||||||||||||||||||||||||||||||||||||||||||||||||||||||||||||||||||||||||||||||||||||||||||||||||
| Содержание: 1. Анализ местных условий строительства……………………………………3 2. Анализ технологического решения здания. Сбор нагрузок на колонну….5 3. Проектирование малозаглублённых железобетонных фундаментов стаканного типа под колонны крайнего ряда………………………………………………7 3.1. Выбор глубины заложения………………………………………………....7 3.2. Определение размеров подошвы фундамента…………………………….9 3.3. Расчет осадки основания фундамента…………………………………… 12 3.4. Расчет элементов фундамента по прочности……………………………. 15 3.4.1. Конструирование фундамента…………………………………………...15 3.4.2. Определение сечений арматуры плитной части фундамента…………17 4. Проектирование свайных фундаментов…………………………………….19 4.1. Выбор вида сваи и определение её размеров……………………………. 19 4.2. Определение несущей способности сваи………………………………... 20 4.3. Размещение сваи под ростверком и проверка нагрузок……………….....21 5. Сравнение вариантов…………………………………………………………24 6. Проектирование ленточных фундаментов…………………………………..25 6.1. Сбор нагрузок………………………………………………………………..25 6.2. Проектирование ленточных фундаментов в стадии незавершенного строительства…………………………………………………………………………27 7.Список литературы……………………………………………………………31 1. АНАЛИЗ МЕСТНЫХ УСЛОВИЙ СТРОИТЕЛЬСТВАМесто строительства – Ростов-на-Дону относится к II снеговому району, к III району по давлению ветра, при средней скорости ветра в зимний период V = 5-7 м/с. В соответствии с нормами сумма абсолютных значений среднемесячных отрицательных температур за зиму для Ростова Mt = 13,9. В результате проведенных инженерно-геологических изысканий установлен геолого-литологический разрез грунтовой толщи: слой №1 (от 0 до 0,9 - 1м) - почвенно-растительный; слой №2 (от 0,9-1м до 7.5-8 м) – суглинок светло-коричневый слой №3 (от 7,5-8 м до разведанной глубины 15 м) – суглинок красновато-бурый Подземные воды не встречены. Их подъем не прогнозируется. Статистический анализ физических показателей грунтов позволил выделить в толще инженерно-геологические элементы (ИГЭ). Поскольку слой №1, который заведомо должен быть прорезан фундаментами, находится выше глубины промерзания и не оказывает существенного влияния на результаты расчетов, то его объединяют со слоем №2 в один инженерно-геологический элемент ИГЭ-1, распространяющийся от поверхности до глубины 7,5-8м. Ниже находится ИГЭ-2, глубину распространения которого принимаем от 8 м до разведанной глубины. Обобщенные физико-механические характеристики грунтов представлены в табл. 1. Таблица 1. Физико-механические характеристики грунтов.
Производим классификацию грунтов по ГОСТ 25100-82*. ИГЭ-1 Число пластичности : IP = (WL - WP )*100% =(0,37-0,21)*100%=16%. Т.к. 7<IL=16<17 грунт является суглинком Показатель текучести:
где Wp и WL - влажность грунта на границах текучести и раскатывания (верхней и нижние границах пластичности), выраженные в процентах. При Il ≤0 суглинок имеет твердую консистенцию. Для суглинка имеющего Il =0 и е=0,80 получаем:
Расчетное сопротивление R0 =225 кПа. Модуль деформации Е = 14 мПа(в запас надежности принято для е=0.85 ). ИГЭ-2 Число пластичности : IP = (WL - WP )*100% =(0,41-0,25)*100%=16%. Т.к. IL=16<17 грунт является суглинком Показатель текучести:
где Wp и WL - влажность грунта на границах текучести и раскатывания (верхней и нижние границах пластичности), выраженные в процентах. При Il ≤0 суглинок имеет твердую консистенцию. Для глины имеющей Il =0 и е=0,78 получаем:
Расчетное сопротивление R0 =235 кПа. Модуль деформации Е = 14 мПа(в запас надежности принято для е=0.85 ). Поскольку грунты не обладают специфическими свойствами, в районе строительства не ожидается проявления опасных инженерно-геологических процессов, грунты обоих ИГЭ имеют значение R0 > 150 кПа и Е>5000кПа, то на данном этапе проектирования можно сделать вывод о том, что оба слоя могут служить в качестве естественного основания. Верхний почвенно-растительный слой в пределах застройки срезается на глубину 0,5 м и используется в дальнейшем для озеленения территории проектируемого промышленного предприятия. 2. АНАЛИЗ ТЕХНОЛОГИЧЕСКОГО НАЗНАЧЕНИЯ И КОНСТРУКТИВНОГО РЕШЕНИЯ ЗДАНИЯ. СБОР НАГРУЗОК НА КОЛОННУ.Необходимо запроектировать фундаменты для одноэтажного двухпролетного цеха, относящегося ко II классу ответственности. Коэффициент надежности по назначению, согласно СНиП 2.01.07-85 для II класса γn = 0,95. В цехе в каждом пролете расположены по два мостовых крана грузоподъёмностью по 50т при круглосуточной работе. Режим работы кранов 7К. Предельный относительный эксцентриситет приложения равнодействующей в подошве фундамента εu = 1/6. Технологическое оборудование и заглубление помещения не оказывают влияния на фундаменты. Среднесуточная температура воздуха в помещении, примыкающем к наружным фундаментам цеха, в зимней период равна 15° С. Нагрузки на полы цеха вблизи колонн крайнего ряда отсутствуют. Проектируемое одноэтажное производственное здание имеет полный железобетонный каркас. Предельная осадка для такого здания Su = 8 см, предельный крен не нормируется. В надземной части здания не предусмотрены специальные конструктивные мероприятия по приспособлению к восприятию усилий от деформации основания, поэтому конструктивная схема здания - гибкая. Полы в цехе - бетонные по грунту. Проектируется фундамент под типовую сборную двухветвевую колонну крайнего ряда с размерами bс х lс = 500 х 1000 мм, отметка пяты колонны -1,050, шаг колонны 6 м. Нагрузки на фундамент определяем в уровне его обреза в невыгодных сочетаниях для расчета по первой и второй группам предельных состояний. Сочетание с наибольшим моментом по часовой стрелке:
Сочетание с наибольшим моментом против часовой стрелки:
Сочетания для расчета по первой группе предельных состояний. Сочетание с наибольшим моментом по часовой стрелке:
Сочетание с наибольшим моментом против часовой стрелки:
Таблица 2 Нагрузка на обрез фундамента.
где n = 6 м - шаг колонн; γ = 18 кН/м3 - удельный вес кирпичной кладки; Кn = 0.85 - коэффициент проёмности; γn = 0,95 - коэффициент надежности по назначению. 3. ПРОЕКТИРОВАНИЕ МАЛОЗАГЛУБЛЁННЫХ ЖЕЛЕЗОБЕТОННЫХ ФУНДАМЕНТОВ СТАКАННОГО ТИПА ПОД КОЛОННЫ КРАЙНЕГО РЯДА.3.1. Выбор глубины заложения.Глубина заложения фундамента в из условия прорезки почвенно-растительного слоя должна быть больше 0,5 м (d > 0,5 м). Нормальная глубина сезонного промерзания грунтов определяется по формуле:
где Мt - безразмерный коэффициент, численно равный сумме абсолютных значений среднемесячных отрицательных температур за зиму в данном районе, принимают по СНиПу 2.01.01-82*; d0 - величина , принимаемая для суглинков и глин- 0,23; Расчетная глубина сезонного промерзания при температуре в помещении 15°С с полами по грунту:
где Кn - коэффициент, учитывающий температуру воздуха в помещении, примыкающем к наружным фундаментам, наличие подвала или техподполья, а также состав полов. Из конструктивных требований к заделке колонны в стакан высота фундамента определяется по формуле: hf >dc +hg +0.05 = 0.9+0.2 + 0.05 = 1.15 м. dc >lc [1-0.8(lc -0.9)] = 1(l-0.8(l-0.9)] = 0.92м. где dc - глубина заделки колонны в фундамент; hg - расстояние от дна стакана до подошвы фундамента, принимаемое не менее 0,2 м. lc – длинна сечения колонны. 0,05 – расстояние между торцом колонны и дном стакана, назначаемое для возможности рихтовки колонны при монтаже, м. Принимаем для промздания hf > 1,5м. При этом высота фундамента кратна 300 мм.
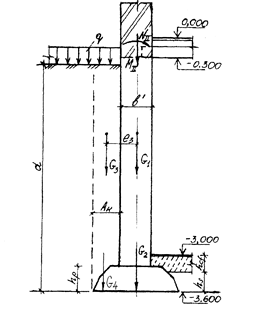
Рис. 1. Схема проектируемого фундамента под крайнюю колонну цеха.
Рис. 2. Схемы к формированию габаритов фундаментов 3.2. Определение размеров подошвы фундаментаВ первом приближении площадь подошвы фундамента:
где NII - сумма всех вертикальных нагрузок в обрезе фундамента для расчетов по II группе предельных состояний, кН; Ro - табличное значение расчетного сопротивления грунта, кПа; γmt ~ среднее значение удельного веса материала фундамента и грунта на его уступах; принимаемое в инженерных расчетах равным 20 кН/м3 ; d - принятая глубина заложения фундамента.
Задаваясь соотношением сторон b/l = 0.75 А=0,75·l2 ; Отсюда l =3,36 и b= 2,52 м. В соответствии с модулем 300 мм полагаем l=3,6 м, b=2,7 м. Находим нагрузки в подошве фундамента: Gf = b·l(d + 0.15)ymt γn =2,7*3,6(1.5 +0.15)20·0.95 =305 кН. Для первого сочетания нагрузок:
e =
Для второго сочетания нагрузок: e =
Расчётное сопротивление грунта основания:
где γcI , γс II - коэффициенты условий работы по СНиП 2.02.01-83*; Кz - коэффициент, зависящий от ширины подошвы фундамента (Кz =1) Mγ
, Mq
, Mc
- коэффициенты, принимаемые по СНиП 2.02.01-83' в зависимости от угла внутреннего трения (для
d1 –глубина заложения фундамента, d1 =d; db –высота подвала; cII –значение коэффициента удельного сцепления. Давление в подошве фундамента:
G1 – вес стены, приходящийся на фундамент, кН. Gf – ориентировочный вес фундамента, грунта не его уступах и подготовки под полы, (нагрузка в подошве фундамента).
P1 max =156*(1+6·0,11)=259кПа;
P2 max =208·(1+6·0.11)=345кПа Проверка условия: РII 1.2 ≤R: 156<299 PIImax 1.2 ≤1.2R: 259<359 208<299 345<359 Условие выполняется, недонапряжение составляет не более 20%. Окончательно принимаем b=2.7 м; l=3,6 м. 3.3. Расчет осадки основания фундамента методом послойного суммирования.Подобранные ранее размеры подошвы фундамента должны быть достаточными, чтобы удовлетворялось условие расчета основания по деформациям S≤Su , где S-совместная деформация основания и сооружения, определяемая расчетом; Su - предельное значение совместной деформации основания и сооружения, которое принимается согласно СНиП 2.02.01-83* . Сначала разбиваем основание ниже подошвы фундамента на элементарные слои hi =0,4b=0,4·2,7=1,08 м. Принимаем hi =1,08 м. Вертикальное напряжение от собственного веса грунта на уровне подошвы фундамента (z = 0) определяют по формуле:
где γII / - осредненное расчетное значение удельного веса грунтов, залегающих выше подошвы фундамента, кН/м; d - глубина заложения фундамента от уровня планировки при срезке грунта, м.
Вертикальные напряжения от собственного веса грунта σ zg на границе слоев, расположенных на глубине z от подошвы фундамента, находят по следующей формуле:
где γIIi , hi - соответственно удельный вес, kH/м3 и толщина i-го слоя грунта, м. Осадку основания с использованием расчетной схемы линейно-деформируемого полупространства определяют от действия вертикальных дополнительных напряжений в грунте:
где α- коэффициент, принимаемый по СНиПу в зависимости от формы подошвы фундамента, соотношения сторон η=l/b=3,6/2.7=1,333 м, и относительной глубины расположения слоя ζ=2z/b=2*108/270=0,8; Р - среднее давление под подошвой фундамента, кПа. Промежуточные вычисления производим в табличной форме (табл.3.). Таблица 3 К расчету осадки основания фундамента.
Находим нижнюю границу сжимаемой толщи и вычисляем осадку:
где σzp i - среднее значение дополнительного вертикального нормального напряжения в i-м слое грунта, равное полусумме напряжений на верхней zi -1 и нижней zi границах слоя, кПа; hi , Ei -соответственно толщина, м, и модуль деформации, кПа, i-го слоя грунта; n- число слоев, на которое разбито основание в пределах сжимаемой толщи. Граница сжимаемой толщи находится на глубине z=5,40 м, так как здесь σzp ≤0.2σzg . Получим величину осадки :
Расчетное значение осадки основания свайного фундамента меньше предельного S=2.76 см <Su =8 см. Условие расчета основания по деформациям выполняется. 3.4.Производим расчет элементов фундамента по прочности3.4.1. Конструирование фундамента . Толщина стенки стакана в плоскости действия момента (вдоль оси ОХ) dq > 0,2·1,0 = 0,2 м; из плоскости момента, не менее 150 мм. Тогда размеры подколенника с учетом размеров колонны, толщины стенок, стакана и принятых зазоров в плане luc и buc должны составлять: luc > 1.0+ 2dg + 0,15 = 1,0+2*0,12+0,15 = 1,55 м; buc > 0.5 + 2dg + 0,15 = 0,5+2*0,15+0,15=0,95 м. С учетом модуля 300 мм 1u с = 1,8 м, buc = 1,2 м. Предположим, что плитная часть фундамента состоит из одной ступени высотой hi = 0,3 м. Рабочая высота нижней ступени при защитном слое бетона 35 мм и диаметре арматуры 20 мм: h01 =300-35-20/2 =255 мм. где h01 –рабочая высота бетона. Определяем допускаемый вынос нижней ступени Сlmax =ho 1 ·K где К - определяется по таблице, принимая бетон класса В15.
где lc = 1м – высота сечения колонны; b0 = 0,51м –толщина стены.
При p=390 кН для четвертого случая и В15 значение К1=2.2, тогда: Cl max =h01 ·K = 0,255*2.2 = 0,561 м. Фактический вынос нижней ступени вдоль стороны l составляет:
Так как Cl max <Сl fact принимаем две ступени: принимаем ширину первой ступени 450 мм, второй- 450 мм.
Cb max =h01 ·K = 0,255*2.6 = 0,663 м Cb max <Сb fact , целесообразно принять две ступени, первая шириной 450 мм и вторая 300 мм . Армирование подошвы фундамента : Определяем количество рабочей арматуры вдоль длины подошвы в плоскости действия момента сразу на всю ширину подошвы. Вычисляем эксцентриситет: eI
3
= Расчётные сечения принимаем по граням подколонника и колонны (см. рис. ниже). Сечение 1-1 Вылет консоли С1 =450м Рабочая высота h01 =255 мм Момент от реактивного давления грунта:
Площадь арматуры А-III при Rs =365000 кПа:
Назначаем шаг рабочих стержней 200 мм. На ширину подошвы b=2,7м укладывается 2,7/0,2=13 стержней. Расчетный диаметр одного стержня
Минимальный диаметр рабочей арматуры сеток подошв принимается равным 12 мм.
Марка сетки подошвы фундамента 2С 4.1. Выбор вида сваи и определение её размеров.В качестве исходных данных для проектирования свайных фундаментов примем исходные данные, использованные для расчета фундамента стаканного типа на естественном основании (см. раздел 3). В рассматриваемых местных условиях для проектируемого здания можно использовать практически все виды свай. В качестве варианта запроектируем фундаменты из забивных железобетонных цельных свай квадратного сечения с ненапрягаемой арматурой и поперечным армированием по ГОСТ 19804.1-79*. Размеры поперечного сечения сваи принимаем 30 х 30 см. Высоту ростверка назначаем 1,5 м. Тогда при отметке планировки -0,150 отметка подошвы будет -1,650, а толщина дна стакана 0,5м, что больше минимальной, равной 0,25. Так как на ростверк действуют горизонтальные силы, и моменты предусматриваем жесткое сопряжение ростверка со сваями путем заделки свай в ростверк на 500мм. Из них 400мм составляют на выпуски арматуры, а 100мм непосредственная заделка. Тогда условная отметка головы сваи будет -1,150. Отметку острия сваи назначаем в зависимости от грунтовых условий строительной площадки. В качестве несущего пласта выбираем суглинок красновато-бурый, кровля которого находится на глубине 8,0 м. Сваи заглубляем в этот слой на 1,0 м, тогда отметка нижнего конца сваи будет -9,150. Длину сваи определяем как разность между отметками головы и нижнего конца: L=9,150-1,150 = 8м. По ГОСТ 19804.1-79* марка сваи С 8-30. Так как свая опирается на сжимаемые грунты, то она относится к висячим. 4.2. Определение несущей способности сваи. Несущей способностью сваи Fd называется расчетная несущая способность грунта основания одиночной сваи. Это максимальное усилие, которое может воспринять свая без разрушения грунта, контактирующего с ее поверхностью. В расчетном методе несущая способность висячей сваи является суммой сил расчетных сопротивлений грунтов основания под нижним концом сваи и на ее боковой поверхности:
где γс- коэффициент условий работы сваи в грунте, принимаемый γс =1; R - расчетное сопротивление грунта под нижним концом сваи, R = 10100 кПа; А - площадь опирания сваи на грунт, 0,3 х 0,3 = 0,09 м2 ; U- наружный периметр поперечного сечения сваи, U= 4 х 0,3 = 1,2м; fi - расчетное сопротивление i -го слоя грунта основания по боковой поверхности сваи, кПа; hi толщина i-го слоя грунта, соприкасающегося с боковой поверхностью сваи, м; γcR γcf - коэффициенты условий работы грунта соответственно под нижним концом и на боковой поверхности сваи, учитывающие влияние способа погружения сваи на расчетное сопротивление грунта. Для определения fi грунт на боковой поверхности сваи разделяем на однородные слои толщиной не более 2м. Находим среднюю глубину расположения слоя грунта (расстояние от середины слоя до уровня природного рельефа zi ). В зависимости от показателя текучести и наименования определяем значения расчетных сопротивлений грунта на боковой поверхности: h1 =2,0м z1 =2.5м f1 =45кПа h2 =2,0м z2 =4,5м f2 =54,5кПа h3 =1.5м z3 =6.25м f3 =58,5 кПа h4 =1.5м z4 =7,0м f4 =60 кПа h5 =1.0м z5 =7.5м f5 =61,5 кПа
4.3. Размещение сваи под ростверком и проверка нагрузок.Определяем нагрузку, допускаемую на сваю .
где γК -коэффициент надежности, учитывающий точность метода определения несущей способности одиночной сваи; при определении Fd расчетом значение принимается равным 1,4. Количество свай вычисляем по формуле
где Gr
- расчетный вес ростверка; на начальном этапе проектирования может быть приближенно принят
Принимаем 4 сваи и располагаем их в два ряда. Расстояние между осями свай назначаем минимальными 3bp
=3 Определим нагрузку в подошве ростверка в обоих сочетаниях для расчета по первой группе предельных состояний. Вертикальная нагрузка N4 1 складывается из веса стены, ростверка и вертикальной силы от колонны, а момент MYI – из момента то веса стены, момента от колонны и момента от горизонтальной силы Q, приложенной в обрезе ростверка. Уточненный вес ростверка:
где
Нагрузки для 3,4 сочетания:
где Ndi , MYI – соответственно расчетная сжимающая сила, кН, и расчетный изгибающий момент по абсолютному значению, кН, относительно оси ОY плана свай в плоскости подошвы ростверка. NdI 3 = 1404+697+71 = 2172 кН.
Наибольшая из максимальных фактических нагрузок на сваю в обоих сочетаниях составляет 1106 кН. Рассчитываем перегруз сваи:
Строим условный фундамент. Осредненное значение угла внутреннего трения
где H – глубина погружения свай в грунт.
Размеры подошвы условного фундамента складываются из расстояния между осями крайних свай, стороны сечения сваи и 2 Ширина подошвы условного фундамента: Длина подошвы условного фундамента: Глубина заложения условного фундамента: в = 9 м. Вес условного фундамента: Суммарная вертикальная нагрузка в подошве условного фундамента:
Среднее давление в подошве фундамента:
Расчетное сопротивление грунта в подошве условного фундамента определяем по формуле: Условие PIIY =306<R=605 кПа выполняется. 5. Сравнение вариантов Сравнение вариантов фундаментов производим по расходу бетона в м3 . 1. Фундаменты мелкого заложения стаканного типа:
2. Свайные фундаменты:
Из расчетов видно, что расход бетона в свайных фундаментах больше чем в фундаментах мелкого заложения. Устройство свайных фундаментов требует привлечение специальной техники (копров) и требует больших затрат машин-смен и человеко-дней по сравнению с фундаментами мелкого заложения. Поэтому вариант с фундаментом мелкого заложения стаканного типа наиболее экономичен 6. ПРОЕКТИРОВАНИЕ ЛЕНТОЧНЫХ ФУНДАМЕНТОВ.6.1. Сбор нагрузок.Требуется запроектировать сборный сплошной ленточный фундамент под наружную продольную стену административно-бытового корпуса. Здание десятиэтажное, стены кирпичные толщиной bi = 0,51 м, удельный вес кладки 18 кН/м2 . Расстояние между продольными стенами в осях I = 6,0 м, от стены до стены £0 =5,6 м. Междуэтажные перекрытия выполнены из сборных железобетонных плит с полами из линолеума, вес 1 м перекрытия 2,8 кН (qi = 2,8 кПа). Покрытие - сборные ребристые железобетонные плиты, пароизоляция, утеплитель, трехслойный гидроизоляционный ковер, гравий, втопленный в битумную мастику (q2 = 3,5 кПа). Кровля - малоуклонная. Высота стены от уровня планировки до карниза Н = 30,450 м, коэффициент проемности m = 0,85. Грунтовые условия строительной площадки, определенные инженерно-геологическими изысканиями. Определяем нагрузки для расчетов по деформациям в уровне планировки. Вес стены: N1 =1·0.51·30,45·0.85·18·0,95=206 кН/м Грузовая площадь: А= Вес 10 междуэтажных перекрытий: N2 =2.8·3·10=84 кН/м Вес покрытия: N3 =3,5*2,8=9,8 кН/м Врем. длит. нагрузка: N4 =2,8·0,5∙10=14 кН/м Нагрузка на перекрытия при ее пониженном значении: N5 =0,7·10·2,8=19,6 кН/м где 0,7 кПа - понижение значения Интенсивность снеговой нагрузки: S0 =0,86 кПа q5 =1,0*0,86*0,7*0,5=0,301кПа. Расчетная нагруагрузка на перекрытия от веса снега: N6 =3,0*0,301=0,9 кН/м Cумма нагрузок: NII =N1 +N2 +N3 +φ·(N4 +N5 +N6 ), где NII =206+84+9,8+0.95*(14+19,6+0.9)=333 кН/м Отдельно определяем вертикальную нагрузку от перекрытия над подвалом: N
1
= А*3 +
N 1 = 2,8*3 + 0,95*(2,8*0,5 + 2,8*0,7) = 12 кН/м. Момент в уровне планировки на пог. м: MII = N 1* e 1 = 12*0,21 = 2,4 кНм/м. где N1 - вертикальная нагрузка от перекрытия над подвалом, включая собственный вес перекрытия, нагрузку от перегородок и нагрузку на перекрытие, кН; e1 - эксцентриситет приложения нагрузки N1 , м. Эксцентриситет приложения этой нагрузки составляет
где с - длина заделки плиты в стену, принимаемая не менее 0,12 м . Учитывая, что рассматриваемое здание относится ко II классу ответственности, полученные значения умножаем на коэффициент надежности по назначению γ n =0,95. Тогда значения нагрузок для расчета по деформациям NII =333*0,95=316 кН/м. MII =2.4*0.95=2.3 кНм/м. Из конструктивных соображений (обеспечение проектной высоты подвала) отметку подошвы фундамента назначаем - 3.60 м . Тогда: - при высоте фундаментной плиты 0,3 м и высоте каждого из пяти рядов стеновых блоков по 0,6 м перекрытие над подвалом укладывается на верхний блок; - условие недопущения выпора грунта из-под подошвы фундамента соблюдается, так как hs + hsf = 0,6м > 0,5м; - глубина заложения фундамента d , равная 3,15м , значительно превышает расчетную глубину сезонного промерзания грунта, следовательно, условие недопущения сил морозного пучения грунтов под подошвой фундамента соблюдается; - основанием фундамента будет суглинок светло-коричневый (ИГЭ-1), с расчетным сопротивлением грунта R 0 = 225кПа Определим предварительное значение ширины подошвы ленточного фундамента b0 :
Подбираем марку железобетонной фундаментной плиты ФЛ 20.30 шириной b = 2 м, l = 2,98 м. вычислим уточненное расчетное сопротивление грунта:
где К - коэффициент, К= 1 , если прочностные характеристики грунта (C и f ) приняты по таблицам СНиП или региональных нормативов; Mg , Mq , Mc - коэффициенты, в зависимости от угла внутреннего трения fll ; Кz - коэффициент; при b < 10 м Кz =1 ; b - ширина подошвы фундамента, м; Сll - расчетное значение удельного сцепления грунта, залегающего непосредственно под подошвой фундамента, кПа. В этой формуле приведенная глубина заложения фундамента от пола подвала :
где hs =0.4 м – толщина слоя грунта выше подошвы фундамента со стороны пола подвала, hcf = 0,2 м – толщина конструкций пола подвала γ cf = 24 кН/м³ – расчетное значение удельного веса конструкций пола подвала уточним ширину подошвы фундамента с учетом вычисленного значения R:
принимаем фундаментную плиту ФЛ 12.24. шириной b = 1,2м , высотой hp = 0,3 м , длиной Расход материалов: Бетон - 0,65 м3 Сталь – 6,3 м3 Масса плиты: 1.63 т. Определяем вертикальные нагрузки в уровне подошвы фундамента. Стену подвала назначаем из фундаментных стеновых блоков сплошных из тяжелого бетона шириной b ’ = 0,5 м марки ФБС 24.5.6 – Т . Вес стены подвала:
Вес фундаментной плиты:
где Gp , lp – соответственно вес и длина фундаментной плиты. Вес грунта на левом уступе фундаментной плиты:
где Усилия от временной нагрузки на внешней стороне фундамента:
Сумма вертикальных нагрузок в уровне подошвы фундамента:
Выбираем расчетную схему. Для этого проверяем соотношение b ’/ b :
Т.о. на грунт передается только вертикальная нагрузка. Интенсивность активного бокового давления грунта в уровне поверхности планировки: σа1 =17,1·0,58·tg2 (450 -17,10 /2)=5,41кПа hЭ =10/17,1=0,58м φ/ II =190 *0.9=17,10 Интенсивность активного бокового давления в уровне подошвы фундамента: σа2 =17,1*(0,58+5,41)*tg2 (450 -17,10 /2)=55,88 кПа Момент в заделке от действия равномерно распределённой нагрузки q= σа1
=5,41 кПа. М1 =-5,41*5,412 /8*(2-1,29)2 =-9,98 кНм Момент в заделке от действия треугольной нагрузки q= σа2 - σа1 =55,88-5,41=50,47 кПа. М2 =-50,47*5,412 /120*(3 * 1,292 -15*1,29+20) =-69,45кНм Момент в заделке от веса грунта на уступе фундаментной плиты М3 = G3 · е3 = G3 ·( b+ b1 )/4=21,93*(1,2+0,5)/4=10,42кНм Момент в заделке от веса грунта на уступе фундаментной плиты М4 = G4 ·( b+ b1 )/4=4,5*(1,2+0,5)/4=2,14 кНм Момент в заделке от действия момента М11 , приложенного в уровне перекрытия над подвалом М5 = 2,3/2=1,15 кНм Суммарный момент в подошве фундамента ΣМ=-9,98-69,45+10,42+2,14+1,15==-65,72 кНм Определяем эксцентриситет и его относительное значение. Рmax =316(1+6*0.12)/1,2=388кПа 388<1.2*332=399 кПа Недогруз составляет менее 20%. 1. Гильман Я. Д., Логутин В. В. Проектирование оснований и фундаментов (для студентов и проектировщиков) - Ростов н/Д: РГАС, 1996. 2. СНиП 2.02.01-83*. Основания зданий и сооружений. - М.Минстрой России. 3. СНиП 2.02.03-85. Свайные фундаменты. М.: - ЦИТП Госстроя СССР, 1986. |
|||||||||||||||||||||||||||||||||||||||||||||||||||||||||||||||||||||||||||||||||||||||||||||||||||||||||||||||||||||||||||||||||||||||||||

















