Реферат: Проектирование промежуточной станции 2
|
Название: Проектирование промежуточной станции 2 Раздел: Рефераты по транспорту Тип: реферат | |||||||||||||||||||||||||||||||||||||||||||||||||||||||||||||||||||||||||||||||||||||||||||||||||||||||||||||||||||||||||||||||||||||||||||||||||||||||||||||||||||||||||||||||||||||||||||||||||||||||||||||||||||||||||||||||||||||||||||||||||||||||||||||||||||||||||||||||||||||||||||||||||||||||||||||||||||||||||||||||||||||||||||||||||||||||||||||||||||||||||||||||||||||||||||||||||||||||||||||||||||||||||||||||||||||||||||||||||||||||||||||||||||||||||||||||||||||||||||||||||||||||||||||||||||||||||||||||||||||||||||||||||||||||||||||||||||||||||||||||||||||||||||||||||||||||||||||||||||||||||||||||||||||||||||||||||||||||||||||||||||||||||||||||||||||||||||||||||||||||||||||||||||||||||||||||||||||||||||||||||||||||||||||||||||||||||||||||||||||||||||||||||||||||||||||||||||||||||||||||||||||||||||||||||||||||||||||||||||||||||||||||||||||||||||||||||||||||||||||||||||||||||||||||||||||||||||||||||||||||||||||||||||||||||||||||||||||||||||||||||||||||||||||||||||||||||||||||||||||||
| ПРОЕКТИРОВАНИЕ ПРОМЕЖУТОЧНОЙ СТАНЦИИ Введение Рассматриваются основные задачи дальнейшего развития железнодорожного транспорта в свете решений партии и правительства. В зависимости от темы курсового проекта надо раскрыть назначение и роль промежуточных станций в работе сети дорог. 1. Характеристика промежуточной станции Здесь описывается характер местности в пределах размещения станционной площадки, характеристика подходов к станции, место размещения поселка, основное направление подвоза грузов, характер и объем выполняемой станцией работы. 2 Выбор схемы станции 2.1 Определение числа приемо-отправочных путей станции Число приемо-отправочных путей на промежуточных станциях устанавливается в зависимости от размеров движения и должно быть не менее числа, указанного в таблица 2.1, без главных путей. Таблица 2.1
Если станция является опорной или имеет примыкания подъездных путей с большой грузопереработкой или пропускает большое число пассажирских (пригородных) поездов, то к табличным данным в этих случаях добавляется еще 1 - 2 пути. Для выполнения маневровой работы необходимо проектирование один вытяжной путь полезной длиной не менее половины заданной полезной длины приемо-отправочных путей. Число путей для грузовых операций принимается в зависимости от схемы грузового двора. Полезная длина погрузочно-выгрузочных путей определяется заданным размерами грузовых устройств. Путевая схема станции устанавливается в следующей последовательности: 1)выбирают тип промежуточной станции (продольный, полупродолный или поперечный); 2)определяют место расположения пассажирского здания; 3)устанавливают место расположения грузового двора; 4)выбираем примыкание подъездных путей; 5)сравниваем две принципиальные схемы станции. 2.2 Выбор типа промежуточной станции Тип промежуточной станции устанавливают в зависимости от фактической длины станционной площадки Lф , заданной полезной длины приемо-отправочных путей l, профиля подходов к станции и категории линии. Согласно [16] промежуточные станции размещают на горизонтальной площадке, а в отдельных случаях допускается расположена их на уклонах не круче 1,5%0 . Длина станционной площадки Lзад берется из задания. Но заданная станционная площадка не может был полностью использована. В местах перелома продольного профиля, отмеченных уклоноуказателями, устраиваются вертикальные кривые, в пределах которых нельзя размещать на главных путях стрелочные переводы. Поэтому фактическая длина станционной площадки Lф = Lзад – Т1в – Т2в где Т1в , Т2в - тангенсы вертикальных кривых; для линий I категории Тв = 7,5 ∆i и для линий II и III категорий Т1в = 5 ∆i (м). Здесь ∆i - алгебраическая разность сопрягаемых уклонов, 0 /00 , ∆i = i1 ± i2 Минимальные потребные длины станционных площадок Lпотр промежуточных станций различных типов без учета тангенсов вертикальных кривых приведены в таблице 2.2.
Сравнивая потребную длину станционной площадки с фактической, выбирают тип промежуточной станции. При этом начинают сопоставление указанных длин станционных площадок с продольного типа. Если фактическая длина станционной площадки больше или равна потребной для продольного типа, то выбирают для разработки продольный тип станции. Если же Lф меньше табличного значения потребной длины площадки для продольного типа, то переходят к аналогичному сопоставлению длин площадок для полупродольного типа. Если в этом случае Lф ≥ Lпотр полупродольного типа, то выбирают полупродольную схему, а если Lф < Lпотр для полупродольного типа, то остается одно решение — принять для проектирования схему станции с поперечным расположением путей. Пример. Выбрать тип промежуточной станции на однопутном участке линии II категории при полезной длине приемо-отправочных путей 1050 м. Продольный профиль главного пути на станции и подходах к ней приведен на рисунке 2.1.
Рисунок 2.1 Профиль станционной площадки и подходов Т1в = 5 ∆i1 Т2в = 5 ∆i2 ∆i1 = 3 + 1,2 = 4,2 ∆i2 = 4 - 1,2 Т1в = 5 · 4,2= 21 м; Т2в = 5 · 2,8 = 14 м; Lф = Lзад – (Т1в + Т2в ) = 2300 - (21 + 14) = 2265 м. При полезной длине приемо-отправочных путей 1050 м схема с продольным расположением путей требует площадки 2900 м, а Lф = 2265 м, т. е. такая станция не поместится на имеющейся площадке. При полупродольной схеме Lпотр = 2200 м, что несколько меньше фактической площадки. Следовательно, такая схема может быть принята для проектирования. Фактическая длина площадки позволяет разместить станцию поперечного типа. Промежуточные станции на вновь строящихся однопутных линиях I и II категорий должны проектироваться с учетом организации скрещения удлиненных поездов. А этому требованию удовлетворяет полупродольная схема станции, которая и принимается для детального проектирования. 2.3 Определение места расположения пассажирского здания и грузовых устройств Пассажирское здание (ПЗ) должно располагаться со стороны поселка, а если его нет, то с нагорной стороны. В продольном направлении относительно трассы главного пути пассажирское здание размещается на более благоприятной местности и по возможности напротив середины пассажирских платформ. При отсутствии других факторов пассажирское здание располагается ближе к горловине, к которой примыкает грузовой двор и где выполняется основная маневровая работа. Грузовые устройства (ГУ) на промежуточных станциях могут располагаться либо со стороны пассажирского здания, либо с противоположной стороны. Это устанавливается заданием. Но грузовой двор можно расположить с востока или с запада. При решении этого вопроса следует учитывать расположение переезда и подъездного пути. Вытяжной путь нежелательно пересекать автодорогой. Поэтому вытяжной путь и переезд целесообразно располагать в разных районах станции. Расположение переезда либо задается по заданию на план; местности, либо выбирается. При этом имеет значение профиль подходов, к станции. Переезд обычно располагается между первым стрелочным переводом и входным светофором с той стороны станции, где по условиям профиля легче остановиться поезду. Выбрав место для переезда, выбирают место для вытяжного пути. Грузовой двор всегда примыкает к вытяжному пути. На линиях скоростного движения поездов главные пути пересекаются с автомобильными дорогами в разных уровнях.
в
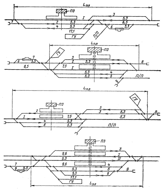
г Рисунок 2.2 Схемы промежуточных станций с продольным расположением путей Для сравнения вариантов схем станции можно использовать типовые схемы, приведенные на рисунке. 2.2 - 2.4. Если по заданию станция пропускает длинносоставные поезда, то рекомендуются схемы станций, показанные на рис. 2.2, а, б. Для опорных станций и станций, расположенных на линиях со скоростным движением пассажирских поездов, рекомендуются схемы, приведенные на рис. 2.5 и 2.6. После вычерчивания двух вариантов схем станции следует установить, какая из рассматриваемых схем является лучшей.
Рис. 2.3. Схемы промежуточных станций с полупродольным расположением путей Это определяется в результате технико-эксплуатационного сравнения, которое учитывает преимущества и недостатки каждого варианта: уровень удобств и безопасность для пассажиров и работников станции; рациональное использование автотранспорта; обеспечение безопасности движения поездов; возможность развязки маршрутов в горловинах; условие дальнейшего развития станции с минимальным переустройством ранее уложенных путей и стрелочных переводов; расположение переезда; объем земляных работ при сооружении грузового двора; возможность надежных водоотводов от земляного, полотна.
Рис. 2.4. Схемы промежуточных станций с поперечным расположением путей Вариант схемы станции, в наибольшей степени отвечающий этим требованиям, должен быть принят для дальнейшего проектирования. Обе сравниваемые схемы должны быть вычерчены немасштабно на промежуточных станций на линиях скоростного движения пассажирских поездов листах формата ап и приложены к разделу 2.3 пояснительной записки. Выбранный вариант схемы станции наносится немасштабно на лист формата аи . Образец немасштабной схемы станции Н приведен на рис. 2.7.
Рис. 2.5 Схемы опорных промежуточных станций с вариантами расположения грузового двора
Рис. 2.6. Схемы промежуточных станций на линиях скоростного движения пассажирских поездов
Рис. 2.7. Образец немасштабной схемы станции Н Для выбранной схемы устанавливают оптимальное примыкание подъездного пути. Наиболее целесообразные точки примыкания его следующие: на продолжении вытяжного пути (можно в любом месте вытяжного пути), на продолжении предохранительного тупика или к соединительным путям грузового двора. При выборе варианта примыкания подъездного пути рекомендуется пользоваться схемами, приведенными на рис. 2.8. Если к станции примыкает подъездной путь с большим объемом работы (на шахты, заводы, рудники и т. д.), то предусматриваются приемо-отправочные пути для приемо-сдаточных операций (пути 5 и б на рис. 2.8).
Рис. 2.8. Варианты примыкания подъездных промежуточных путей к станциям В этом случае подъездной путь должен иметь выход на эти пути. При необходимости могут быть и другие решения, но они должны быть обоснованы. 2.4. Определение размеров основных устройств станции В пояснительной записке должны быть отражены: обоснование числа и длины путей, расстояния между осями путей, расчет ширины междупутий при расположении в них пассажирских платформ, обоснование принятого типа верхнего строения пути и марок крестовин стрелочных переводов, расчет съездов, обоснование принятых размеров стрелочных узлов, установка предельных столбиков и светофоров, обоснование принятых размеров параллельного смещения путей, описание принятых типовых пассажирских и грузовых устройств. На немасштабную схему станции наносят: оси путей, нумерацию путей и стрелок, специализацию путей, входные и выходные сигналы и их нумерацию, предельные столбики, марки стрелочных переводов (кроме 1/9), ширину междупутий, тип рельсов, стрелочные узлы, длину съездов, размеры пассажирских и грузовых устройств. Кроме того, устанавливается самый короткий (расчетный) путь, полезная длина которого должна быть равна 850, 1050 или 1250 м. На станциях всех типов обычно два пути являются расчетными (один в четном, другой в нечетном направлениях). Пути и стрелки нумеруют по правилам, изложенным в [161. Стрелочные переводы должны быть уложены с крестовинами соответствующих марок в соответствии с ПТЭ и [161. Следует помнить, что стрелочные переводы марки 1/11 укладывают на съездах между главными путями и там, где пассажирские поезда отклоняются на боковой путь. Если по заданию станция расположена на линии со скоростным движением пассажирских поездов, то на главных путях укладывают стрелочные переводы не круче 1/11. В этом случае на съездах между главными путями можно укладывать стрелочные переводы марки 1/18. Расстояния междупутий принимают стандартные (табл. 2.3). Таблица 2.3
* Это расстояние дается без установки пассажирских платформ. При установке платформ ширина междупутий рассчитывается. Ширина междупутья при размещении в нем пассажирской платформы е = b1 + 2 b2 где b1 - ширина платформы, м; b2 - габаритное расстояние между платформой и осью пути, м. Ширина промежуточных платформ на промежуточных станциях принимается 4 м. На станциях пригородных участков, а также на линиях со скоростным движением пассажирских поездов ширина платформ определяется типом и размерами переходов между платформой и пассажирским зданием (тоннель, пешеходный мост) и подлежит обоснованию в проекте. При этом ширина промежуточной пассажирской платформы может быть b1 = а + 2к + 2с где а - наименьшая ширина перехода или схода, м; к - габаритное расстояние между крайней гранью сооружения на платформе и краем платформы (не менее 2 м); с - строительная толщина вертикальных панелей входа в тоннель; с = (0,15 : 0,20) м. Ширину переходов и сходов определяют в зависимости от пассажиропотока, она должна быть не менее приведенной в табл. 2.4. Таблица 2.4
Тип рельсов главных, приемо-отправочных и прочих путей принимают согласно табл. 2.5. Таблица 2.5
Если приемо-отправочные пути оборудованы рельсовыми цепями (при ЭЦ), предельные столбики ставятся в соответствии с приложением 1, табл. 1. Если пути не оборудованы электрическими рельсовыми цепями (при ручном обслуживании стрелочных переводов), предельные столбики устанавливаются согласно приложению 1, табл. 2. Входные светофоры устанавливают при тепловозной тяге не ближе 50 м От остряка первой противошерстной стрелки или от предельного столбика первой пошерстной стрелки. При электрической тяге они ставятся на 200 - 300 м от тех же точек. Это вызвано устройством воздушного промежутка между контактной сетью перегона и станции, который требует некоторого расстояния. Входной светофор должен размещаться перед этим воздушным промежутком, чтобы остановившийся перед входным светофором электровоз не замкнул контактную сеть перегона и станции, когда на перегоне выполняется ремонт контактной сети. Входные светофоры нумеруют заглавной буквой Ч или Н. Выходные светофоры устанавливают: при противошерстной стрелке - напротив изолирующего стыка пли стыка рамного рельса; при пошерстной стрелке: если выходной светофор и предельный столбик находятся в одном междупутье, то светофор ставится от центра стрелочного перевода согласно приложению 1, табл. 3; если они находятся в разных междупутьях, то на расстоянии 3,5 м от предельного столбика. Выходные сигналы нумеруют заглавной буквой Ч или Н с цифровым индексом, обозначающим номер пути. Стрелочные узлы рассчитываются согласно приложению 2 (определяются расстояния между центрами соседних стрелочных переводов).
Рис. 2.9. Съезды: а - обыкновенный; б - перекрестный Расчет съездов (рис. 2.9) выполняется по формуле Х = еN где е - ширина междупутья, м; N - знаменатель марки крестовины. 2.5 Определение размеров пассажирских устройств станции К пассажирским устройствам относятся пассажирское здание, пассажирские платформы, перронные устройства и переходы, привокзальные площади. Пассажирские здания и другие капитальные здания и сооружения следует располагать от оси ближайшего главного пути на расстоянии не менее 20 м, а при скоростном движении пассажирских поездов - не менее 25 м. Основные размеры типовых вокзалов приведены в табл. 2.6. Таблица 2.6.
Размеры привокзальной площади принимаются не менее 0,5 га. Вдоль фасада пассажирского здания (со стороны привокзальной площади) следует устраивать тротуар шириной не менее 2,25 м. Длину пассажирских платформ в проекте следует принимать 500 м. Однако надо предусмотреть возможность удлинения платформ в перспективе до 600 м без перестановки светофоров и других устройств станции. Удлинение платформ показывают пунктиром. На скоростных линиях, а также при обращении пригородного мотор вагонного подвижного состава платформы устраивают высокими с превышением от уровня верха головки рельса на 1100 мм. Во всех остальных случаях могут проектироваться низкие платформы высотой 200 мм от головки рельса. Основные и промежуточные платформы должны быть соединены между собой и пассажирским зданием переходами на уровне верха го ловок рельсов или в разных уровнях. Переходы в разных уровнях следует предусматривать при большой посадке и высадке пассажиров, где доступ пассажиров с платформ в населенный пункт преграждают пути с большими размерами движения поездов, а также на линиях, где предусматривается движение пассажирских поездов со скоростями более 120 км/ч. Размещение пассажирских устройств показано на рис. 2.10.
1- пассажирское здание; 2- блок вспомогательных помещений; 3- водоемное здание; 4- основная пассажирская платформа; 5 - промежуточная пассажирская платформа Рис. 2.10. Схема размещения пассажирских устройств на промежуточной станции При проектировании грузовых устройств неопорных промежуточных станций следует определить минимальную полезную длину пути у грузовых платформ. Она определяется применительно к приведенным схемам на рис. 2.11.
1-крытый склад; 2- крытая платформа; 3, 4 - низкая и высокая открытая платформа. Рис. 2.11. Схемы размещения грузовых устройств на неопорной промежуточной станции: Полезная длина погрузочно-выгрузочного пути 6 на рис. 2.11, а складывается из полезных длин путей 6 и 6а и определяется по формулам: lв пол = Х + Т + 25 + Σ1ск -1с , l6а пол = lск + 25 + Т + Х - lс где X - длина съезда; Т- тангенс кривой; 25 - длина для размещения базы большегрузного вагона; lс - расстояние от центра перевода до предельного столбика; lск - длина склада. Схема а применяется при большой длине складов, когда Σ1ск > 100 м; схема б - при малой длине, когда Σ1ск < 100 м. Ширина рампы со стороны железнодорожного пути равна 3 м, со стороны автомобильного транспорта - 1,5 м, что обеспечивает маневренность средств механизации. 2.6 Построение продольного профиля станции 2.7 Вычерчивание масштабного плана станции Проставив все необходимые размеры на немасштабной схеме, можно приступать к накладке плана станции в масштабе 1 : 2000. Построение плана станции следует начинать с нанесения главного пути, который не меняет своего положения в плане (прямой). Этот путь принимается за ось X . При этом надо отступить от верхней кромки листа 10 - 15 см, а для опорных станций - 30 см (если грузовой двор расположен сверху). На ось главного пути наносят пикеты, километровые знаки, уклоноуказатели и горизонтали. Расстояния между пикетами и горизонталями увеличивают в 10 раз, если план местности задан в масштабе 1 : 20000. С левой стороны листа оставляют 30 мм на рамку. Накладку начинают с нанесения осей всех путей. Сначала наносят-сумму междупутий и проводят оси крайних путей. Затем наносят оси других путей. После этого фиксируется центр первого стрелочного-перевода. При этом следует помнить, что расстояние от уклоноуказателя до центра первого стрелочного перевода l ≥ Т в + а, если стрелка противошерстная, и l ≥ Т в + b если стрелка пошерстная. Здесь Тв - длина тангенса вертикальной кривой; а - расстояние от переднего стыка рамного рельса до центра стрелочного перевода; b - расстояние от центра стрелочного перевода до конца крестовины. При укладке стрелочных переводов используют марку крестовины как соотношение катетов. Пример. Требуется уложить стрелочный перевод марки 1/9. Для этого от центра перевода откладывают 9 см, затем по перпендикуляру - 1 см. Полученную точку соединяют с центром перевода (рис. 2.12, а). Длину съезда укладывают по прямому пути и в полученном сечении по перпендикуляру фиксируют центр перевода на параллельном пути. Укладка съезда из стрелочных переводов с маркой крестовины 1/9 при междупутий е = 5,3 м показана на рис. 2.12, б. При укладке стрелочной улицы под углом а по прямому пути откладывается последовательно Х1 = е1 N, Х2 = е2 N и т. д. и по перпендикуляру соответственно на втором, третьем, четвертом и т. д. путях фиксируются центры стрелочных переводов (рис. 2.12, в).
а - стрелочного перевода б - съезда; в - стрелочные улицы Рис. 2.12 Примеры укладки соединений Уложив все пути и стрелочные переводы одной из горловин, необходимо расставить все предельные столбики и выходные светофоры, используя уже установленные размеры на немасштабной схеме. Следует учитывать, что предельный столбик ставится от оси прямого пути ил расстоянии 2,05 м, а светофор - на 2,60 м. Переход к другой горловине осуществляется через полезную длину расчетного приемо-отправочного пути, т.е. от светофора (или предельного столбика) откладывают в масштабе заданную стандартную полезную длину (850, 1050, 1250 м) до предельного столбика (или выходного светофора) в другой горловине. Укладывается вторая горловина. Если схема станции продольного типа, то, построив центральную горловину, надо еще раз отложить заданную полезную длину расчетного нечетного приемо-отправочного пути. Затем надо построить нечетную входную горловину. Если же укладывается план станции полупродольного типа, то после укладки центральной горловины нужно перейти к другой границе станционной площадки и на расстоянии Тв + а (или Тв + b) от уклоноуказателя зафиксировать центр первого стрелочного перевода. Затем укладывается вся нечетная входная горловина. Через полезную длину расчетного приемо-отправочного пути для нечетных поездов переходят к выходному светофору с этого приемо-отправочного пути. От светофора откладывается расстояние до центра стрелочного перевода. При этом необходимо проверить, чтобы расстояние от полученного центра перевода до ранее уложенных центров переводов в центральной горловине было не менее величины для данной схемы стрелочного узла. Если же это условие не выполняется, необходимо сделать корректировку положения пути. Нанеся на схему все предельные столбики и светофоры, определяют положение оси пассажирского здания и наносят пассажирские устройства (рис. 2.13).
а - поперечном; б - полупродольном; в - продольном Рис.2.13. Схемы размещения пассажирского здания на промежуточной станции при расположении приемо-отправочных путей Положение пассажирского здания определяется планировкой поселка. Если это не влияет, то пассажирское здание располагается ближе к горловине с маневровой работой. После нанесения на плане станции всех пассажирских устройств проектируется грузовой двор. Если по заданию станция опорная, то схема грузового двора зависит от суточной грузопереработки станции. Рекомендуемые схемы грузовых дворов приведены в [13,24]. При планировке грузовых дворов должны быть выполнены следующие условия: возможность дальнейшего развития складов в длину и размещение новых грузовых фронтов без переустройства и сноса ранее построенных складов и устройств; расположение и ширина проездов и мест стоянки автотранспортных средств, обеспечивающие поточное и беспрепятственное следование автомобилей, их поворот и подачу к грузовым фронтам без нарушения погрузки-выгрузки у соседних складов; удаление складов и мест выгрузки сыпучих вяжущих строительных материалов (цемент, известь, алебастр), а также площадок для выгрузки других пылящих грузов (уголь, песок и др.) от складов штучных грузов, контейнерных площадок на расстояние не менее 50 м; обеспечение отвода поверхностных вод с помощью канав, ливневой канализации, лотков и труб. При укладке грузовых дворов опорных промежуточных станций расстояние между крайним приемо-отправочным путем и путем грузового двора должно быть не менее 17,1 м (5,3 + 6,5 + 5,3) с учетом возможности укладки еще двух станционных путей. Ширина крытых складов принимается 18 м. Размеры повышенного пути при суточном грузообороте до трех вагонов следующие: высота эстакады 2,5 м, длина эстакады 60 м, ширина склада 20,36 м, ориентировочная стоимость 45,2 тыс. руб. На повышенном пути предусматривается работа транспортных погрузчиков или грейферных кранов. Для переработки вяжущих строительных материалов, перевозимых в крытых вагонах, и для выгрузки грузов по прямому варианту «вагон - автомобиль» предусматривается платформа. Проезжая часть дороги для двустороннего движения автомобилей проектируется равной 7 - 8 м и одностороннего – 4 - 5 м. На грузовых дворах с любой грузопереработкой предусматриваются служебно-технические помещения: зарядная для аккумуляторных погрузчиков с гаражом - 12 х 6 м2 административно-бытовое здание (одноэтажное) – 24 х 12м2 для работников открытых складов - 6 х 6 м2 , контрольный пост размерами стрелочного поста на 3 чел.; гараж на 5 машин - 18 х 12 м; трансформаторная, вагонные и автомобильные весы.
Рис. 2.14. Схема размещения вагонных весов на весовом пути При проектировании вагонных весов должны быть выдержаны размеры, приведенные на рис. 2.14, где Т - тангенс кривой; Т = Rtgα/2 = 200·1/18 = 11м На плане станции при необходимости должен быть сделан переход с уширенного междупутья на нормальное, что позволит уменьшить объем земляных и балластировочных работ. При смещении главных путей радиусы кривых и длины прямых вставок между кривыми согласно [16] принимаются по нормам, указанным в табл. 2.7.
При смещении других станционных путей применяются радиусы кривых 600, 300, 250, 200 м. При смещении главных и приемо-отправочных путей, по которым предусматривается безостановочный пропуск поездов, следует предусматривать переходные кривые. Оба случая параллельного смещения путей показаны на рис. 2.15.
а - без переходных кривых; б - с переходными кривыми Рис. 2.15. Схемы параллельного смещения пути: Пример. Необходимо увеличить междупутье главных путей с 4,1 до 4,8 м (рис. 2.15, а). Поперечное смещение составит е1 - е2 = 4,8 - 4,1 = 0,7 м. При радиусе кривой R = 4000 м и прямой вставке d = 75 м тангенс круговой кривой Т= 13,38 м, а длина смещения L = 131,39 м. На пути II выбирают точку - начало смещения. От нее откладывают L = 131,39 и ставят знак начала кривой. От обоих тангенсных знаков откладывают Т. На полученных точках фиксируют вершины углов, которые соединяют между собой прямой. На полученной наклонной прямой также откладывают Т, ставят знаки начала кривой. Необходимо параллельно сместить II главный путь на разницу ег - е2 = 4,8 - 4,1 = 0,7 м (см. рис. 2.15, б). При радиусе 4000 м принимается прямая вставка 30 м и длина переходной кривой l = 20 м (на рисунке m- приращение тангенса круговой кривой при устройстве переходной кривой). На пути II выбирают точку А как начало смещения и откладывается L = 10 м, фиксируется начало круговой кривой. Затем от точки А откладывают L = 138,52 м и фиксируется точка В, от которой откладывается m = 10 м и обозначается начало круговой кривой. Откладывают Т = 26,29 м от обоих начал круговых кривых. В найденных точках фиксируют вершины углов поворота, которые соединяют прямой. На наклонной прямой от обеих вершин углов поворота откладывают Т. При смещении путей на станциях со скоростным движением поездов следует пользоваться табл. 16.47 [16]. Координирование точек плана станции После выполнения смещения можно приступать к координированию основных точек (центров стрелочных переводов, предельных столбиков, упоров, концов пассажирских платформ, входных и выходных сигналов, вершин углов поворота). За ось X принимается один из главных путей, который не меняет своего положения в плане (прямой). За ось Υ принимается ось пассажирского здания. Началом координат будет являться точка пересечения главного пути с осью пассажирского здания. Координата X условно принимается в любом случае со знаком (+), координата У имеет знак (+), если точка расположена выше оси X , и знак (-), если точка расположена ниже оси X . Для координирования делается сетка в верхней или нижней части листа по приведенному образцу.
Координирование начинают с выходного светофора расчетного приемо-отправочного пути. Координату выходного сигнала определяют по масштабной линейке. Чтобы определить координату точки, ограничивающей полезную длину этого расчетного пути в другой горловине, надо из заданной полезной длины пути (850, 1050, 1250 м) вычесть координату X , определяемую по масштабной линейке. Затем, пользуясь размерами по немасштабной схеме, определить X для всех остальных точек. Результаты координирования по оси X дают возможность убедиться в размещении выбранной схемы в пределах заданной длины станционной площадки. Если по координатам выбранная схема станции превышает заданную длину станционной площадки, то можно сократить длину станции, используя один из - предлагаемых способов: в горловинах запроектировать перекрестные съезды; согласно [16] диспетчерские съезды и отдельные стрелочные переводы на главных путях за пределами горловин можно проектировать на любом уклоне до руководящего включительно; вытяжные пути за пределами стрелочной горловины располагают в соответствии с профилем смежного участка главного пути [16]; уменьшить до минимально допустимых вставки между смежными стрелочными переводами. Прочие устройства Устройства водоснабжения . Для снабжения населенных пунктов . и нужд станции строится водоемное здание, расположенное на расстоянии не менее 150 м от оси пассажирского здания и 70 м от оси главного пути.
Рис.- 2.16. Сеть водоснабжения От водоемного здания отводится водоразводящая сеть. Вода должна быть подведена к пассажирскому зданию, блоку вспомогательных помещений, поселку и на грузовой двор. При прокладке водоразводящей сети железнодорожные пути пересекаются под прямым углом. Запрещается проводить трубы под зданиями и стрелочными переводами. На линиях водоразводящей сети стрелками показывают направление течения воды (рис. 2.16). Полоса отвода предусматривается для размещения различных сооружений, станций, защитных устройств и лесонасаждений, служебных и технических зданий. На станциях ширина полосы отвода назначается в соответствии с проектом их развития в перспективе. В любом случае расстояние от оси крайнего пути раздельного пункта до границы полосы отвода принимают не менее 10 м. К служебным помещениям относятся стрелочные посты на станциях, не оборудованных централизацией стрелок, и посты централизации. На станциях с централизацией стрелок вместо стрелочных постов устраиваются помещения для чистильщиков стрелок. Они размещаются не ближе 3,1 м от оси ближайшего пути с правой стороны по ходу прибывающих поездов. Пост централизации располагается в пассажирском здании. Устройства электрификации. На электрифицированных железных дорогах на промежуточных станциях электрифицируются: приемо-отправочные пути; все съезды, по которым предусматривается пропуск поездов с электровозами, а также все съезды между электрифицируемыми путями; маневровые вытяжки. Если на промежуточной станции вся маневровая работа по подаче вагонов к местам погрузки-выгрузки и уборке выполняется локомотивом сборного поезда, то контактной сетью оборудуются все пути, по которым предусматриваются эти маневры (кроме погрузочно-выгрузочных путей, на которых предусматривается работа грузовых механизмов). На тех станциях, где маневровая работа по обслуживанию погрузочно-выгрузочных путей выполняется приписным или диспетчерским маневровым локомотивом (тепловозом), электрифицируются только вытяжные пути и головные участки тех путей, на которых вагоны, отцепляемые от сборного поезда, отставляются поездным локомотивом и с которых последний забирает группы, подготовленные маневровым локомотивом. При расстановке опор контактной сети в пределах станции необходимо учитывать ее дальнейшее развитие. Опоры контактной сети устанавливают на расстоянии 40 - 72 м.
Рис 2.17 Пример размещения опор контактной сети в горловине станции Ведомость стрелочных переводов Расстояние от оси крайнего пути до опоры принимают 3,1 м. Места установки устройств, фиксирующих воздушную стрелку: Марка крестовин переводов 1/22 1/18 1/11 1/9 Пример расположения стрелочных переводов и опор контактной сети в горловине станции показан на рис. 7217. 2.8. Оформление масштабной схемы При обводке главные пути следует выделить более толстой линией. На плане станции приводится ведомость путей. Ведомость путей представлена в таблице 2.? Таблица 2.? Ведомость железнодорожных путей
Ведомость стрелочных переводов
Примечание. В графе «Сторонность» указывается сторонность стрелки в зависимости от направления отклонения железнодорожного пути (правый или левый стрелочный перевод); в графе «Тип стрелочного перевода» - наименование стрелочного перевода, например обыкновенный, симметричный. В курсовом проекте определяют полную, строительную и полезную длины путей. Полная длина путей определяется между центрами стрелочных переводов, ведущих на этот путь, в том и другом конце. Переводом, ведущим на данный путь в одном конце станции, считается тот, на котором данный путь впервые искривляется, если идти от середины пути. Пример определения полной и полезной длин путей приведен в приложении 6. В случае когда один путь является продолжением другого, граница их полных длин должна быть общей (одной точкой). Полная длина съездов и соединений, не вошедших в полную длину других путей, рассчитывается отдельно. Строительная длина пути определяется вычитанием из полной его длины суммарной протяженности стрелочных переводов, лежащих в пределах полной длины пути. На рис. 7.18, а показан пример определения полной длины путей. Чтобы определить строительную длину второго пути, надо из L2 вычесть b для перевода 4 и b для перевода 3 (b - расстояние между центром стрелочного перевода и торцом крестовины). Строительная длина третьего пути будет определена вычитанием из L3 полной длины (а + b) двух стрелочных переводов 3 и 4 и 2 b стрелочных переводов 1 и 2. Чтобы определить строительную длину второго пути, надо из L3 вычесть b перевода 4, полную длину (а + b) перевода 5 и а перевода 3 (рис. 7.18, б).
L2 ,L3 – соответственно полная длина второго и третьего пути Рис. 2.18 Пример определения полной длины пути Строительная длина третьего пути будет определена вычитанием из L размера а перевода 6 и размера b перевода 5. Строительная длина четвертого пути определяется путем вычитания из L4 размера b перевода 6.
Чтобы определить строительную длину пятого пути, надо из L5 вычесть b перевода 3. Строительная длина съезда 1 - 3 будет определена, как разность из L1-3 размеров Ъ для перевода l и перевода 3. Строительная длина соединения 2 - 4 - 6 определяется вычитанием из L2-4-6 размеров b перевода 2 и перевода 6 полной длины (а + b) перевода 4. 3 Организация работы станции В этом разделе пояснительной записки для всех тем курсового проектирования следует описать работу станции по организации приема, отправления и безостановочного проследования пассажирских и грузовых поездов, с указанием номеров стрелочных переводов, входящих в маршрут. При описании организации обгона и скрещения поездов следует обратить внимание на возможность организации безостановочного скрещения поездов на данной станции. Следует описать развязку маршрутов в горловинах станции, перечислить параллельные операции. При описании организации работы со сборными поездами указать конкретно, каким локомотивом выполняется маневровая работа со сборными поездами, и описать эту работу. Если к станции примыкают подъездные пути с большой работой, следует: описать порядок подачи и уборки вагонов на подъездной путь; выполнение приемосдаточных операций на выделенных для этого путях; указать, каким локомотивом обслуживаются подъездные пути. Если станция по заданию опорная, то следует описать, как доставляются грузы с соседних станций, механизацию погрузочно-выгрузочных работ. При описании работы станции можно пользоваться [4]. 7.10. Продольным и поперечный профили земляного полотна К пояснительной записке должны быть приложены продольный, поперечный профили и ведомость подсчета объема земляных работ. Продольный профиль главного пути вычерчивается на миллиметровой бумаге (высота 30 см, длина зависит от протяженности станции и подходов). Профиль составляется по оси главного пути, принятого за ось X , в пределах станционной площадки и заданных подходов к ней. Продольный профиль станции Н показан на рис. 7.19. Заполнение сетки продольного профиля следует начинать с расстановки пикетов и километров с масштабного плана станции. Затем заполняется графа «Отметки земли» для каждого пикета. Отметки земли определяют с использованием горизонталей (рис. 7.20). 1. Через пикет (ПК1) проводится перпендикуляр АБ между соседними горизонталями 20 и 21. измеряется его длина l (мм). 2. Измеряют по перпендикуляру расстояние l1 (мм) до одной из горизонталей. 3 Определяют разницу в отметках горизонталей h (здесь h = 1м). 4.Составляют пропорцию:
где Х - превышение (или понижение) данной точки над выбранной горизонталью (20 м). 5. К отметке горизонтали прибавляют (или вычитают) X . Это и будет отметка земли в данной точке (ПК1). Пример. Определить отметку земли: l = 35 мм, l1 = 18 мм, h = 1 м. X будет с превышением. Тогда отметка земли на ПК1 hпк1 = 20,00 + 0,51=20,51 м. Затем заполняют графу «Проектные уклоны». В ней сначала определяют положение уклоноуказателей и согласно им вычерчивают профиль. В графе «Отметки бровки земляного полотна» проставляют отметку с первого уклоноуказателя. Все остальные отметки зависят от проектного уклона и от отметки первого уклоноуказателя. Чтобы узнать разницу проектных отметок для соседних пикетов, составляют пропорцию. Например, если подъем 1,2 °/00 , то
Следовательно, разница проектных отметок между двумя пикетами составляет 0,12 м. В графе «Развернутый план пути» наносят путевое развитие станции, положение оси пассажирского здания, положение переезда, искусственных сооружений и т. д. Границы станции должны точно выдерживаться по пикетам. Для удобства вычерчивания продольного профиля вводится условный «нуль отсчета». Чтобы выбрать отметку условного «нуля отсчета», сравнивают между собой отметки земли и проектные отметки бровки земляного полотна. Выбирают наименьшую из них, вычитают 2 - 3 м, это и будет отметка условного «нуля отсчета». Для удобства расчетов это число округляют до целого. На рис. 7.19 отметка условного «нуля отсчета» принята 10 м. Чтобы построить линию земли, из отметок земли по каждому пикету вычитают отметку условного «нуля отсчета». Полученное число в сантиметрах делят на 2, так как М 1 : 200, и откладывают от самой верхней горизонтальной линии сетки профиля. Соединяют полученные соседние точки между собой прямыми. Аналогично строят линию продольного профиля земляного полотна. Затем находят разности между отметками земли (черными) и проектными отметками (красными). Это будут рабочие отметки. Они указывают высоту насыпей (цифры над линией профиля) и глубину выемок (цифры под линией профиля). На линии профиля отмечают оси переездов, раздельного пункта и искусственных сооружений. Проектная линия, линии ординат от точек перелома проектной линии прямые и кривые в плане, развернутый план пути выполняют сплошной или толстой основной линией.
Рис. 7.20. Схема для определения отметок земли При спокойном рельефе местности расчеты можно сократить, определять площади поперечного сечения не на каждом пикете, а лишь в тех сечениях, где изменяется сумма междупутий (ширина земляного полотна), при этом сечения, как правило, не совпадают с пикетами. прямые и кривые в плане, развернутый план пути выполняют сплошной толстой основной линией. Для определения объема земляных работ рекомендуется заполнить Ведомость подсчета объема земляных работ (табл. 7.8) на основании масштабного плана станции и продольного профиля.
В графу «Пикеты и плюсы» заносят все пикеты станционной площадки и те точки, где рабочие отметки равны нулю. Табл. 7.8 начинается с ПК
4, так как на предыдущих пикетах станционных путей нет. В графу «Рабочая отметка» переносят все отметки с продольного профиля со знаком (+) на сыпи, со знаком (-) выемки: ±hр
. В графе «Сумма междупутий» (Σl – lгл ) учитываются все междупутья. На двухпутных линиях не учитывается междупутье главных путей (так как земляные работы по главным путям учитываются в проекте строительства линии). Затем определяют площадь сечения: w = hр · (Σl – lгл ). При определении средних площадей сечения wср = (w1 + w2 )/2 следует обратить внимание на то, что г о р и з о н т а л ь н ые строки смещаются. Расстояние l определяют как разность, получаемую вычитанием из номера последующего пикета номера предыдущего пикета или суммированием. Объем земляных работ V(м3 ) получают умножением средней площади сечения поперечника wср на расстояние l. Подсчитав объем насыпей и выемок, складывают их и получают общий объем земляных работ. Поперечный профиль земляного полотна разрабатывается для одного или нескольких сечений, указанных преподавателем. Поперечный профиль вычерчивают на миллиметровой бумаге в масштабе 1 : 200. Высота листа бумаги 30 см, длина зависит от числа путей, входящих в это сечение, и от ширины междупутий. Кроме того, в эту длину входят водоотводы. Точки, ограничивающие поперечное сечение, рекомендуется предусматривать на расстоянии не менее 15 м от осей крайних путей Образец выполнения поперечного профиля для ПК 1172 показан на рис. 7.21.
Рис. 7.21 Поперечный профиль пикета Поперечный профиль вычерчен применительно к станции, план которой приведен на рис. 7.22.
Рис. 7.22 План промежуточной станции Н
30 30
Поперечные профили земляного полотна устраиваются одно- и двускатные Односкатные применяются в основном для промежуточных станций однопутных линий с небольшим числом путей, если главный путь укладывается на песчаном балласте и нет промежуточной платформы При двускатном профиле уклон поверхности делается в обе стороны от оси междупутья главных путей, а на однопутных линиях - от оси междупутья главного и предполагаемого второго пути. Уклон поверхности односкатных поперечников направлен от пассажирского здания в полевую сторону. Расстояние от оси крайних станционных путей до бровки земляного полотна должно быть не менее половины ширины земляного полотна на прямых участках пути однопутных линий (табл. 7.9). Для вытяжных путей расстояние до бровки земляного полотна берется не менее 3,25 м для линий всех категорий. Уклон верха земляного полотна может быть выбран в пределах 0,01- 0,02. Порядок построения поперечного профиля следующий. На миллиметровой бумаге вычерчивают сетку, см. стр. 263. При выполнении поперечного профиля направление взгляда принимается в сторону возрастания километров. Наносят оси и номера путей, междупутные расстояния. От осей крайних путей в обе стороны откладывают по половине расстояния, указанного в табл. 7.9, - бровки земляного полотна. На рис. 7.21 от оси пути 9 отложено 3,25 м, так как путь 9 вытяжной. Затем определяют отметки земли аналогично продольному профилю. Выбирают условный «нуль отсчета» и строят линию земли. Затем междупутье между I и II путями делят пополам и получают ось междупутья - вершину сливной призмы. Чтобы определить проектную отметку вершины сливной призмы, необходимо из продольного профиля выбрать проектную отметку бровки земляного полотна в заданном сечении. Проектная отметка вершины сливной призмы будет определена как проектная отметка из продольного профиля плюс 0,15 м (для однопутных линий) или плюс 0,20 м (для двухпутных). На рис. 7.19 проектная отметка I пути продольного профиля 15,82 м. Проектная отметка вершины сливной призмы будет 15,82 + 0,20 = 16,02 м. Так как профиль двускатный и тип поперечного профиля - выемка, то принят уклон земляного полотна 0,02. Определяют проектные отметки для всех путей. Для этого составляют пропорцию: 1000 : 2,65 = 20 : X, Х= 0,053 м. Следовательно, проектные отметки осей I и II путей будут меньше отметки вершины сливной призмы на 0,053 м и составят 15,96 м. Таким же образом определяют отметки остальных путей. Затем вычерчивают линию земляного полотна до его бровок. Если строится поперечный профиль выемки, то с двух сторон вычерчивают кюветы глубиной 0,6 м с крутизной откосов 1: 1,5. Если строится поперечный профиль насыпи, то с обеих сторон от ее бровок делают откосы 1 : 1,5, а затем откладывают по 3 м для бермы. Продолжение рис. 7.22 Если участок однопутный, то со стороны укладки будущего второго пути берма увеличивается на 4,1 м. Затем вычерчивают резерв крутизной откоса 1 : 1,5. В некоторых вариантах может получиться профиль полунасыпи - полувыемки. После вычерчивания поперечного профиля делают привязку главного пути, принятого за ось X , к пикету. Согласно [16] на осях путей должны быть указаны отметки поверхности головки рельса (ПГР). Можно определять отметку ПГР только для главного пути, принятого за ось X . Это выполняют следующим образом. Если главные пути уложены на щебеночном или асбестовом балласте, толщина которого приведена в табл. 7.10, то над линией земляного полотна под главными путями укладывают песчаную подушку высотой 20 см. На рис. 7.21 показан образец поперечного профиля для линии II категории, главные пути на железобетонных шпалах. Поэтому толщина щебеночного балласта под главными путями hб = 30 см, а толщина песчаной подушки равна 20 см. На щебеночный балласт укладывают шпалы. Высоту шпалы можно принимать: деревянной - 0,12 м, железобетонной - 0,19 м. Высота рельсов принимается: для Р65 h = 0,18 м, а для Р50 h = 0,152 м. Определим ПГР. Для этого нужно прибавить к проектной отметке земляного полотна для I пути толщину балластного слоя, шпалы, подкладки и высоту рельса. Например, ПГР1 = 15,96 + (0,20 + 0,30) + 0,19 + 0,01 + 0,18 = 16,84 м. Полученную отметку ПГР записывают по оси I пути. При обводке поперечного профиля проектные контуры и линии ординат от точек перелома проектных контуров выполняют сплошной толстой основной линией. 7.11. Расчет строительной стоимости станции Стоимость сооружения станции принимается по укрупненным измерителям (приложение 4). Для определения строительной стоимости станции составляют ведомость, в которую заносят объемы земляных работ. Объемы по остальным наименованиям работ принимают по ведомостям путей, стрелочных переводов, зданий и сооружений и по самому плану станции. При подсчете стоимости укладки станционных путей берется строительная длина по каждому пути и типу рельсов без учета главных путей. При подсчете стоимости электрической централизации из таблицы стрелочных переводов выбирают стрелки, включенные в ЭЦ. Число упоров принимают по плану станции. Площадь пассажирских платформ определяют умножением ширины платформы на ее длину. Размеры грузовых устройств определяют по заданию. Протяженность автодорог, лотков, пешеходных мостов, заборов, водопроводных труб измеряется масштабной линейкой на плане станции. 4 . Обеспечение безопасности движения. Охрана труда на станции В пояснительной записке следует описать мероприятия по охране труда работников станции и обеспечению безопасности движения поездов (принятые габаритные расстояния от оси пути до зданий и сооружений, оборудование переездов шлагбаумами и сигнализацией, взаимное замыкание стрелок и сигналов, электрическое освещение устройств с указанием норм освещенности отдельных объектов, маршруты следования работников на работу, техника безопасности на электрифицированных линиях). Заключение Обобщающий вывод об успешности решения основных вопросов задания, соответствие проекта требованиям Инструкции (ВСН 56-78), СНиП, постановлениям партии и правительства по железнодорожному транспорту.
Таблица 2 Расстояние lпр от центра стрелочного перевода до предельного столбика (м) для путей, не оборудованных электрическими рельсовыми цепями
Таблица 2 Расстояние lпр от центра стрелочного перевода до светофора на железобетонной или металлической опоре
Основные размеры обыкновенных стрелочных переводов
* Стрелочный перевод для скоростного движения до 160 км/ч. ** Крестовина с подвижными элементами. Расстояние Х (м) между центрами смежных стрелочных переводов Таблица 1 При встречной укладке
|
|||||||||||||||||||||||||||||||||||||||||||||||||||||||||||||||||||||||||||||||||||||||||||||||||||||||||||||||||||||||||||||||||||||||||||||||||||||||||||||||||||||||||||||||||||||||||||||||||||||||||||||||||||||||||||||||||||||||||||||||||||||||||||||||||||||||||||||||||||||||||||||||||||||||||||||||||||||||||||||||||||||||||||||||||||||||||||||||||||||||||||||||||||||||||||||||||||||||||||||||||||||||||||||||||||||||||||||||||||||||||||||||||||||||||||||||||||||||||||||||||||||||||||||||||||||||||||||||||||||||||||||||||||||||||||||||||||||||||||||||||||||||||||||||||||||||||||||||||||||||||||||||||||||||||||||||||||||||||||||||||||||||||||||||||||||||||||||||||||||||||||||||||||||||||||||||||||||||||||||||||||||||||||||||||||||||||||||||||||||||||||||||||||||||||||||||||||||||||||||||||||||||||||||||||||||||||||||||||||||||||||||||||||||||||||||||||||||||||||||||||||||||||||||||||||||||||||||||||||||||||||||||||||||||||||||||||||||||||||||||||||||||||||||||||||||||||||||||||||||||

а
б




















Типовой проект железобетонных опор с жесткими поперечинами предусматривает перекрытие до восьми путей.







Продолжение рис. 7.22


