Реферат: Курс лекций по Обшей Экологии
|
Название: Курс лекций по Обшей Экологии Раздел: Рефераты по государству и праву Тип: реферат | ||||||||||||||||||||||||||||||||||||
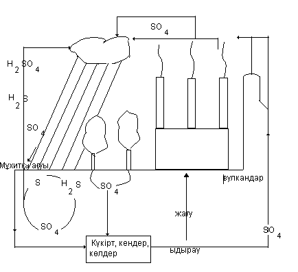
ДӘРІС № 5 Тақырып: Синэкология-қауымдастық экологиясы . Жоспары: 1. Синэкологияның зерттеу обьектілеріне жалпы сипаттама: а) Биоценоз ә) Биогеоценоз б) Экожүйе 2. Экожүйедегі энергия және заттар айналымы. 3. Экологиялық пирамида және оның типтері. 4. Экожүйенің тұрақтылығы мен динамикасы. 5. Экологиялық сукцессиялар. Синэкология организмдердің тіршілік жағдайларын , өзара және қоршаған ортамен өзара қарым-қатынасын зерттейді. Синэкология экожүйелердің шекараларын салумен айналысады, сондықтан оны биогеноценологиялық экология деп те атайды. Табиғатта әртүрлі популяциялар бірігіп ірі бірлестіктерді немесе қауымдастықтарды құрайды. Синэкологиядағы «син» деген сөздің өзі «бірге», яғни бірлесіп, қауымдасып тіршілік ету деген мағынаны білдіреді. Қауымдастық дегеніміз белгілі ареалда мекендейтін , әртүрлі түрлерден құралған, тірі организмдер жиынтығы. Биоценоз (bios-өмір, koinos-жалпы) – табиғи жағдайлары бірегей жерлерде тіршілік ететін өсімдіктер, жануарлар және микроорганизмдер жиынтығынан тұрады. Биоценоз ұғымын алғаш рет ұсынған неміс зоологы К.Мебиус (1877). Кез келген биоценоз өзімен-өзі жеке дамымайды. Ол әрқашанда өлі табиғатпен бірлестікте ғана өмір сүреді. Қауымдастық дегеніміз әртүрлі биоценоздардың - фитоценоздардың, зооценоздардың, микробоценоздардың, микоценоздардың өзарабайланыстарының жиынтығы. Экологияның негізгі ұғымына «экожүйе» жатады. Бұл терминді енгізген 1935 ж. А.Тенсли. Экожүйе дегеніміз тірі тіршілік иелері мен олардың мекен ету орталарынан тұратын, біртұтас функционалды біріккен табиғи жүйе. Экожүйенің құрылымы: Экожүйе = биоценоз + биотопЭкожүйенің негізгі қасиеттері: зат айналымына қатысу қабілеттілігі; сыртқы әсерлерге қарсы тұруы; биологиялық көбеюі. Экожүйенің деңгейлері: микроэкожүйе- кішкене су қоймасы, жануарлар өлексесі олардың тіршілік ететін әртүрлі ағзаларымен бірге, аквариум, жайылым , су тамшысы мезоэкожүйе- орман, өзен, тоған, т.б. макроэкожүйе- мұхит, континент, табиғи зона, т.б. глобальдық экожүйе- биосфера Экожүйеге мағынасы жақын терминге «биогеоценоз» жатады. Бұл терминді 1942ж. академик В.Н.Сукачев енгізген. Биогеоценоз екі блоктан тұрады: «биоценоз»- организмдердің әртүрлі түрлерінің өзарабайланысы(популяция); «биотоп» немесе «экотоп»- мекен ету ортасы. Экологияда жиі «бірлестік» терминін пайдаланады. Сонымен, биогеоценоз- тірі ағзалар мен олардың мекен ететін физикалық ортасымен бірге қауымдасқан жүйе. «био»-тірі ағзалар, «гео»- өлі табиғат (арнайы географиялық орта) Табиғатта бейорганикалық химиялық элементтер айналымынан басқа да, биогендік химиялық элементтер миграциясы немесе биогеохимиялық айналым жүзеге асырылады. Экожүйе мен биогеоценоз- тірі ағзалардың және ортаның жиынтығы. Биогеоценоз- тірі ағзалар мен ортаның кездейсоқ жиынтығы емес, ерекше келісілген , динамикалық , өзарабайланысы, тұрақты, теңестірілген жүйе. Ол ұзақ уақыттың адаптация нәтижесі. Биогеоценозды анықтаушы- фитоценоздар. Агробиогеоценоз- жасанды фитоценоз негізінде жасалады. Биогеоценозда барлық тірі иелер қоректену тізбегіне біріктірілген. Өзара қосылу және айырылу нәтижесінде белгілі буындардан күрделі трофикалық тор құрылады. Құрлықтағы қоректену тізбегі қысқа(3-4 буыннан тұрады). Мыс: ағаш- құрт- құс-жыртқыш құс. Су ортасында қоректену тізбегі едәуір ұзын: фитопланктон-зоопланктон- майда балықтар- жыртқыш балықтар- человек. Қоректену тізбегінің бірнеше деңгейі болады: I-трофикалық деңгей- автотрофты ағзалар-продуценттер II- шөпқоректі жануарлар (фитофагтар) – консументтер I-қатардағы III- трофикалық деңгей- жыртқыш жануарлар немесе зоофагтар- консументтер II-қатардағы. IV- ірі жыртқыштар. V-өлі организмдердегі заттарды және қалдықтарды тұтынушылар (деструкторлар, редуценты)- сапрофаг, сапрофиттер,детриттер . Тізбектегі I-IV дейінгілер–> жеу тізбегі; соңғы – детриттік тізбек Биоценозда әртүрлі түрлер арасында белгілі бір қарым-қатынастар қалыптасады. 1) Жыртқыш-жемтік - биологиялық қарым-қатынас. Жыртқыш пен жемтік үшін әрқайсысына тән әртүрлі экологиялық адаптациялары бар. Симбиоз- ұзақ , өзара тиімді байланыстар. Бұршақ тұқымдастарының тамырындағы түйнек бактериялар, саңырауқұлақтар микоризасы, теңіз жануарларының жарық беретін фотобактериялары, т.б. Комменсализм- біреуі басқасына мекен- жаймен тамақ береді, бірақ ешқандай тиімді емес: мысалы, медуза қоңырауы астындағы ставрида шабақтары, қи қоңыздары денесіндегі кенелер. Бәсекелестік – бір немесе бірнеше түрге жататын организмдердің өзара қорек, мекені, т.б. ресурстардың жетіспеушілік жағдайындағы қарым-қатынастардың көрінісі. Паразитизм – бір түр өкілінің екінші бір түр өкілін қорек немесе тіршілік ортасы ретінде пайдалану арқылы тірішілік ету. Мутуализм - әр түрге жататын организмдер бір-біріне қолайлы жағдай туғыза отырып селбесіп тіршілік ету. Амменсализм- организмдерге теріс ықпалын тигізу арқылы қарым-қатынс жасаудың тағы бір түрі. Биоценоздағы организмдер арасында тұрақты қоректік байланыстар қалыптасқан. Осы қатынастар белгілі бір организмдердің тобын біріктіріп отырады. Ол қоректік тізбектер бірнеше құрамдас бөлімтерден тұруы мүмкін. Ол үш бөлімнен тұрады. Біріншісі – продуценттер немесе өндірушілер. Мұнда автотрофты жасыл өсімдіктер органикалық заттар түзіп, алғашқы биологиялық өнімділікті түзеді және күн энергиясын жұмсайды. Екіншісі – консументтер немесе тұтынушылар, бұған жануарлар жатады. Консументтер екіге бөлінеді: өсімдік қоректі жануарлар (фитофагтар) және жыртқыштар (зоофагтар). Үшіншісі – редуценттер немесе қайта қалпына келтірушілер. Оларға микроорганизмдер жатады. Олардың ролі ерекше. Яғни, редуценттер заттарды ыдыратып, қайта қалпына келтіріп, зат айналымын жалғастырып отырады. Әрбір қоректік тізбектің қатарында белгілі бір трофикалық деңгей қалыптасады. Ол өзінен өтетін зат және энергия ағымының активтілігімен сипатталады. Экожүйенің өнімділігі – трофикалық деңгейдегі көп мөлшері тыныс алуға кетеді, ал қалғаны энергия мен биомассаның өсуін анықтайды. Зат және энергия ағымы. В.И. Вернадскийдің биосферадағы тіршіліктің тұрақты дамуы ондағы тірі заттардың (биогенді) табиғаттағы үздіксіз айналымы жемісінің нәтежесі екенін айтқан болатын . Өйткені, тірі заттардың элеметтері қоршаған табиғи ортаға түсіп, одан соң тірі организмдер арқылы қайтадан айналымға ауысатыны белгілі.Осылайша әрбір элемент тірі организмдерді әлденеше рет пайдаланып отырады. Соның нәтижесінде жер бетінде тіршіліктің дамуы үнемі даму үстінде жүзеге асып, биоценоздағы биогенді айналымынды жүзеге асырады.Бірақ та, заттардың биогенді айналымын абсолютті тұрғыда деп түсінбеу керек. Себебі, айналымдағы заттар бір трофикалық деңгейден екіншісіне өткен кезде әлсін-әлсін зат айналымына түсіп үздіксіз қайталанып отырады. Нәтежесінде жер шарында органикалық заттардың қоры (торф,көмір,мұнай,газ,жаңғыш сланц) жинақталады. Бұл қорлар да өз кезегінде жұмсалып, қайтадан айналымға түсіп ,зат а йналымының үздіксіз (шексіз) процесін жалғастырып жатады. Биогенді айналымның негізгі көзі жер бетінде жасыл өсімдіктердің пайда болып, фотосинтез құбылысы басталғаннан бастау алады. Мәселен, атмосферадағы барлық оттегі тірі организмдер арқылы (тыныс алу т.б.) 2000, көмір қышқыл газы 300, ал су 2 000 000 жылда бір рет өтіп отыратыны дәлелденген. Жоғарыдағы әлемдік биологиялық айналым үшін энергия ауадай қажет. Оның негізгі көзі – автотрофты (жасыл өсімдіктер ) организмдер сіңіретін күн радиациясы. Күн энергиясы биоценозда үнемі әрекет етеді. Күн энергиясының , зат айналымының ерекшелігі сол, ол үнемі жұмсалып отырады. Ал, зат айналымы тек бір деңгейден екінші деңгейге ауысып отаратыны белгілі. Мысалы, күн энергиясының 30 % атмосферада сейілсе, 20 % атмосфера қабатында сіңіріледі де, ал 50 % құрылық және мұхиттар бетіне жылу ретінде сіңіріледі. Тек қана күн энергиясының 0,1-0,2 % ғана биосфера шегіндегі жасыл өсімдіктер үлесіне тиіп, әлемдік зат айналымын қамтамасыз етіп отырады. Оның жартысы фотосинтез процесі кезінде өсімдіктердің тыныс алуына жұмсалып, ал қалған бөлігі қоректік тізбектің желісін түседі. Биоценоздағы қоректік тізбектегі қоректің (азық) барлығы бірдей организмнің өсуіне немесе биомассаның жинақталуына жұмсалмайды. Оның біразы организмнің энергия қуатына: тыныс алу, қозғалу, көбею, дене температурасын ұстап тұруға жұмсалады. Сондықтан бір тізбектің биомассасы екнішісіне дейін толық өңделмейді. Егер ондай болған жағдайда табиғатта қор ресурсы таусылған болар еді. Осыған байланысты әрбір келесі қоректік тізбекке өткен сайын азықтың биомассасы азайып отырады. Нәтижесінде , бір трофикалық деңгейден екіншісіне өткен сайын биомасса, сандық құрамы және энергия қоры азайып отыратыны анықталған. Бұл заңдылықты кезінде эколог Ч.Элтон зерттеп өзінің есімімен «Элтон пирамидасы» деп атаған. Экологиялық пирамиданың негізгі 3 типі бар: Саны бойынша- сандық пирамида организмдердің жеке сандық көрсеткішін айқындайды. Салмағы бойынша – биомасса пирамидасы- жалпы құрғақ салмақты немесе «өнімділікті» анықтайды. Энергия мөлшері бойынша – энергия пирамидасы - энергия ағымының қуатын немесе жылу энергиясын анықтайды. Төменгі деңгейден жоғары деңгейге дейін белгілі заңдылықпен азаяды, оны “пирамида ережесі» деп атайды. Экологиялық пирамидалар ережесі Егер энергияны, өндірілген өнімдерді, биомасса немесе организмдер санын әрбір трофикалық деңгейде үшбұрыш масштабында бейнелесек, онда олардың орналасуында пирамида түріне ие болады. Энергияның пирамида ережесі: энергия саны организмде болатын әрбір келесі трофикалық деңгейде келесісіне қарағанда мәні аз болып келеді. Экожүйе тұрақтылығы мен динамикасы. Биоценоздардағы организмдер тобының тәулік, жылдық, маусымдық белсенділігі біркелкі емес. Кейбір организмдер түнде автивті келсе, кейбіреулері керісінше болып келеді. Сондықтан биоценоз құрамындағы түрлер сан дәне сап жағынан да үнемі ауытқып отырады. Бұл жағдайда негізінен жер шарының климаттық белдеулері мен табиғат аймақтарына да көп байланысты. Экологиялық сукцессия. Автогенді өзгерістерді экожүйенің дамуы немесе экологиялық сукцессия деп атайды. Экологиялық сукцессияға анықтама берген кезде мынандай 3 жағдай ескерілуі тиіс: 1). Сукцессия қауымдастықтың, яғни экожүйенің биотикалық компонентінің ықпалымен жүреді. Өз кезегінде қауымдастық сукцессияның сипаты мен жылдамдығын анықтап, даму шектерін межелейтін физикалық ортаның өзгерістерін туындатады. 2). Сукцессия дегеніміз қауымдастықтың түрлік құрамының және оның ішінде өтіп жатқанда процестердің өзгеруіне байланысты жүретін экожүйенің реттелген дамуы. Сукцессия белгілі бір бағытта жүреді, демек оны болжауға болады. 3). Сукцессияның шарықтау шегі (кульминациясы)-энергия ағымы бірлігіне шыққанда максималды саны келетін биомасса түр аралық әсерлесулердің тепе-тең күйдегі экожүйенің қалыптасуы боп табылады. Өзгерістердің жүру жылдамдылығы мен тепе-тең күйге жету үшін қажет уақыт әртүрлі экожүйелер және экожүйенің жекелеген белгілері үшін әртүрлі болады. Жалпы биомассаның өзгеру қисық сызығының пішіні әдетте дөңес болса, жалпы бастапқы өнімнің өзгеруі қисық сызығы ойық болады. Орман экожүйесіндегі де лабораториялық микрокосм жағдайында да бастапқы таза өнім қауымдастықтың дамуын алғашқы кезеңдерінде өскенімен, соңғы кезеңдерде кемиді. Негізгі әдебиеттер : Бейсенова Ә.Б. Экология және табиғатты тиімді пайдалану. Оқу құралы. Алматы, 2004. Сағымбаев Ғ.Қ. Экология негіздері. Оқу құралы. Алматы, 1995. Оспанова Г., Бозшатаева. Экология. Оқу құралы. Алматы, 2000. Бродский А.К. Жалпы экологияның қысқаша курсы. Оқу құралы. Алматы,«Ғылым», 1997, қаз.ауд. Көшкімбаев Қ.С. Мәмбетқазиев Е., Сыбанбеков Қ. Табиғат қорғау. Оқу құралы. Алматы, «Қайнар», 1990. Жамалбеков Е.Ү., Білдебаева Р.М. Жалпы топырақтану және топырақ географиясы мен экологиясы. Алматы, «қазақ университеті», 2000. Фурсов В.И. Экологические проблемы окружающей среды. Алма-Ата, «Ана тілі», 1991. Байтулин И.О. Экология Казахстана. Алматы, 2003. ДӘРІС № 4 Тақырып: Демэкология-популяциялық экология. Жоспары: 1. Популяция туралы жалпы мағлұмат. 2. Популяцияның құрылымы мен түрлері. 3. Популяцияның статистикалық және динамикалық сипаттамалары. 4. Популяциялық гомеостаз – популяцияның санын реттеу. 5.Өткендегі, қазіргі және болашақтағы демографиялық жағдайлар. 1. Популяциялық тіршілік деңгейі. Егер экожүйе биосфераның элементтері болса, популяция табиғатта жеке түрінде кездеспейді. Популяция дегеніміз белгілі ареалда ұзақ мекендейтін, өзара еркін будандаса алатын, информация бере алатын, бір түрге жататын особьтар тобы. Популяция деңгейінде негізгі адаптациялар, табиғи сұрыпталу және эволюциялық процестер жүреді. Популяцияның көп түрлілігі, оның ортаны меңгеру, икемделу қабілеттілігін арттырады, тіршілік үшін күресу мүмкіншілігін арттырады. Әртүрлі түрлердің популяциясы үшін особьтар санының азаю шегі болады. Особь кіші болған сайын олардың саны көп болады. Популяция құрылымы особьтар саны ареалы жастық жыныстық туылымы құрамы құрамы өсу темпі тығыздығы Популяцияның сипаттамасы: Жыныстық сипаты бойынша; Жас ерекшелік-әр-түрлі жастағы особьтар қатынасы бойынша; Территориялық таралуы бойынша; Этологиялық сипаты бойынша; Популяцияның түрлері: Қалыпты популяцияда - барлық жастағылар тең болуы қажет. Егер популяцияда кәрі особьтар көп болса, онда олар көбеюі функциясын бұзады. Мұндай популяциялар регрессивтік популяция немесе өліп бара жатқан популяция деп аталады. Популяцияда жас особьтар көп болса жаңартатын немесе инвазивтік деп аталады. Популяцияның өмір жастары қорқыныш туғызбайды, бірақ особьтардың саны өте көп болып кетуі мүмкін, себебі мұндай популяцияда трофикалық байланыстар қалыптаспаған. Өнімдерді алу саны және оның алу тәсілі популяцияның биологиялық ерекшеліктеріне байланысты ойластырылады. Мысалы: жануарларды топ болып өмір сүретін, алуға болатын шегіне дейін алуға болады, одан көп алса, тіршілік процесінің оптимизациясын жоғалтады. 2) Популяцияның маңызды қасиетінің біріне оның динамикасы жатады. Ол особьтар санының ауытқуы жағымсыз салдарды туғызады. Соған байланысты популяцияның адаптациялық механиздері пайда болады. Әр-бір популяцияға биотикалық потенциял тән-ұрпақты көп қалдыру. Әдетте, неғұрлым биотикалық потенциал жоғары болса, соғұрлым ағзалардың ұйымдасу деңгейі төмен болады. Мысалы, ашытқы саңырау құлақ . Популяция динамикасының екі түрі бар: Особьтар санының тығыздығына байланысты биотикалық факторларға тәуелді. Бұл жағдайда особьтар санының өсуі түрі J-түрі тәрізді қисықпен жүреді: Мұндай өсу түрі экспоненциалдық деп аталады. Бұл адамдар популяциясына тән. Ол ең біріншіден , балалардың өлімінің төмендеуіне байланысты. Популяциядағы особьтардың өсу санын биотикалық факторлар реттеп отарады. Оны популяцияның реттеуші факторы деп аталады. Особьтар санының тығыздығына байланысты емес түрі-особьтар саны жоғарғы өлім-жітіммен сипатталады. Бұл жағдайда особьтар санының өсуі S-тәрізді қисықпен сипатталады: мұндай қисықты логистикалық деп аталады. Логистикалық өсу қисығына обиотикалық факторлар әсер етеді( ауа-райы құбылыстары, тамақтың бар-жоқтығы әр-түрлі катастрофалар т. б.). Осындай фактор популяцияның уақытша шексіз өсуіне, сондай-ақ 0-ге дейін төмендеуіне қамтамасыз етіп отырады. Осындай факторларды модификалық фактор деп атайды. Популяциялық гомеостаз дегеніміз популяцияның сандық мәнін белгілі бір шегінде ұстап тұруы. Реттеуші фактор популяциялық гомосстазды туғызады. Реттеуші факторларға жыртқыш-жемтік типтегі ағзалардың қарым-қатынасы жатады. Жемтіктің көп саны жыртқыштардың көбею жағдайына себеп болады. Реттеуші факторлар түраралық фактор және түрішілік ағзалардың қарым-қатынас деңгейінде жүреді. Гомоестаздың түраралық механизмдеріне жыртқыш-жемтік, паразит-иесі типтегі қарым-қатынастар жатады. Түрішілік гомоестаздың негізіне бәсекелестік жатады. Оның екі түрі бар: 1) қатал түрішілік гомосстаз-коннибализм; 2) Жайлы түрдегі түішілік гомосстаз-әдетте особьтардың әлсіретуі арқылы көрініс береді. Бұл механизмде күшті особьтар сыртқы ортаға тежеуіш(әлсіретткіш) заттарды бөледі: стресстік құбылысты, территорияны шектеу, популяция арасындағы миграция. Орманшылар осыған байланысты ағаш кесуде популяцияның экологиялық-биологиялық ерекшелігіне сәйкес ойластырады. Ағаш кесу 2 үлкен топқа бөлінеді: 1) аралық пайдалану басты пайдалану. Аралық ағаш кесу орман тіршілігінің барлық жастық кезенінде болады. Басты ағаш кесу пайдалануында ағаштарды кемелді шағындағыларды алады. Адам экологиясы туралы түсінік. Адамның күрделі организмі заттар айналымына қатысады жіне оның заңдарына бағынады. Ф. Энгельс зат алмасудың маңызын көрсеткен: «тіршілік-бұл белокы денелердің өмір сүру тәсілдері қоршаған сыртқы ортамен олардың зат алмасу маңызды сәті болып табылады, зат алмасудың тоқтауы тіршіліктің тоқтауын білдіреді» деген. Адам организмі басқа тіршілік иелері сияқты, оттегі, суды және тағамды қажет етеді, тіршіліктің тәуліктік және маусымдық ритіміне бағынады, температураның өзгеруіне, күн сәулесінің интенсивтілігіне әсер етеді, тағы басқа, осындай белгілер мен қасиеттер адамның табиғаттан тәуелді екенін көрсетеді. Адамның өмірі тек биологиялық және табиғи факторлар мен ғана байланысты емес, сонымен бірге, әлеуметтік факторлармен де байланысты. Адам экологиясының жаңа бағыт ретінде ғылыми анықтама болмады. 20-жылдары адам экология туралы түсінік енгізіп, адамдар арасындағы қоғамдық қатынастарды биология позициясымен түсіндірді, (АҚШ) Р. Парк пен Э. Бюргес. 70-жылдары адам экологиясының ғылыми жұмыстары шықты, олар тек биология көз қарасымен ғана емес, кешенді табиғи-экономикалық және әлеуметтік проблема ретінде қарастырады. Ю. П. Лисицын (1973), А. В. Кацура, И. В. Новак, А. Т. Воронов (1974) О. В. Бароян (1975) адам экологиясын биологиялық түр ретінде климаттық, космостық, рельефтық т. б. жағдайлардан тәуелді, әлеуметтік түр ретінде технологиялық, қоғамдық, экономикалық т. б. жағдайлардан тәуелді адам өмірінің оптималды жағдайларын зерттейді деп ұсынады. Адам экологиясы адамның ортаға әсерін, сондай-ақ адамға ортаның әсерін зерттеумен шұғылдану керек. Адамның табиғи ортаның әр түрлі жағдайларына адаптация (бейімделу, үйрену) проблемасы аз зерттелген. Адаптацияға организмнің шектелуі мүмкіншілігі мен қабілеттілігі туралы нақты мәліметтерді ғылым әлі алған жоқ. Табиғи процестер мен факторлардың адамға және оның денсаулығына әсер туралы мәліметтер аз. Норильск қаласындағы зерттеулер көрсеткендей, егер адам күн сәулесінің күшеюі кезінде туылса, ол сондай кезендерге тәуелді болады, яғни күн сәулесінің күшеюі оргнизмдеріне жағымды әсер етеді. Маман-дәрігерлер адамдардың организмдері ерекшелігіне қарай, қандай жерде дем алу керектігі туралы алдын ала кенес бере алады, Қара теңіз жағалауларына болады ма, болмайды ма? Әдетте дәрігер 40-50 жастан кейін адамның тұрғылықты жерінен жер ауыстыруға рұқсат бермейді, яғни жазықтықтан таулы жерлерге, оңтүстік пен солтүстікке және керісінше, организмнің жаңа жағдайға бейімделу ескере отырып. «Табиғат-қоғам-өндіріс» жүйесінде адам басты буын болып табылады, осыған байланысты адам экологиясы ғылыми зерттеулер, бақылау мен эксперименттер негізінде адамның табиғатпен өзара қатынасын және өндірісті тиімді ұйымдастыру проблемасын шешу бойынша кешенді негізделген кепілдемелер жасауға міндетті. Өткендегі, қазіргі және болашақтағы демографиялық жағдайлар. Елдегі немесе планетадағы, аймақтағы демографиялық жағдайларды зерттеу адам экологиясының маңызды міндеттерінің бірі болып табылады. Халық, қала тұрғындарының тез санының өсуі экожүйелерге қосымша экологиялық күш түсіреді. Сондықтан адам экологиясы демографиялық факторлар мен урбандау процесінің қоршаған табиғи орта жағдайына әсерін жан-жақты зерттеуге міндетті. Демография дегеніміз халық туралы ғылым. Халық санының өзгеруін, оның территориялық ауысуы мен құрамын осы өзгерістерін себептері мен салдарын олардың әлеуметтік экономикалық факторлармен байланыстарын зерттейді. Демографиялық тарихтағы ерекше феноменге демографиялық жарылыс (60-80 ж. ж) жатады. Әлемдегі жыл сайынғы халық санының өсуі: 1000 жыл бұрын-10/1 бөлігінің %. XX ғасыр басында-0,7 %. 1950 ж.-1 %. 60 ж. аяғында-2,1 %. 1970-1975 ж.-2,0 %. 1980-1985 ж.-1,7 %. Халық саның өсуі әртүрлі жерде әртүрлі өскен. Соңғы 40-50 ж. ішінде халық санының төменделуі байқалды: Шығыс және Оңтүстік Европада, Австралияда, Жаңа Зеландияда, Японияда. Халық санының төмендеуіне қарамастан, халық санының теңесуі дамушы елдер арқылы жүзеге асып отыр. Әрбір мемлекет елдің ерекшелегін ескере отырып, өзінің демографиялық саясатын жүргізіледі. Қ.Р.-ның демографиялық саясатты ұстай отырып, жоғары туылым мен халықтың өмір сүру ұзақтығына бағытталған. Глобальдық мағынасы бар 2-феномен-адамдардың қартаюы, яғни халық құрылымындағы егде адамдардың санының өсуі. Бұл өлімнің азаюына байланысты. Халық көбеюі-ата-аналық ұрпақтың балалармен алмасуы. 3-феномен демографиядағы-балаға деген экономикалық қажеттілігі жоғалуы, аз отбасы идеялы, ананың борышы 2-планға шығу, біріншілік-ол әйелдердің қоғамға енуі, семьядан тыс өндіріс. 1979-1981 ж. ж. 40 жасқа дейінгі «орта» әйелдің бала саны 4,4 тен 2,2 дейін түсті. Ауылда 2,6 жоғары, ал қалада 1,8 төмен көрсеткіштерді береді. Адамдарда жас кезінен бастап, демографиялық мінез-құлық қалыптасады, ол өмірінің барысында ереже болып қалады. Демографиялық жағдайларға келесідей факторлар кіреді: әлемде 3,3 млрд. адам күн сайын тоймайды және 5000 млн. ашығады. 1 млрд. астам- кедейшілік шегінде тұр. 0,5 млрд.-жартылайә немесе толық жұмыссыз. 0,8 млрд. астам ересектер сауатсыз. 0,2 млрд.-бала мектепке бармайды. Тамақтану проблемасы халық санымен байланысты. 6,1 млрд. адам қалыпты тамақтану үшін мал өсіруді 4 есе, ал (өсімдік) егіндіктерді 3 есе өсіруі қажет. Негізгі әдебиеттер : Бейсенова Ә.Б. Экология және табиғатты тиімді пайдалану. Оқу құралы. Алматы, 2004. Сағымбаев Ғ.Қ. Экология негіздері. Оқу құралы. Алматы, 1995. Оспанова Г., Бозшатаева. Экология. Оқу құралы. Алматы, 2000. Бродский А.К. Жалпы экологияның қысқаша курсы. Оқу құралы. Алматы,«Ғылым», 1997, қаз.ауд. Көшкімбаев Қ.С. Мәмбетқазиев Е., Сыбанбеков Қ. Табиғат қорғау. Оқу құралы. Алматы, «Қайнар», 1990. Жамалбеков Е.Ү., Білдебаева Р.М. Жалпы топырақтану және топырақ географиясы мен экологиясы. Алматы, «қазақ университеті», 2000. Фурсов В.И. Экологические проблемы окружающей среды. Алма-Ата, «Ана тілі», 1991. Байтулин И.О. Экология Казахстана. Алматы, 2003. ДӘРІС № 6 Тақырып: Биосфера туралы В. И. Вернадскийдің ілімі. Жоспары: 1. Биосфера - ғаламдық экожүйе ретінде. 2. Биосфераның негізгі қасиеттері. 3. «Тірі заттар»-биосфераның негізі. 4. Зат айналымы және олардың адаммен бұзылуы: а) азот айналымы; ә) көміртегі айналымы; б) күкірт айналымы; в) фосфор айналымы. 1. Биосфера - ғаламдық экожүйе ретінде. «Биосфера» термині ғылыми әдебиеттерге 1875 ж. австрия геологы-ғалымы Эдуард Зюсс енгізген. В. И. Вернадский (1863-1945) бұл терминді пайдаланды және биосфера туралы ілімді жасады. Егер «биосфера» түсінігімен, Зюсс бойынша, жер қабығының 3 сферасындағы (қатты, сұйық, газ тәрізді) тірі ағзалары байланыстырылса, ал В. И. Вернадский бойынша ең басты роль тірі ағзаларды геохимиялық күштерге бөлінеді. Сонымен, биосфера түсінігіне ағзаның өзгертуші іс-әрекеті кіреді, қазіргі уақытта ғана емес, сонымен бірге, өткендегі де іс-әрекет кіреді. Тірі ағзалары бар қазіргі уақыттағы биосфераның бөлімін қазіргі заманға биосфера немесе необиосфера деп атайды, ал көне биосфераға палеобиосфера немесе өткен биосфера жатады. Қазіргі заманғы көзқарас бойынша неосфера шекарасы атмосферадағы, шамамен азон экранына дейін (полюстерде 8-10 км., экваторда 17-18 км., басқа жер беттерінде 20-25 км.). Гидросфераны түгелдей, сонын ішінде Әлемдік мұхиттың (11022 м.) ең терең тұңғиығын да тіршілік алып жатыр. Литосферадағы тіршілік бірнеше метрге дейін топырақ қабатын алып жатыр. Палеосфера шекаралары атмосферадағы необиосферамен сәйкес келеді, ал су астындағы палеобиосфераға тау шөгінді жыныстары да жатады, В. И. Вернадский бойынша барлығы тірі ағзалардың үндеуінен өткен. «Тірі заттар» терминін әдебиеттерге В. И. Вернадский енгізген. Ол бұл терминді масса, энергия және химиялық құрам арқылы көрінетін барлық тірі ағзалардың жиынтығы деп түсіндіреді. «Косный» заттарға өлі табиғаттың заттары жатады. (Мысалы: минералдар жатады). Табиғатта сонымен бірге, «Биокосный» заттар кең таралған. «Тірі заттар»-биосфераның негізі, бірақ аз ғана бөлімін құрайды. Тірі заттардың ең жоғарғы орта өзгерткіш іс әрекетіне байланысты, негізгі ерекшеліктеріне келесілер жатады: Барлық еркін кеңістікті тез меңгеру қабілеттілігі. Берілген қасиет бойынша В. И. Вернадский келесідей қортындыға келді, яғни белгілі геологиялық кезеңдер үшін тірі заттардың саны тұрақты болды. Қозғалыстың белсенділігі. Тіршілік кезіндегі тұрақтылық және өлгеннен кейін тез арада ыдырау. Әртүрлі жағдайларға жоғарғы бейімделушілік қабілеттілігі (адаптация). Реакция жүруінің ең жоғарғы жылдамдығы. Тірі заттардың жаңаруының жоғарғы жылдамдығы. Орташа жанару биосфера үшін-8 жыл. Құрлық үшін-14 жыл. Мұхит үшін-33 күн. Тірі заттардың орта өзгерткіш қызметтері: 1) Энергетикалық: екі биогеохимиялық принциптен тұрады. 1-принцип: биосферада геохимиялық биогендік энергияны көп мөлшерде жұмсау. 2-принцип: өз тіршілігінде геохимиялық энергияны көбейте алатын ағзалар эволюция процесінде тіршілігін сақтап қалады. 2) Газдық: белгілі мекен ету ортаның ауа құрамын атмосферасын өзгерту мен тұрақы ұстау қабілеттілігі. 3) Тотығу-тотықсыздану функциясы: тірі заттардың ықпалынан ортаны О2 байытуға байланысты тотығу процесі, сондай-ақ, О2 жетіспеген кезде органикалық заттардың ыдырауына байланысты жүретін тотықсыздану процесі. 4) Концентрациялық- шашыранды химиялық элементтерді өз денесінде ағзаның шоғырландыру қабілеттілігі. 5) Деструктивтік-органикалық заттар қалдығы мен «косный» заттардың ағзалармен және олардың тіршілік әрекетінің өнімдерімен құлдырату немесе бұзылуы (деструкторларға-саңырауқұлақтар мен бактериялар жатады). 6) Транспорттық –ағзаның белсенді қозғалыс формасы нәтижесінде заттар мен энергияның тасымалдануы. 7) Ортаөзгерткіштік- бұл функция шамалы мөлшерде интрегративтік функция болып табылады. 8) Информациялық. 2. Биосфераның негізгі қасиеттері. 1) Биосфера- орталықтанған жүйе. Биосфераның орталық буыны тірі ағзалар (тірі заттар) болып табылады. (антропоцентризм) 2) Биосфера-ашық жүйе. Биосфераның өмір сүруі сырттан келетін энергиясыз мүмкін емес. Биосфера әрқашан күн сәулесі түседі. 3) Биосфера-өзін-өзі реттелуші жүйе. Бұл жүйеге ұйымдастық гомеостаз тән. 4) Биосфера-көп түрлілікпен сипатталатын жүйе. Көптүрлілік кез-келген экожүйенің және биосфераның тұрақтылығын негізгі шарты. 5) Биосфераның маңызды қасиеті – заттар айналымын қамтамасыз ететін механизмдердің болуы және соларға байланысты жеке химиялық элементтердің және олардың қосылыстарының таусылмастығы. Зат айналымы және олардың адаммен бұзылуы. Заттар айналымы 2 түрге бөлінеді: Үлкен немесе геологиялық (құрлық пен мұхит арасында). Кіші немесе биологиялық (экожүйе ішінде). Кіші зат айналым геологиялық зат айналымның бір элементі болып табылады. Азот айналымы: Азоттың негізгі көзі атмосфера болып табылады. Атмосферадан топыраққа өсімдіктерге [N] нитраттар (NO3) түрінде енеді. Нитраттар азот бекітуші ағзалардың іс-әрекеті нәтижесінде түзіледі. [N] өсімдіктер үшін екінші көзі-органикалық заттардың ыдырауы нәтижесінде, атап айтқанда, белоктың ерекше тобы аммоний түзуші-ағзалар. (NH2–>NH3–>NO2–>NO3). Азоттың атмосфераға қайта оралуы денитрификациялаушы-бактериялар іс-әрекеті процесінде жүреді.(2NO3–>N2+3O2) Азот айналым схемасы: Көміртегі айналымы. Атмосферадағы С фотосинтез процесі кезінде өсімдіктердің органикалық заттарына еніп, әрі қоректену тізбегіне қатысады. Ағзалардың тыныс алу процесінде С органикалық заттардан босатылады. С негізгі массасы өлі органикалық заттардан редуценттермен (бактериялар, саңырауқұлақтар) бөлінеді. Көміртегінің шамалы (аз) бөлігі Вернадскийдің айтуынша, заттар айналымынан «геологияға кетеді» торф, көмір, мұнай, су экожүйелеріндегі карбонаттар түрінде. Көміртегі циклінің негізгі бұзылуы геологиялық құрылымдардан бөлінетін заттарға байланысты. Сонымен қатар өсімдіктер бірлестігінің ауданы мен өнімділігінің өзгеруі нәтижесіне де байланысты. Осы С бір бөлігі атмосферада көмірқышқыл газы мен метан түрінде жиналып, «парниковый эффектісін» пайда болуына ықпал етеді. Көміртегі айналым схемасы: Күкірт айналымы. Күкірт ең күшті және көп таралған ауа ортасының ластаушысының бірі. S-айналымының негізгі бұзылуы органикалық заттарды жағумен, күкіртті рудаларды өндірумен, топырақ-күкірт жүйесі циклінің бұзылуымен байланысты. Күкірт бұл кезде атмосфераға улы қосылыс түрінде, диоксит (күкіртті ангидрид) ретінде енеді. Күкірт айналым схемасы: Фосфор айналымы. Фосфор айнымалының газ тәрізді фазасы болмайды. Фосфор ағзаларымен бірнеше рет тұтынылғаннан кейін құрлық пен сулы ортаның тұнба түрінде түбіне кетеді. Фосфордың қайтып оралуы мұхиттың ағзаларымен орнын толтырмайды, яғни құрлықтың қажеттілігін толтыра алмайды. Фосфорды пайдалану тұнбалық циклмен бітетін, біржақты процесс болғандықтан, ағзалар үшін фосфордың жетіспеушілік қауіпі туады. Сондықтан оның адаммен орнын толтыру минералдық тыңайтқыштарды енгізу арқылы жүреді. Фосфордың бір бөлігі құрлыққа мұхиттан теңіз өнімдерін енеді. Фосфор айналымының схемасы: Негізгі әдебиеттер: Вернадский В.И. Биосфера. М., 1975. Вернадский В.И. Живое вещество. М., 1987. Вернадский В.И. Размышления натуралиста., 2 кн. Научная мысль как планетарное явление. М., 1977. Тейяр де Шарден П. Феномен человека. М., 1973. Қосымша әдебиеттер: Горелов А.А. Экология , Москва «Юрайт», 2002. Одум Ю. Основы экологии. М., 1975. Воронков Н.А. Экоогия общая, социальная, прикладная. М., 2001. Стадницкий Г., Родионов А. Экология М., Просвещение, 1996. ДӘРІС № 7 Тақырып: Табиғи ресурстар және табиғатты қорғаудың теориялық негіздері. Жоспары: 1.Табиғи ресурстар және оларды топтау. 2.Табиғи ресурстар және оларды тиімді пайдалану. 3.Табиғи қорларды пайдаланудың жалпы инженерлік шаралары. 4. Табиғатты қорғаудың аспектілері. 5. Табиғатты қорғаудың теориялық негіздеріАдамзаттың күн көрісі мен тіршілік етуіне қажетті заттар және табиғатты кездесетін жаратылыс дүниелері табиғи қорлар деп атайды. Табиғи ресурстарды қолдану салаларына қарай бөлінеді: өндірістік; денсаулыққа сақтауға қажетті; ғылыми; экстетикалық; Табиғаттың құрамына қарай да жіктейді: жер. су. орман. кен қазбалары. Табиғи ресурстарды мөлшеріне қарай 3 топқа бөлінеді: Қайта жаңғырмайтын. Қайта жаңғыратын. Таусылмайтын.
Космостық (күн радиациясы); климаттық (атмосфералық ауа , жел энергиясы); мұхит сулары. Қайта жаңғыратын: Топырақ, өсімдік және жануар әлемі, кейбір минералды шикізаттар Қайта жаңғырмайын:Жер қойнауының байлықтары, көмір, мұнай, рудалар. Табиғи ресурстар және оларды тиімді пайдалану. Қазіргі заманғы жағдайда пайдалы қазбалар қорының тозуы, тұщы сулардың азаюы, өсімдік және жануарлар әлемінің ресуртарының азаюы, табиғи ортаның үлкен масштабта ластануы өзекті проблемаларға айналып отыр. Табиғи ресурстардың сапасы мен санына және санына әрбір елдің экономика деңгейі мен дамуы көптен-көп тәуелді. Сондықтан табиғи ресурстарды қорғау және оларды тиімді пайдалану қоршаған ортаны қорғау жүйесінде маңызды орын алып отыр. Табиғи ресурстар әртүрлі 3 топқа бөлінеді. Сарқылмайтын қорларға-ғарыш, ауа, су қорлары жатады. Ғарыш қорларына-күн сәулесінің радияциясы, теңіз тартылуы мен тасуы жатады. Ауа-райы қорларына-атмосферадағы ауа, жел энергиясы, жауын-шашын жатады. Су қорларына-жер бетіндегі су көздері жатады. а) Жер беті қорларының ең басты бөлігіне топырақ жатады. Топырақ құрамы өте күрделі. Онда минералдық заттар, түрлі организмді заттар, микроорганизмдер кездеседі. Жер бетінің толық ауданы 510 млн. км2, құрлыққа тиесілі үлесі-149 млн. км2 (29,2 %). б) Орман қорлары сарқылатын және салыстырмалы жаңғыратын қорлар жатады. Орман ағаштарының қоршаған ортаның жақсаруына, су мен жер қорларының жақсы сақталуына тигізетін әсер мол. Жер бетіндегі ағаштар 100 млрд. тонна фитомасса түзсе, оның ішінде құрлық бетіндегі көк жамылғы 64 млрд. тонна, ал орман ағаштары 38 млрд. тонна (60%) құрайды. в) Минералдық қорлар-мұнай, газ, тас көмір, кен көздері және жер асты сулары жатады. Бұлардың барлығы сарқылатын қор түрінде жатады. Сонымен, минералдық қорларды: 1) металл қорлары. 2) металл емес қорлар деп бөлеміз. Кейбір минералдық заттар адам тіршілігіне ауа мен судай қажет. Мысалы, ас тұзы, ізбес, құм, фосфори, калий тұздары т. б. Бұларға қарағанда, металл және мұнай-газ кен көндерінен шикі зат өндіру қарқыны жыл сайын арта түседі. Мысалы: соңғы 100 жыл ішінде-көмір, темір, марганец және никельді пайдалану мен өндіру 200-1000 есе артты. Бұл қорлар литосфераның 17 км. тереңдікке дейінгі қабатын алып жатыр. г) Энергетикалық қорлардың жаңғырмайтын қатарына-көмір, мұнай-газ, торф, сутегі, гелий , литийлер, ал жаңғыратын түрлеріне-фотосинтез өнімдерінің энергиясы, гидроэнергия, булану және жауын-шашын энергиясы, жел энергиясы, жылу энергиясының түрлері жатады. Су қорлары. Су қоры деген ұғымды, тұщы су мөлшерінің қоры деп түсінген дұрыс. Адамзат тіршілігінде көп пайдаланатыны-өзен-сулар. Су жүйелеріндегі су мөлшерінің толық қалпына келуі немесе жаңғыру мерзімі әртүрлі. Табиғи қорларды пайдаланудың жалпы инженерлік шаралары. Адамзат табиғи қорларды, олардағы шикізат көздерін зат айналым циклына қатыстырады. Табиғи қорларды пайдалану барысында тасымалдануы, өзгеріске ұшырауы- қордың айналымы немесе антропогенді айналым деп аталады. Табиғаттағы зат айналымы тұйықталған тізбек бойымен іске асады. Ал қор айналымын немесе антропогенді тұйықталған тізбек бойымен іске асады деуге болмайды. Өйткені, теңізден буланған су қайтадан жауын-шашын түрінде қайта оралса, шахтада өндірілген көмір, қайтадан көмір түрінде шахтадағы кенге келіп қосылмайды. Табиғи қорларды тиімді пайдалануда ғылым-техника саласындағы озық технологияны, инженерлік тиімді тәсілдерді пайдаланады. Жалпы инженерлік шараларға төмендегілер жатады: Қоршаған ортаны жүйелі түрде пайдалану және сақтау. Қоршаған ортаға зиян келтірмеу үшін, оларды жан-жақты талдап, жүйелі түрде іске асыру қажет. Жан-жақты талдау-математика, информатика, кибернетика және т. б. ғылым салалары арқылы жүзеге асады. Биосфераны оптимизациялау. Табиғатты пайдалануды оптимизациялау. Өнеркәсіп салалары мен шаруашылыққа шикізат өнімдерін жоспарлы түрде, белгілі мақсат үшінмемлекеттік дәрежеде шешу жолдары. Шикізат өндіру қарқынынан алынатын өнім қарқынының өсуі. Жаратылыс дүниелері мен техника үндестігі. Табиғат-техникалық жүйелер немесе геотехникалық жүйелер құруы. Өндірісті шоғырландыру. Өндірісті экологиялық қауіпсіздендіру-қалдықсыз экологияны пайдалану жатады. Қоршаған ортаны бағалаудың экономикалық көрсеткіштері. Қоршаған ортаның табиғи қалпын сақтау, өнеркәсіп орындары шығаратын қоқыс қалдықтарды қайта өңдеу, зиянкес заттарды залалсыздандыру-бәрі де, белгілі бір дәрежеде қаржы бөлуді, еңбек күшін жұмсауды қажет етеді. Қаржыландыру 2 бағытта жүреді: Қоршаған ортаға зиянды заттар мен қалдық қоқыстарды азайтуға бөлінетін қаржы. Зиянды заттарды залалсыздандыруға және оларды жоюға жұмсалатын қаржы. Қоршаған ортаның ластануына жол бермеуге бөлінетін қаржы және ластанған жерлерді қалпына келтіруге бөлінетін қаржылар қосындысы-халық шаруашылығына экономикасына жұмсалатын экологиялық шығын деп аталады. Бұл қаржы төмендегідей жұмыс түрлері мен сауықтыру шараларын жүзеге асыруға жұмсалады: зиянды әсерлерден ауыруға шалдыққан науқас адамдарға дәрігерлік көмек көрсету. Ортаның ластану салдарынан тұрмыстық-техникалық шаруашылық жұмыс істеуі; Еңбек өнімділігін төмендетуден туындайтын проблемалар.Адам және табиғат бір-бірінен ажырамайды және бір-бірімен тығыз байланысты. Адам үшін, сондай-ақ түгелдей қоғам үшін де табиғат тіршілік ету ортасы және өмір сүруге қажетті ресурстардың жалғыз көзі болып табылады. Табиғат және табиғат ресурстары - адамзат қоғамының өмір сүретін және дамитын базасы, адамдардың материалды және рухани мұқтаждықтарын қанағаттандыратын түпдерегі. Адам – табиғат бөлігі және биологиялық түр ретінде өзінің тіршілік етуінде басқа көптеген түрлер сияқты ұзақ уақыт табиғатқа әсер етті. Бірақ кейінірек табиғатқа адам әрекетінің масштабы мен тереңдігі кеңейгенде табиғатты қорғау түсінігінің мазмұны мен барысы өзгерді. Қазіргі кезде «табиғатты қорғау» деп табиғи ресурстарды тиімді пайдалануға, өндіруге, қорғауға және табиғи ортаны ластану мен бұзылудан қазіргі және болашақ ұрпақтың материалды және рухани мұқтаждықтарын қанағаттандыру мүддесіне сақтауға бағытталған халықаралық, мемлекеттік және қоғамдық жүйесін айтады. Басқаша айтқанда, табиғатты қорғау – бұл адамзат қоғамы мен табиғат арасындағы өзара қатынастарды оптимизациялау бойынша жасалған шаралар жүйесін іске асыру. Табиғатты қорғау мәселесі қазіргі заманның ғылыми-жаратылыстану және әлеуметтік-экономикалық мәселелерінің маңыздысының бірі болып табылады, оның дұрыс шешімінен адамзаттың өмір сүруінің игілігі тәуелді. Табиғи ресурстарды тиімді пайдалану мен қорғау үшін оны жіктеудің маңызы зор: Бастапқыда табиғат қорғау шараларының негізгі мотиві материалды игіліктерге деген қамқорлық болса, ал қазіргі уақытта табиғатты қорғаудың мақсаты одан әрі кеңейді және әрқилы болды. Табиғатты қорғаудың келесі аспектілерін бөлуге болады: Экономикалық аспектісі – адамдар экономикасындағы табиғи ресурстардың үлкен роль атқаратындығымен анықталады. Сауықтыру-гигиеналық аспектісі – ірі индустриалды аудан аймақтарындағы табиғаттық жедел өзгеруі, судың, ауаның және топырақтың өнеркәсіптік қалдықтармен және шығарылымдармен ластануы, жер шарының кейбір аудандарында ядерлік және сутектік қарулардың сынақтары нәтижесінде адам денсаулығына, тіпті халықтың біршама бөлігінің тұқым қуалаушылығына қауіп төнеді. Тәрбиелік аспектісі – табиғатқа деген сүйіспеншілік, оған ұқыпты қатынас дағдылары, тірі тіршілік иелеріне қамқорлық, патриотизм, мінез-құлықтың жағымды жақтарын қалыптастырады. Эстетикалық аспектісі – адамның эстетикалық қажеттілігін қанағаттандыра алатын табиғи кешендерді күту және сақтау. Ғылыми-танымдық аспектісі – Табиғаттың дамуын танып білу үшін, болашақта оны бөлшекті түрде зерттеу үшін организмдердің барлық түрлерін, табиғатқа тән учаскелерді және оның жеке туындыларын сақтау. Табиғатты қорғаудың теориялық негіздері Табиғатты қорғаудың методологиялық негізі ретінде табиғат пен қоғамдағы заттар мен құбылыстардың жалпы өзарабайланыстылығы мен өзаратәуелділігі туралы материалистік диалектика заңы қызмет атқарады. Осы заңға сәйкес табиғаттағы ешбір құбылыс көптеген басқа заттар мен құбылыстардың әсерінсіз жүзеге аспайды. Әрбір құбылыс немесе зат табиғаттағы бүтіннің бір бөлігі. Ерте заманнан әртүрлі ғылымдар саласында табиғаттағы өзарабайланыстар болатындығы туралы мәліметтер жинақталған, бірақ ол туралы кең және терең жалпылау тек табиғат және қоғам туралы диалектикалық-материализм дамығанда ғана пайда болды. Табиғат пен қоғамның өзараәсерлерінің нәтижелері көп жағдайда табиғатта болатын өзарабайланыстарға тәуелді. Оларды есепке алу қоғамның табиғатқа және табиғаттың қоғамға әсер ету процессін басқару үшін қажет. Табиғат пен қоғамдағы заттар мен құбылыстардың өзарабайланыстарының сапалық және сандық ерекшеліктерінен табиғат қорғау жұмыстарының, оның принциптері мен әдістерінің сипаты тәуелді. Табиғатты тиімді пайдалану және қорғау тәжірибесінде табиғи процестерді және оларды адамзат қоғамы мүддесіне пайдалануды басқаратын заңдылықтарды ескеру қажет. Осындай негіз табиғатты қорғаудың методологиялық принципі болып табылады. табиғат қорғаудың жаратылыстану-тарихи негіздері болған, бірақ жаратылыстанумен табиғаттағы нақты өзарабайланыстар, табиғи кешендер іс-жүзінде ұзақ уақыт ашылмаған. Тек ХІХ ғасырдың соңында К.Маркс пен Ф.Энгельстің идеялары негізінде жаратылыстану ғылымының үлкен жетістіктері мен өндірістік күштердің дамуы арқасында табиғаттың жеке құраушылары арасындағы байланыстарды зерттеу, географиялық орта туралы жаңа кешенді ғылымды жасау біріншіреттік міндет болып қойылды. Бұл ғылымның теориялық негізін салған ірі орыс жаратылыстану зерттеушісі В.В.Докучаев болды. Әсіресе табиғат қорғау теориясына үлкен үлес қосқан атақты орыс ғалымы, академик В.И.Вернадский. жаратылыстанудың тарихи тәжірибесіне және жаратылыстану ғылымдарының жетістіктеріне сүйене отырып, ол ХХ ғасырдың басында Жер биосферасының жалпы шынайы синтетикалық концепциясын қалыптастырды. Табиғатты қорғау ісі үшін маңызы бар, қоғам мен табиғаттың өзарабайланысынан бірнеше ережелер шығады: 1. барлық табиғат құбылыстарының көптеген әмндері бар; рационалдық ереже; жанамалық қорғау, біреуін басқасы арқылы қорғау ережесі,кешенді міндет. Организмдердің бір түрлі тобы және әр түрлі тобы белгілі бір жерде қоныстанып, өмір сүреді, сол ортада табиғатпен және өзара байланыстар жасайды. Қоршаған табиғи ортаға адамдар , жануарлар , өсімдіктер басқа да тірі организмдер өмір сүретін мекен-жай, жылы мен суық , ас пен қорек , олардың достары мен жаулары кіреді. Қоршаған орта тірі және өлі табиғаттан құралған , өзара тығыз байланыстары бар біртұтас жүйе. Табиғатта болатын барлық құбылыстар мен өзгерістер осында өтеді. Қоршаған ортаның күрделі проблемаларын зерттейтін , ғылыми тұрғыдан ұсыныстар жасайтын ғылым саласын экология дейміз. Ол гректің “oicos”-“үй, мекен, жай” деген мағынаны білдіреді. Экология бір ортада өмір сүретін организмдерді зерттейді, олардың басқа организмдермен және қоршаған ортамен ара қатынастарын анықтап, жиынтық қорытынды жасайтын ғылым. Сондықтан «экология» қоршаған ортаны сақтаудың ғылыми негізі болып саналады . Ең алғаш «экология» деген сөзді 1858 жылы пайдаланған Генрих Девид Торо. Экология терминін ғылымға бірінші болып енгізген 1866 ж. белгілі табиғат зерттеушісі, дәрігер, аса дарынды неміс ғалымы Эрнест Геккель. Э.Геккель экологияға мынандай анықтама берді . Экология табиғаттың экономикасын білу, сонымен қатар тірі организмдердің осы ортаға басқа органикалық және органикалық емес заттардың ара қатынасын, өсімдіктер мен жануарлардың , олардың достары мен жауларының бір-бірімен байланыстарын зерттеу. Экологияның даму ағымы өте ерте кезеңді қамтиды. Организмдердің ортамен байланыстары және олардың қоршаған орта жағдайларына тәуелділігі туралы пікірлер антикалық философтардың еңбектерінде кездеседі . Өсімдіктер туралы осындай жоспарда Эмпедокл және Теофраст (IIIғ.б.э.д) жазған , ал жануарлар туралы - Аристотель (Ivғ.б.э.д) жазған. Экология ғылымының дамуына А. Гумбольдтің, Ч. Дарвиннің, К.Рулье, Н.Северцов және басқалардың еңбектері үлкен үлесін қостыА.Гумбольдтың (1769-1859) еңбектері өз уақыты үшін өте елеулі болды. Ол өз бетімен жеке Солтүстік және Оңтүстік Американы , Орталық Европаны, Сібірді , Алтайды, Каспий жағалауларын зерттеді. Сөйтіп ол өсімдіктер географиясын қалыптастырды, жер бетіндегі өсімдіктер дүниесінің таралу заңдылығы туралы рекше ғылым ретінде және өсімдіктер тіршілігін зерттеуде экологиялық бағыттың негізін салды. XIX ғ. ортасында Ресейде К.Ф.Рульенің еңбектері биологиялық ғылымдағы экологиялық бағытының дамуы үлкен әсер етті. Оның еңбектері зоологиядағы экология бөлімін қалыптастырды. XIXғ. соңында Дарвиннің ілімі арқасында экология организмдердің адаптациясы туралы ғылымға айналды . Дарвиннің анықтамасы бойынша , экология -бұл табиғаттағы барлық күрделі өзара байланыстар мен өзара қатынастарды зерттейтін ғылым, тіршілік үшін күрес жағдайы ретінде. XXғ. 60-жылдарынан бастап, экология дамуында жаңа кезең басталды, экология дамуында жаңа кезең басталды, ол барлық елдерде экологиялық зерттеулердің күрт өсуімен сипатталады. Үнемі әртүрлі экологиялық проблемалар бойынша ақпараттар саны өседі. Мысалы, қоршаған ортаның өзгеруі туралы , өсімдіктерді қорғау туралы және т.б. фактілер саны көбейе түсті. Сонымен , қазіргі кездегі экология адамзат мүддесін ескере отырып, биосфераның бетбұрасын ғылыми түрде негіздеуге ұмтылады. Экология ойлаудың ерекше типін қалыптастырады, ол табиғатты оңтайлы пайдалануға, табиғи ресурстарды қалпына келтіруге, қорғауға және молайтуға бағытталған. Негізгі әдебиеттер : Бейсенова Ә.Б. Экология және табиғатты тиімді пайдалану. Оқу құралы. Алматы, 2004. Сағымбаев Ғ.Қ. Экология негіздері. Оқу құралы. Алматы, 1995. Оспанова Г., Бозшатаева. Экология. Оқу құралы. Алматы, 2000. Бродский А.К. Жалпы экологияның қысқаша курсы. Оқу құралы. Алматы,«Ғылым», 1997, қаз.ауд. Көшкімбаев Қ.С. Мәмбетқазиев Е., Сыбанбеков Қ. Табиғат қорғау. Оқу құралы. Алматы, «Қайнар», 1990. Жамалбеков Е.Ү., Білдебаева Р.М. Жалпы топырақтану және топырақ географиясы мен экологиясы. Алматы, «қазақ университеті», 2000. Фурсов В.И. Экологические проблемы окружающей среды. Алма-Ата, «Ана тілі», 1991. Байтулин И.О. Экология Казахстана. Алматы, 2003. ДӘРІС № 9 Тақырып: Қазіргі кезеңнің әлеуметтік-экологиялық мәселелері. Жоспары: 1. Қазіргі Аралдың ахуалы және Арал маңындағы әлеуметтік- экологиялық мәселелер. 2.Шығыс Қазақстан облысының экологиялық жағдайы. 3. Демографиялық мәселелер және оның салдары. 4. Экологиялық мониторинг. 5. «Тұрақты даму» концепциясы. Қазіргі кезде соғыс қауіпінен кем түспейтін проблеманың бірі – экология. Адамзат экологиялық апаттың құзар шыңының басында қалтылдап күн кешуде. Сондықтан бүгінгі таңда паналап отырған планетамызды ажалдан арашалап қалу адамзат ұрпағын қорғап қалу деген сөз. Бүгінде жер бетінің бірі шетінде кішкене ғана экологиялық апат болса ол бүкіл планетаға әсер етеді. Соның ішінде Арал проблемасы ерекше. Аралдың экологиялық жағдайы жыл сайын, тіпті күн сайын күрделеніп барады. Бір кездері аспанға шапшып жатқан теңіз бүгінде әбден кеуіп, құрғап, өлі денеге айналуда. Арал өңірінде атмосферада көмірқышқыл газының мөлшері 1860 жылдан 1955 жылға дейін 15 пайызға, ал 2000 жылға дейін 1950 жылғымен салыстырғанда 25 пайызға көбейді. Аралдың 66мың шаршы шақырым су айдынынан бүгінгі күнге 20 мың шаршы шақырымға жуық су айдыны ғана қалды. Қазіргі деректер бойынша Арал теңізіндегі тұздың жалпы массасы 10,7-ден 11,4 млрд тоннаға жетті. Аралдың тұзы таза табиғи тұз емес, құрамында тыңайтқыштар мен гербицидтердің қалдықтары, тіпті гексохлоран сияқты аса қауіпті химикаттар бар. Аралдың ендігі жауы жел мен күн. Өйткені жер бетіндегі ауа үнемі қозғалыста болады. Сол арқылы бір ауданда пайда болған улы заттар екінші ауданға таралады. Табиғатта шекара жоқ. Арал теңізінің кеуіп қалған табынан көтерілген тұзды шаң ауаның ағымымен соңғы жылдары «Памир» сілемдеріндегі мұздықттарды да еріте бастады.Бұдан келіп сол таулардың құзар басына қардың орнына жып-жылы тұзды жауындар жаууда, себебі бір текше сантиметр ауаның құрамында ондаған мың түйір шаң тозаң болады. Жалпы деректер бойынша жер шарындағы өлім-жетімнің 6 пайызы бүгінде экология әсерінен болып отыр. Жүздеген мың адамның денсаулығы табиғат үйлесімсіздігінен нашарлап барады. Қазір әлемде жүрек талмасы, ми-қан айналымының бұзылуынан, ақыл-естен айырлатын аурулардың саны өршей түсті. Күні кеше осы Арал проблемасын елбасымыз Н.Назарбаев тұрақты даму жөніндегі Йоханнесбургте өткен бүкіл әлемдік саммитте сөйлеген сөзінде ерекше атап көрсетті. Тартылып бара жатқан Арал теңізін көріп отырып мәселені шешуге өзге елдердің көмек көрсетпегенін президентіміз қадап айтты. Ал мұның зардабын өзге елдердің енді өздері тартып отыр. Сондықтан “Арал тағдыры-әлем тағдыры” деуге де артық емес. Қоршаған ортаның жағдайы жөнінен Шығыс Қазақстан республикасының ең ластанған аймақтарының бірі және ол қазір де сол күйінде қалып отыр. Осыған орай “Қазақстан-2030 стратегиялық бағдарламасы”, “Қазақстан Республикасы Үкіметінің 2000-2002 жылдарға арналған іс-қимыл бағдарламасы”, “Қазақстан Республикасының экологиялық қауіпсіздік концепциясында” және облыс әкімінің үстем-сіздігі жылдың ақпан айындағы шешімінде көзделген міндеттерді жү-зеге асыру деңгейінде облыс экологтары қоршаған ортаның ластануын азайту, осының арқасында жағдайды бірте-бірте тұрақтандырып, жақсартуға алып келетін өте маңызды экологиялық жұмыстарды жүзеге асыруда. Жер-Ананың қазіргі жағдайы, оның түкпір-түкпіріндегі экологиялық өзекті мәселелер адамзаттың қатты алаңдатуда . Атмосфераның ластануда термині батыс елдерінде өткен ғасырда-ақ пайда болған. Қазір бұл түсінік бүкіл әлемді шаралап кетті. Күн сайын жер бетінен жан-уардың бір түрі , өсімдіктің бір түрі келмеске кететінін айтудың өзі өте қорқынышты. Дүниежүзі бойынша орман аумағы азайып , шөлге айналу қаупі ұлғаюда өзен, көл, мұхит өндіріс қалдықтармен ластануда, ғала-мат экологияляық апатты адам өз қолымен жасауда. Біріккен Ұлттар Ұйымының экологиялық бағдарламасында : Жер-Ананы аялау–бүкіл адамзат борышы. Табиғатқа деген мұндай сұраныс еш уақытта болған емес ,- деп айтылуы тегін емес . Туған жерімізде де экологиялық проблемалары бар аймақтар жетерлік : қалалар ауасы, топырағы, көлі, тағы басқалары. Өзіміз өмір Сүріп ауасын жұтып отырған сәулетті Алматы қаласының ауа бассейіні-нің экологиялық жағдайы да түйінді шешімді қажет ететін өткір де өзекті мәселе . Қалада ауа құрамындағы улы газдардың 80 процентті автокөлік үлесіне тиеді, оның 30 проценті қала топырағына сіңеді. Әсіресе, жас балалар, сәбилер үшін таза ауа тапшылығы жанға батады. Еліміз егеменді алғалы әр түрлі салаларда енген өзгерістерімен қатар, оқу процесінде де көптеген өзгерістер болады. Орта білім жүйесін-де де экологиялық пәндерді тереңдетіп оқытатын мектеп , лицей, гимна-зиялар ашылып жұмыс істеп жатыр, мұның өзі қазіргі жағдай сұранысынан туған қажеттілік себебі экологиялық мәдениетті білу эко-логиялық сауатты болу ең өзекті мәселенің бірі. Қоршаған орта- табиғат Екінші ана, адамға пана тербететін бесік. “Табиғат- тал бесігің “- дейді халық даналығы . Кез келген ақын жазушы немесе суретші ешқашанда табиғаттан жырақ кеткен емес. Олар табиғатқа етене жақын, одан нәр алып, өз шығармаларына арқау еткен. Табиғат олардың серігі , досы, жұбанышы, сырласы іспетті. Бір кезде Италияның ұлы суретшісі Леонардо до Винчи де “Ұстаздардың ұстазы- табиғатты өзіме тәлімгер тұттым’’- деген. Сол себепті меннің ойымша , экологиялыық тәрбиені бала ес біле бастағаннан бастау керек. Мысалы : ағаш жапырағын, гүлді жұлма, талды сындырма тағы басқа сияқты, суды ластама- дегенді күн Де айтып , сонда әр бала жүрегінде қоршаған ортаға, айналаға деген сүйіспеншілік , жаны ашушылық сезімдер ұялап өседі. Адамзат егер экологиялық сауаттырақ болғанда , ерте ойлағанда Арал қазіргі күйге түспенген болар еді, Каспий, Балқаш мәселелері адамзатты алаңдатпас еді. Қоршаған ортаны аялау, қорғау, сүю сезімдері әр адамзаттың боры-шы. Жануарлар жайлы экологиялық халықтық қағидалар. Әрбір халықтың тұрмыс- тіршілігі, өмір салты және жалпы дүниетанымды тікелей табиғатпен өзектес әрі тамырлас болып келеді. Қазақ халқының ежелден-ақ табиғаттың аясында өскені тарихтан белгілі, сондықтан да халқымыздың ет жүрегі елжіреп Жер-Ана, Отан- Ана, Табиғат- Ана деген сөздерді тебірене айтуында да терең ұғым жатыр. Өзін табиғаттың төл баласы сезінген халқымыз Табиғат-Ана алдындағы перзенттік парызына аса бір жауапкершілік сезіммен қарап табиғатқа деген сүйіспеншілік қасиетін ұрпақтан- ұрпаққа өсиет сөздері арқылы қалдырып отырды. Табиғатты аялау , оған көздің қарашығыиндай қарап үнемі қамқорлық жасап келуі халықтың санасына сіңіп қалған экологиялық асыл мұралардан айқын көрініс тапқан. Осындай асыл мұралардың бір саласы байтақ жерімізді мекендеп тіршілік еткен жабайы түз тағдыры жайлы екендігін айрықша атап өтті. Жалпы адам баласы өзінің ең алғашқы тіршілік еткен күнінен бастап аң аулаумен айналасқаны баршаға мәлім. Байтақ өлкеміздің көгілдір көк айдында өзен- көлдер , ну тоғайлы жасыл желекті ормандарында, жазиралы жазық далалы аймағында, асқақ та асқар зеңгер тауларында сан алуан қаншама түрлі баға жетпес байлық көзі саналатын жан- жануарлар мекен етіп, ұрпақ өргізіп, жайлы қонысы мен бейбіт өрісінде таныс- тіршілігін жалғастырып өз ырыс-несібесін адамдармен бөлісіп жатқандығын халықтық экологиялық қағидаларын айқын көруге болады. Жануарларға байланысты халықтық экологиялық қағидалардың бір тобы - жануарларға қажетті табиғи орта жағдайының өзгеруі сол жануарға қауіпті екендігін де айқын ұғымдар арқылы дәл айтқанын көруге болады. Халықтың экологиялық қағидаларға ғылыми тұрғыдан зер салып зерделей білсек, әрбір ұғымның өзінде танымдық терең мағына мән жатыр. “Төрт аяқты жануар- жер бетінің жарығы”- деген ұғымдар жер бетіндегі жануардың да өз орны барлығына , табиғаттың бөлінбес бір құрамды бөлігі екендігіне мысал бола алады. Қала экологиясы. Қалалардың саны мен олардың тұрғындары тез өсуіне байланысты, экологилық жүйегі түсетін ауыртпалық үнемі күшейіп, келеді. Яғни өзімдің еліміздің ішінде ос «урбандалу» жағы өте күрделене түседе. Осы термин кейінгі жылдары көптеу қолданұда. Ол дегеніміз «urds» латынша қала деген сөз ертеден болғанымен. Урбанизм немесе «урбанизация» термині халықтың қалада тұруға ұмтылуы, қаладағы тұрмысты ұнатуы урбанизация процессінің күшейуіне алып келген болатын. Әуелгі бетте айтылып өткендей – ақ «өзіміздің». Қазақстан республикасы да, дүниежүзілік урбанизация әсерінен тысқары қалған жоқ. Әсіресе, өнеркәсіп және қатынас кәсіпорындарын көптеп салұ мен тын және тыңайған жерлерді игеру кезінде (1954), қалалар саны,оның ішінде ірі қалалар саны тез өсті. Олардың тұрғындары, 45 жылда 5 есе ден артық өсіп, халықтың басым көпшілігі қалада тұратын болды. Болжам бойынша, қалалардағы тұрғындар саны көп артуы ықтимал. Бұл әрине жақсылыққа апарып соғатын жағдай емес. Қазіргі таңның өзінде-ақ қала халқының тығыздығы, әсіресе Алматы , Қарағанды, Шымкент қалаларында бір шаршы километрге 200 км2 тан аса адам келіп экологиялық жағдайдың үнемі нашарлауына себепті .Қайта айнала біз қала экологиясына соқсақ біз жоғарыда урбандану процесін де айтып өткен болармыз. Бұл әрире бүгінгі проблемалардың біріне айналып отыр. Қазіргі адамзат баласы кешегі кезеңнен гөрі ғылым мен техника бет бұрұда. Соған байланысты өндіріс, өнеркәсіппен айналысудың нысаны осы. Қоғамдағы ғылым мен техниканың даму барысында кешегіден бүгін көптеген өзгерістер байқалуда.Мысалы үшін алатын болсақ еліміз егемендік алғалы 10-12 жылдай болды.Соған байланысты экологиялық тұрғыдан да өз еліміз ішінде де көптеп өнеркәсіптер оның ішінде завод-фабрикалардың өзі өз қолымыздан өнер шығарылуда. Бұл негізінен біздің байлығымыз әрі мақтанышымыз болса да, адамзаттың бойына да зиян келтіру жағы көбірек. Мысалы казіргі таңдағы автокөліктердің саны жағы да өткенгіден қарағанда күрт өскен. Бұл автокөліктердің саны жанар-жағар майлармен жүруі атмос-ферадағы ауа сапасын бұзуына зор ықпал жасайды. Ал енді дүние жүзілік ақпарат ұйымының мәліметтеріне сүйенсек, ауылды жерлердегі елді мекендерге қарағанда қалалардағы атмосферадағы ауа құрамында зиянды газ күиіндегі заттар 10-25 есе, ал тозаң 10 еседей артық мөлшерде ұшырасады.Өнеркәсіп шоғарланған жерлерге қыс айларында тұманның түсетіндігі ал жауын-шашынның қалыптағыдан 5-10 есе артық жауатыны да байқалады. Экологиялық мониторинг. Мониторинг- “monitor” латын тілінен аударғанда еске салушы , алдын ала ескерту деген мағына білдіреді . Биосфера немесе оның жеке бөліктерінің, элементтерінің жағдайының антропогенді әсерден болатын өзгерістерін болжау, бағалау мен бақылаудың комплексті жүйесі . Қазақстан Республикасының табиғат ресурстары және қоршаған ортаны қорғау министрлігінің жүйесінде жаңа бөлім экологиялық мониторинг басқармасы ашылды. Бұл бөлім қоршаған ортаның мониторингінде мемлекеттік басқару жұмыстарын жүргізіледі. Біздің республиканың пайдалы қазбаларының мемлекеттік кадастрлары жасала бастады. Зиянды заттар , радиоактивті қалдықтарды көму және шайынды суларды жіберудің мемлекеттік кадастрларын жасау бекітілген. Экологиялық мониторинг жүргізу үшін төмендегі кадастрлар тізімі жасалған: 1.Атмосфераны ластаушы көздердің кадастары. 2.Суды ластаушы көздердің кадастары. 3 . Шайынды суларды ағызу жіберу кадастары. 4. Зиянды заттарды көму кадастары. 5. Қазақстан Республикасының бір тұтас жиындық кадастары. Қазіргі кезде Қазақстанда мониторинг жүргізуде ерекше көңіл аударлатын мәселелер: 1. Мұнай өндіру қызметтінің нәтижесінде мұнаймен ластану. 2. Магистралды су жүйелерінің :Ертіс, Нұра, Оралдың суларының ластануы. Экологиялық мониторинг өзінің негізгі мақсаты қоршаған ортаның жалпы күйін бақылаумен және қадағалаумен қоса , жергілікті мақсатта да қызмет етеді. Қалалардағы атмосфера ауасының мониторинг жүйесіне байқаудың үш түрі бар. Стационарлық Маршуттық. Жылжымалы күзет орындары. Стационарлық күзет орындарын арнайы павилиондармен жабдықтайды. Маршруттық күзет орындары ауадан сынама үлгі алуға және метеорологиялық бақылауға арналған. Жылжымалы күзет орындары өнеркәсіп қоқыстары тасталатын аймақта, ластайтын заттардың концентрациясын бір рет байқау үшін қызмет етеді. Тұрақты даму туралы түсінік. «Тұрақты даму» термині 1987 жылы БҰҰ үшін жасалған баяндамадан кейін кең таралды. Тұрақты даму дегеніміз – қазіргі уақытта мұқтаждығын қанағаттандыратын, бірақ келешек ұрпақтың мұқтаждығын қанағаттандырда қауіпке қоймайтын даму түрі. 1992 жылы 3-14 маусым аралығында Рио-де-Жанейродағы өткізілген БҰҰ Конференциясында «Тұрақты даму» Концепциясы қабылданды. Бұл Концепцияның негізгі тұжырымы – «табиғат-қоғам» жүйесін коэволюция принципінде дамыту. Адам қамын ойлау орнықты даму үшін – ол қарастырылатын талап-мүдделердің өзегі болмақ. Ол табиғатпен үйлесімдік тауып, салаутты және баянды өмір сүруге құқықты. Сонымен, тұрақты даму Концепциясында қоғам ұзақ әлеуметтік сенімді экономикалық дамуында қоршаған табиғи ортамен үйлесімді өзара қарым-қатынас жағдайында болуы қажет. Негізгі әдебиеттер : Ақбасова А.Ж., Саинова Г.Ә.. Экология. Жоғары оқу орындарына арналған оқу құралы. Алматы , 2003 Сағымбаев Ғ.Қ. Экология негіздері. Оқу құралы. Алматы, 1995. Оспанова Г.С., Бозшатаева Г.Т. Экология. Оқу құралы. Алматы, 2002. Бродский А.К. Жалпы экологияның қысқаша курсы. Оқу құралы. Алматы,«Ғылым», 1997, қаз.ауд. Көшкімбаев Қ.С. Мәмбетқазиев Е., Сыбанбеков Қ. Табиғат қорғау. Оқу құралы. Алматы, «Қайнар», 1990. ДӘРІС № 8 Тақырып: Табиғи ортаның ғаламдық экологиялық мәселелері. Жоспары: 1. Дүниежүзілік су әлемінің ластануы. 2. Атмосфералық ауаның ластануы: а) «Жылу эффектісі»; ә) «Озон тесігі»; б) «Қышқылдық жаңбырлар» 3. Әлемдік су қорлары. 4.Тұщы судың жетіспеу проблемалары. 5. Топырақтың экологиялық мәселелері: а) Қазақстандағы топырақ эрозиясы және оның түрлері; ә) Шөлдену мәселесі; б) Топырақтың тұздану және батпақтануы. Ластануға судың барлық түрлері (мұхит, континенттік, жерасты) әр түрлі дәрежеде ұшыраған. Судың, әсіресе ауыз судың сапасы халықтың денсаулығын анықтайтын маңызды факторлардың бірі болып табылады. Дүниежүзілік денсаулық сақтау ұйымының мәліметтері бойынша судың сапасының төмен болуынан шамамен 5 млн. адам себепті өледі де, әр түрлі дәрежеде уланған немесе ауырған адамдардың саны 500 миллионнан 1 миллиардқа дейін жетеді. Барлық сулардың құрамында еріген заттар болады. Судағы көп кездесетін элементтерге кальций, натрий, хлор, калий жатады. Судың тұздылығы, әдетте онда еріген химиялық заттардың жалпы мөлшерімен немесе құрғақ қалдықпен (г/л) анықталады. Теңіз суында шамамен 35 г/л тұз болады. Суларда органикалық заттар мен әр түрлі жүзіп жүрген заттар, сонымен қатар патогенді ағзалар да болады. Сулардың ластануы, ең бірінші рет су қоймаларына әр түрлі ластаушы заттардың келіп түсуіне байланысты болады. Ластаушы заттарға негізінен, топырақ эрозиясының өнімдері, минералдық тыңайтқыштар, улы химикаттар және тағы басқа заттар (азот, фосфор және басқа биогенді элементтер мен олардың қосылыстары, органикалық заттар, пестицидтер, тұрмыстық қалдықтар, мұнай және мұнай өнімдері) жатады. Ластаушы заттардың басым бөлігін атмосфералық жауын-шашын әкеледі. Сулардың канализация ағысымен, тұрмыстық қалдықтармен, өнеркәсіп орындарының қалдықтарымен, су транспортымен ластану үлесі де жоғары. Қазір бүкіл планетада іс жүзінде қандай да бір дәрежеде адам қызметі нәтижесінде ластанбаған тұщы су көздері жоқ деуге болады. Солтүстік суларының тазалығы туралы түсінік те алдамшы. Бұл сулардың аз ластануы олардың олиготрофтылығынан, өздігінен тазару қабілетінің әлсіз болуы мен төмен температурасымен теңеседі. Осы уақытқа дейін мұхиттың шексіз өздігінен тазаруға қабілеті туралы түсінік қалыптасқан. Қазір бүкіл адамзат мұхиттың дүнежүзілік қоқыс төгетін жер еместігіне көзін жеткізіп отыр. Атақты француздың мұхит зерттеушісі Жак Кусто: «Егер мұхитты уландыру тоқталмаса, оның тіршілігі жойылуы мүмкін» - деген қауіп айтады. Қазір кең таралып отырған, қауіпті ластаушы заттарға мұнай мен мұнай өнімдері жатады. Белгілі мәліметтер бойынша қазір мұхиттың суына жыл сайын 30-дан 50 млн. тоннаға дейін мұнай төгіледі. Оның әр тоннасы 12 км2 суды қабықшамен жаба алады. 0,05 мг/л мұнай су құрамында болса, су ішуге жарамсыз, ал концентрациясы 0,5 мг/л болғанда көптеген су ортасымен байланысты ағзалар тіршілігін жояды. Иістік құбылыстардың әсерінен балықтар мен тағы басқа ағзалардың миграциялық жолдары өзгереді. Мұнайлы қабықша су бетінің шағылыстыру қабілетін өзгертеді. Ол жылу балансының өзгеруіне және ғаламдық жылу мен ылғалды тасымалдау құбылыстарына әкеледі. Мұнайдың айтарлықтай мөлшері жағалаудағы экожүйелерді жояды. Бұзылған экожүйелердің қалпына келуіне өте көп уақыт керек еткізеді. Егіншілікпен айналысатын аудандарда ауыл шаруашылығы судың негізгі ластаушы көзі болып табылады. Су топырақтың бұзылу өнімдерімен, тыңайтқыштармен, улы химикаттармен, мал шаруашылық кешендерінен шайылған сулармен ластанады. Мал шарушылық кешендері кейбір аймақтарда негізгі табыс көзі болып табылады. 100 мың ірі қара мал басы бар кешен қоршаған ортаны миллион халқы бар қаламен бірдей ластандырады. Мұндай кешендердің негізгі ластауы органикалық заттар мен азоттың әртүрлі қосылыстарымен биологиялық байланысы. Жер үсті немесе жер асты суларына химиялық заттардың, микроорганизмдердің немесе басқа заттардың түсуі судың ластану көзі деп аталады. Атмосфералық ауаның ластануы Атмосфералық ауаның ластануы табиғи және анропогендік жолдармен жүреді. Табиғи ластану көздері: космостық шаңдар вулкандардың атқылауы, теңіз суларының булануы, тау жыныстарының шайылуы, топырақтың ұшуы, орман, дала өрттері т. б. Антропогендік ластану көздері: өндірістік және транспорттық орындар, ауыл шаруашылық және құрылыс ұйымдар, коммуналды тұрмыс обьектілер. Антропогендік ластану 5% құрайды. Химиялық құрамы күрделі, әрі улы, қауіпті. Атмосферадағы ластанған заттардың негізгі бөлігі 3 км.-лік қашықтықта болады. Ауаның жылдамдығына байланысты ондағы шаңдық бөлшектер 1км дейін көтеріліп, желсіз ауа – райында күмбез құрап 300-500 м-де , осыдан шаң біртіндеп қайтадан жерге қонады. Есептеулер бойынша, жыл сайын Париж бен Чикагода әрбір кв. км. 260т. шаң қонады, Нью-Йоркке-300т., Лондонға- 390т., Алматыға 125т. шаң қонады. Бүкіл әлемдік денсаулық сақтау ұйымының мәліметі бойынша дамыған елдердің 20% әртүрлі формалы аллергиялық аурулармен ауырады екен. Жоғарғы шаң ауа да- өкпе ауруларының бір себебі. Ауа бассейнінің негізгі ластаушыларына күкірт оксидтері, күкірт сутек, көміртегі оксидтері, азот оксидтері және күл мен күл-қоқымдар ретіндегі қатты бөлшектер жатады. Арал теңізінен атмосфераға жыл сайын құм, шақ, тұздар 140 млн тоннаны құрайды. Ауыр бөлшектері 800-1000км. қонып қалады, ал майда бөлшектері Белорусия, Литва, басқа елдерге тарайды. Екібастұз көмір бассейінен атмосфераға 150 млн тонна шаң, күл, қоқыс. Бурятқа, Монғолияға, Сібірге, Орта Азияға тарайды. Ауаның мемлекеттік шекарасы болмағандықтан, Атмосферадағы ауаны қорғау глобальдық мағынаға ие болады. Қазақстанда 1951ж. бастап ШПК(ПДК) нормативтері енгізілген, зиянды шығарылымдар 446 химиялық заттар мен 33 олардың комбинациялар бойынша. Қазақстанда «Атмосфералық ауаны қорғау» туралы заң 1981ж. қабылданған. Атмосфералық ауаны қорғаудың өзекті мәселелері. Атмосфералық ауаның құрамы мен функциясы. Атмосфера- әртүрлі газдардың қоспасынан, су буларынан және шаңнан тұратын, планетаның газ тәрізді қабығы. Жердің космоспен зат алмасу атмосфера арқылы жүзеге асады. Жер космостық шаң мен метеориттік материалды алып, ең жеңіл газдарды сутек пен гелийді жоғалтады. Атмосфера бірнеше қабаттардан тұрады. Атмосфераның негізгі құрамына азот, оттек, аргон және көмір қышқыл газы жатады. Атмосфераның маңызды компонентінің біріне озон О3 жатады. Оның түзілуі мен ыдырауы күннің ультракүлгін сәулелерімен сіңіруіне байланысты. Озон Жердің инфрақызыл сәулелерінің 20% ұстап қалады және ауаның жылыту әсерін күшейтеді. Озон қабатын 122-124км. биіктікте орналасады «озон экраны» деп атайды. Жер шарындағы «Жылу эффектісі». Жылу газдары әсерінен жылу балансының өзгеру нәтижесіндегі жер шарының әлемдік температурасының жоғарлауының мүмкіндігі «Жылу эффектісі» деп аталады. Американ экологы Б.Небел климаттың жылу мүмкіндігін, яғни «жылу эффектісін» болашақтағы орасан зор катастрофа ретінде қарастырады. Егер 60млн. жыл бұрын болған катастрофа, Небел пікірінше, жануарлар мен өсімдіктердің тұтастай жойылып ктуінесебеп болса және осы катастрофаның болуңын жер бетіне ірі астероидтың түсуінен болса, ол климат өзгеруіне байланысты катастрофада жеке ағзалар тобына немесе экожүйеге ғана емес, бүкіл биосфераға қауіпті. Негізгі жылу газына көміртегі оксиді жатады және «жылу эффектісінің» 50-65% құрайды. Басқада жылу газдарына метан(20%) , азот оксидтері (5%), озон, фреондар (хлорфтар, көміртектер) және басқа газдар (10-25% жылу эффектік газдар). Барлығы 30% жылу газдары белгілі. Жылу газдарының жылыту эффектісі атмосферадағы санына ғана емес, бір молекулаға әсер ету белсенділігіне де байланысты. Мыс: СО2 -1; метан үшін 25 тең, азот оксидтері үшін -165, фреондар үшін -11мың . Алынған мәліметтер бойынша жылу газдары әсерінен жердегі ауаның орташа жылдық температурасы соңғы жүзжылдықта 0,3-0,60С көтерілген. XXI ғ-да планетаның орташа жылдық t0- сы әртүрлі жерлерде 1-3,50С көтерілуі мүмкін. Болжам: егер мұхит деңгейі 1,5-2 м. көтерілсе, құрлықтың 5млн.км2 жері су басып кетеді.Бірақ бұл аудан көп емес(құрылықтың 3% ғана құрайды. Болжам: климаттың жылуы ауа-райының тұрақсыздануына табиғи зоналардың шекараларының ауысуына, шторм мен ураганның көбеюіне , жануарлар мен өсімдіктерінің жойылуының жылдамдауына әкеліп соғады. Мәңгі қатып жататын топырақтардың ауданы кішірейіп, олардан ( әсіресе бетпақты территориялардан) метан көп бөлінеді, ал ол жылу эффектісін күшейтеді. Осылардын барлығы 1979ж. Торонтодағы Халықаралық конференцияда климаттың өзгеру проблемасы бойынша келесідей пікірді туғызды: «жылу эффектісінің соңғы салдарын әлемдік ядролық соғыспен салыстыруға болады» - деген. Атмосферадағы СО2 енуінің негізгі техногендік көзін органиркалық жанар майларды жағу болып табылады. Қазіргі кезде тек жылу энергетикасына атмосфераға жылына бір адамға 1т. көміртек енеді. Болжаулар бойынша XXI ғ-ң бірінші жартысында С енуі 10млрд.т. жылына тең болады екен. Климатологтар айтуынша 15-20 млрд.т. жыл бөлінуі өте қалыпты. Атмосферадан С-көміртегінің негізгі шығу факторларына фотосинтез бен мұхиттың сіңіруі жатады. «Озондық тесік» туралы құбылыс, озон тесігінің пайда болуының негізгі себептері және атмосфераны қорғау бойынша іс- шаралары. Атмосферадағы озон проблемасының адам іс-әрекетімен байланысты екі аспектісі бар: 1.Озонның жоғарғы қабаттағы бұзылуы ( «озон экраны»). Жерге жақын кеңістіктегі концентрациясының көбеюі. Егер озон экранының шекарасындағы озон(О3) екі атом оттегіне ультракүлгін сәулелердің әсерінен оттек молекуласы ыдырау нәтижесінде жасады. О3 тұрақсыз болғандықтан қайтадан О2 түзіліп отырады. Соңғы жылдары атмосфераның жоғарғы қабаттарында озонның азаюы 3% құрайды. Мынадай мәліметтер бар, егер озонның азаюы 1% болса, онда тері рак ауруы 5-7% көтеріледі. Ең көп озондық жойылуы Антарктидада тіркелген. Бұл жерден соңғы 30жылда озон қабатының 40-50% азайған. Озон концентрациясының азаюын тркелген кеңістік шегін «озон тесігі» деп атаймыз. «Озон тесігінің» пайда болу себептері осы күнге дейін анық емес . Ең бірінші рет олар XX ғасырда 80-жылдардың басында байқалған. Озон бұзатын негізгі антропогендік факторге фреондар( хладондар) жатады деп есептейді. Пропилент- фреондар өте тұрақты газдар, олар атмосферада 100 жыл өмір сүріп, озон қабатына жетіп , күшті хлорда бөледі. Әрбір хлор атомы 100мың озон атомын бұзады. Монреальдық отырыста 1980ж. -2000ж. көптеген мемлекеттерде фреондарды өндіруді 50% қысқарту және пропилленттерді басқалармен алмастыру. Бірқатар елдерде(АҚШ, Ұлыбритания, Франция) фреондар (ХФС)–> (ГХФС) гидрохлорфторкөміртекпен, (ГФС) алмастырылып жатыр, олардың өмір сүру 2-25 жылға қысқа, О3 ыдырату потенциялы ХФС-ға қарағанда 10 есе аз. Озон қабатының тұрақтылығын жоғарлатудың басқа жолдары іздестірілуде. Озон қабатына этан мен пропан беру атомдық хлорды әлсіздендіріп хлорсутекке айналдырады. Тағы да озонның түзілуімен жинақталуына электормагниттік сәулелендіру, лазер сәулелері, электр зарядтары ықпал етеді. Олар оттектің фотодиссоциясын жақсартады және озонның жинақталуымен түзілуіне ықпал етеді 4)«Қышқылдық жаңбыр туралы» түсінік . Оларды жою жолдары. Күкірт оксиді- қышқыл жаңбырдың пайда болуына ықпал ететін негізгі ластаушы. Күкірт ангидриді су буларымен қосылып, күкірт қышқылы ертіндісіне айналады. Қышқылдық жанбырдың түзілуіне SO2 үлесімі 70% құрайды. Ал 20-30% қышқылдық жаңбырдың басқа шығаруларымен байланысты, әсіресе, оның ішінде СО2. Алғашқы қышқылдық жаңбырлар 1907-1908жж. Англияда тіркелген. Қазіргі уақытта жаңбырдың рН 2,2-2,3. Мұндай мәндер лимон шырыны немесе тұрмыстық уксустың қышқылдығына жақын. Әсіресе, қышқылдық жаңбырлар Скандинов елдері үшін, Англия, ФРГ, Белгия , Дания, Польша,Канада, АҚШ солтүстік аудандарына тән. Қалаларда 70-90% атмосферадағы ластану, соның ішінде қашқылдық жаңбырлардың түзілуіне автотранспорт себепті. Қышқылдық жаңбырлардың жағымсыз әсерлері әрқилы. Олар топыраққа, су экожүйелеріне, өсімдіктерге, архитектуралы ескерткіштерге, басқа құрылыс обьектілерге әсер етеді. Қала және ауылдардың ауа ортасын жақсартуда архитектуралық және жоспарлық іс-шаралардың үлкен маңызы бар. Жоспарлау құрылымы микроклиматты жақсартуға және ауа бассейінін қорғауға ықпал жасау керек. Қоршаған ортаның негізгі ластану көздерін ескеру қажет. Жасыл ағаштар зиянды қоспаларды, радиоактивтік бөлшектерді заласыздандыратын биофильтр болып табылады. Жалпы атмосфералық ауаны ластанудан қорғау тек аймақтық немесе тұрғылықты масштабта ғана емес, глобальдық сипатта болуы керек. Су қорлары. Судың жердегі әлемдік қоры өте көп. Ол 1353985 мың км3. Жердің 2/3 бөлігін Әлемдік мұхиттар алып жатады. 100% теңіз (тұзды) су тұщы су 2,5 % 96,5 % Әлемдік мұхит 1,74% мұздықтар Әлемдік су балансы- Жердегі жауатын жаңбыр буланумен теңесіп отырады. Осы 2 шама жылына 577 мың км.3 тең. Бұл жағдайда мұхиттағы булану жаңбырдан жылына 47 мың км.3 артады. Құрлықта бұл заңдылық керісінше-булану жаңбырдан 47 мың км.3кемиді.Бұл ылғалдылыққа өзен ағысымен құйылады. Қазіргі уақытта әлемдік су балансы мұхитқа қарай бағытталған. Мұхит буланудан гөрі, суды көп алады. Осының нәтижесінде мұхит деңгейі біртіндеп көтеріледі. (75% осындай қосымша ылғалды мұздықтардың еруі нәтижесінде алады, 18 %-жер асты су қорларын пайдалану есебінен және 7%-өзендер береді). Құрлықтағы буланудың жеткіліксіздігі экожүйенің су айналымының реттеу қасиетін жоғалтуы. Экожүйедегі суреттеу факторларына топырақ пен өсімдік жамылғысы жатады. Тұщы судың жетіспеу проблемалары. Тұщы судың негізгі бөлігі 70% полярлы мұздарда, мәңгі мұздықтарда, таудың шыңдарында қатып жатыр. Тек 30 % құрлықтағы суды өзен мен көлдер құрайды. Тұщы суды пайдаланудың экологиялық негіздемесі деп жүйелерден алынған судың көлемі, судың қоры және сапасы бойынша негізгі қасиеттерін сақтауын айтады. Осыған байланысты су қорларының жаңару жылдамдығын ескеру керек. Ол өзен суы үшін 12-16 тәулік, көл сулары 17 жылдан кейін жаңарады, ал жер асты сулары 1400 жылда жаңарады. Адамзат үшін судың жетіспеуі емес таза тұщы судың жетіспеушілігі төніп тұр. Тұщы судың жетіспеу проблемасы келесідей себептерге байланысты: Планетада халық санының тез өсуі мен су қорларын өте көп пайдаланатын іс әрекет салаларының дамуына байланысты суға деген қажеттіліктің көбеюі. Су таситын өзендердің қысқаруы салдарынан тұщы судың жағалауы. Өндірістік су қоймаларының және тұрмыстық құбырларының су ластануы. Қазіргі кезде адам тұщы судың табиғи қорынан 0,12-0,15% суды пайдаланады. Ең ірі су тұтынушыға ауыл шаруашылығы жатады. Ауыз су және шаруашылық мақсат үшін судың сапасын жақсартудың негізгі әдістеріне-ағарту, түссіздендіру және залалсыздандыру жатады. Суды ағарту дегеніміз суда қалқып жүрген заттардан тазарту. (Тұндыру, сүзу). Суды түссіздендіру-судағы түрлі-түсті боялған коллоидты немесе ертілген заттарынан түссіздендіру. Ол үшін әртүрлі тотықтырғыштарды пайдаланып, суды коагумециялайды (Хлор, калий перманганаты, озон), сорбенттер (активтенген көмір). Суды залалсыздандыру-судағы ауру туғызатын вирустармен бактерияларды жою үшін жүргізеді. Ол үшін хлорлау, бактериялдық сәулелендіру, озондандыруды қолданады. Қажетті технологиялық процестермен құрылымдардың үйлесімділігі су сапасының жақсартудың технологиялық схемасын құрайды. Практикада су дайындаудың технологиялық схемасы реагентті және реагентсіз деп бөлінеді, мұндай схема ауыз суды, тұрмыстық және өндіріске қажетті суларды дайындауда қолданылады. Құбыр сулары механикалық, физико-химиялық, биологиялық және т. б. әдістерімен тазартылады. Ауылшаруашылығында мал комплекстерінін құбыр суларын тазалау үлкен проблема болып табылады және олардың жер алқаптарын суару. Топырақтың экологиялық мәселелері. Қазақстандағы жер қоры 2,7 млрд. га жалпы егістік, оның 1-1,2 млрд. га эрозияға ұшыраған. Қазақстанда жер қорлары көп 1953-1956 ж. тың және тыңайған жерлерді игеру нәтижесінде егістік ауданы 2 есе өсті. Соңғы жылдары егістіктер қысқарды, қолайлы және тиімді жерлердің барлығы игеріліп бітті, тек қолайсыз, сор, сортаң және құм жерлер қалады. а) Қазақстанға эрозияға ұшыраған жер 18-20 млн. гектарды құрайды, олар астық егетін солтүстік, батыс және орталық ауданда орналасқан. Эрозиядан өсімдіктер өнімі азайды. Эрозияға құрғақ, шөбі жоқ, ормансыз жерлер ұшырайды. б) Қазақстандағы тұзданған топырақмен күресу. Тұздану құбылысы дегеніміз топырақтағы тез еритін тұздардың (Na2CO3, NaCE-, SO42+ ) жоғарлауы, ол жер бетіндегі сулардан болады-біріншілік тұздану; дұрыс суармағанна болады-екіншілік тұздану. Тұз салмағы 0,1% асқандық топырақ тұзданады, бұл өсімдіктер үшін қауіпті. в) Қазақстандағы топырақтың шөлдену мәселесі ерекше назар аудартады. Территорияның 40% шөл және 23% жартылай шөл экожүйелерге жатады. Көгал мен жайылымдарда әртүрлі мақсатқа және тың көтеруде көп күш түсіргендіктен, демалыссыз пайдаланылғандықтан қазір ол жерлер өз қалпына келе алмайды. Беткі шөп қабаты бұзылып жатыр, жайылым эрозиялық топыраққа, құмға айналады. Әсіресе, Нарын, Қызылқұм, Қарақұм және басқа құмдардың жағдайы өте қиын. Шөлдену нәтижесінде биологиялық түрлер азаяды, ауа райы өзгереді, су ресурстары қысқарады, соңында азық-түлік ресурстардың жетіспеулігіне ұшырайды. Шөлденудің жылдам темпі Арал және Каспий өңірінде жүріп жатыр. г) Топырақтың батпақтануымен күресу. Жасанды және табиғи топырақ эрозиялары. Топырақ эрозиясы дегеніміз желдің немесе судың әсерінен топырақтың бұзылуы. Топырақ эрозиясын су эрозиясы және жел эрозиясы деп бөледі. Су эрозиясында бұзатын күш ретінде ағын суы болып табылады, ал жел эрозиясы - ауа ағымы. Адамның әсерінен эрозиялық процестер күрт өсті. Мысалы: XX ғ. 50 жылдары эрозиялық алынуына жылына 3 млрд. т. болса, 70 жылдары-24 млрд. жеткен, 2000 ж. 55-60 млрд. т. болды. Қазіргі кезде жел эрозиясына 1,7 млрд. т. топырақ алынады. Эрозия көбінесе, табиғи өсімдік жамылғысы жоқ жерде болады; Себебі, біріншіден, өсімдіктер топырақты тамырлармен бекітеді, екіншіден, жер бетіндегі бөліктері су мен ауаның әсер ету күштерін азайтады. Негізгі әдебиеттер : Бейсенова Ә.Б. Экология және табиғатты тиімді пайдалану. Оқу құралы. Алматы, 2004. Сағымбаев Ғ.Қ. Экология негіздері. Оқу құралы. Алматы, 1995. Оспанова Г., Бозшатаева. Экология. Оқу құралы. Алматы, 2000. Бродский А.К. Жалпы экологияның қысқаша курсы. Оқу құралы. Алматы,«Ғылым», 1997, қаз.ауд. Көшкімбаев Қ.С. Мәмбетқазиев Е., Сыбанбеков Қ. Табиғат қорғау. Оқу құралы. Алматы, «Қайнар», 1990. Жамалбеков Е.Ү., Білдебаева Р.М. Жалпы топырақтану және топырақ географиясы мен экологиясы. Алматы, «қазақ университеті», 2000. Фурсов В.И. Экологические проблемы окружающей среды. Алма-Ата, «Ана тілі», 1991. Байтулин И.О. Экология Казахстана. Алматы, 2003. ДӘРІС № 3 Тақырып: Аутэкология. Жоспары: 1. Аутэкология –экологияның бір бөлімі. 2. Қоршаған ортаның экологиялық факторлары: а) абиотикалық факторлар; ә) биотикалық факторлар; б) антропогенді факторлар. 3. Ортаның факторларына организмдердің адаптациясы. 4. Экологиялық факторлар әсеріне организмдердің жалпы заңдылықтары: Ю.Либихтың минимум заңы және В.Шелфордтың толеранттық заңы. 1.Аутэкология - особьтар экологиясы. Аутэкология бір түрдің өкілінің (особьтың) қоршаған ортамен өзара қарым- қатынасын зерттейтін экологияның бір бөлімі. Басқаша айтқанда , осы организмге қоршаған орта факторларының әсерін және оларға осы особьтың табиғи реакцияларын зерттейді. Мекен ету ортасы деп, әдетте организмнің табиғи денелермен және табиғи құбылыстармен тікелей немесе жанама өзара байланыста болатынын түсінеміз. Қосу-организм бейімделу реакциялармен әсер ететін ортаның жеке элементтерін фактор деп атаймыз. Мекен ету ортасы терминінің орнына «экологиялық орта», «қоршаған орта», «табиғи қоршаған орта» терминдерінде пайдалануға болады. Қазіргі кезде «Қоршаған орталық ортаны», «Техногендік орта», «Антропогендік орта», «Өндірістік орта» деген терминдер жиі пайдаланады. Осы аталған орталар адаммен өзгертілген. Ортаның өрганизмге әсері жеке факторлар арқылы бағаланады. Экологиялық факторлар- тірі организмдерге олардың дербес дамуының бір ғана кезеңінде болса да тікелей немесе жанама әсер ете алатын, ортаның кез-келген әрі қарай бөлшектелмейтін элементі. Бұл анықтамада экологиялық факторлардың мынандай критерийлеін ерекше атап өту қажет; 1.Ортаның қарастырып отырған элементінің одан әрі бөлшектенбеуі. Мысалы, су қоймасының тереңдігін немесе тіршілік ету орнының теңіз деңгейінен биіктігін экологиялық фактор ретінде қарастыруға болмайды, себебі тереңдік суды мекендеуші организмдерге тікелей емес, қысымның артуы, жарықталудың кемуі, температураның төмендеуі, еріген оттегінің азаюы, су тұздылығының жоғарлауы, т.б. арқылы әсер етеді; биіктіктің әсері температураның, атмосфералық қысымның төмендеуі арқылы жүзеге асырылады.Шын мәнінде температура, жарықталу, тұздылық және т.т. тірі организмдерге тікелей әсер етуші сыртқы ортаның экологиялық факторлары ретінде білінеді. 2.Экологиялық фактордың әсері тікелей емес, аралық буындар арқылы берілуі мүмкін, яғни бұндай жағдайда ол көптеген себеп-салдарлық байланыстар арқылы ықпал көрсетеді.Экологиялық факторлардың аралық буындар арқылы ықпал етуінің мысалын құс базарынан көруге болады. Құс базарларында құстар орасан көп шоғырланады. Бұнда басты рольді биогендік заттар атқарады; құстардың саңғырығы суға түседі; судағы органиканы бактериялар минералдандырады, соған байланысты осы жерлерде балдырлар шоғырланады.Бұл өз кезегінде планктондық организмдердің, негізінен шаян тәрізділердің концентрациясының артуына әкеліп соғады. Соңғылармен балықтар қоректенеді, ал олармен базарды мекендеуші құстар қоректенеді.Демек бұл жерде құс саңғырығы экологиялық фактор ретінде көрінеді. Экологиялық факторлар табиғаты жағынан қаншалық әр алуан болмасын, олардың әсерінің нәтижелері экологиялық тұрғыдан салыстыруға келеді, өйткені әрқашанда организмдердің тіршілік әрекетінің өзгерісі арқылы білінеді, ал бұл, ақырында, популяция санының өзгеруіне әкеліп соғады.Осы тәуелділікті талдау, оның төмендегідей заңдылықтарын атап көрсетуге мүмкіндік береді; 1.фактордың белгілі бір мәндерінде организмдердің тіршілік ету үшін ең қолайлы жағдай туады: бұл жағдайлар оптималды жағдайлар деп аталады. 2.фактордың мөлшері оптималдық жағдайдан неғұрлым көбірек ауытқыса, дара организмдердің тіршілік әрекеті де солғұрлым нашарлай түседі; осыған байланысты қалыпты тіршілік ету аймағы айқындалады. 3.фактор мөлшерінің дара организмдер қалыпты тіршілік ете алатын аралығы төзімділік шектері деп аталады; төзімділіктің төменгі және жоғарғы шектері ажыратылады. Сонымен, қоршаған орта факторлары 3 топқа бөлінеді: 1.) Абиотикалық факторлар- өлі табиғаттың әсері (климат, t0-ра , ылғалдылық , жарық және т.б. 2.) Биотикалық факторлар – тірі организмдердің әсері. 3.)Антропогенді факторлар – адамның әртүрлі іс-әрекетінің әсерлері. 1.Абиотикалық факторларға айналадағы ортаны, яғни өлі табиғатты құрайтын жеке құрамды бөліктері жатады. Мысалы: климаттық факторлар (ауаның ылғалдылығы, жауын-шашын мөлшері, ауаның t0 –сы, жарық мөлшері, күн мен түннің ұзақтығы, желдің әсері, ауа қысымы, ауа құрамы); Топырақтың әсері (химилялық құрамы, физикалық және химиялық ерекшеліктері); гидрологиялық факторлар(судың тұнықтылығы, күн сәулесінің түсуі, құрамы, қысымы, ластануы т.б.); жер бедерінің әсері. 2.Биотикалық факторлар ағзалардың тіршілік әрекетіне байланысты бір-біріне тигізетін сан алуан әсерлері жатады. 3.Антропогенді факторлар биотикалық факторлар қатарына жатқызып келген болатын. Бірақ соңғы кездегі адамның іс-әрекетінің табиғатқа қарқынды, әрі жан-жақты ықпал ететіне байланысты ол жеке қарастырылады. Антропикалық фокторлар дегеніміз - айнала қоршаған ортаға тигізетін адам баласы іс-әректінің тікелей немесе жанама әсері.Адам баласы өзінің материалдық игілігі үшін табиғат байлықтарын игеруге мәжбүр болады. Нәтижесінде, ірі кешендер, өнеркәсіп, зауыт, кен байыту, автокөліктер , ауыл шаруашылығы салалары дами түседі. Ал олардан зияны әр-түрлі газдар, қалдықтар, лас сулар, химиялық зиянды қосынды заттар айнала қоршаған ортаға түседі.Зиянды заттардың көпшілігі табиғатта айналымға түспей, жинақталып бұкіл тіршілікке кері әсерін тигізе бастайды. Яғни, атмосфера ауасының ластануы, су айналысының бұзылуы, жердің құнарсыздануы, қуаншылық, өзен-көлдердің тартылуы, өсімдіктер мен жануарлардың сиреп немесе құрып кетуі, адам баласының денсаулығының бұзылуы және жалпы биосфера шегіндегі бұрын-соңды болмаған климаттың өзгеру құбылыстары үдей түседі. Соңғы жылдары антропикалық факторлардың табиғи ортаға және жалпы биосфераға әсері айқын біліне бастады.Осыған орай, адам баласының іс-әрекеті бақылауға алынып табиғат тепе-теңдігінің бұзылмауына жол бермеу жолдары ғаламдық проблемалар деңгейінде қарастылуда. Ортаның факторлары және ағзалардың оған адаптациясы. Орта және орта факторлары, оларды топтау. Ағзаға орта факторларының әсері етуінің кейбір жалпы заңдылықтары. Адаптация биологиялық құбылыс ретінде. Тіршілік ету ортасы. 1.Мекен ету ортасы деп, әдетте ағзалардың табиғи денелермен және құбылыстармен тікелей немесе жанама өзара байланыста болатынын түсінеміз. 2.Факторлар әсер ету маусымдылығы және бағыттылығы бойынша 3 топқа бөлінеді. Қатаң маусымдылықпен әсер етуші факторлар тәулік уақытының уақыты, жыл мезгілдері, келіп-кету құбылыстары т. б.) Маусымдылықсыз әсер етуші факторлар - кейбір уақыттарда қайталанады-ауа-райы құбылыстары, су тасқыны, жер сілкіну, вулкан т. б. Бағыттылықпен әсер етуші факторлар. Олар әдетте бір бағытта ғана өзгереді (климаттық жылынуы немесе суып кетуі, тар. бетпақталада т. б.). 4. Белгісіз әсер етуші факторлар-бұған антропогендік факторлар жатады, ағзалар мен олардың бірлестікреті үшін өте қауіпті. Жарық және мінез-құлық бағдарлануы. Жануарлардың мінез-құлығындағы бағдарлануы жарық әсері өте маңызды. Жарыққа байланысты жануарларды күндізгі және түнгі деп бөлеміз. Күн сәулесі осы жануарларға әсер ете отырып, олардың әрекетін басқарады және олардың тіршілік салтын, мінез құлығын, ұйқы мен демалу ритмдерін анықтайды. Мысалы: олардың әрекет сипаттары, тамақтану тәсілдері, жыныстық белсенділіктері т. б. Ағымдар және оттегі. Көптеген тіршілік орталарында жануарлар ағымының әсер етуін сезінеді. Ауа және су ағымдар болып бөлінеді және жануарлардың таралуында қоршаған ортаның реттеуші факторы болып табылады. Олардың әсері екі жақты: біріншіден, ағымдар жануарларға әртүрлі заттар және жылу әкелсе, екіншіден, олар жануарлардың өзін басқа жаққа орнын ауыстыртады. Ауа ағымдары горизантальды түрде тұратын жел сипатта және жер бетінен шығатын термальды түрде болып бөлінеді. Суда да ағымдар бар. Су ағымының жылдамдығы ауа ағымына қарағанда аз болып келеді. Ол сарқырамаларды үлкен шамада-6 м. секундқа дейін. Ең қуатты су ағымы мұхитта болады, жылы Гольфстрим ағымдарында немесе суық компенсациялық ағымдарында. Зат алмасу процесінде көпшілік жануарлар үшін оттегінің ролі өте зор. Ол тыныс алуға қатысады. Ересек адамдардың қанында гемоглабиндік байланысқан оттегінің мөлшері 1 метрге дейін болады. Гемоглобин көмегімен О2-ткандерге таралады және сіңіреді. Жануарлар үшін О2 негізгі зат тіршілік үшін қажетті. Жер бетіндегі оның таралуы түрлердің таралу шекарасын анықтайды. Оттегінің болуы шешуші фактор болып табылады, одан жануарлардыңәртүрлі мекен ету орталарына таралуы тәуелді. О2 таралуы: Ауадағы оттегі, топырақтағы О2, таяз судағы О2, теңіз О2-сі, паразиттердегі О2. Ортаның абиотикалық факторларына бейімделу. Температура мен ылғалдылықтың әсер етуі. Антрактиканың шөлді мұзында t0-ра -880С дейін төмендесе, Жердің сусыз шөлдерінде көлеңкеде +580С дейін көтеріледі. Орталық Европаның ормандарында оңтүстік жағында ыстық жазда 400С дейін жетсе, солтүстік жағында 200С дейін барады. Жердің барлық жерінде тіршілік таралған. Бірақ бір тіршілік иесі әлемде бүкіл жердегі t0-ра диапазонын көтеруі мүмкін емес. Сондықтан кез - келген жануарлардың таралуы мекен еткен жерімен шектеледі, сол температурамен бейімделеді. Көптеген жануарлардың дене температурасы қоршаған ортаның температурасына байланысты өзгеріп отырады. Мұндай жануарлар өзгеруінің дене температурасын реттей алмайды, және пойкилотермдік жануарлар деп аталады. Жануарлардың аздаған түрлері дене температураларын белсенді реттей алады, мұндай жануарлардың дене температурасы тұрақты және оларды гомойотермдік деп атайды. Қоршаған ортаның температурасының өзгеруіне өте төзімді жануарлар эвритермдік , ал тек белгілші температураның өзгеруіне ғана аз төзетін жануарлар стенотермдік деп аталады. Ылғалдылықтың жеткілікті мөлшері- Жердегі барлық организмдердің өмір сүруінің негізгі шарты. Организмдегі болатын барлық тіршілік процестері су ерітіндісінде жүреді. Әдетте жануарлар денесінің 50% астамы судан тұрады. Мысалы : үй жануарларының 59%, адам денесі 64%, ұлу 70%, балықтарда 75% және жоғары, медузаларда 99% т. б. Көптеген жануарларда ылғалдылықың көп немесе аз болуына байланысты организімдерінде тірішілік ету орталары арасында өзара байланыстар (бейімделу механизмдері) қалыптасқан. Август Тинеманн деген биологтың айтуынша «космостық шырмалымға» барлық тірілер кіреді және соған бағынышты. Тіршілік көзі- күн сәулесі. Биотикалық факторларға адаптация. Тамақтану және түр аралық байланыстар. Әрбір жануарда өз тамағын табуға мүмкіндік беретін әртүрлі бейімделушіліктер бар. Филогенез барысында планетадағы фаунаның әртүрлі өкілдерінде сан алуан бейімделушіліктер қалыптасқан. Мысалы: Инфузоришер суды жұта отырып, оны сүзедіде өз қорегін аулайды. Молюскалар да фильтраторлар болып табылады. Жануарлар әлеміндегі ең белгілі жұтқыштарға жыландар жатады. Гүлдер мен өсімдіктер. Ертеде ассириялықтар мен вавилондықтар Екі өзендік мемлекетінде құрма пальмасын өсірді (екі үйлі өсімдік). Х.К.Шпренгель «Табиғаттың ашылған сыры» еңбегінде 1793ж. гүлді өсімдіктердің (нектарник) балауызын зерттеді. Ол өз теориясында гүлдердің балауыз қасиеттері сол өсімдікті тозаңдыратын насекомдарға тәуелді екенін айтты. Мысалы: эвглосса арасы кектар соратын мүшесі ұзын болып келеді. Оңтүстік америка көбелегі- тұмсықтар өте ұзын гүл формасына байланысты. Шмель -> аконит Экожүйедегі ағзалардың байланыстары. Қоректену немесе трофикалық байланыс. Топикалық байланыс-(грекше топос –орын), мекен ету ортасын пайдалануға негізделген байланыстар. Форикалық (латынша форас- сыртта)- бұл байланыс бір ағзаныцң басқа ағзаға таралуына қатысқан кезде пайда болады. Ағзалар арасындағы қатынастар 1. Симбиоз немесе мутализм- қарым-қатынаста екі жағына да тиімді. Бұл байланыстардың деңгейі әртүрлі («++»). Симбиоз – 1) қыналар:саңырауқұлақтар мен балдырлардың бірлесіп тіршілік етуі. Балдырлар саңырауқұлақтарға фотосинтез өнімдерін жасайды, ал саңырауқұлақтар балдырлар үшін субстрат және миниралдық заттарды жеткізіп отырады. Микориза = саңырауқұлақтар мен өсімдіктер тамырлары. Микроорганизмдер+ жануарлар асқазанындағы. Комменсализм- екі түрдің арасындағы қарым-қатынас формасы, яғни біреуі басқа түрге(комменсалға) тамақ немесе тұратын орын алып береді. («+-»). Комменсализм- басқа түрге зиян келтірмей, бір түрдің біржақты пайдалануы. Мыс: арыстан мен шендер арасында , акула мен оның қасында жүретін жабысқақ балықтар, т.б. Нейтрализм, аменсализм- бір территориядағы екі түрдің бірлесіп тіршілік ететін және олар үшін жағымды не жағымсыз әсері жоқ биотикалық қатынастар формасы. Мыс: тиіндар мен бұғы бір орманда мекендейді, бірақ бір-бірімен ешқандай қатынасы жоқ .Алайда орманның құрғақшылығы немесе зиянкестермен орманның құруы екі түрге де әртүрлі деңгейде әсер етеді. Бәсекелестік-экологиялық талаптары ұқсас түрлер арасындағы қарым-қатынастар. Мұндай түрлер бірлесіп мекендейді, бірақ екі жақтада жағымсыз әсер етеді. Г. Ф. Гаузенің «бәсекелестік шығарып тастау заңы», Дарвин өз еңбектерінде «бәсекелестік сәйкестенбеу» туралы ертеден көрсеткен. Факторлардың организмге әсері. Экологиялық факторлардың организмге әсер етуі мен оған организмнің реакциясы бірдей болмайды. Өзара әрекеттесу факторлар ережесі. Оның мәні келесіде: яғни бір факторлардың әсер ету күшін басқа факторлар күшейту немесе азайтуы мүмкін . Мысалы, жылудың көп мөлшері ауаның ылғалдылығын төмендетеді. Ю.Либихтың «Минимум» заңы немесе шектеуші факторлар ережесі. Бұл ереженің мәні келесіде: шектен тыс аз немесе шектен тыс көп фактор (қауіпті нүктенің қасындағы) организмнің күйіне ықпал етеді, сонымен бірге , басқа факторлардың әсерлерін шектейді. Бұл заңның өмірде практикалық маңызы зор. Организмдердің ең қажетті шектеуші факторларын біле отырып, мол өнім алуға немесе табиғат ресурстарын тиімді пайдалануға жол ашады. Шектеуші факторлармен қатар организмнің факторлар жиынтығына деген ең жоғарғы төзімділік қасиеті болады. Ол В.Шелфордтың толеранттық (төзімділік) заңына байланысты. Оптимум аймағы әртүрлі ағзалар үшін бірдей емес . Біреулері үшін аймақ аралығы біршама көп, мұндай ағзалар эврибионттар тобына жатады (грекше эури- кең, биос- тіршілік). Аз диапазонда бейімделетін ағзалар стенобионттар деп аталады(грекше стенос- тар). Эврибионтты түрлер қолайсыз экологиялық орталарда қалыпты тіршілігін жалғастыра береді. Мысалы, бұл организмдер тобына Қазақстанға жерсіндірілген ондатраны, көгілдір түлкіні, колорадо қоңызын, ақ қанатты американдық көбелекті жатқызуға болады. Стенобионтты түрлердің таралу аймағы шектеулі болады. Негізгі әдебиеттер : Бейсенова Ә.Б. Экология және табиғатты тиімді пайдалану. Оқу құралы. Алматы, 2004. Сағымбаев Ғ.Қ. Экология негіздері. Оқу құралы. Алматы, 1995. Оспанова Г., Бозшатаева. Экология. Оқу құралы. Алматы, 2000. Бродский А.К. Жалпы экологияның қысқаша курсы. Оқу құралы. Алматы,«Ғылым», 1997, қаз.ауд. Көшкімбаев Қ.С. Мәмбетқазиев Е., Сыбанбеков Қ. Табиғат қорғау. Оқу құралы. Алматы, «Қайнар», 1990. Жамалбеков Е.Ү., Білдебаева Р.М. Жалпы топырақтану және топырақ географиясы мен экологиясы. Алматы, «қазақ университеті», 2000. Фурсов В.И. Экологические проблемы окружающей среды. Алма-Ата, «Ана тілі», 1991. Байтулин И.О. Экология Казахстана. Алматы, 2003. ДӘРІС № 2 Тақырып: Организм және орта. Жоспары: 1. Жер бетіндегі организмдердің таралуы. 2. Тіршіліктің пайда болу теориясы. 3. Биосфера эволюциясы. 4. Организдердің негізгі тіршілік орталары: а) су тіршілік ортасы; ә) құрлық -әуе тіршілік ортасы; б) топырақ тіршілік ортасы; в) тірі ағзалық тіршілік ортасы; 5. Биологиялық ырғақтар. Фотопериодизм. Планетамызда 2 млн. астам тірі организмдердің түрі тіршілік етеді. Фауна мен флора жер бетінде біркелкі таралмаған . Климаттық жағдайларға байланысты арнайы өсімдіктер қауымдастығы қалыптасады- тропикалық жауынды орман , таулы орман , тундра , тайга, сованна немесе шөлдала. Мұндай өсімдік қауымдастықтарында тек осындай жағдайларға бейімделген жануарлар түрі тіршілік етеді. Биогеографиялық облыстар : Голарктикалық (Солт.Америка Гренландиясыз, Евразия Индиясыз, Исландия, Корея, Жапония, Солт. Африка) Палеотропикалық (Оңт. Африка, Мадагаскар , Индия және ИндоКитай) Австралиялық (Австралия, Жаңа Гвинея, Жаңа Зеландия, Океания) Неотропикалық (Оңт. және Орт. Америка) Антарктикалық (Антарктика) Биогеографиялық облыстардың геологиялық тарихы. Палеозой эрасында- біріккен суперматерик(Пангея) Мезозой эрасы, триас кезеңінде 2 бөлімге бөлінді: Солтүстік бөлімі (Лавразия): Солт. Америка, Европа мен Азия; Оңтүстік бөлімі (Гондвана): Оңт.Америка, Африка, Антарктида, Австралия, Индия. 3. Кайназой эрасында- солт.суперконтинент–>Евразия –> Солт.Америка Жер бетінде тіршіліктің пайда болуы. абиогеноз теориясы(тірінің өліден пайда болуы) биогеноз теориясы (тіріден тірінің пайда болуы) А.И.Опарин 1924ж. «Химиялық эволюция концепциясын” жасаған. Коацерваттық теориясы бойынша химиялық эволюция –> биологиялық эволюцияға ауысуы–> ерекше жүйе пайда болуы (қоршаған сыртқы ортамен өзара әрекеттесуге қабілетті) –>протобионттар эволюциясы. Протополимер-катализдік белсенділігі бар ақуыз. Тіршіліктің пайда болу теориясы. Тіршілік - зат алмасу және көбею сияқты ерекше қасиеттермен сипатталады. Жер жасы-5-6 млрд. жыл, күн жүйесінің жасы 10 млрд. жыл. Жердегі тіршілік дегеніміз негізінен нуклейн қышқылдары мен ақуыздың өзара әрекеттесу функциясы болып табылады. Нуклеин қышқылы-нуклеотид полимерлері болып табылады, ал ол кезегінде азоттық негізден, центоздан және фосфаттан тұрады. Ақуыздар-бұлар да полимерлер және амин қышқылдардан тұрады, ақуыз функциясы - ферментативтік. Джон Берналдың теориясына сәйкес, тіршіліктің пайда болу тарихы 3 негізгі бөлімге бөлінеді: атомнан молекулаға дейін, молекуладан полимерге дейін, полимерден организмге дейін. 1-сатысында өмір үшін сипатты содан метаннан және аммиактан аралық молекула қалыптасқан. Олар, негізінен көміртектік азоттық қосылысты, жай күрделілігі бар қосылыстар-амин қышқылдар және органикалық негізді-аденин. Олар Опаринмен Холдейн гипотезаларына сәйкес «первичный бульон» құрамды бөлігі болып саналады. 2-сатыдағы процесс-бұл молекулалардың полимеризациялануы, шешуші жағдайға алып келетін динамикалық ұйымдастыру процесінің пайда болу, оны біз тіршілік деп атаймыз. 3-сатысында организмдердің дамуы және олардың ішкі ұйымдастыруларының қалыптасуы жүреді, ол жәй метаболизмдік ортадан организмдік деңгейге ауысу, яғни қоршаған өлі табиғаттан даралану. Осы этапта эобионттар пайда болды, осыдан кейін тірі табиғатта күрделі компоненттері дами бастады. Осының нәтижесіне осындай компоненттерден жүйе пайда болды, ол жүйе жоғары ұйымдасқан тірі тіршілік иелеріне тән-«эукариоттық» жасуша (ядросы бар). Дәл осыдан жасушаның пайда болуы нағыз тіршілік бастамасын береді.Тіршілік дамуының көп түрлілігі және күрделілігі осыдан басталады. Биосфера эволюциясы. Палеонтологиялық мәліметтер бойынша: протерозой эрасында (700млн. жыл бұрын)- бактериялар, балдырлар, қарапайым омыртқасыздар пайда болды. палеозой эрасында (365 млн. жыл бұрын) – жер беті өсімдіктер , амфибиялар пайда болды; мезозой эрасы- (185 млн. жыл бұрын)- сүтқоректілер, құстар, қарағай өсімдіктері пайда болды; кайназой эрасы-(70млн. жыл бұрын) – қазіргі заманғы өсімдіктер мен жануарлардың топтары пайда болды. Тіршілік орталары Тіршілік ортасы дегеніміз – кез келген организмнің өсіп-өніп, көбеюіне, ұрпақтарын жалғастыруға қолайлы табиғи, тарихи қалыптасқан орта. Қазіргі кезде жер шарында негізгі төрт тіршілік ортасы бар. Олар: су, құрлық, әуе, топырақ және организдердің өзі.Су тіршілік ортасы. Гидросфера – планетамыздың ең үлкен көлемін алып жатыр. Су – жер шарының барлық көлемінің 71% қамтиды. Судың негізгі қорын, яғни 94 % мұхиттар мен теңздер құрайды. Қалған 6 % мәңгі мұздықтар, тоңдар, өзен мен көлдердің үлесіне тиеді. Суларда жануарлардың 1500000, өсімдіктердің 500000 астам түрлері тіршілік етеді. Мұхиттар мен теңіздер екі экологиялық облыстарға бөлінеді: су қалыңдығы-пелагиаль; судың түбі-бенталь. Су тіршілік ортасы ретінде бірқатар арнайы қасиеттері бар: су тығыздығы, қысымның өзгеруі, оттектің құрамы, күн сәулесінің сіңіруі т.б. Су ортасының мекендеушілерін экологияда гидробионттар деп атайды. Су факторларына байланысты гидробионттарды бірнеше экологиялық топтарға бөледі. Суқалың қабаты пелагиаль деп, оны екі топқа бөледі – нектон және планктон.Планктон дегеніміз судың беткі қабатында оның ағысымен қалқып жүретін ұсақ омыртқасыз жәндіктер. Планктондардың өзі – зоопланктон және фитопланктон деп бөлінеді. Фитопланктондардың су организмдері үшін маңызы зор. Оларға: диатомды, көк-жасыл балдырлар, өсімдік қоректі талшықтылар , т.б. жатады. Ал, зоопланктондар бактериялар мен балдырлардан тереңіректе тіршілік етуге бейімделген. Оларға: шаянтәрізділер, қарапайымдар, моллюскалар, медузалар, сальпалар және кейбір құрттәрізділер жатады. Нектондар дегеніміз судың терең қабаттарында еркін жүзіп жүретін балықтар, т.б. организмдер. Нектондардың суда жүзуге икемді денесі, жүзу қанаттары, жақсы дамыған сезім және қозғалу мүшелері бар. Оларға балықтардың түрлері, кальмарлар, киттер, тюленьдер, морждар, дельфиндер жатады. Бентостар дегеніміз судың түбіндегі субстраттарда (шөгінділерде) тіршілік ететін организдердің жиынтығы. Бентостар: фитобентос және зообентос деп бөлінеді. Негізінен бәрі де баяу қозғалатын немесе қозғалыссыз өмір сүретіндер. Кейбіреулері шөгінді астында тіршілік етеді. Теңіздердегі фитобентосты бактериялар мен балдырлар құрайды. Судағы барлық өсімдіктерді тіршілік ету сипатына қарай: гидрофиттер және гидатофиттер деп бөледі. Гидрофиттер суға жартылай көміліп өссе, ал гидатофиттер қатарына суға көміліп өсетін өсімдіктер жатады. Өсімдіктердің суға деген қатынасына байланысты келесідей экологиялық топтарға бөлінеді: Гидатофиттер-су өсімдіктері. гидрофиттер- жер беті-су өсімдіктері. 3) гигрофиттер -ауаның жоғарғы ылғалдылығына байланысты тіршілік ететін жер беті өсімдіктері. Құрлық- әуе тіршілік ортасы. Құрлық – әуе тіршілік ортасы – экологиялық жағдайы бойынша ең күрделісі. Жер беті ортасының жарық тәртібіне өсімдіктер мен жануарлардың экологиялық адаптациясы қалыптасқан . Барлық тірі ағзаның тіршілігі үшін энергияның сырттан түсуі қажет. Оның негізгі көзі күн сәулесі болып табылады. Егер Жерге дейін жететін күн энергиясын 100% деп есептесек, онда шамамен оның 19% атмосфера арқылы сіңіріліреді, 34% кері космостық кеңістікке шағылысады және 47% жер бетіне жетеді. Тікілей күн сәулесі - әртүрлі толқынды электромагниттік сәулелерден тұрады: ультракүлгін сәулелер 1-ден 5% дейін , көзге көрінетін сәулелер 16-дан 45% дейін, инфрақызыл сәулелер -49-дан 84% дейін. Ультракүлгін сәулелер ұзынтолқынды (290-380нм) , қысқатолқынды(тірі ағза үшін өте қауіпті) , іс жүзінде толықтай 20-25 км биіктікте озон экранымен сіңіріліп кетеді. Ұзынтолқынды УКС көп мөлшерде ағза үшін зиян , ал аз мөлшерде бактерицидтік әсері бар және құрамында Д витамині болғандықтан , рахит ауруына қарсы пайдаланылады. Жарық жағдайының талабына байланысты өсімдіктерді 3 негізгі экологиялық топтарға бөледі: Жарық сүйгіш(гелиофиттер) өсімдіктер; Көлеңке сүйгіш(сциофиттер) өсімдіктер; Көлеңкеге төзімді (факультатифтік гелиофиттер) өсімдіктер. Температуралық режимге байланысты жануарларды 2 негізгі топқа жіктейміз: 1) пойкилотермдік жануарлар- бұл ағзалардың тіршілігі мен белсенділігі сырттан келетін жылуға байланысты, дене t0 –лары- сыртқы t0-ның өзгеруіне байланысты. Бұларға микроорганизмдер, өсімдіктер, омыртқасыз жануарлар жатады. 2) гомойотермдік жануарлар- өздерінің тұрақты оптимальды дене t0 –рын ұстауға қабілетті . Бұларға жоғарғы сатыдағы омыртқалы жануарлар жатады. Жер бетінің экологиялық факторларының біріне ауа жатады. Ауа – экологиялық фактор ретінде тұрақты газдың құрамы арқылы сипатталады. Ауаның газдық құрамы: оттегі шамамен 21 %, көмірқышқыл газы 0,03 %, азот 78 %, ал қалған инертті газдар жиынтығы 0,97 % құрайды. Ауаның құрамындағы аздаған өзгерістер мен ауытқулар тіршілік үшін қауіпті. Ауа ағыстарының маңызды қызметтерінің бірі - өсімдіктер мен жануарлардың кең таралуына себебін тигізуі. Ауаның қасиеттері - ауа химиялық қоспалар мен су буынан тұратын күрделі жүйе. Ол биосферадағы физико – химиялық және биологиялық процестердің жүруінің шартты және метерологиялық режимнің маңызды факторы. Атмосферадағы жекелеген компонеттердің қатынасы оның родиацияға, жылу және су режиміне, өздігінен тазартуға қабілетін анықтайды. Атмосфераның газды құрамы, су буы және әр түрлі қоспалар жер бетіне күн радияциясының өту деңгейін және жер маңы кеңістігіндежылуды ұстап тұруды анықтайды. Егер атмосферада қоспалар болмаса, онда жер бетіндегі орташа жылдық температура+150С емс, -180С болар еді. Атмосфераның маңызды қасиеттеріне оның жылдам араласуы мен үлкен ара қашықтыққа орын ауыстыруы, басқа сфералармен, әсіресе мұхитпен байланысы жатады. Мұхитпен араласу нәтижесінде мұхит атмосферадағы көміртегінің қос оксиді мен күкірт оксидін, Күкіртті газ және басқа қосылыстарды сіңіреді. Атмосферадағы қосылыстардың басым бөлігін өсімдіктер сіңіреді және зат алмасудың топырақ звеносына кіреді. Жылдам араласқыш қасиеті мен оның ластануы таратуы, сонымен қатар локаьды ластануды ғаламдық ластануға айналдырушы фактор болып табылады. Атмосфераның әр түрлі параметірлерін және қасиеттерін, оның химиялық құрамы, жылу режимін, орын ауыстыруы, родиоактивтілік, электромагниттік фон және т.б әсер етеді. Топырақ тіршілік ортасы. Жер бетінде топырақ түзілу процесі ұзаққа созылған биогеохимиялық айналымның жеміс. Топырақтағы организімдердің экалогиялық топтары. Топырақ организімдері үшін қолайлы болғандықтан көп түрлілігі жөнінен де сан алуан болып келеді. Оның негізгі үш экологиялық тобын ажыратамыз. Геобионттар – топырақтың тұрақты тіршілік иелері. Олардың барлық тіршілігі топырақта өтеді. Негізгі өкілдері: микроорганизімдер, қарапайымдылар, ұсақ жәндіктер, жауын құрттары, т.б. Геофильдер – тіршілігінің біраз бөлігі топырақпен байланысты организімдер. Оларға: шегірткелер, қоңыздар, қандалалар, ұзынаяқтылар, масалар, т.б. жатады. Бәрінің де личинкалары топырақ астында дамып ересектері жер бетінде тіршілігін жалғастырады. Геоксендер – топырақ қабаттарын уақытша немесе тұрағы (мекені) үішін ғана пайдаланушылар. Оларға: қоңыз, қандала, сол сияқты ерекшеліктеріне қарай да бірнеше топтарға бөлінетін жәндіктер жатады. Топырақта мекендеушілеріне жануарлардың келесі тобы жатады. Микрофауна(ұсақ топырақ жануарлары). мезофауна-буынаяқтылар. макрофауна-ірі топырақ жануарлары. Тірі ағзалық тіршілік ортасы Тірі организмдердің өзі – тіршілік ортасы.Өсімдіктер, жануарлар және микроорганизмдердің ішінде көптеген олардың өкілдері екінші бір организмдерді-паразиттер немесе арамтамақтар деп атайды. Барлық паразиттер немесе арамтамақтар деп атайды. Барлық паразиттер: эктопаразиттер (иесінің сыртқы денесінде кездесетін – кенелер, сүліктер, бүргелер, масалар, т.б. ) және эндопаразиттер (иесінің ішкі мүшесінде кездесетін-құрттар, бактериялар, вирустар, қарапайым паразит өкілдері,т.б.) деп жіктеледі. Ағзалық тіршілік ортасында ағзалар паразиттік және жартылай паразиттік тіршілік етеді. Ағзаның адаптациялық биологиялық ырғақтар. Фотопериодизм. Жердегі бүкіл өмір, клеткадан бастап биосфераға дейін белгілі ритмге тәуелді. Жер шарындағы табиғат белдемдері мен климаттық және географиялық белдеулердің жіктелуі Күн сәулесінің түсуіне және мұхиттардан алыс немесе жақын орналасуына байланысты. Табиғаттағы осындай жүйелі ауысып келіп отырған факторларға байланысты өсімдіктер мен жануарлар тіршілігінде құбылыстарға үйлесе дамитын бейімделушілік қалыптасады. Осыған орай, әрбір өсімдік пен жануарлардың түрлерінің өзіндік ерекшеліктері мен қасиеттері туындайды. Ол – анатомиялық-морфологиялық, физиологиялық, биохимиялық, т.б. түрдің жеке өзіне тән қасиеттерімен сипатталады. әрбір түрдің өзіне тән жыл маусымдарына, айнала қоршаған табиғаттың өзгерістеріне қарай даму, көбею, таралу ырғағы қалыптасады. Жылдың, тәуліктің ырғақты ауысу мерзіміне байланысты әрбір организмнің де тіршілігінде тәуелді түрде қайталанып отыратын даму ырғағы пайда болады. Бұл құбылыс тіршілік үшін күресте ұзақ жылдар бойы қалыптасқан даму эволюциясының жемісі. Мысалы, күзге қарай ағаштардың жапырақтарын түсіруі, жануарлар тіршіліндегі өзгерістер (жүннің қалыңдауы, тері асты май қабаттарының қалыңдауы, ұйқыға кету, т.б.). Осы құбылыстарды биологиялық ырғақтар дейді. Кез-келген табиғи ағзалар үшін табиғи ритмдерді ішкі (өзінің тіршілік әрекетіне байланысты), сыртқы (қоршаған ортадағы циклдық өзгерістер) деп бөледі. Фотопериодизм дегеніміз организмдердің тәуліктік жарық пен қараңғы мерзімінің ұзақтығына байланысты оған жауап беру реакциясы. Өсімдіктердің фотопериодизм құбылысына қарай 3 тобын ажыратуға болады. Олар: қысқы күнді өсімдіктер (гүлдеуі мен тұқымның жетілуі 8-12 сағаттық жарық мерзіміне тәуелді), ұзақ күнді өсімдіктер (16-20 сағаттық жарыққа тәуелді) және жарық мерзіміне тәуелсіз өсімдіктер. Негізгі әдебиеттер : Бейсенова Ә.Б. Экология және табиғатты тиімді пайдалану. Оқу құралы. Алматы, 2004. Сағымбаев Ғ.Қ. Экология негіздері. Оқу құралы. Алматы, 1995. Оспанова Г., Бозшатаева. Экология. Оқу құралы. Алматы, 2000. Бродский А.К. Жалпы экологияның қысқаша курсы. Оқу құралы. Алматы,«Ғылым», 1997, қаз.ауд. Көшкімбаев Қ.С. Мәмбетқазиев Е., Сыбанбеков Қ. Табиғат қорғау. Оқу құралы. Алматы, «Қайнар», 1990. Жамалбеков Е.Ү., Білдебаева Р.М. Жалпы топырақтану және топырақ географиясы мен экологиясы. Алматы, «қазақ университеті», 2000. Фурсов В.И. Экологические проблемы окружающей среды. Алма-Ата, «Ана тілі», 1991. Байтулин И.О. Экология Казахстана. Алматы, 2003. Тақырыбы: «Су ресурстарын қорғау» Жоспар: I Кіріспе Су- өмірдің нәрі Су ресурстарыныңмаңызы II Негізгі бөлім Тұщы су қорын тиімді пайдалану Қазақстанның су ресурстары а) Каспий аймағының экологиялық жағдайы б) Арал теңізінің экологиялық мәселелері в) Балқаш көлінің экологиялық мәселелері г) Кіші өзендерді қорғау мәселесі Судың ластану мәселесі Жер асты және жер үсті суларының ластану көздері Судың өздігінен тазалануы «Таза ауыз су» проблемасы III Қорытынды Су ресурстарының сарқылуының алдын алуға бағытталған кейбір іс-шаралар Таза ауыз су алу жолындағы жаңа ғылыми-техникалық озық әдіс Табиғат байлықтарының ішінде судың орны ерекше. Сусыз жер бетінде тіршіліктің болуы мүмкін емес. Сондықтан «Су - өмір нәрі» деп бекер айтылмайды. Жер бетіндегі тіршіліктің барлық формасы үшін су қажет, онсыз тіршілік процесі жүрмейді. Жер бетінің 77,5 процентін су алып жатыр. Су қорларына - өзен- көл, теңіз-мұхит, жер асты сулары, мұзды және қарлы аймақтағы су, атмосфералық ылғал кіреді. Жер шарының сулы қабатын, яғни өзен-көл, теңіз-мұхит, жер асты сулары, тоған, су қоймалары және шалшықты-батпақты жерлер жиынын – гидросфера деп атайды. Су – түсі, иісі және дәмі жоқ сұйық зат, жақсы ерітуші, айқын копиллярлық қасиеті бар. Суды, негізінен тіршілік иелері – адамзат, жан-жануар, микроорганизмдер және өсімдіктер дүниесі пайдаланады. Су, тірі организмдердің дене кұрамына кіріп, ондағы зат және энергия алмасуына қатысады. Денедегі су мөлшері 10-12 процентке кемісе, адам әлсіреп, шөлдеп, аяқ-қолы дірілдеп жалпы жағдайы нашарлай бастайды. 20-25 процентке кемісе өмір сүруі тоқтайды. Бір адам жылына 50 тонна суды пайдаланатын көрінеді. Судың жылуды аз жоғалтып, көп жинайтын қасиеттеріне байланысты, жылу тарту жүйелерінде ол кеңінен қолданылады. Сонымен қатар, өндіріс және ауыл шаруашылығы салаларында да, су көп мөлшерде қолданылдады. Көптеген өндірістік процестерде – кептіру, жылыту, энергия алу, жүк тасу, коммуналдық – шаруашылық т.б. қажеттіліктер үшін су таптырмайтын ресурс көзі. Су физикалық, химиялық тұрғыдан қарағанда ең күрделі заттың біріне жатады. Оны таза күйінде алу өте қиын. Таза су барлық уақытта жеңіл су (Н2О) мен аз мөлшерде ауыр және аса ауыр судан тұрады. Басқа заттармен салыстырғанда судың өте көп аномалиялық (ауытқулық) қасиеттері бар. 00С ден 40С дейін қыздырғанда судың көлемі көбеймейді, керісінше азаяды. Басқа деңгейлердей емес, су көлемі қатқанда сығылысудың орнына үлкейіп, оның тығыздығы төмендейді. Қысым көтерілгенде судың қату температурасы көтерілмейді, ол төмендейді. жылу сыйымдылығының және жылу өткізгіштігінің жоғары болуы. Булану кезінде жылу сіңіріледі, ал будан конденсациялану мен қату кезінде керісінше жылу бөлінеді. Су табиғатта үш агрегатты күйде: сұйық, қатты және газ тәрізді түрде бола алатын жалғыз зат болып саналады. Мыңдаған жылдар бойы тарихында адам баласы тұщы судан таршылық көрмей, өзінің тұрмыс қажеттерін толық қанағаттандырып келді. Алайда «судың да сұрауы бар» емес пе? Адам баласының мәдениеті мен техниканың, өндіріс құралдарының жетілуі, осы арқылы халық санының артуы суға өз ықпалын тигізбей қойған жоқ. Адам баласының суға деген қажеттілігі арта түсті. Бұл қажеттіліктің артқаны сондай, өндірістер шоғырланған және халық тығыз орналасқан жерлерде су тапшылығы анық байқалып отыр. Ғалымдардың есебі бойынша жер шарындағы барлық суды адам баласына бөлетін болса, әр адамға 3800 миллиард литрден су келеді екен. Алайда, сонша көп судың екі процентке жетер-жетпес бөлігі ғана ішуге жарайтын тұщы су. Судың жетіспеуі осыдан шығып отыр. Сондықтан, қазіргі адам баласының назары теңіздің ащы суларын тұщыландыру мәселесіне ауып отыр. Тұщы сулардың қоры жалпы су қорларының 2,5% құрайды, немесе 35 млн.км.3. Бұл сулардың орташа тұздылығы 1г/л аспайды. Планетаның әр тұрғынына келетін тұщы су мөлшері шамамен 8 млн.м.3. Тұщы сулардың 30% жер астындағы сулар. Тұщы судың негізгі қоры тау бастарындағы мұздықтарда, Арктика мен Антарктида мұздарында – 97% . Антарктидада мұздың ең қалың 4,78 км теңіз қабаты және дүние жүзі бойынша ең таза суы бар теңіз Уэддела осы Антарктидада тіркелген. Оның мөлдірлігі тазартылған судыкіндей. Жер шарындағы барлық өзендер 650-700 жыл ішінде қанша су берсе, тау мұздарында да сонша су бар. Адамзаттың өз тіршілігіне пайдалана алатын судың мөлшері тек 3% (өзен, көл және су қоймаларының сулары), су көздерінің басым көпшілігін пайдалану өте қиынға түседі. Жер жүзі бойынша мыңға жуық тұщыландыру қондырғылары бар. Олар тәулігіне 1,5 млн. Текше метр су тұщылайды. Бұл әрине аз. Оған қоса тұщыланған суды қажетті мөлшерге дейін минералдандыру өте қымбатқа түседі. Сондықтан бұл әдіс жақын араның ішінде қажетті мөлшерде тұщы су береді деп айту қиын. Дегенмен техникасы жетілген жағдайда болашақта адамдарды сумен қамтамасыз етуде белгілі орын алуы тиіс. Суды көбейтудің тағы бір жолы – мәңгілік суды еріту. Мұның әдісі көп. Мысалы полярлық мұздарды сол жерде ерітіп қажетті жерге тасу. Бұл өте қымбатқа түседі және еңбекті көп қажет етеді. Тау мұздарын ерітіп және қайтадан қолдан қар жауғызу арқылы қажет кезінде су алып тұруға болады. Мұздан су алудың көптеген әдістерінің ішіндегі тиімдісі – мұзтауларды еріту болып табылады. Оның саны өте көп. Н.Н.Горскийдің деректері бойынша совет зерттеушілері Антарктидадан ғана 4165 текше км су беретін 31000 мұзтау тапқан. Оларды Африка және Солтүстік Америкаға және тағы басқа жерлерге жеткізудің жобалары да бар. Мұзтауларды ауыз су ретінде пайдаланудың экономикалық тиімділігі және оның тасып әкелген жердің ауа райына ықпалы есептелді. Бұл әдіс адам баласын су тапшылығынан құтқара алады, бірақ жақын арада іске аса қоятын шаруа емес. Себебі мұз тасылудан болатын табиғат өзгерісін әлі ешкім анық болжалдай алмай отыр. Қазақстан Республикасының тұщы су қорлары орасан көп, алайда оның аумағы бойынша судың орналасу деңгейі біркелкі емес. Өзендер – республиканың негізгі су көздері. Ірі өзендер негізінен солтүстік-шығыста – Ертіс өзені, батыста – Орал өзені, солтүстікте – Сырдария өзені ағады. Қазақстанның көптеген өзендері, әсіресе олардың салалары суының аздығынан жазғы уақытта кеуіп, жеке көлшіктерге айналады және қар еріген кезде ғана тасиды. Республикада ірі көлдер (Балқаш, Теңіз, Қорғалжын, Құсмұрын, Зайсан, Марқакөл, Алакөл) және мыңдаған кіші көлдер орналасқан. Республикада барлығы 50 000 таяу көлдер бар, олардың 32 % тұщы сулы, қалғандарының суы жоғары минерализацияланған. Қазақстанның су артериялары шамамен 85 мың өзендерден құралған. Ең ірі су көздеріне: Ертіс, Есіл, Іле, Сырдария, Жайық, Шу, Талас, Асса өзендері жатады. Соңғы жылдары бірқатар көлдер жүйесінің кебуі байқалып отыр. Бұл өзендер ағысының шектен тыс реттелуі мен олардың деңгейінің табиғи ауытқуларына байланысты болып отыр. Экологиялық жағынан ең қолайсыз жағдайда Қазақстанның басты су артериясы – Ертіс өзені қалып отыр. Оның сулары жоғары дәрежеде ауыр металдармен ластанған. Негізгі ластаушы заттар – мыс, шайынды сулармен бірге келіп түседі. Су қоймалары мен бассейннің су ағыстарына түсетін негізгі ластаушыларға иондық ағыс (28 мың тоннадан астам 1994 және 1995 ж. шамамен 23 мың тоннаға жуық), азотты, органикалық қосылыстар (1,7 мың тоннаға жуық) фосфор қосылыстары (1994 жылы 1,3 мың тоннадан астам 1995 жылы 800 тонна), цинк (42,6 және 24,9 тонна 1995ж) жатады. Табиғи суларды ластайтын негізгі химиялық элементтердің барлығы дерлік су ортасына өнеркәсіп орындарының шайынды суларымен келіп түседі. Каспий аймағының экологиялық жағдайы. Бұл ауданның экологиялық жағдайы Каспий теңізінің деңгейінің көтерілуіне және жағалаулық теңіз экожүйесінің антропогенді әсерге ұшырауына байланысты болады. Ғалымдардың болжамдары бойынша теңіз деңгейінің көтерілуі жағалаулық сызықтың 2400-2700 км ұзарып, су астында қалған жерлерге тағы да 1,2-2,2 млн.га қосылуына әкелуі мүмкін. Су астында қалу қаупі әсіресе Каспийдің Солтүстік және Солтүстік Шығыс жағалауындағы мұнай кен орындарына төніп отыр. Каспий теңізі дүние жүзіндегі бекіре тәрізді балықтардың ең ірі мекен ету ортасы болып табылады. Сондықтан Каспий мәселесі тек мемлекетаралық қана емес, ғаламдық мәселе болып табылады. Каспийдің биологиялық алуантүрлілігін сақтау бүкіл әлемдік қауымдастықтың жұмысы. 1995ж. Тегеранда Каспий маңындағы мемлекеттердің өкілдерінің кездесуі өтті. Бұл кездесудің мақсаты Каспий аймағының экологиялық тұрақтылығы мен оның ресурстарын пайдалануды басқару концепциясын жасау болып табылады. Бірақ кез келген экологиялық бағдарламаның іс жүзіне асуына, оның ірі мұнай-газды аймақ ретінде маңызының артуы күрделендіреді. Арал теңізінің экологиялық мәселелері. 60-жылдардан бастап Арал теңізінің ауданы кеми бастайды. Суды ауыл шаруашылық дақылдарын суару үшін қолдану Иянь-Шань тауларымен ағып келетін табиғи су ағысын 90%- тен астам қысқартып жіберді. Теңіз ауданы 2,6 млн.га-ға кеміп, өзінің 60% көлемін жоғалтты. Судың деңгейі 12-ден 2 м-ге түсіп кетті, тұздылығы 2 еседен астам артты. Күн сайын 200 тонна тұз бен құм желмен 300 км ара қашықтыққа таралады. Шөлдену, топырақтың тұздануы, өсімдіктер мен жануарлар дүниесінің кедейленуі, климаттың өзгеруі одан әрі жалғасуда. Халықтың денсаулығы күрт төмендеп кетті. Қоршаған ортаны бұза отырып, кез келген қазіргі заманғы қоғам өзінің болашағын жояды. Болашақ ұрпақтардың дамуы үшін экологиялық тұрақтылықты сақтап қалу қажет. Экологиялық тұрақты болашақты сақтау үшін табиғи ортаның жағдайын бақылап, өнеркәсіптік қалдықтарды нормалау мен алдын алу, қалдықсыз және ресурстарды тиімді пайдаланатын технологияларды жасап, іске қосу керек. Аралды сақтап қалу мүмкін бе? 30 жылдың ішінде Арал теңізі 640 км3 судан айрылды, судың тұздылығы 26-27 г/ге жетті. Судың деңгейі 13 метрге төмендеп, су жағалаудан жүздеген километрге шегінді. Кеуіп қалған теңіз түбінен құмды-тұзды дауылдар көтерілуде. Арал теңізінің су балансы бұрын жауын-шашынмен – 5,9 км3, өзен ағысымен – 54,8 км3 қамтамасыз етіліп отырды. Орташа булану – 60,7 км3. Теңіз деңгейінің маусымдық ауытқуы – 25 см, ал ғасырлық – 3 м-ден артпаған. Дүние жүзінің ірі тау жүйелері бұл орасан үлкен аумақтың өзендерінің сулылығын қамтамасыз еткен. Аралдың су балансын Орта Азияның ірі өзендері – Амудария мен Сырдария ұстап тұрған. 60-жылдардан бастап суармалы жерлердің кеңеюіне байланысты Арал теңізіне келетін өзендердің суы күрт кеміп кеткен: 1970 жылы 35,2км3, ал 1980 жылы – 10 км3. 1986 жылы Амудария мен Сырдария өзендері теңізге жетпеген. Барлық су суармалы жерлерге жұмсалды. Арал теңізі табиғи температура реттеуші ретінде ауа райына үнемі әсер етіп отырады. Қазір ауа райының континенталдығы артты. Ең салқын айдың орташа айлық температурасы 1,5-20С-ға артқан. Ауа райының қаталдығы Арал теңізінің тартылуына байланысты одан да қаталдана береді. Бұрын өзен суының минералдығы 0,3-0,5 г/л болса, қазір ол 2,5 г/л жеткен. Судың сапасының нашарлауы мен оның жетіспеуі өсімдіктер жабынына ерекше әсер етті. Бағалы орман, қамыс, өнімді жайылымдар мен шалғындықтар жойыла бастады. Олар сортаң жерлерге айналған. 50 көл кеуіп кеткен. Балқаш көлінің экологиялық мәселелері. Ағынсыз Балқаш көлі Қарағанды (Жезқазған), Жамбыл, Алматы (Талдықорған) облыстарымен шектесіп жатыр. Көлдің ұзындығы 605 км, ені шығыс бөлігінде 9-19 км, ал батысында 74 км-ге дейін жетеді. Шығыс жағында Балқаш-Алакөл көлдер жүйесімен, батыс бөлігі Бетпақдала шөлімен, ал оңтүстік және оңтүстік-шығыс жағы Шу-Іле және Іле Алатауымен шектесіп жатыр. Балқаштың суының көлемі – 112 км3, ең үлкен тереңдігі – 6м. Көлдің батыс бөлігіне Іле өзені, шығыс бөлігіне – шағын өзендер Қаратал, Ақсу, Лепсі келіп құяды. Балқаш – жартылай тұщы көл. Сарыесік түбегі Балқашты батыс және шығыс бөліктерге бөледі. Батыс бөлігіндегі су ірі Іле өзенінің келіп құюына байланысты тұщы болған. 1967 жылы Іле өзенінде Қапшағай ГЭС-і салынды, ал 1970 жылы ірі Қапшағай су қоймасы іске қосылды. Шілік өзенін бөгеу нәтижесінде Бартоғай су қоймасы жасалды. Балқаш көлінің бассейнінің өзендерінен 1965-1986 жылдар аралығында алынатын судың мөлшері 4,8-ден 5,6км3/ жылына артқан. Соңғы онжылдықта Балқаш көлінің деңгейі 2 м-ден астам төмендеп, су бетінің ауданы 4,7 мың км2 кеміген. Көлдің тұщы бөлігіндегі судың минералдылығы артып келеді (1,2-ден 1,9 г/л, ал Балқаш қаласы маңында 2,2-ден 2,3 г/л дейін). Судың минералдылығы, өндіріс орындары мен коммуналдық шаруашылықтың шайынды сулары, суармалы жерлердің қайтымды-дренаж суларының келіп түсуінің артуы нәтижесінде сумен қамтамасыз ету, адамдардың демалу жағдайлары нашарлап, аурулар саны артып отыр. Балқаштағы экологиялық жағдай тек Балқаш көлін сақтап қалу ғана емес, бүкіл Балқаш-Іле аймағының келешегін ойлауды талап етеді. Кіші өзендерді қорғау мәселесі. Республикамызда 8643 тұрақты және уақытша су ағыстары белгілі. Олардың жалпы ұзындығы 123 мың км. Қазақстанның өзендерінің ерекшелігі олардың біртекті таралмауында. Жер бетіндегі су қорына әсіресе, Орталық және Батыс Қазақстан кедей. Республикамыздың бүкіл жазық территориялары сирек өзен торымен сипатталады. Ойыл және Нұра бассейнінде ол бар болғаны км2-ге шаққанда 0,13-0,022 км. Шөлейт және шөлді аудандарда өзендер жоқ деуге болады. Қалың өзен торы Тянь-Шань, Жоңғар Алатауы мен Кенді Алтайдың таулы және тау етегіндегі аудандарында түзілген. Бірақ, осы таудың сулы өзендерінің өзін суаруға пайдалануға байланысты халық тұщы судың тапшылығын сезіп отыр. Бұл республика халқынан суды ысырапсыз пайдалану мен қорғау қажеттілігі туралы ойлануды талап етеді. Кіші өзендер кіші деп аталғанмен, олардың экология тұрғысынан алғандағы маңызы үлкен. Себебі, ірі өзендердің жағдайы кіші өзендерге байланысты. Олар қан тамырлары тәрізді бүкіл Қазақстан территориясын торлап жатыр. Республика өзендерінің көп бөлігі Каспий, Арал теңіздерінің, Балқаш және Теңіз көлдерінің тұйық ішкі бассейндеріне, тек Обь-Ертіс, Есіл және Тобыл өзендерінің бассейні ғана Солтүстік Мұзды мұхитына барып құяды. Судың ластану мәселесі. Ластануға судың барлық категориялары: мұхит, континенттік, жерасты, әр түрлі дәрежеде ұшырайды. Судың, әсіресе ауыз судың сапасы халықтың денсаулығын анықтайтын маңызды факторлардың бірі болып табылады. Дүниежүзілік денсаулық сақтау ұйымының мәліметтері бойынша судың сапасының төмен болуы себепті шамамен 5 млн. Адам өледі де, әр түрлі дәрежеде уланған немесе ауырған адамдардың саны 500 млн.-нан 1 млрд.-қа дейін жетеді. Барлық сулардың құрамында еріген заттар болады. Судағы көп кездесетін элементтерге кальций, натрий, хлор, калий жатады. Судың тұздылығы әдетте онда еріген химиялық заттардың жалпы мөлшерімен немесе құрғақ қалдықпен (г/л) анықталады. Теңіз суында шамамен 35 г/л тұз болады. Суларда органикалық заттар мен әр түрлі жүзіп жүрген заттар, сонымен қатар патогенді ағзалар да болады. Сулардың ластануы ең бірінші рет су қоймаларына әр түрлі ластаушы заттардың келіп түсуіне байланысты болады. Ластаушы заттарға негізінен топырақ эрозиясының өнімдері, минералдық тыңайтқыштар, улы химикаттар және тағы басқа заттар жатады (азот, фосфор және басқа биогенді элементтер мен олардың қосылыстары, органикалық заттар, пестицидтер, тұрмыстық қалдық, мұнай және мұнай өнімдері). Ластаушы заттардың басым бөлігін атмосфералық жауын-шашын әкеледі. Сулардың канализация ағысымен, тұрмыстық қалдықтармен, өнеркәсіп орындарының қалдықтарымен, су транспорттарымен ластану үлесі де жоғары. Қазір бүкіл планетада іс жүзінде қандай да бір дәрежеде адам қызметі нәтижесінде ластанбаған беттік тұщы су көзі жоқ деуге болады. Солтүстік суларының тазалығы туралы түсінік те алдамшы. Бұл сулардың аз ластануы олардың олиготрофтылығынан, өздігінен тазару қабілетінің әлсіз болуы мен төмен температурамен теңеседі. Осы уақытқа дейін мұхиттың шексіз өздігінен тазаруға қабілеті туралы түсінік қалыптасқан. Қазіргі бүкіл адамзат мұхиттың дүниежүзілік қоқыс төгетін жер еместігіне көз жетіп отыр. Атақты француздың мұхит зерттеушісі Жак Кусто егер оны уландыру тоқталмаса оның тіршілігі жойылуы мүмкін деген қауіп айтады. Қазір кең таралып отырған, қаупі ластаушы заттарға мұнай мен мұнай өнімдері жатады. Белгілі мәліметтер бойынша қазір мұхиттың суына жыл сайын 30-дан 50млн. Тоннаға дейін мұнай төгіледі. Ал оның әр тоннасы 12 км2 суды қабықшамен жаба алады. 0,05 мг/л мұнай су құрамында болса, су ішуге жарамсыз, ал концентрациясы 0,5 мг/л болғанда көптеген су ортасымен байланысты ағзалар тіршілігін жояды. Иістік құбылыстардың әсерінен балықтар мен тағы басқа ағзалардың миграциялық жолдары өзгереді. Мұнайлы қабықша су бетінің шағылыстыру қабілетін өзгертеді. Ол жылу балансының өзгеруіне және ғаламдық жылу мен ылғалды тасымалдау құбылыстарына әкеледі. Мұнайдың айтарлықтай мөлшері жағалауға атқаратын жағалаулық экожүйелерді жояды. Бұзылған экожүйелердің қалпына келуіне өте көп уақыт керек. Егіншілікпен айналысатын аудандарда ауыл шаруашылығы судың негізгі ластаушысы болып табылады. Су топырақтың бұзылу өнімдерімен, тыңайтқыштармен, улы химикаттармен, мал шаруашылық кешендерінен шайылған сулармен ластанады. Мал шаруашылық кешендері кейбір аймақтарда негізгі мәселе болып табылады. 100 мың ірі қара мал басы бар кешен қоршаған ортаны миллион халқы бар қаламен бірдей ластандырады. Мұндай кешендердің негізгі ластауы органикалық заттармен және азоттың әр түрлі қосылыстарымен, биологиялық агенттермен байланысты. Жер үсті немесе жер асты суларына химиялық заттардың, микроорганизмдердің не басқа заттардың түсуі судың ластану көзі деп аталады. Шайынды сулар – адамның тұрмыстық не өндірістік қызметінде қолданылғаннан кейін шығарылатын сулар және елді мекендер территорияларынан, өнеркәсіптік объектілерден және ауылшаруашылық өрістерден атмосфералық жауын-шашын нәтижесінде ағылатын сулар. Жер асты суларының ластану көздеріне жататындар: өнеркәсіп қалдықтарын сақтайтын орындар мен оларды көлікпен тасымалдау; коммуналдық және тұрмыстық қалдықтар аккумуляциялану орындары; пестицидтермен және минералдық тыңайтқыштармен өңделетін ауылшаруашылық жерлер; өнеркәсіп алаңшалар, сүзу өрістері, бұрғылау ұңғылары, тау-кендік жыныстық жұмыстар. Өндірістік шайынды сулар технологиялық үрдістерде суды қолданғаннан кейін әртүрлі өнеркәсіптік объектілерден түседі. Оларға пайдалы қазбалар өндірілуінде жер бетіне сорылып шығарылатын жуынды сулар да жатады. Өндірістік жуынды суларда негізгі ластаушы заттар биоорганикалық қоспалар болады, олардың көздері содалық, күкіртқышқылдық зауыттар, шахталар, кен орындары және химиялық зауыттар болады. Осы ластаушы қоспаларға қышқылдар, сілтілер, әртүрлі металдар тұздары, күкірттік қосылыстар, минералдық қалқыған заттар кіреді. Целлюлоза-қағаз өнеркәсібі. Су қоймалары үшін целлюлоза-қағаз өнеркәсібінің жуынды сулары өте қауіпті. Осы мекемелердің жуындыларында ағаш үгіндісі, ағаш талшықтары, шайыр болады және олар оттегі жұтып қышқылданады. Осы ластықтар суға ұнамсыз иіс беріп, түрін өзгертеді, сулардың түбі мен жиектерінің көгеріп, саңырауқұлақтық өсулер дамуына ықпал жасайды. Жылу энергетикасы. ЖЭО жуынды сулары су қоймалары суларынан 8-100С жоғары жылыған болады. Су қоймалары суының температурасы көтерілгенде оларда микро және макро планктон, судың «гүлденуі» дамуы күшейеді, түсі мен иісі өзгереді. Судың «гүлденуі» су қоймасының тайыз көк-жасыл балдырлар өсетін жерлерінде жиі кездеседі. Балдырлар шіру үрдісінде фенол, индол, скатол және басқа да улы заттар шығарады. ГРЭС шайынды сулары салқындату жүйелерінде, гидро-күл-шлак шығаруда, мазутпен жұмыс істейтін агрегаттардың қызған үстіңгі бетін жуғанда, жабдықты химиялық жуғанда, мұнай өнімдерін пайдаланатын аппараттардың, ГРЭС аумағының жауынмен жуылғандарынан, күл төгілген орындардың сүзінді суларынан және жақын жатқан аумақтардан су жиналуынан пайда болады. ГРЭС жабдықтарын жуған сулар күкірт қышқылымен, темірмен, никельмен, ванадиймен, мыспен ластанады. Қара металлургия. Қара металлургияның жуынды сулары металды майсыздандырудан және қышқылмен өңдеуден кейін, жуудан кейін пайда болады. Домна пештерінде және болат балқыту өндірісінде, ыстықтай темір созу өндірісінде жуынды ағындылар механикалық қоспалармен және тұздармен ласталған. Металдарды әртүрлі қышқылдармен өңдегенде жоғары минералданған өңдеулік ерітінділер және өндірістердің көпшілігінде жуынды суларда фенолдар, роданидтер, ционидтер, сульфидтер болады. Түсті металлургия. Түсті металлургия өндірістерінің жуынды сулары қатты минерал заттар қоспаларымен, флотациялық реагенттер қалдықтарымен ластанған. Олардың көпшілігі улы (күкірт натрий, цианидтер, ксантогенаттар, мұнай өнімдері). Ауыр металдар иондарымен (мыс, қорғасын, мырыш, никель, молибден, вольфрам, сынап, кадмий) және мышьякпен, фтормен, сурьмамен, сульфаттармен, хлоридтермен де ластанған. Машина жасау. Машина жасаудың жуынды сулары әртүрлі машиналар мен аппараттарды дайындау үрдісінде пайда болады, өйткені технологиясында жуу, майсыздандыру, қышқылмен өңдеу, химиялық, гальваникалық және сырбояулық қаптап жабулар, созу және қысуда майлаулар қолданылады. Осындай өндірістердің жуынды сулары нашар ыдыратылатын бетті-белсенділік заттар, фосфаттар, органикалық заттар (бензин, үшхлорэтилен, төртхлористік көміртегі және басқалар), ауыр металдар тұздары болуымен сипатталады. Көмір өнеркәсібі. Көмірлік қиылыстардың жуынды суларының сапалық құрамы орташа тұздық құраммен және қаттылығымен, қалқыған заттармен химиялық қосылыстармен және микрофлорамен қомақты ластануымен сипатталады. Көмірлік қиылыстар жуындыларында көмірдің пирогендік ыдырауы нәтижесінде пайда болатын фенол болады. Карьерлік суларда күзгі кезеңде сульфаттардың, кальцийдің, магнийдің, натрийдің және калийдің көбеюімен байланысты минерализация жоғарылауы байқалуы мүмкін. Судың радиоактивтік ластануы. Су қоймалары мен адамдар денсаулығына ең үлкен қауіп тудыратын радиоактивтік ластанулар. Радиоактивтік ластану көздеріне ядролық жарылыстар, атом реакторларының жарылысы, радиоактивтік изотоптарды өнеркәсіпте және зерттеу мекемелерінде қолдану, радиоактивтік қалдықтарды көму, уран кенін тазалау бойынша және реакторлардың ядролық отының өңдеу бойынша зауыттар атомдық электростанциялар жатады. Тұрмыстық жуынды сулар. Тұрмыстық жуынды сулар жоғары емес органикалық ластануымен, бірақ жоғары бактериалдық ластануымен және гельминттер жұмыртқасының жоғары мөлшері болуымен сипатталады. Қалалық жуынды суларда азот, фосфор, кадмий, жуушы заттар болады. Ауылшаруашылық жуынды сулар. Су қоймаларының экологиялық тепе-теңдігіне ауыл шаруашылығының әсері күшеюде. Жаңа жерлерді егіндікке жырту, батпақтарды құрғату, ормандарды шабу, оның ішінде кіші өзендер бассейндерінде орманды шабу өзеннің гидрогиологиялық тәртібін өзгеріске әкеледі, қайнарлар мен бұлақтардың кеуіп қалуына әкеледі. Минералдық тыңайтқыштарды қолдану көлемінің, өсімдіктерді зиянкестерден және арамшөптен қорғау құралдары тез өсуіне, химиялық заттарды жаңбыр суымен жуылып су қоймаларына және жер асты суларына түсуіне әкеледі. Жаңбырлық және нөсерлік ағынды сулар. Жаңбырлық сулар атмосфералық жауын-шашын түсуінің нәтижесінде пайда болады. Оларды жауындық және мұздық деп бөледі. Жауындық сулар категориясына егін суғару, жуу суларын жатқызуға болады. Елді мекендердің нөсерлік ағындар негізінен инертті заттар – саз, құм, көмір шаңы болады. Нөсерлік ағындарға ұқсас ағындар карьерлер жасау нәтижесінде, гравийді жууда, гидравликалық әдіспен кен алу шахталары жұмысында, өнеркәсіптік өндірістердің беттік үлестерінен ластануларды жуғанда және ауылшаруашылық жерлерді суғарғанда болады. Осы суларда әртүрлі токсикалық заттар болуы мүмкін, олардың ішіндегі ең қауіптілері ауыр металдар иондары инсектицидтер мен пестицидтер құрамына кіретін хлорорганикалық препараттар болады. Судың өздігінен тазалануы. Өздігінен тазару дегеніміз табиғи физикалық, химиялық және биологиялық процестердің нәтижесінде гидросферадағы ластағыштардың табиғи түрде ыдырауы. Табиғаттағы сулардың өздігінен тазалануы заттардың алмасуы арқылы жүреді. Тұщы сулардың өздігінен тазалануы онда тіршілік ететін бактериялар, балдырлар және жоғарғы сатыдағы өсімдіктер және омыртқасыз жануарлар сияқты организмдердің тіршілік процесіндегі әрекеті арқылы жүзеге асады. Сондықтан табиғатты қорғаудың міндеті – судағы осы тіршілік қатынастарын сақтап, бірқалыпты ұстау болып табылады. Кез келген су айдыны өзіне ғана тән тірі организмдері, өсімдіктері жіне микроорганизмдері бар күрделі тіршілік жүйесі. Табиғи жағдайда суға бактериялар немесе химиялық қоспалар түсетін болса өздігінен тазалануы тез жүреді де су тазалығы бастапқы таза қалпына келеді. Мұхиттар мен басқа да су қоймалары суының тазалануы планктондардың сүзгіштік қабілеттеріне байланысты келеді. Мысалы, осы планктондар арқылы өздігінен Байкал көлінің жылына 60 км3 суы тазаланып отырады. Планктондар органикалық, минералдық заттектермен қатар суқоймаларын әртүрлі ауру қоздыратын бактериялар мен вирустардан да тазалап отырады. Қара теңіз бен Каспий суын табиғи жолмен тазалап отыратын организмдер моллюска-санитар-дрейсен болып табылады. Ол өз денесі арқылы судағы органикалық қалқыма заттектерді өткізіп, өзінің тіршілігіне қажетті элементтерді пайдаланып, минералдандырып қажеті жоғын ерімейтін түрге айналдырып сыртқа шығарады. Биологиялық фактормен қатар су қоймаларының өздігінен тазалануына физикалық және химиялық факторлар да қатысады. Ластағыш заттектердің мөлшерін төмендетуге қатысты негізгі физикалық факторларға сұйылту, еріту және араластыруды жатқызуға болады. Мысалы, өзеннің қарқынды ағысы қалқыма заттектерді жақсылап араластырып, олардың концентрациясын төмендетеді. Өздігінен тазалану процестері жүргенде ерімейтін заттектер, олардың бетіне жабысқан бактериялар салмақ күшімен су қоймаларының түбіне біртіндеп тұнып отырады, кейін әртүрлі физикалық факторлар әсерінен тіршілігін жояды. Күшті ластанған, жаңа ағыс келіп құймайтын суларда өздігінен тазару процесі ешқашанда болмайды, сондықтан лас суларды таза сумен араластыру өте қажетті жағдайларға жатады. Судың залалсыздандырылуы күннің ультракүлгін сәулесінің күшімен де өтеді. Физикалық факторлардың ішінде су қоймаларына түсетінбактериялар мен вирустардың ұзақ уақыт сақталуына қолайлы әсер тигізетін температуралық фактор. Температураның төмендеуі олардың ұзақ сақталуына жағдай туғызады. Мысалы, жылы жерлерде олар 200-300 м алшақтыққа дейін жайылып жатса, солтүстікте 2000 км жерге дейін өлмей ағып жүре беруі мүмкін. Өздігінен тазалану процесіне ықпал жасайтын химиялық факторлардың ішінде органикалық және анорганикалық заттектердің тотығуын атап өтуге болады. Су қоймаларының көп мөлшерде химиялық заттектермен ластануы судың өздігінен тазалануына қатысты процестердің жүруін бұзады, микроорганизмдердің ең маңызды қасиеттерін өзгертеді және ең ақырында судың сапасын төмендетеді. Табиғи түрде судың тазалануы су айналымына да тәуелді. Таза ауыз су проблемасы. Таза және қауіпсіз ауыз суға деген мүмкіншілік адамның негізгі сұраныстарының бірі. Есептеулер бойынша дамушы елдерде шамамен 1 млрд. Адам ауыз суға толық жете алмай отыр. Жалпы адамзаттың 20% таза ауыз суға тапшы болып отыр. Су жетіспей отырған елдерге Солтүстік Африка, таяу Шығыс, Азия мемлекеттері жатады. Су мен су ресурстарының жетіспеуі көптеген Оңтүстік Африка елдерінің дамуында да тежеуші факторлардың бірі болып тұр. Өте үлкен мөлшерде суды Европа елдері қолдануда. Адамның денсаулығы судың тазалығы мен оның санитарлық жағдайларды жақсартудағы ролімен тікелей байланысты. Адамның санасының өсуінің нәтижесінде судың жетіспеуі су дағдарысына алып келуде. Қазіргі уақытта шамамен 2 млрд. Адам канализациясы бар жағдайға қол жеткізе алмай отыр, 5 млн. Адам, оның ішінде 2-3 млн. балалар, жыл сайын таза судың жетіспеуіне байланысты әр түрлі аурулардан өлуде. Қаладағы су құбырларынан басқа сулар табиғи ресурстарға жатады және қоғамдық меншілікке қарайды. Су ресурстарын қолдану, оны ары қарай дамыту мен оны қолдануға контроль жасау тек ұлттық мүдде тұрғысынан ғана емес, халықаралық бірлестік дамытуды талап етеді. Жер бетіндегі таза судың қоры жеткілікті көрінгенмен, әлемнің көп аймақтарындағы халық өте аз мөлшерде ғана таза суды қолданып отыр. Әлемдегі барлық өзендердің суларының жылдық көлемі шамамен 42600 км3, ал бұл 1995 жылғы есептеулер бойынша адам басына шаққанда 7600м3 келеді. Бірақ та адам санының өсуіне байланысты бұл шама жыл сайын өзгеруде. Мысалы, 1970 жылы бұл шама 12900 болса, 2005 жылы ол 5200м3-ге дейін төмендеуі мүмкін. Жыл сайын әр түрлі өнімдермен ластанған және арнайы тазартусыз пайдалануға келмейтін су объектілерінің саны көбейіп келеді. Су қоймаларының ластануы су экожүйесінің құлдырауына әкеліп, табиғи судың сапасын қалпына келтіретін гидробионтардың тіршілік жағдайын қиындатады. Көп жағдайларда табиғи су объектілерінен алынған судың тек бір бөлігі ғана қайтадан су экожүйесіне қайтып оралады, ал көп бөлігі далаға кетеді және буланып ұшып кетеді. Таза суды өте көп қолданушылар мен ластаушылар қатарына ауыл шаруашылығы мен өнеркәсіптік өндіріс орындары жатады. БҰҰ деректері бойынша елдің суға деген сұранысы су қорының 40%-тін құрайтын болса, ол жағдайда бұл елде су проблемасы пайда болады. Бұл жағдайда су проблемасы осы елдің экономикалық дамуын тежеуші факторлардың біріне айналады. Соңғы уақытта таза ауыз суды жер асты су көздерінен алып пайдалану өсіп барады. Бұл адамзаттың өмірге өте қажетті ресурстарының азаюына әкелуде. Жыл сайын планетамыздың жер асты су қоймалары 160 млрд. м3 таза судан айрылуда. Судың мұндай үлкен көлемі оның айналымы кезінде орнына қайтып келмейді. Таза суға деген жетіспеушілік пен оның ұқыпты түрде қолдану мәселелері бұрыннан бері адамзатты ойландыруда, себебі бұл факторлар сол елдің тұрақты түрде дамуында, халқының денсаулығында және тұрмыстық жағдайының деңгейінде, өнеркәсіп пен тамақ өндіруде маңызды роль атқарады. Болашақта бұл жағдай қиындай түсуі мүмкін. XXI ғасырдың ортасына қарай Жердің негізгі стратегиялық ресурсы мұнай емес, таза су болуы ғажап емес. Деректер бойынша 2005 ж. әлемнің 50 шақты елінде тұратын 3 млрд. халық ауыз су тапшылығына тап болады. Бұл жағдай суға байланысты экологиялық және қоғамдық шиеленістерді қиындатады. Қазірдің өзінде Африка мен Таяу Шығыс елдеріндегі ауыз судың жетіспеушілігі кедейлік пен артта қалғандықты, политикалық тұрақсыздықты әкеліп отыр. Судың жетіспеушілігі этникалық және мемлекетаралық қақтығыстардың себебі болып отыр. Египет, Судан мен Эфиопия елдері Ніл өзенінің суына таласуда. 1998 ж. жаз айларында жарты миллионға жуық палестинстерге Иордан өзенінің батыс жағалауынан су алуға кедергі жасалды, бұл Израиль мемлекетіне деген қатты наразылықты тудырды. Индия мен Бангладеш төменгі жақтарында кейде кеуіп қалатын Ганг өзенінің ағымына байланысты араздасуда. Алдағы уақытта Ресей мен Қазақстан Қытай мемлекетінің су саясатының әсерін сезінуі мүмкін. 1999 жылдан бастап Қытайда Ертіс өзенінің жоғарғы ағынын басқа жаққа бұру басталды. Қазірдің өзінде бұл өзеннің ластануы күшейіп, өзендегі су көлемі азайып келеді. Жеке елді аймақты таза сумен қамтамасыз ету проблемалары тек сол елге ғана қиындық әкелмей бүкіл әлемдік дағдарысқа үлес қосады. Сондықтан да мұндай дағдарыстық жағдайларды шешу бүкіләлемдік бірлесіп іс-әрекет жасауды талап етеді. Үлкен ойшылдықпен және болашақтық тұрғыдан суға адамзаттың негізгі стратегиялық ресурсы ретінде қарау XXI ғасырдың маңызды бағыттамаларының бірі болып тұр. БҰҰ Ассамблеясы 2003 жылды «Халықаралық таза ауыз су жылы» деп белгіледі. Судың жетіспеуінің алдын алуға бағытталған іс-шараларға ең алдымен суды тиімді пайдалану мен оны территориалдық жағынан өзгерту жатады. Судың сарқылуы мәселесін шешу үшін төмендегі іс-шараларды жүзеге асыру қажет: суды тиімді пайдалану технологияларын қолдану; өндірісте суды бірнеше рет қайталап пайдалану; ауыз су мақсатында берілетін суды өндірістік процестерде пайдаланбау. Бұл әсіресе, жоғары сапалы жер асты суларына қатысты; ауыз суды тамаққа, тұрмыстық мақсатта пайдаланатын судан бөлек құбырмен беру. Суды мөлшерлі түрде беру және оның ысырап болуына жол бермеу; суға экономикалық тұрғыдан негізделген баға қою. Нақты бағалау нәтижесінде судың ысырап болуын біршама төмендетуге болады. Судың ластануын кеміту шаралары ең алдымен суды пайдалану, тазалау әдістері мен технологиялық процестерін жетілдірумен байланысты суды тазарту әдістерінің ішінде биологиялық әдістер өте тиімді және жақсы нәтиже береді. Қазіргі кезде халықтың өсуіне байланысты және оның ірі қалаларына шоғырлануы, сондай-ақ өндіріс орындарының сонда жинақталуынан суға деген сұраныс күрт өсіп кетті. Және өндірістік ағынды сулардың көлемі де көбейді. Көптеген өндіріс мекемелері осы ағынды суларды су құбырларымен өзендерге жіберіп, оларды ластайды. Осының салдарынан өзендер мен көлдердің тым ластанып кеткендігі соншалық оларды ішу және жұмыстық қажетке пайдалану былай тұрсын, өндіріс мақсаты үшін де пайдалану қиынға соғуда. Сонымен қатар мұндай лас суларды пайдалану тұрғындардың денсаулығына да зиянды әсерін тигізуде. Жер үстіндегі сулардың ластануы, әсіресе, ірі қалалар мен өндіріс кешендерінде санитарлық нормадан әлдеқайда артық екендігі анықталып отыр. Мәселен, Орал, Тобық, Есіл өзендері ағынды лас суларды көп жинайтын болғандықтан қазір қатты ластанып отыр. Сол сияқты Ертіс бассейні де экологиялық жағынан таза емес. Судың құрамында ауыр металдардың (цинк, кадмий, мышьяк, фенол және басқалары) иондары көп, олар өзенге негізінен металлургиялық өндірістің ағынды суларымен келеді. Орталық Қазақстандағы Нұра өзенінің суында сынап өте көп. Оның құрамындағы азоты бар заттардың концентрациясы тым жоғарылап кеткен. Ал Сырдария өзені және Шардара су қоймаларының суларының ластануы әр түрлі улы химикаттардың әсерінен екендігі баяғыдан белгілі. Сол сияқты Балқаш көлінің суы «Балшахмед» өндірісінің улы химикаттарының ағынды суларының әсерінен ластануда. Химиялық заттарды ауыл шаруашылығына шамадан артық пайдалану және өндірістік ағынды, коллекторлы-дренажды суларды жаппай жіберудің салдарынан өзендерге тұзды концентрация көбейді. Өзендер мен көлдердің жер асты суларының ластануы негізінен оларға ағынды лас суларды жіберуден болып отыр. Су құбырларын көп ластайтын өндіріс орындарына целлюлоза-қағаз, химия, мұнай өндірістері, металлургиялық және тау-кен өндірістік мекемелері жатады. Қоршаған ортаны қорғаудың тиімділігін жоғарылаудың ең басты жолы - өндіріске ауа, топырақ және су құбырларының ластануын кемітетін қор сақтау, аз қалдықты және қалдықсыз жаңа технологиялық процестерді кеңінен енгізу. Осындай қор сақтайтын технологияның бірі - Әл-Фараби атындағы қазақтың ұлттық университетінің жасаған, суды лазермен активизациялау. Белгілі жиелікте, аз қуатпен суды лазердің сәулесі арқылы активизацияланғанда сингитті оттегі қозады, содан барып, суды тез активизациялайды. Су қоймаларын, өзенді тазарту, мал шаруашылығына қажетті жоғары белокты жемшөп алу үшін лазерлі агрогидроэнергетикалық модуль жасалды. Мұны технологиялық жағынан сынау және өндіріске енгізу Алматы қаласының Сорбұлақ көлінде, Ертіс өзенінде және Бұқтырма су қоймасында жүргізілді. Ол үшін өзен және су қоймаларын тазартудың тиімділігін анықтау жұмыстары атқарылады. Бұл лазерлі агроэнергетикалық модульді қолдану арқылы биологиялық сапасы жоғары су алу қамтамасыз етілді. Сонымен қатар бұл модуль судағы ауыр металдардың иондарын және улы органикалық заттарды айтарлықтай кемітеді. Гидроегістікке лазерді қолдану көк балаусаның өнімін 8-10 есе жоғарылатады, судың бактериялық ластығын 10 есе, қорғасынның иондарын 40, никельді 80, кадмийді 55, сынапты 69, фенолды 48, мысты 50%-ке қысқартуға болатындығы дәлелденді. Суды резонансты лазерлі әдіспен өңдеу анаэробты бактериялардың және вирустардың өмір сүруін тоқтатады, эпидемиялық аурулардың шығу мүмкіндігін төмендетеді, хлор және басқа тотықтырушыларды қолданбай-ақ судың тотықтану қасиетін жоғарылатады. Сонымен, өсімдіктерге, жануарларға және адамға қажетті биологиялық жоғары сапалы судың алынуына жағдай туғызады. Қазір ауыз суға деген сұраныс күн санап өсуде. Судың, біріншіден, санитарлық жағынан сапасы жоғары болуы қажетті, екіншіден, суды үнемді пайдалану керек. Ауыл шаруашылығында егісті суарудың тиімді әдістерін қолдану қажет. Мысалы, аэрозольді әдісті қолданғанда ауа, өсімдік және топырақ кішігірім тамшылар арқылы бірқалыпты ылғалдандырылады. Тағы бір айта келетін жай – ағын суларды су құбырларына жіберіп, суды ластаған өндіріс орындары мен мекемелерді халықтың игілігіне, тұрмыс қажетіне пайдаланып жүрген су құбырларына не болса соны, яғни тамақ қалдықтарын, шөлмектер мен синтетикалық, өзен мен көл жағасына барып машиналары мен техникаларын жуып, суды ластап және жағадағы жасыл шөпті өртеп, ағаштарды кесіп отқа жағып, қоршаған ортаны ластап, табиғатты бұзушыларды заң жүзінде қатаң тәртіпке шақыру керек. Біздің Қазақстанда минералды (құрамында 1-6 г/л тұзы бар) су қорлары өте көп, оларды тиімді пайдалану қажет. Ал ол үшін суды тұщыту керек. Ал өндіріс орындары мен шаруашылықтар лас ағынды және аяқ суларды су құбырларына жібермегендері жөн. Ластанған су көздерін лазер технологиясы арқылы тазартқан тиімді. Ол әрі арзан, адамның денсаулығына да зиянды әсер етпейді. Бұл ғылыми озық әдіс бойынша еліміздің кез келген өзендері мен көлдерінің суларын тұщытып, ауыз суға пайдалана аламыз. Қолданылған әдебиеттер: Баешов А., Дәрібаев Ж.Е., Шакиров Б.С. «Экология негіздері» Түркістан 2000ж Мамбетқазиева, Сыбанбеков «Табиғатты қорғау» Алматы 1990 ж. Жатқанбаев Ж. «Экология негіздері» Алматы 2003ж Ү.И. Кенесариев, Н.Ж. Жақашов «Экология және халық денсаулығы» Алматы 2003ж. «Атамекен» журналы № 9 9 мамыр 2003 жыл № 1 7 қаңтар 2004 жыл № 3 11 ақпан 2004 жыл «Экология» К.Лосев, Провадкин, Москва – 1998г Тақырыбы: Атмосфералық ауаны қорғау Жоспар: Атмосфералық ауа қабаттары Тропосфера Старатосфера Мезосфера Термосфера Экзосфера Атмосфералық ауаны қорғау жолдары Өндірістік және тұрмыстыққалдықтарды жинау,өңдеп іске жарату кезек күтпейтін мәселе болып табылады .Бұл болмайынша қоршаған ортаның ластануын тоқтату мүмкін емес. Өзендерге теңіз бен мұхит суларына күн сайын мыңдаған тонна өндірістік қалдықтар мен лай сулар құйылып қалалардың үстін оңаша бұлт пен түтін емес,қара бұлдыр тұман жауып тұрса ормандар жойылып жербеті айқыш ұйқыш қазылып жатса радиоактивті қалдықтар мен өсімдіктер мен жануарларғажиналып,олардан адамдарға өтіп, өлім жітім, ауыру сырқау көбейсемұны экологиялық дағдарыс адамзатқа төнген үлкен қаіп қатер деп түсінуге болады. Көп жылдар бойы экологиялық дағдарысты капиталистік қоғамнан көріп олардың өндіріс күштері мен жеке меншік иелерін кіналадық. Айтылғандырастау үшінжер меноныңбайлықтарыжеке меншікте, оның иелеріпайда болу үшін өзара қырылысады.Бірінің капиталы мен байлықтары екіншісіне қарсы тұрады. Деген дәлелдер келтіреді.Мысалы, химия концерніауіаны және суды ластап жатса, оның иесінің басы ауырмайды деп жазғырдық.Осыны дәлелдеу үшін әлемге әйгілі мысалдарды келтіріп , басқаларға кінә тақтық. Сондағы тағылған кінә мыналар еді: бодан және жартылай бодан елдердің табиғат байлықтарын сүлектей сору Қоршаған ортаны ластайтын кәсіпорындарды бодан е,лдерде алып өздеріне таза ортаға зияны жоқ өнімдерді әкелу, 1945-1970 жылдары АҚШ атлант мұхитының шығыс жағалауына 3 мыңметр тереңдікке радиактивті қалдықтар алынған 85 мың контейнер тастады. Қазір бұл контейнерлер шіріп радиоктивті қалдықтармұхит суына жайылуда.Атлант мұхитынаосындай контейнерлерді Ұлыбритания,Франция,Бельгия ФРГ-де тастады. Хандфордтағы (АҚШ) атом электр станциясы радиоктивті қалдық суларды Колумбия өзені арқылы Тынық мұхитқа ағылшындар ирланд теңізіне француздар Рона өзеніарқылы Жерорта теңізі не жіберіп жатыр. Үндіқытай түбегіндегі соғыс кезіндегі АҚШаспандағы бұлттарды нөсер жауынға айналдырып жер бетіне топан су қоймаларын бөгеттерін қыйратты. АҚШ әскерлері Вьетнам жеріндегі ағаштарды басқа өсімдіктердіу шашыпжойып жіберді .Соғыс біткелі 30 жылдан астам уақыт өтседе әлі күнге дейін онда ештеңе өспейді. Бұл фактылардың бәрі де дұрыс және шындық.Адамзат табиғат алдында капиталистік қоғамның кінәсі аз емес қылықтары айыптауға тұрарлық. Бірақ кешегі өздерін социалистік қоғам санаған елдердің кінәсі мен теріс әрекеті көп болмаса аз емес. Демократия мен ашықтықты қажет ететін капиталистік елдерде орыналған қолайсыз жағдайлар уақытында жария болып оларды болдырмауға табиғатты қорғауға әскерлер мен ғалымдардың қошаған орта үшін қуіпті әрекеттеріне қарсы тұруға сол мемлекеттер азаматтары белсенді түрде қатынасты. Ортаның тигізетін зиянынкүн ілгері білгендіктеноған сақтану мүмкіншіліктері болды. Біздегіжабық қоғам мен жеке адам басқарған өкімет орын алған зұлымдықты өз халқынан жасырып,өтірік айтыполарды өзөмірлерін қорғаухұқығынан айырды өлімге азып тозуға ұшыратты. Басқалардыбодан және жартылайбодан халықтың табиғи байлығынсүліктей сорды деп кінәлаған кеңестер империясы Ресей патшасынан бастап 300 жыл бойы қазақхалқының табиғат байлықтарын сұрақсыз ақысыз керегінше пайдаланды,басқа елдергесатып пайдасын көреді.Алтын,күміс, мыс,никель, мұнай,хром, марганец газ,т.б.түсті және сирек кездесетін металдар жыл сайын көбейген мөлшерде әкетіліп жатты. Басқалары лас кәсіпорындарды бодан елдерде орналастырып өздерінетазадайын өнімдерді әкеледі деп кінәлаған кеңестер империясы екібастұзда жылына 100 миллион тонна күлі көп жоғары вольтты сым арқылы Ресейге жіберіп Қазақстан көмірдің күлі мен түтініне қалулуда.Қазақстан үшін бұл көмір қажет емес оны қазып жер бетін бүлдіру қоршаған ортаны күлмен ластау тіпті орынсыз.Бірақ ресейге электр энергисыЕкібастұздағы ондаған мың осы көмірді қазуға келген келімсектерге жұмыс пен жалақы керек. Сөйтіп бір айналған дөңгелекті тоқтата алмай әуре болуда.КелімсектергеҚазақстанда қалғылары келсе,біздің мемлекетімізге пайдалы басқа жұмыс беруге болмайма? Басқаларды Радиактивті қалдықтарды мұхит түбіне тастады депкінәлаған кеңестер империясы қазақстан жерінде40 бойы ауада,жерастында атом жәнесутек бомбаларын жарып келді. Чернобыльде болған үлкен бір апатқа дүрліккен адамдар қазақстанда жыл сайын бірнеше Чернобыльге тұратын апат болып жатқанын елемеді.Ауру-сырқау мен жарымжандардың көбеюіне атом бомбаларын сынаудан көргенжергілікті халықты адамға табиғатқа оның зияны жоқ деп өтірік айтып алдап келді.Медицина ғалымдары мен дәрігерлерден құрылған арнаулы коммисия атом жарылыстарынан Қазақстанның өсімдіктері мен жануарлар дүниесіне,адамдарының денсаулығына үлкен зиян келгенін жариялағаннан кейінде Ресейдің атом өнеркәсібіминистрі Михайлов Бұрынғы әдетпен өтірік айтуын қоймай комиссия қорытындыларын бекергешығағысы келді. Бірақ болғаннан соң 1993 жылдың қазан айында семей полигонындағы жарылыстан зардап шккен Алтай Республикасының тұрғындарынажәрдем көрсету туралы ресей үкіметі қаулы қабылдады. Сонда қалай болғаны полигоннан қашықтағы Алтай тұрғындары шегедіде полигонның түбінде отырған Семей облысыны тұрғындарына зиянсыз болғаны ма? Қазір белгілі болғандай Атом жарылыстары жалғыз Семей полигонында емес қазақстанның басқа облыстарында да болыпты. Ресейге бағынатын сынау полигондаы осы күнге дейін Батыс қазақстан, Атырау, Ақтөбе, Қызылорда, Жезқазған, Алматы, Талдықорған Семей облыстарда жұмыстарын тоқтатқан жоқ.Олардың атқан ракеталары адасып қызылқоға ,махамбет аудандарының қой отарларына жақын келіп жарылып жатады.1993 жылы қыркүйек айында атырау қаласының маңына келіп түсті. Ресей әскерлері пайдаланатын қазақстандағы толып жатқан Уран қазатын өңдейтін Кәсіпорындардажұмыс істеу тәртібі сақталмай қоршаған ортаға , адамдарға көп зияны тиюде.қазақстан Ресейдің радиактивті қалдықтарын көметін өңірге айналды. Сураусыз ұлықсатсыз Ресей кәсіпорындары радиактивті қалдықтарын алып келіп «уақытша » деген сылтаумен жер бетіне бос үйіпжер қазып көмбе жасауды «ұмытып» кетіп жатыр .Бұл жөнінде нақтылы мәлімет осы кітаптың топырақты қорғаудеп аталатын тарауында келтірілген. Ұзақ жылдарғасозылған қасарысқан үнсіздіктен кейін бірнеше мың радиактивті қалдықтар салынған контейнерлер ді Ресейдің теңіз дерге жасырғаны белгілі болды.Одан бері көп уақыт өтіп, контейнерлер шіріп теңіз суы ластану қаупі төнгендіктен Финляндия,Швеция,Норвегия,Польша,Жапония Корей республикасы алаңдаушылық білдіріп Ресейден тиісті шара алуын , тастаған жерлерін көрсетуді талап етуде. 1993 жылы қазан айында сұйық радиактивті қалдықтарды жасырын түн қараңғысын жамылып Жапон теңізіне тастауы ресей империясының басқалармен есептеспейтінін олардың мүддесіменсанаспайтынын әлемге тағы әйгілі етті. Ормандарды жою өзендер менкөлдерді су қоймаларын топырақты ауаны ластау,өсімдіктер менжануарлар дүниесіне қырғидай тию,тағы басқа масқара қылықтар кешегі социалистік елдердеде кең өлшемде жүргізілгені табиғаттың орны толмас зиян шккені енді жария бола бастады. Оның өзіндік себебі де бар.Капиталистік қоғамда жеке меншік иесі өзінің және ұрпақтарының қамын ойлап жиған –тергенін қолындағы жерді суды қазбалы кенді ,кәсіпорындарды сақтап ертеңге қалдыруға қоғамдық үлкен және тәтті «пирогтан»бүгін басқалардан бұрын көбірек алып қалумақсат. Өзінен кейін топан су басса да онда шаруасы жоқ. Қоршаған ортаның ластануын тоқтату жөнінде мәселе көптен айтылып,талқылаенып келе жатыр,бірақшешімі әлі табылмай керісінше жыл сайын ластану мөлшері өсіп барады. Құрылыстар салып кен қазғанда жер жыртқанда жыл сайын 4мың км 2 құнарлы топырақ қопарылып басқа жерге тасталады немесе тау таспен араласып булініп жатады. Жыл сайын егістік пен шабындықтарға 500миллион тонна улы химиялық заттарқолданылады. Олардың үштен бір бөлігі жан-жаққа шашырап желмен жаңбыр сулары мен өзендерге көлдерге келіп қалғаны топырақта ауада жерасты суларда жиналады. Биосфера туралы ілімнің негізін қалаушы В.И.Вернадскийдің жұмысының ғылыми және практикалық мәні оның ең алғаш рет адам мен биосфераның бірлігін терең негіздегенінде жатыр. Тірі материяның өзі сананы таситін, биосфераның салмақ бойынша кішігірім бөлігін құрайды. Адамның және адам қоғамының пайда болыуы биосфера шегіндегі тірі заттардың нәтижесі ретінде болды. Адам санасының және ғылыми ой- пікірдің ғаламдық құбылыс ретінде рөлін бағалап, В.И.Вернадский мына қорытындыға келді: Адам өзі өмір сүріп жатқан биосферасын өзгертетін күш болып табылады. Биосфераның бұл өзгерісінің пайда болу құбылысы ғылыми ой- пікірдің өсуімен қатар жүреді. Биосфераның бұл өзгерісі табиғи процестер сияқты стихиялы, адамға тәуелсіз түрде іске асады. Биосфера- ғаламшардың ұйымдасқан қабығы өмір сүру ортасы болғандықтан, оның ұзақ геологиялық тіршілік ету жүрісіне әсер ететің, оның өзгеруінің жаңа факторы- адамзаттың ғылыми жұмысы- бұл биосфераның жаңа фазаға, жаңа форма- ноосфераға өтудің табиғи процесі. Қазіргі өмір сүріп жатқан тарихи сәтте біз ноосфераны бұрынғыға қарағанда аса түсініктірек қабылдаймыз. Бұл кезде алдымыздан «табиғи заңы» ашылады. Жаңа ғылымдар геохимия мен биохимия бұл процестің кейбір маңызды жерлерін бейнелеуге математикалық түрде мүмкіндік береді. В.И.Вернадскийдің еңбектерінен кейін биосфера туралы, адам қоғамының өндіріс кәсібі туралы көп материал жинақталды. Өндірістік күштердің дамуына байланысты ноосфераға өзгеру жолында биосферадағы заттардың қасиеті бойынша жаңа айналымдар пайда болды. Олардың негізгі белгілері: Жер қойнауынан материалдың механикалық түрде алынуының артуы- пайдалы қазба кендерін өндіруінің өсуі. Өткен геологиялық эраның фотосинтез өнімдерін көпшілік пайдалануы болып жатыр. Антропогендік биосферадағы процестер адам пайда болуына дейінгі биосфераға тән болғандай энергияның жиналуына емес, оның шашырауына әкеп соқтырады. Бұрын биосферада болмаған заттар, олардың ішінде таза металдар көп мөлшерде пайда болып жатыр. Ядролық технология мен ядролық энергетиканың дамуымен байланысты өте аз мөлшерде болса да трансурандық химиялық элементтер (плутоний, т.б) пайда болады. Ауыр ядроның бөлінуіне байланысты ядролық энергияны игеру іске асырылуда. Ғылыми техникалық революциясының прогресімен байланысты ноосфера Жердің шегінен асып жатыр. Табиғат ресурстарына деген пайдалану қатынасына және өнеркәсіп қалдықтарының жиналуына байланысты биосфераға түскен антропогендік ауыртпалық тез артып, биосфераны кризистік жағдайға жақындатты. Әрине, қазір біздің уақытта аса актуалды болып жүрген антропогендік ықпалы шектеу мәселесі пайда болады. Ол ғылыми қоғаммен және көптеген саяси қайраткерлермен айқындалады. Биосфераға деген антропогендік ауыртпалықтың өсуіне байланысты алдағы уақытта шешілуге міндетті көп проблемалар пайда болды. Бұл өте маңызды мәселені шешу адам санасы жағынан көмегін және көпшілік- гуманитарлық ғылымдағы ғалымдардың іске кірісуін қажет етеді. Ноосфера концепциялары. В.И.Вернадскийдің биосфера туралы ілімі- ноосфера концепциясының негізін қалаушы ретіндегі жасампаздылығы оның тұңғыш адам мен биосфераның бірлігін түсініп негіздегендігінде жатыр. Оның бұл ұлы ашуы өзінің әлеуметтік нәтижесі бойынша жаратылыстанудың әлемдік биіктеріне, қазіргі және келешек адам өркениетінің жаулап алуларына жатады. Бұл ашылуынсыз ноосфера концепциялары қазіргі кезде түсінікті бола алмайтын еді. В.И.Вернадский болжап айтқан ҒТР дәуірінің ХХ ғасырға кіруі адамзаттың жаңа эрасы- ноосфераның пайда болуына әкелді. Вернадский пікірі бойынша ғылыми ой биосфераның сапалы, жаңа эволюциялық қалыпқа өту шартының қызметін атқарады. Ғылыми ойдың адам өзгертіп жатқан биосферада материалды түрде бейнеленуі еңбек болып табылады. Ой мен еңбектің, еңбек пен ойдың бірлестігі адамзаттың жаңа әлеуметтік болмысын ашады және биосфераның ноосфераға өтуін анықтайды. Адамзат бірлігімен, ғылыми оймен бірге Вернадский бойынша ноосфераның пайда болуының және оның бар болу шартының маңызды алғы шарттары болып біріктіретін моральды- этикалық негіз бен бұзушы соғыстың жоқ болуы есептелінеді. Биосфераның ноосфераға өту шарттарында халық арасындағы бейбітшілік- бірнеше ұрпақ өмір сүру тарихи периодында ноосфера құрылуының ең басты айқындайтын факторлардың бірі. Ноосфераны ойлап табудағы адамның барлық іс- әрекеттеріне жеке тұлға және барлық қоғамның игілігі үшін адамның жоғарғы ұйымдасқан іс- әрекеті ретінде бірлескен адамгершілікті ой- пікір бағыт- бағдар беру керек. В.И.Вернадский белгілегендей ноосферада жоғарғы әлеуметтік құндылық болып еркен адам тұлғасының дамуы есептелінеді. Жоғарыда айтылғандардан Вернадскийдің ноосфералық концепцияларды пайдалану мүмкіншілігі туралы келесі тұжырымдарды алуға болады: Жаратылыстық- ғылыми негізінің қызметін Вернадский ойлап тапқан біртұтас ғалам қабығы ретінде биосфера туралы ілім атқарады. Ноосфера концепциясы ғылыми ой мен адамзат еңбегінің ықпалында биосфераның жаңа эволюциялық түрі- ноосфераға өтудің әлемде обьективті түрде орындалатын, стихиялы, жаңа процесін айқындайды. Бұл ғылыми техникалық революция дәірінің басына тиісті процесс, ХХ ғасырда Жер шарының ауқымды бөлігінде ғылыми техникалық революциясының пайда болысымен және тез қарқынды өсуімен болжамданған. Тез өрлеген халықтың шығармашылық белсенділігі, олардың ғылыми білімін максималды түрде алуға талпынысы, қоғамдық өмірге қатысуы және мемлекетпен басқару биосфераның жаңа заманғы периоды ноосфераға өтудің басты әлеуметтік қозғаушы күші болып табылады. Вернадскийй бойынша ғылыми социализм ноосфераны құрудың жалғыз әлеуметтік- экономикалық және саяси негізі болып саналады. Ноосфера концепциялары қоғам мен табиғаттың өзара қарым- қатынасының қалыпты жолдарын ашады. Экономиканың интенсивті даму жолына өту арқылы ғылымның қосалқы мәнін арттыру арқылы, ғылыми басқарудың жаңа түрін құру арқылы ноосфера негізі құрылады. Жоғарғы әлеуметтік құндылық ретінде ноосфера туралы түсінік бірлескен қоршаған ортада еркін тұлғаның дамуын береді. Ноосфера шығуын бейнелеуін негіздейтін шарт ретінде ноосфера концепциясы халық арасында бұзушы соғыстардың болмауын алға қояды. Қорытынды. Қазіргі заманда алдыңғы қатарға қойылған әр түрлі глобальды проблемалардың жетісті түрде шешілуі В.И.Вернадскийдің биосфера мен ноосфера туралы іліміне жүгіну арқылы іске асады. Адам өмірі шексіз аз шама сияқты бейнеленетініне қатысты шексіз Космостың аумақтылығы адам санасына сыймайды. Адамзаттың пайда болысымен өмір сүрудің стихиялы, тарихи дамуы үнемі саналы ортақ бақылауға қойылады. Бұл В.И.Вернадский ойлап тапқан биосфераның ноосфераға өзгеру процесінің өзі болып табылады. Вернадский ноосфера туралы ілімді аяқтамағаннан түсініктің көп жағдайда жалған түсіндірулері пайда болды. Бір авторлар оны ғаламданған ақпараттардың ағымы деп, ал екіншілері ноосфераны техносферамен және антропосферамен ұқсастырады және т.с.с. Ноосфераны бұндай түсінуде концепциясының ең маңыздығы- сананың табиғат өзгеруіндегі ролі ғана емес, сонымен қатар қоршаған ортаға адамның шығармашылық ықпалы туралы ой есепке алынбай қалады. Ноосфера- адамның техникалық және мәдени іс- әрекетінің және жаратылыстың табиғи процестердің синтезі нәтижесінде пайда болатын Жердің біртұтас геологиялық қабығы. Бұл біртұтастықтың қосатын басының қызметін адам мен табиғатпен және оның әдемілігімен бірлесуі атқарады. Қолданылған әдебиеттер: Экология. А.С. Степановских. Москва, 2001. 6.101-124 Экология. А.Н. Воронков. Москва, 2000 Таќырыбы: Топыраќты, жер ќойнауын ќорѓау жєне оларды тиімді пайдалану Жоспар. 1. Табиѓи ќорлар жєне олардыњ жіктелуі. 2. Ќорлардыњ тиімділігі. 3. Ќорларды тиімді пайдалану. Адамзаттыњ к‰н кµрісі мен тірлік етуіне ќажетті заттар жєне табиѓатта кездесетін жаратылыс д‰ниелері- табиѓи ќорлар деп аталады. Су, жер, µсімдік, жан- жануар, тау- тас, ќазба-байлыќ жєне µзге де тікелей не µнделген к‰інде т±рмысќа, µндіріске ќажетті д‰ниеліктердіњ біріне де табиѓи ќорларѓа жатќызамыз. Табиѓи ќорларды пайдалану нєтижесінде, адамзат азыќ- т‰лі, киім- кешек, т‰рмыс ќажетін µтеуге керекті заттар, жанар- жаѓар майлар жєне µнеркєсіпте ќажетті шикізаттарды алады. Табиѓи ќорлар, олардыњ ќолдану саласына ќарай µндірістік, денсаулыќ саќтауѓа ќажетті, ѓылыми, эстетикалыќ деп бµлінеді. Жаратылыстыњ ќ‰рамында болуына ќарап, олар- жер, су, орман, ќазбалары деп бµлінеді: Сонымен ќатар, мµлшерене ќарай сарќылатын (исчерпаемость) жєне сарќылмаитын (не исчерпаемость) баѓыт та топтасады. Таусылатын ќорларды жањаратын (возобновленный) салыстырмалы жањаратын жєне жањармайтын деп жіктеуге болады. Жањармайтын ќорларѓа, адамзаттыњ пайдалануы барысында ќайта пайда болмайтын жєне ќайта ќалпына келуі µте ‰заќќа созылатын жаратылыс заттары мен б‰лардыњ ќатарына, пайдалы ќазбаларын жатќызуѓа болады. Табиѓи ќорлар.
Салыстырмалы ќорларѓа- жањармайтын ќорларѓа ќараѓанда, µзініњ бастапќы к‰ініњ ќайта ќалпына келтіріп алатын жерлер жатады. Б‰л ќорлардыњ бір т‰рі ретінде, жер бетініњ топыраѓы ќыртысын келтіруге болады. Жањѓыратын ќорлар- µсімдіктер жєне жан- жануарлар д‰ниесі, кейбір минералдардытез ќазуда. Сарќылмайтын ќорѓа- ѓарыш, ауараыныњ жер не су кµздері жатады. Ауарайыќорларына (климатические ресурсы) атмасферадаѓы ауа, жел энергиясы, жауын- шашын жатады. Су ќорлары жер бетіндегі су кµздері. Жер ќоры. Жер ќорыныњ ењ басты бµлігі , даќылдар егіліп µнім алатын жер ќыртысыныњ беткі бµлігі- топыраќ болып табылады. Топыраќ ќ‰рамы µте к‰рделі. Онда минералды заттармен ќатар, т‰рлі органикалыќ д‰ниеліктер, микроорганизмдер кездеседі. Орман ќоры. Ќоршаѓан ортаныњ жањаруына, су жєне жер ќорларыныњ жаќсы саќталуына, орманыњ тигізер жер мол. Орман аѓаштарыныњ фотосинтезде атќарар мањызы орасањ. Жер бетіндегі µсімдіктер, аѓаштар жылына 100 млд. тонна ортамасса т‰зсе (ќ‰рѓаќ массаѓа шаѓын есептегенде), оныњ ішіндегі ќ‰рлыќ бетіндегі кµк жамылѓы 64млд. тонна , ал орман аѓаштары 38 млд. Тонна (60%) ќ‰райды. Орман аѓаштары, сарќылатын жєне салыстырмалы жањаратын ќорлар ќатарына жатады. Б‰л орайда, ж‰здеген жылдар бойы жетілген 30-35 га аумаќтан аѓаштарды, орманѓа ќаѓаз-картон комбинатыныњ бір к‰нде іске пайдаланатынын айтып µтуіміз, оныњ ќандай ќорѓа жататынын аныќтауѓа болады. Жан- жануарлар єлемі: Жер бетінде 1,5 млн-ѓа жуыќ тіршілік ететін тірі организмдер бар. Олардыњ Імлн-ѓа жуыќ жануарлар болып келеді. Осы жануарлар био массасы, сан жаѓынан едєір мµлшенде баѓаланатын, тірі организмдер биомассасыныњ 1%- тін ѓана ќ‰райды. Адамзат пен жануарлар д‰ниесініњ ќарым- ќатынасы µте к‰рделі: Кейбір жануарларды ќырып нєтижесінде, ондай т‰рлер бітуге айналѓандыќтан, арнаулы ќорыќтар жасалып, Олар тиісті мекемелердіњ ќадаѓалауы мен баќылауына алынып отыр. Минералдыњ ќорлар. Б±л ќордыњ ќатарына металл жєне металл емес заттардыњ кµздері м‰най, газ, тас кµмір жєне жер асты сулары жатады. Аталѓан д‰ниеліктердіњ пайда болуы немесе ќайта ќалпына келуіне ќараѓанда, оларды пайдалануќорыќты µте жоѓары болѓандыќапан, олар сарќылатын ќор т‰ріне жатады. Б‰л орайда, аталѓан д‰ниеліктерді, олардан алатын шикізаттарды ќалдыќсыз µндеудіњ орасањ зор мањызы бар екендігін атап µтеу ќажет. Кейбір минералды заттар, адам тіршілігіне ауа мен судай ќажет. Мысалы: ас т‰зы, ізбес, к‰м, орасарит, калий т‰здары т.б. Б‰ларѓа ќараѓанда, металл жєне м‰най- газ кµздерініњ ќорышектеулі жєне шаѓымдау. Жер бетіндегі металл. Тау-нен жыныстары. Б‰л ќорѓа литосфераныњ 17км терењдікке деінгі ќабаты жатады. Жер ќыртысыныњ б‰л бµлігінде- кремний- 27,72%, алюминий 8,13%, темір 5%, кальций 3,6%, натрий 2,38%, калий 2,59%, магний 2,09% мµлшерде кездеседі. Энергетикалыќ ќорлар. Энергетикалыќ ќорлардыњ жањармайтын ќатарына кµмір, м‰най, газ, торор, сутегі, гелий, литийлер, ол жањѓыратын т‰рлеріне фотосинтез т‰рлілігінеќарамастан адамзат баласы, оныњ санаулыбµлігін ѓана пайдаланады. Ѓылым мен гинетика дамыѓанѓа деін, негізгі энергия кµзі ретінде, адамзат б‰ныњ ќимылы мен жануарлар ќозѓалысыныњ энергиялары, жел энергиясы, аѓаш отынныњ энергиясы пайдаланып келді. М‰най- газ, кµмір, гидроэнергиялардан пайдалана бастаѓанынада ьіршама уаќыт болып ќалды. Соњѓы жылдары, атом энергиясын к‰рделі т‰рде пайдалану жолѓа ќойылып отыр сондай- аќ, жер ќойнауындаѓы ыстыќ су кµздерін пайдалану да мањызды болып отыр. К‰н кµзініњ энергиясын тиімді пайдалану, оны адамзат баласыныњ алдында шипасын табар мєселеге жатады. Су ќорлары. Су- жер бетіндегі тіршілік кµзі болып саналады. Су- сусын ретінде, еріткіш ретінде, т‰рмыс ќажетін µтеуде, ауыл шаруашылыѓында, балыќ шаруашылыѓында жєне де таѓы да басќа салаларда ќолданылады. Су ќоры деп ж‰сеген д‰рыс. Адамзат тіршілігінде кµп пайдаланылады. Су ‰немі ќозѓалыста болады. Адамзат тіршілігінде кµп пайдаланылатыны µзен сулары. Табиѓат ресурстарын бірнеше бµлімдері бойынша ресурстардыпайдаланудыњ ќ±раѓан ортаѓа тигізетін зиянды жері айтарлыќтай болмайды. Адам оларды толыќ пайдалануѓа м‰мкіндік беретін жылдарын жасауы ќажет. Екіншіден, ќалпына келетін ресурстарды пайдаланудыњ болашаѓы бар. Мысалы: µсімдіктер мен жануарлар. Сарќылатын ресурстарѓа жаќын кезењде немесе болашаќта ќорыту сарќылу ќадырі тµњіп т‰рѓан ќатар жатады. Б‰ларѓа ењ алдымен ќазба байлыќтар мен тірі табиѓат ресурстары жатады. Ресурстардыњ сарќылуы салыстырмалы‰ѓым (сарќылмайтын ресурстаѓа). Сарќылмайтын ресурстарѓа шексіз ‰заќ уаќыт пайдалануѓа болатын ресурстар жатады. Мысалы: К‰н энергиясы, жел, тењіздіњ тану мен ќайту энергиялары. Б‰л жаѓдаида да сарќылмайтын ‰ѓымы мен салыстырмалы т‰рде айтылады. Себебі, єрбір ресурс ‰шін пайдаланудыњ шегі болады. Мысалы: белгілі бір мµлшерден артыќ к‰н энергиясын пайдалану жер мањындаѓы кењістіктіњ температурасыныњ артуына єкеліп, термодинамикалыќ даѓдарысты туѓызу м‰мкін. Ресурстардыњ ішкен судыњ орны еріп су ластану нєтижесінде уаќытша (сапалыќ жаѓынан) сарќылады, біраќ сандыќ жаќтан сарќылмайтын ресурс. Жердегі судыњ ќорыныњ мµлшері µзгермейді, ол оныњ жеке сфералар (мухит, ќ‰рлыќ, атмосфера) немесе т‰рлері (с‰йыќ, ќатты, бу тєрізді) арасында таралу єр т‰рлі болу м‰мкін. Табиѓат ќорларыныњ сарќылу мєселесі жылдан- жылѓа µзекті мєселе айналып барады. Ол олардыњ мµлшерініњ шектеулігіне жєне оларды артуына байланысты. Біздіњ республикамыз жер ќорларына µте бай. Быраќ кейінгі жылдары эканомикалыќ даѓдарысќа байланысты жерді тйімсіз пайдаланудыњ салдарынан топыраќтыњ ќ‰нарлыѓы кеміп, к‰ннен-к‰нге нашарлап барады. Егістік жерлерді жєне мал жайлымдарын д‰рыс пайдалана алмаѓандыќтан, су жєне жел эрозиясыныњ 60 пайызы немесе 180 млн. гектарѓа жуыќ жер ќуыќ далаѓа айналѓан. Планета халќыныњ µсуіне байланысты (ќазір 6,5 млрд, ол 2025 жылы 8,5 млрд. болады.) табиѓйќорларды ‰немді жєне тиімді пайдаланудыњ мањыздылыѓы ерекше. Адамзат µзініњ µмір с‰руне ќажетті µндірістіњ шикізаттыњ тек 2-4 пайызын ѓана ќолдана алады, олќалѓан 96-98 ќалдыќтарѓа айналады жєне б±л ќалдыќтар ќоршаѓан оршаѓан ортаны ластайды. Орман алќаптары шамадан артыќ кесілінді. Сонымен ќатар олар кµбнесе µрттіњ ќ‰рбаны болуда. Егер орман алќаптары жойылса, онда ауыз судыњ тепе -тењдігіб‰зылады, ішетін ауыз су жетіспейтін болады. Ќазќстанда орман-тоѓайдыњ кµлемі 21 миллион гектардан астам.Орман алќаптарынан ластанѓан атмосфералыќ азоны жоѓартудаѓы рµлі ерекше, мысалы, Ігектар жасыл жеміс 1 саѓатта ауадан 8-10 кг кµмірќышќыл газын сіњіріпалады, ол бір ‰лкен ќараѓай немесе ќайыњ аѓашы бір сµткеде 180 литр оттегін бµліп шыѓады екен. Кµптеген су жєне жел эрозиясы басым жерлерде шаруашылыќты ж‰ргізбегендіктен, арготехникалыќ шараларды µрісті б‰зѓандыќтан, суару режимдерін ќатањ саќтамаѓандыќтан топыраќтар мен µсімдіктер арасындыѓы тепе-тењдік б‰зылады да,эрозия к‰шейе т‰седі. Т‰рмыстыќ ќажетін пайдаланатын ќорлардыњ ішінде су ќорларыныњ, оныњ ішінде ауыз судыњ мєні айтаролыќтай. Б‰л маќсат ‰шін пайдаланатынсудыњ мµлшері барѓан сайын µсіп келеді. Оныњ басты себебі халыќ саныњ µсуі, жања µнімдеріменен,сондай-аќ ќ‰рамында улы химикаттар мен тыњайтќыштары бар егістіњ сумен шамадан артыќ ластануынан су жануарларыныњ, єсіресе, балыќ ќорыныњ кеміп кетуі ќаупі тµніп т‰р. Ќазаќстанныњ кµптеген ірі ќалаларында ауаныњ химиялыќ улы заттармен Іластану µте жоѓары. Мысалы, Алматы ќаласын алсаќ, казгидролиттіњ деректері бойынша, ќала ауасыныњ ластану дењгейі µте жоѓары болып отыр. Отын энергетикалыќ саладаѓы дењгейі ќорларѓа тас кµмірдіњ жануынан пайда болѓан ќалдыќтар жатады (д‰ние ж‰зінде жылына 4 млрд. т. µндіріледі.) Сонымен ќатар, тас кµмірдіњ ќатты ќалдыќтарын (к‰лдер мен к‰л шлактар) пайдаѓа асыруѓа болады. Біріншіден к‰лден єр т‰рлі металдарды ќорытып алады. Екіншіден, тас комірді жоѓары тем пературада ќыздырѓанда, кальций тотыѓы сµндігілмеген ізбестке(єкке) айналады.Ал, оны ауылшаруашылыѓында ќышќыл топыраќтарды ізбестеу арќылы оныњ ќ‰нарлыѓын арттыруѓа болады. Ауылшаруашылыќ µнімдерін µндеу кезінде µте кµп мµлшерде ќалдыќтар ќалады. Б‰л ќалдыќтардыњ ќ±рамында ж‰здеген тонна белоктар, таѓамдыќ ќышќылдар мен майлар, витаминдер, басќа да ќ‰нды заттар бар. Осыќалдыќтардан ж‰зге тарта єр т‰рлі пайдалы µнімдер алуѓа болады. Биотехнология саласында биогаздыњ ќолданудын ќасиеті зор. Бір тонна ќ‰рѓаќ органикалыќ заттар алынѓанда 350-500 метр биогаз бµлінеді: Биогаз µндіруде т‰рмыстыќ ажетте ж‰мсалынѓан ќалалардаѓы лас ќалдыќ суларды пайдаѓа асыруѓа болады. Ондай лас сулардыњ кµлемі тым кµп жєне олар к‰н санап µсіп отырады. Сондыќтан м‰ндай суларды техникалыќ µндеу арќылы миллиондаѓан текше метр биогаз алу м‰мкіндіктері бар. Сонымен ќатар, ќоршаѓан орманныњ ластануына жол берілмейді: ¤ндірістік лас тоќтау суларды ауыр металдардыњиондарынан жєне бактериялыќ зиянды заттардан тазарту ‰шін, лазер сєулесін пайдалану тиімді екені дєлелденді, жєне ж‰ргізілген тєжірбиелер бойынша судан ауыр металдардыњ иондарын, ќорѓасынныњ, никельдіњ, фенолдардыњ жєне т.б. 80 пайызѓа дейін, ол бактериалыќ ластануды 10 есеге дейін ќыс ќартуѓа болатындыѓы аныќталды. Атмосфералыќ ауаны аса кµп ластайтын ірі µндіру орындарыныњ (ірі µндіріс) жылу электростанцияларынан жєне т. б. Мекемелердіњ отынѓа тас кµмірді; ал авто кµліктер бензинді пайдалануынан болатындыѓы белгілі: Осыѓан байланысты µндіріс орындары мен автокµліктерді жаппай газѓа кµшіру тиімді болар еді: Автокµліктерді газѓа кµшіргенде ауа ластанады жєне ол µте арзанѓа т‰седі: Ќоршаѓан ортаны ластамайтын энергияныњ жања кµздерін, атап айтќанда, к‰нніњ жєне судыњ ќуатын жєне термольді сулар мен биогазды пайдалану тиімді: Сонымен ќатар, келешекте термоядролыќ синтездіњ реакциясын пайдалану арќылы энергияныњ шексіз таусылмайтын ќорын игеруге м‰мкіндіктер бар. Айта кететін бір жай, ќазіргі экономикалыќ к‰йзіліс кезінде атом электор станциясында(А.Э.С) салу тиімсіз жєне келер ‰рпаќтар ‰шін аса ќауыпты, сонымен ќатар радиоќалдыќтар біздіњ жерде ешќашанда жерленбеуі тиіс. Егер де радиоќалдыќтар жерленетін болса халыќќа мєњгібаќи ќауып тонетін болады, µйткені изозаттарды балќытылѓан єйнектерге ќойып жєне µте берік ќорѓасын мен болаттан жасалѓан контейнерлерге салып жерленгенен к‰ндердіњ бір к‰ндерінде Табиѓаттыњ байлыѓын тиімді пайдалануы, ќоршаѓан орта, жер- су тазалыѓын саќтау, оларѓа зиянды заттардыњ ќосылуына жол бермеу- кµкірегі ашыќ, кµњілі ояу єрбір адамзаттыњ парызы. Б‰л парызды µтеу бєріміздіњ міндетіміз. Ќолданылѓан єдебиеттер: Экология. Ю.Одум. 1986ж. Табиѓатты ќорѓау жєне кµркейту. Н.Н. Родзевич. Алматы, 1984ж. Охрана природы. А.И.Воронцев, Н.З.Харитонова. Москва, 1977ж
1 Тақырбы:Қазақстанның сирек кездесетін және жойылып бара жатқан өсімдік пен жануарлар түрлері. Жоспар. Кіріспе. 1. Табиғатты қорғау әрбір адамның борышы. 2. Қазақстандағы ерекше қорғауға алынған және Қызыл кітапқа енген өсімдіктер. 3. Қорытынды. 4. Пайдаланылған әдебиеттер. Өсімдік- табиғат қазынасы, халықтың байлығы. Өсімдіксіз жер бетінде тіршіліктің ьолуы да мүмкін емес. Олай дейтін себебіміз, ол- тіршілікке қажетті органикалық зат пен оттегінің қайнар көзі, өсімдікте түзілген органикалық заттарды бүкіл тірі организмдер пайдаланады. Тірі организмдер тұтынатын және қоректенетін азықтардың негізі осы өсімдіктерден алынады, өсімдіктерден тұрады. Жыл сайын жер бетіндегі өсімдіктер 232,5 млрд. тонна органикалық зат шығарса, оның 172,5 млрд. тоннасын құрлық өсімдіктері, ал 60 млрд. тоннасын теңіз бен мұхит өсімдіктері береді. Адам баласының тіршілігі өсімдік дүниесімен тығыз байланысты. ``Өсімдіктер дүниесі- табиғаттың өндіргіш күші іспеттес`` - деп ғалым М. И. Галенкин тегін айтпаса керек. Олар үнемі өсіп-өніп молығып тұрады. Табиғаттағы тағамдық, техникалық, мал азықтық, Дәрілік қасиеттер бар өсімдіктердің өзі біздің табиғи ресурстардың негізгі қорын құрайды. Сондықтанда олар өндірісте, ауыл шаруашылығында, медицинада кеңінен қолданылады, ауыл мен қалаларды көгалдандыруға, топырақтарды құнарландыруға пайдаланылады. Халықтың өміріне, тіршілік қажетіне бірден-бір жақын мәдени өсімдіктердің өзі- дәнді (бидай, жүгері, кіріш, тары, қарақұмық), дәнді-бұршақты (соя, бұршақ), майлы (күнбағыс, жер жаңғағы), талшықты (ақ мақта), бақша (капуста, помидор, баклажан, қарбыз), дақылдар мен жеміс- жидектерден (алма, шие, таңқурай) тұрады. Бұлардың бәрі азық- түліктің қайнар көзі, халықтың байлығы болып табылады. Өсімдіктер дүниесінен органикалық заттар көптеп өндірілуде. Ал халықтың саны да өсіп келеді. Сондықтан табиғи өсімдіктерден алынатын өнімдерді молайтып, халықты тағаммен, өнеркәсіпті шикізатпен, малды жем- шөппен қамтамасыз ету мәселесі кеңінен қойылып отыр. «Орман ел дәулеті, жер сәулеті»- деп халық бекер айтпаған, орман күрделі тірі организм, саялы орын. Өсіп тұрған ағаштар орманның негізін құрайды, олардың қылқанды, жалпақ жапырақты және басқа да түрлері, келтіретін пайдасы, қорғау шаралары айтылады. Өсімдіктердің медицинада алатын орны орасан зор болғандықтан оқырмандар дәрілік- емдік ретінде қолданылып жүрген улы өсімдіктердің түрлерімен танысып, оларды усыз ажырата білулері үшін олардың сыр- сипатың білу өсімдіктерден қажет. Жалпы алғанда өсімдіктердің ішінде жарамсызы жоқ, улы өсімдіктердің өзі де шикізаттың қайнар көзі болып отыр. Өсімдіктерді үнемі көбейтіп, қорғап отыру үшін олардың тіршілігімен жақынырақ танысқан, білген жақсы. Өсімдіктердің табиғи ресурстары сарқылмайтын қазына емес, оларды орынды пайдаланып, қорғап отырғанда ғана, ұзақ уақыт керекті заттарды алуға мүмкіндік туады. Адам баласы өзіне қажет болған қорек, ауа, киім, баспана, дәрі күнделікті өмірде пайдаланып жүрген ұсақ- түйек заттардың бәрін өсімдіктерден алатын болса, оны барынша аялап қорғай білу- әрбір адамның борышы. Сондықтан да айналамызды қоршап тұрған жасыл әлем - өсімдіктер дүниесімен бүкіл адам баласы таныс болуы керек. Табиғатты қорғау әр адамның борышы. Табиғат- бүкіл тіршілік атаулының алтын ұясы және аялы бесігі, құтты қонысы мен өсіп- өнер мекені. Табиғат адамның бойына қуат, көңіліне шабыт, сезіміне ләззат шапағатын ұялататын сұлулық пен әсемдік әлемі. Табиғат адамзатты аялаған Егін егіп, мал бағып саялаған. Қарасындай көзінің қорғай жүріп, Қамқорлығын ешқашан аямаған. Табиғат адамзат қоғамының байлығы, тіршілік көзі. Бізді қоршаған табиғат өлі және тірі деп екіге бөлінеді. Өлі табиғатқа күн сәулесі, ауа, су, тау жыныстары, топырақ, пайдалы қазбалар минералдар жатса, тірі табиғатқа өсімдіктер мен жануарлпр жатады. Өлі табиғатқа жататындар қалпына келтіруге болмайтын қорлар да, ал тірі табиғаттағылар қалпына келтіруге болатын қорлар болып саналады. Табиғат ырыс пен мол қазынаның көзі, адам денсаулығының сенімді сақшысы. Табиғат байлығы ортақ байлық, ұрпақтар байлығы. Сондықтан да туған өлке табиғатын аялау бүгін де жалпы халықтық іске айналды. Бүкіл еліміздің халқы ықыласпен қабылдаған КСРО жаңа конституциясының 18 – бабында:” Қазіргі және болашақ ұрпақтардың мүдделері үшін КСРО-да жер мен онің қойнауларын, суресурстарын, өсімдік пен жануарлар дүниесін қорғау және ғылыми негізде ұтымды пайдалану ауа мен суды таза сақтау, табиғат байлықтарының ұдайы молаюын қамтамасыз ету және адамның айналасындағы ортаны жақсарту үшін қажетті шаралар қолданылады”- деп көрсетілген. Ал копституцияның 67- бабында: КСРО азаматтары таби5атты аялауға, оның байлықтарын қорғауға міндетті –делінген. Табиғат-адамзаттың материалдық және рухани талабын қанағаттандыратын байлықтың негізгі көзі, табиғи қорлар азайса, байлықта кемиді. Сондықтан бүгін де күн әртібінде табиғат байлығын сақтау, қорғау, көбейту мәселесі тұр. Табиғатты қорғау шын мәнінде бүкіл халықтық іске айналып отыр. Бұл салада көптеген жұмыстар жасалып, саяси, экономикалық және ғылыми мәні бар шаралар жүзеге асырылуда. Қазақстандағы ерекше қорғауға алынған және Қызыл кітапқа енген өсімдіктер. Өсімдіктер тіршіліктің тірегі, әрі айналамызды қоршап тұрған табиғаттың бір бөлімі болғандықтан олардың табиғаттағы түрлерін азайтпай, қамқорлық жасап, молайту және қоршаған отаның әр түрлі қолайсыз жағдайынан жойылып кетуге жақын тұрған түрін сақтап қалудың бірден –бір тиімді жолы мемлекеттік Қызыл кітапты шығару болып отыр. 1978 жылы КСРО-ның қызыл кітабы басылып шықты, онда өсімдіктердің 450-ге жуық түрі енгізілді, соның 5600-ден астам түрі Қазақстанда өседі, оның 760-тан астам түрі республикамыздың жерінде ғана болатын, басқа жердекездеспейтін эндем өсімдіктер, бұлардың 1500 түрі пайдалы өсімдіктер қатарына жатады. Өсімдіктер дүниесі- биосфераның негізгі компоненттері, ауаның құрамын реттеуші, табиғаттың ажырамас бір бөлігі. Өсімдіктің табиғатта, адам өмірінде алатын орнының зор екендігі аян. КСРО-ның Қызыл кітабына 84 тұқымдас өсімдіктер енгізілген, соның ішінде мен Қазақстанда кездесетін түрлерінің біразына тоқталуды жөн көріп отырмын. Жуа тұқымдастары (сем. Луковые) Жуа /пияз/ мен сарымсақтар- жуа тұқымдасына жататын, бір жылдық, екі жылдық, көп жылдық шөптектес өсімдік. Мәдени түрде барлық облыстарда өсіріледі. Бұл тұқымдастың ерекше белгілері- негізгі сабақтары қысқарған (түбіртек қана) , одан басқа іші қуыс гүл сағақтары болады. Жапырақтары да түрліше, кейбір түрінің жапырақтарының іші қуыс болса, кейбір түрінің жапырақтары жіңішке таспа тәрізді болады. Гүлшоғыры жай шатыр сияқты. Гүлдері майда, қос жынысты, гүл күлтелерінің түстері де алуан түрлі: жасылдау, солғын жасыл, ақ, күлгін, қызғылт, сары, ақшыл жасыл, т.б. Аралар мен шыбындар арқылы тозандаңады. Жемісі 3 қырлы, 3 ұялы қауашақ. Жуа тұқымдастарының 500-ден астам түрі бар, ал бұның КСРО-да 230-ға жуық түрі белгілі, олар Орта Азияда, Кавказда, Сібірде, Қиыр Шығыста көп таралған. Медицинада қолданылуы : жуадан дайындалған препаратты тістің қызыл еті қабынғанда, асқазан жұмысын жақсартуға, қан қысымы артқанда, іш өткенде, баспаға, тұмауға, бүйрек, бауыр ауруларына қолданады. Сарымсақты да емдік қасиетіне қарай римдіктер өте ертеден пайдалана бастаған . 16 ғасырда-ақ сарымсақты оба, өкпе ауруына, улануға қарсы қолданған. Сарымсақтың жуашағында углевод, белок, Свитамині, инулин, фитостерин болса, жапырағында каротин, В1 РР,С витаминдері болады. Сарымсақтан да түрлі дәрілер жасалады, оларды асқазан ауруларына, соқыр ішек қабынғанда, өт айдауға өкпе қабығы іріндегенде, бронхы қабынғанда, тұиауға, қан қысымы көтерілгенде қолданады. Жапонияда қатерлі ісік ауруларына қарсы қолданса, БатысАфрикада балықшылар балық аулар алдында сарымсақтың шырының жағып алады, крокодилдер оның иісінен қашатын көрінеді. Сарымсақтың шырыны шаш өсіреді. Шатыршагүлділер тұқымдасы(сем. Зонтичные) Бұл тұқымдасқа негізінен шөптектес өсімдіктер жатады, тек аздаған ғана түрлері шала бұта немесе бұта түрінде кездеседі. Жапырақтары жай да, күрделі де болады, өркен бойына кезектесіп орналасады. Сабағы буын және буын аралықтарынан құралады, буындары жуандау, ал буын аралықтары көп қырлы, іші қуыс болады. Гүлдері майда, жай немесе күрделі шатыр тәрізді болып шоғырланады, кей түрінде шоқпарбас гүлшоғыры болады. Гүл шоғырының шетінде орама гүлдері бар, олар бірнеше симметрияға бөлінеді. Бұлардың жеке бір гүлі 5 тостағанша жапырақшадан, 5 күлте жапырақшадан, 5 аталық, 2 ұялы бір аналықтан тұрады. Күлтелерінің түсі алуан түрлі ақ, қызғылт, сары,жасыл-сары, т.б.Гүлдері майда болғанымен айқын түсті, хош иісті, әрі шоғырлана жиналғандықтан насекомдар оларды тез байқайды. Жемісі қос тұқымша болады және ілініп тұрады. Бұл өсімдіктің 3000 мыңға тарта түрі бар, жер бетінде өте көп тараған, аса маңызды тұқымдастың бірі. Кейбір түрлері тамаққа пайдаланылса (сәбіз ), тағы бір түрінен дәрі жасалынады, 3- түрімалға азық болады, сонымен қатар мұның улы түрлері де кездеседі. Күрделігүлділер тұқымдас (сем. Сложноцветные) Бұл тұқымдасқа 19 000 –нан астам түрі бар, бұта, шала бұта және шөп тектес өсімдіктер жатады. Жапырақтары жай да, күрделі де болып келеді. Гүлдері майда, себет гүл шоғырын құрайды, себет гүл шоғырының сыртын бірқатар кей түрінде екі қатар орма жапырақшалар қоршап тұрады, тостағанша жапырақшалары болмайды, немесе ол жарғаққа қайсы бірінде үлпекке айналып, түрін өзгертіп, жеміс түйініне бекінеді. Бес күлтесі болады, олар түтік немесе воронка, кейде тілше тәрізді келеді, аталығы бес және аналығы бір ұялы, тұқым бүрі де біреу болады, жемісі тұқымша деп аталады. Бөріқарақаттар тұқымдасы(сем. Барбарисовые) Бөріқарақаттар тұқымдасының 650-ден астам түрі бар, негізінен бұталы және көп жылдық шөптектес өсімдік. Гүлдері сабаққа жеке де, топтанып та орналасады. Жеке гүлдері 6 күлтн тәрізді жапырықшадан тұрады, олар 3-3-тен, екі шеңбер бойына орналасқан, аталықтары 4-6 ға дейін, олар да екі немесе үш шеңбер бойына орналасқан, аталық жіпшелері өте тітіркенгіш, ол тозаңдануға бейімділіктерін көрсетеді. Аналығы біреу, беретін жемісі- жидек, аздаған түрлерінде қауашақ жаңғақша болады. Қайыңдар тұқымдасы(сем. Березовые). Бүл тұқымдасқа жай жапырақты ағаштар мен бұталар жатады. Гүлдері күрделі шоғырға жиналған, дара жынысты бір үйлі өсімдік. Аталық гүлдердің өзара біріккен реңсіз, 4немесе 2 гүл серігі болады, кей түрінде гүл серігі болмайды, аталықтарының саны гүл серігінің санына тең келеді, аналық гүлде гүл серігі мүлдем болмайды. Аналық 2жеміс жапырақшасынан құралған. Беретінжемісі жаңғақ. Қоңыраугүлділер тұқымдасы(сем. Колокольчиковые) Бұл тұқымдасқа 800-ге жуық түрі бар, көп жылдық шөптектес өсімдіктер жатады, өте аз ғана түрі бұталы. Гүлдері дұрыс қос жынысты, бес тостағанша жапырақшалары бір-бірімен кірігіп кеткен, кіріккен 5 күлте, кейде үш жағы салаланып келсе де, түбі бірігіп қоңырау пішіндес, бес аталықтары болады, оның жіпшелері өте жалпақ және 2-5 ұялы бір аналық. Жемісі қауашақ, тұқымша жидек. Қалампырлар тұқымдасы(сем. Гвоздичные) Қалампырлар тұқымдасының 2000-ға жуық түрі бар, жер шарының барлық құрлықтарына тараған бір жылдық және көп жылдық шөптектес өсімдіктерге жатады, тропик пен субтропик аймақтарында бұта және шала бұта түрінде де кездеседі. Жапырағы жай, жиектері тегіс, қандауыр, таспа пішіндес өркен бойына қарама-қарсы орналасады, кезектесіп орналасуы сирек кездеседі. Гүлдері дұрыс, шатыр. Қалқанша тәрізді шоғырларды құрайды, кей түрінде сабақ ұшында жеке гүл болып орналасады. Тостағанша жапырақшаларының саны 5 кей түрінде түтік тәрізді кіріккен, күлтесі 5, аталығы 10, аналығы 2-5 жеміс жапырақшаларынан тұрады. Насекомдар арқылы тозаңданады. Беретін жемісі- көп тұқымды қауашақ. Бұршақтар тұқымдасы(сем. Бобовые) Бұршақ тұқымдастары жер бетіне көп таралған 12 000-ға жуық түрі бар шөптектес өсімдік, ол бұта, шала бұта және ағаш түрінде кездеседі. Жапырақтары жай, көбінесе күрделі болады. Гүлдері де жиналып түрлі шоғырлар құрайды жеке әр бір гүлі жасыл түсті, түбі 5 тостағанша жапырақшадан кіріккен, 5 күлтеден (1 күлтесі желкен, 2 күлтесі ескек, 2 күлтесі бірігіп қайықша құрайды), 10 аталықтан ( кейде 9 аталықтың жіпшесі бірігіп кетеді, кейде 10 аталықтың жіпшелері бірікпеген болады), 1 аналықтан тұрады, беретін жемісі- бұршаққап. Көп түрлері насекомдар арқылы тозаңданады. Бұршақ тұқымдас өсімдіктердің шаруашылықта маңызы өте зор. Тамырларында түйнек бактериялары болады, олар атмосферадағы бос азотты, азот қосылыстарын, яғни өсімдіктің қоректік затына айналдырады, демек топырақты азотпен байытады. Тұқымдарында белок көп болады, сондықтан тамаққа пай даланады, олардан май, ірімшік, конфет, тамақтың дәмін кіргізетін тұздық, ұн т.б. дайындауда қосатын қоспалар дайындайды. Дәріге пайдаланатын түрлері де бар. Ерінгүлділер тұқымдасы(сем. Губоцветные) Ерінгүлділер тұқымдасының 3500-ге жуық түрі бар, бұл шөптектес, шала бұта, бұта, аздаған ағаш түрінде кездеседі. Сабақтары төрт қырлы, жапырақтары жай, өркен бойына қарама- қарсы, өте сирек жағдайда ғана топтанып орналасады. Жапырақтары сабақтың жалпақ қабырғасына бекінбей қырына бекінеді. Гүлдері бұрыс өркен бойына топтанып орналасады. Жеке гүлі 5 тостағанша жапырақшадан( кейде жоғары жағындағы 3 тостағанша, төменгі жағындағы екі тостағанша жапырақшалар өзара бірігіп тұрады), 5 күлте жапырақшадан, оның жоғарғы екі күлтесі, төменгі жағынан 3күлтесі бірігіп, ашылып тұрған ерінге ұқсайды, бесеуінің де түп жағы бірігіп түтік құрайды, тұқымдастың аты да осыған байланысты қойылған. Аталықтарының саны төртеу, оның екеуі қысқа, екеуі ұзын, аналығы екеу. Жемісі- жаңғақша. Ерінгүлділер тұқымдасына жататын өсімдіктер хош иісті, майлы, сондықтан да көп түрі медицинада, иісті майлар, кондитер өнеркәсібімен сабын қайнату өндірісінде кеңінен пайдаланады. Балды шырынды өсімдіктерге жатады. Кермек тұқымдасы(сем. Кермек) Кермектер тұқымдасына құрғақ, шөлді, сортаң топырақты жерде өсетін, көп жылдық шөптектес, шала бұта өсімдіктері жатады. Оның 600-ден астам түрлері бар. Тамырлары кіндік тамыр, сабақтары тік, жапырақтары сабақтың түп жағында дегелектеніп, топтанып орналасады, ал сабақ бойындағылары кезектесіп орналасады. Гүлдері кіріккен 5 тостағанша жапырақшадан, кіріккен 5 күлтеден, 5 аталықтан, 1 аналықтан тұрады. Жемісі- жаңғақ немесе қауашақ. Тамырларынан Тұттар тұқымдасы(сем. Тутовые) Тұттар тұқымдасына 1700-ден астам түрлері бар ағаш, бұта, көп жылдық, бір жылдық шөптектес пен шырмауық тектес өсімдіктер жатады. Кей түрлері мәңгі жасыл ьолса, енді бір түрінде балдақ тамырлары болады. Көбінесе тропикке тән, бірүйлі немесе екі үйлі өсімдіктер. Гүлдері дара жынысты келеді, күлтелері болмайды, тостағанша жапырақшаларының саны 1-8-ге дейін, аталығының саны да гүл серігінің санына тең, аналығы біреу, гүлдері жел арқылы да, насекомдар арқылы да тозаңданады. Жемісі- жаңғақша, сүйекті жеміс. Ежелден мал шаруашылығымен айналысқан ата- бабаларымыз жайылымдарды маусымның өзгеруіне қарай сауатты пайдаланған өмірлік тәжірибе оларды табиғатты сақтауға үйреткен. Жайлауды тақырлап көшкен ауыл келесі жылы жазда жер қалпына келіп, шөп жетілген де ғана қайтып келген. Сондықтан да ұзақ ғасырлар бойы топырақ өсімдік жамылғыларының ұзақ қалыптасуында үлкен өзгерістер болмаған. Қазіргі жағдай мүлдем басқаша. Онда пайдаланылған, тапталған, өсімдіктер жаңшылған тадиғаттың қайта жаңаруына уақыт берілмейді. Шөп жетілмей қылтанақтап шығып келе жатқанда-ақ оны қайта жаңшып таптау етек алған. Бір кездері игерілместей болған Қазақстанның кең байтақ жері бұл күнде экономикалық қуатымызды арттырып отырған өндіргіш күштердің өсуінің арқасында қоршаған орта жағдайлары ескерілмей аз уақыттың ішінде экологиялық дағдарыстар аймағына айналды. Бұрынғы Кеңестер Одағы жүргізген солақай саясатта дұған көп ықпал етіп, Қазақстандағы экологиялық проблемаларды көбейтіп жіберді. Табиғат байлығы ысырап болды. Сондықтан табиғат анамызды аялап сақтап, берген өнімін ғана алып пайдалансақ табиғаттын бізге берері әлі мол. Қолданылған әдебиеттер: Табиғатты қорғау. Е.Мамбетқазиев. Алматы, 1990ж. Табиғатты қорғау және көркейту. Н.Н.Родзевич. Алматы, 1980ж. Охрана природы. А.И.Воронцев, Н.З.Харитонова. Москва, 1977г. Экология Казахстана. Байтулин И.О. Алматы, 2003ж Тақырыбы: Қазақстан Республикасындағы экологиялық жағдай Жоспар: 1. Экология тақырыбына түсініктеме. 2. Қазіргі Арал проблемасы. 3. Шығыс Қазақстан облысының экологиялық жағдайы. 4. «Табиғат – тал бесігің» 5. Мониторинг жайлы түсініктеме. Қазіргі таңда біздің облысымызда да экологиялық жағдай өте қиын .Түбек тұрғындары уран мен радиация азабын бастан кешкелі талай жылдың жүзі болды. Бүгінде осы өңірде дені сау адам жоқтың қасы.Обылыстық қоршаған ортаны қорғауда басқармасы бастығының орынбасары сараптау бөлімнің бастығы іскер маман Ықылас Ноғаев атты азамат. Ол адам организмнің генетикалық ауытқуына төрт түрлі нәрсе себепші дейді . Бұл жұтатын ауа , ішетін су , жейтін тамақ және қоршаған ортадағы радиациялық сәуле. Өмір қазір мынаны көрсетіп отыр, адам аяғы тиген жердің бәрінде экологиялық ахуал нашарлайды . Оны күнделікті өмірден жиі байқауға болады. Мысалы :А қтау мен Құрық кеншінің арасында Сарша деген құм дауыт жері бар. 18 ғасырға дейін сол жерден түркімен тайпалары құдық қазып , тұщы су шығарып , бау-бақша салыпты, тал егіпті . Сол заманнан мұра болып қалған 7- 8 тал әлі күнге дейін өзегіндегі ылғалын сақтаған. Адам егін салам деп көңді жойды, одан жауын құртты жойылды, нәтижесінде буын ауру көбейді. Олай болса қоршаған Ортаны бұзылуының кезкелген жерден басталады екен. Көбіне көп мұнаймен бірге шығатын ілеспе газға байланысты. Ілеспе газды жаппай жаққаннан туындайтын сан түрлі зианды құбылыстар аз емес. Қазіргі кезде соғыс қауіпінен кем түспейтін проблеманың бірі – экология. Адамзат экологиялық апаттың құзар шыңының басында қалтылдап күн кешуде. Сондықтан бүгінгі таңда паналап отырған планетамызды ажалдан арашалап қалу адамзат ұрпағын қорғап қалу деген сөз. Бүгінде жер бетінің бірі шетінде кішкене ғана эколог гиялық апат болса ол бүкіл планетаға әсер етеді. Соның ішінде Арал проблемасы ерекше. Аралдың экологиялық жағдайы жыл сайын, тіпті күн сайын күрделеніп барады. Бір кездері аспанға шапшып жатқан теңіз Бүгінде әбден кеуіп, құрғап, өлі денеге айналуда. Арал өңірінде атмосферада көмірқышқыл газының мөлшері 1860 жылдан 1955 жылға дейін 15 пайызға, ал 2000 жылға дейін 1950 жылғымен салыстырғанда 25 пайызға көбейді. Аралдың 66мың шаршы шақырым су айдынынан бүгінгі Күнге20 мың шаршы шақырымға жуық су айдыны ғана қалды. Қазіргі деректер бойынша Арал теңізіндегі тұздың жалпы массасы 10.7-ден 11.4 млрд тоннаға жетті. Аралдың тұзы таза табиғи тұз емес, құрамында тыңайтқыштар мен гербицидтердің қалдықтары, тіпті гексохлоран сияқты аса қауіпті химикаттар бар. Аралдың ендігі жауы жел мен күн. Өйткені жер бетіндегі ауа үнемі қозғалыста болады. Сол арқылы бір ауданда пайда болған улы заттар екінші ауданға таралады. Табиғатта шекара жоқ. Арал теңізінің кеуіп қалған табынан көтерілген тұзды шаң ауаның Ағымымен соңғы жылдары «Памир» сілемдеріндегі мұздықттарды да еріте бастады.Бұдан келіп сол таулардың құзар басына қардың орнына жып-жылы тұзды жауындар жаууда .Себебі бір текше сантиметр ауаның құрамында ондаған мың түйір шаң тозаң болады. Жалпы деректер бойынша жер шарындағы өлім-жетімнің 6 пайызы бүгінде экология әсерінен болып отыр. Жүздеген мың адамның денсаулығы табиғат үйлесімсіздігінен нашарлап барады. Қазір әлемде жүрек талмасы, ми-қан айналымының бұзылуынан, ақыл-естен айырлатын аурулардың саны өршей түсті. Күні кеше осы арал проблемасын елбасымыз Н.Назарбаев тұрақты даму жөніндегі Йоханнес-бургте өткен бүкіл әлемдік саммитте сөйлеген сөзінде ерекше атап көрсетті. Тартылып бара жатқан Арал теңізін көріп отырып мәселені шешуге өзге елдердің көмек көрсетпегенін президентіміз қадап айтты. Ал мұның зардабын өзге елдердің енді өздері тартып отыр. Сондықтан “Арал тағдыры-әлем тағдыры” деуге де артық емес. Қоршаған ортаның жағдайы жөнінен Шығыс Қазақстан республикасының ең ластанған аймақтарының бірі және ол қазір де сол күйінде қалып отыр. Осыған орай “Қазақстан-2030 стратегиялық бағдарламасы”, “Қазақстан Республикасы Үкіметінің 2000-2002 жылдарға арналған іс-қимыл бағдарламасы”, “Қазақстан Республикасының экологиялық қауіпсіздік концепциясында” және облыс әкімінің үстем-сіздігі жылдың ақпан айындағы шешімінде көзделген міндеттерді жү-зеге асыру деңгейінде облыс экологтары қоршаған ортаның ластануын азайту, осының арқасында жағдайды бірте-бірте тұрақтандырып, жақсартуға алып келетін өте маңызды экологиялық жұмыстарды жүзеге асыруда. Жер-ананың қазіргі жағдай, оның түкпір-түкпіріндегі экология-лық өзекті мәселелер адам-заттың қатты алаңдатуда . Атмосфераның ластануда термині батыс елдерінде өткен ғасырда-ақ пайда болған. Қазір бұл түсінік бүкіл әлемді шаралап кетті. Күн сайын жер бетінен жан-уардың бір түрі , өсімдіктің бір түрі келмеске кететінін айтудың өзі өте қорқынышты. Дүниежүзі бойынша орман аумағы азайып , шөлге айналу қаупі ұлғаюда өзен, көл, мұхит өндіріс қалдықтармен ластануда, ғала-мат экологияляық апатты адам өз қолымен жасауда. Біріккен Ұлттар Ұйымының экологиялық бағдарламасында :Жер-Ананы аялау–бүкіл адамзат борышы. Табиғатқа деген мұндай сұраныс еш уақытта болған емес ,- деп айтылуы тегін емес . Туған жерімізде де экологиялық проблемалары бар аймақтар жетерлік : қалалар ауасы, топырағы, көлі, тағы басқалары. Өзіміз өмір Сүріп ауасын жұтып отырған сәулетті Алматы қаласының ауа бассейіні-нің экологиялық жағдайы да түйінді шешімді қажет ететін өткір де өзекті мәселе . Қалада ауа құрамындағы улы газдардың 80 процентті автокөлік үлесіне тиеді, оның 30 проценті қала топырағына сіңеді. Әсіресе, жас балалар, сәбилер үшін таза ауа тапшылығы жанға батады. Еліміз егеменді алғалы әр түрлі салаларда енген өзгерістерімен қатар, оқу процесінде де көптеген өзгерістер болады. Орта білім жүйесін-де де экологиялық пәндерді тереңдетіп оқытатын мектеп , лицей, гимна-зиялар ашылып жұмыс істеп жатыр, мұның өзі қазіргі жағдай сұранысынан туған қажеттілік себебі экологиялық мәдениетті білу эко-логиялық сауатты болу ең өзекті мәселенің бірі. Қоршаған орта- табиғат Екінші ана, адамға пана тербететін бесік. “Табиғат- тал бесігің “- дейді халық даналығы . Кез келген ақын жазушы немесе суретші ешқашанда табиғаттан жырақ кеткен емес. Олар табиғатқа етене жақын, одан нәр алып, өз шығармаларына арқау еткен. Табиғат олардың серігі , досы, жұбанышы, сырласы іспетті. Бір кезде Италияның ұлы суретшісі Леонардо до Винчи де “Ұстаздардың ұстазы- табиғатты өзіме тәлімгер тұттым’’- деген. Сол себепті меннің ойымша , экологиялыық тәрбиені бала ес біле бастағаннан бастау керек. Мысалы : ағаш жапырағын, гүлді жұлма, талды сындырма тағы басқа сияқты, суды ластама- дегенді күн Де айтып , сонда әр бала жүрегінде қоршаған ортаға, айналаға деген сүіспеншілік , жаны ашушылық сезімдер ұялап өседі. Адамзат егер экологиялық сауаттырақ болғанда , ерте ойлағанда Арал қазіргі күйге түспенген болар еді,Каспий, Балқаш мәселелері адамзатты алаңдатпас еді. Қоршаған ортаны аялау, қорғау, сүю сезімдері әр адамзаттың боры-шы. Жануарлар жайлы экологиялық халықтық қағидалар. Әрбір халықтың тұрмыс- тіршілігі, өмір салты және жалпы дүниетанымды тікелей табиғатпен өзектес әрі тамырлас болып келеді. Қазақ халқының ежелден-ақ табиғаттың аясында өскені тарихтан белгілі, сондықтан да халқымыздың ет жүрегі елжіреп Жер-Ана, Отан- Ана, Табиғат- Ана деген сөздерді тебірене айтуында да терең ұғым жатыр. Өзін табиғаттың төл баласы сезінген халқымыз Табиғат-Ана алдындағы перзенттік парызына аса бір жауапкершілік сезіммен қарап табиғатқа деген сүйіспеншілік қасиетін ұрпақтан- ұрпаққа өсиет сөздері арқылы қалдырып отырды. Табиғатты аялау , оған көздің қарашығыиндай қарап үнемі қамқорлық жасап келуі халықтың санасына сіңіп қалған экологиялық асыл мұралардан айқын көрініс тапқан. Осындай асыл мұралардың бір саласы байтақ жерімізді мекендеп тіршілік еткен жабайы түз тағдыры жайлы екендігін айрықша атап өтті. Жалпы адам баласы өзінің ең алғашқы тіршілік еткен күнінен бастап аң аулаумен айналасқаны баршаға мәлім. Байтақ өлкеміздің көгілдір көк айдында өзен- көлдер , ну тоғайлы жасыл желекті ормандарында, жазиралы жазық далалы аймағында, асқақ та асқар зеңгер тауларында сан алуан қаншама түрлі баға жетпес байлық көзі саналатын жан- жануарлар мекен етіп, ұрпақ өргізіп, жайлы қонысы мен бейбіт өрісінде таныс- тіршілігін жалғастырып өз ырыс-несібесін адамдармен бөлісіп жатқандығын халықтық экологиялық қағидаларын айқын көруге болады. Жануарларға байланысты халықтық экологиялық қағидалардың бір тобы - жануарларға қажетті табиғи орта жағдайының өзгеруі сол жануарға қауіпті екендігін де айқын ұғымдар арқылы дәл айтқанын көруге болады. Халықтың экологиялық қағидаларға ғылыми тұрғыдан зер салып зерделей білсек, әрбір ұғымның өзінде танымдық терең мағына мән жатыр. “Төрт аяқты жануар- жер бетінің жарығы”- деген ұғымдар жер бетіндегі жануардың да өз орны барлығына , табиғаттың бөлінбес бір құрамды бөлігі екендігіне мысал бола алады. Мониторинг- “monitor” латын тілінен аударғанда еске салушы , алдын ала ескерту деген мағына білдіреді . Биосфера немесе оның жеке бөліктерінің, элементтерінің жағдайының антропогенді әсерден болатын өзгерістерін болжау, бағалау мен бақылаудың комплексті жүйесі . Қазақстан Республикасының табиғат ресурстары және қоршаған ортаны қорғау министрлігінің жүйесінде жаңа бөлім экологиялық мониторинг басқармасы ашылды. Бұл бөлім қоршаған ортаның мониторингінде мемлекеттік басқару жұмыстарын жүргізіледі. Біздің республиканың пайдалы қазбаларының мемлекеттік кадастрлары жасала бастады. Зиянды заттар , радиоактивті қалдықтарды көму және шайынды суларды жіберудің мемлекеттік кадастрларын жасау бекітілген. Экологиялық мониторинг жүргізу үшін төмендегі кадастрлар тізімі жасалған: 1.Атмосфераны ластаушы көздердің кадастары. 2.Суды ластаушы көздердің кадастары. 3 . Шайынды суларды ағызу жіберу кадастары. 4. Зиянды заттарды көму кадастары. 5. Қазақстан Республикасының бір тұтас жиындық кадастары. Қазіргі кезде Қазақстанда мониторинг жүргізуде ерекше көңіл аударлатын мәселелер: 1. Мұнай өндіру қызметтінің нәтижесінде мұнаймен ластану. 2. Магистралды су жүйелерінің :Ертіс, Нұра, Оралдың суларының лас- тануы. Экологиялық мониторинг өзінің негізгі мақсатты қоршаған ортаның жалпы күйін бақылаумен және қадағалаумен қоса , жергілікті мақсатта да қызмет етеді. Қалалардағы атмосфера ауасының мониторинг жүйесіне байқаудың үш түрі бар. Стационарлық Маршуттық. Жылжымалы күзет орындары. Стационарлық күзет орындарын арнайы павилиондармен жабдықтайды. Маршруттық күзет орындары ауадан сынама үлгі алуға және метеорологиялық бақылауға арналған. Жылжымалы күзет орындары өнеркәсіп қоқыстары тасталатын аймақта, ластайтын заттардың концентрациясын бір рет байқау үшін қызмет етеді. Академик И.П.Герасимов мониторниг жүйесін әр түрлі блоктарға жіктеп , әр қайсысының өз тапсырмасы және қойылған маққсатты жүзеге асыруды қамтамасыз ететін базасы бойынша топтайды. Қолданылған әдебиеттер: Экология негіздері. Сағымбаев Ғ.Қ. Алматы, 1995ж. ҚР заңдары. Алимбаев, 1996ж. Экологический менеджмент. Карежов Р.С., Бекишев К.Б. Алматы, 1996ж. ДӘРІС № 1 Тақырып: Экологияның қалыптасуы және дамуы. Жоспары: 1. Экология туралы түсінік. 2. Экология қалыптасуының және дамуының қысқаша тарихы. 3. Экологияның ғылым ретінде анықтамасы. 4. Экологиялық көзқарастардың туылуы. 5. Экология бөлімдері. 6. Экологиялық зерттеу әдістері. Экология туралы ұғым.Организмдердің бір түрлі тобы және әр түрлі тобы белгілі бір жерде қоныстанып, өмір сүреді, сол ортада табиғатпен және өзара байланыстар жасайды. Қоршаған табиғи ортаға адамдар , жануарлар , өсімдіктер басқа да тірі организмдер өмір сүретін мекен-жай, жылы мен суық , ас пен қорек , олардың достары мен жаулары кіреді. Қоршаған орта тірі және өлі табиғаттан құралған , өзара тығыз байланыстары бар біртұтас жүйе. Табиғатта болатын барлық құбылыстар мен өзгерістер осында өтеді. Қоршаған ортаның күрделі проблемаларын зерттейтін , ғылыми тұрғыдан ұсыныстар жасайтын ғылым саласын экология дейміз. Ол гректің “oicos”-“үй, мекен, жай” деген мағынаны білдіреді. Экология бір ортада өмір сүретін организмдерді зерттейді, олардың басқа организмдермен және қоршаған ортамен ара қатынастарын анықтап, жиынтық қорытынды жасайтын ғылым. Сондықтан «экология» қоршаған ортаны сақтаудың ғылыми негізі болып саналады . Ең алғаш «экология» деген сөзді 1858 жылы пайдаланған Генрих Девид Торо. Экология терминін ғылымға бірінші болып енгізген 1866 ж. белгілі табиғат зерттеушісі, дәрігер, аса дарынды неміс ғалымы Эрнест Геккель. Э.Геккель экологияға мынандай анықтама берді . Экология табиғаттың экономикасын білу, сонымен қатар тірі организмдердің осы ортаға басқа органикалық және органикалық емес заттардың ара қатынасын, өсімдіктер мен жануарлардың , олардың достары мен жауларының бір-бірімен байланыстарын зерттеу. Экологияның даму ағымы өте ерте кезеңді қамтиды. Организмдердің ортамен байланыстары және олардың қоршаған орта жағдайларына тәуелділігі туралы пікірлер антикалық философтардың еңбектерінде кездеседі . Өсімдіктер туралы осындай жоспарда Эмпедокл және Теофраст (IIIғ.б.э.д) жазған , ал жануарлар туралы - Аристотель (Ivғ.б.э.д) жазған. Экология ғылымының дамуына А. Гумбольдтің, Ч. Дарвиннің, К.Рулье, Н.Северцов және басқалардың еңбектері үлкен үлесін қосты. А.Гумбольдтың (1769-1859) еңбектері өз уақыты үшін өте елеулі болды. Ол өз бетімен жеке Солтүстік және Оңтүстік Американы , Орталық Европаны, Сібірді , Алтайды, Каспий жағалауларын зерттеді. Сөйтіп ол өсімдіктер географиясын қалыптастырды, жер бетіндегі өсімдіктер дүниесінің таралу заңдылығы туралы рекше ғылым ретінде және өсімдіктер тіршілігін зерттеуде экологиялық бағыттың негізін салды. XIX ғ. ортасында Ресейде К.Ф.Рульенің еңбектері биологиялық ғылымдағы экологиялық бағытының дамуы үлкен әсер етті. Оның еңбектері зоологиядағы экология бөлімін қалыптастырды. XIXғ. соңында Дарвиннің ілімі арқасында экология организмдердің адаптациясы туралы ғылымға айналды . Дарвиннің анықтамасы бойынша , экология -бұл табиғаттағы барлық күрделі өзара байланыстар мен өзара қатынастарды зерттейтін ғылым, тіршілік үшін күрес жағдайы ретінде. XXғ. 60-жылдарынан бастап, экология дамуында жаңа кезең басталды, экология дамуында жаңа кезең басталды, ол барлық елдерде экологиялық зерттеулердің күрт өсуімен сипатталады. Үнемі әртүрлі экологиялық проблемалар бойынша ақпараттар саны өседі. Мысалы, қоршаған ортаның өзгеруі туралы , өсімдіктерді қорғау туралы және т.б. фактілер саны көбейе түсті. Қазіргі кездегі экология адамзат мүддесін ескере отырып, биосфераның бетбұрасын ғылыми түрде негіздеуге ұмтылады. Экология ойлаудың ерекше типін қалыптастырады, ол табиғатты оңтайлы пайдалануға, табиғи ресурстарды қалпына келтіруге, қорғауға және молайтуға бағытталған. Сонымен экология пәнінің арнайы мақсаты мен міндеттері бар. Экология ғылымының ең басты мақсаты – биосфера шегіндегі ғаламдық мәселелерді бақылай отырып, ондағы тіршіліктің тұрақтылығын немесе тепе-теңдігін сақтау. Экология ғылымының негізгі міндеттері: организмдердің бір-бірімен қарым-қатынастары мен қоршаған табиғи ортасын зерттеу; табиғи ресурстарды, оларды тиімді пайдалану және қорғаудың ғылыми-теориялық негіздерін жасау; адам, қоғам, табиғат арасындағы гормониялық байланыстарды реттеу; биосфера шегіндегі географиялық заңдылықтардың тұрақтылығын сақтауды қамтамасыздандыру; биосферадағы тіршілікті қалыпты сақтауды ғаламдық ноосфералық деңгейге көтеру; көпшілікке үздіксіз экологиялық білім мен тәрбие беру және экологиялық санасын, мәдениетін қалыптастыру; экологиялық қауіпсіздікті сақтау. Экологияның ғылым ретінде анықтамасы, оның қалыптасуының қысқаша тарихы. Экология қоршаған ортаны қорғаудың ғылыми негізі болып табылады. Бұл гректің екі сөзінен құралған: “oikos” – үй, мекен , халық және “logos”- ғылым. Сонымен , Экология біздің «табиғи үйімізді» зерттейді және ол сонда тұратын барлық ағзаларды және өмір үшін қажетті сол «үйдің» барлық болып жатқан функционалдық процестерін қамтиды. Басқаша айтқанда , экология– ағзалар мен оларды қоршаған ортаның арасындағы байланыстар туралы ғылым. Жеке ғылым ретінде экология шамамен 1900ж. қалыптасты. Алғаш « экология» сөзін 1қаңтарда 1858ж. Генрих Дэвид Торо қолданған. «Экология» терминін 1868ж. неміс ғалымы, медик, ботаник, зоолог , морфолог Эрнест Геккель бірінші болып ұсынған. Э. Геккель экологияға келесідей анықтама берді: « Бұл табиғаттың экономикасын танып білу, ортаның органикалық және бейорганикалық компоненттері мен тірілер арасындағы барлық өзара қатынастарды бір уақытта зерттеу». Ч. Дарвин бойынша: «Экология-табиғаттағы барлық күрделі өзара байланыстар мен өзара қатынастар, тіршілік үшін күрес ретінде қарастырылатын ғылым». Ф. Клементс (АҚШ) 1920 ж. Экологияны қауымдастық туралы ғылым деп атады. Ч. Элтон (Ұлыбритания) 1937 ж. Экологияны жануарлардың социологиясы мен экономикасына қатысты, табиғи тарих ретіндегі ғылым деп анықтады. Х. Б. Одум (АҚШ) 1959ж. Экологияны табиғаттың құрылымы мен қызметін зерттейді деп атады. Экологиялық көзқарастардың туылуы Экология организмдер мен ортаның өзара байланыстары және өзар әсерлесуі туралы ғылым ретінде биологиялық білімдер дамуының белгілі кезеңінде пайда болды. Оның қалыптасуы қоғамның смұранысымен де , сондай-ақ өндірістік күштердің даму деңгейімен де тығыз байланысты. Ф.Энгельстің айтуынша , «ғылымның ең бастапқы қалыптасуы мен дамуы өндіріске тәуелді» , дейді. Жеке ғылым ретінде экология шамамен 1900ж. қалыптасты. «Экология» терминін 1866ж. неміс биологы Эрнест Геккель ұсынған болатын . Экология (грекше oicos-мекен, үй және logos-ғылым) сөзбе-сөз аударғанда- тіршілік мекені туралы ғылым. Экология ғылымына берілген анықтамалар көп. Э.Геккельдің анықтамасы бойынша , экология- бұл организмдердің тіршілік ету жағдайларын және организмдер мен олардың тіршілік ету ортасы арасындағы өзара байланыстарды зерттейтін ғылым деп есептейді. Басқа жұмысында(1868ж.) Геккель жазған: «Біз экология деп экономика туралы, жануар организмінің үй тұрмысы туралы ғылымды ұғынамыз» дейді. Ол қоғам өмір сүруінің маңызды жағдайы ретінде табиғат экономикасын зертейді, сөйтіп ол тек биологиялық қана емес , сонымен бірге экономикалық факторларды да қарастырады. Экология ағымы ежелгі кезеңнен басталған. Организмнің ортамен байланыстары туралы және олардың қоршаған ортаның жағдайларына тәуелділігі туралы айтқандары антикалық философтар еңбегінде кездеседі . Осындай жоспарда өсімдіктер туралы Эмпедокл (б.э.д.IVғ.) жазған , Теофраст (IIIғ.б.э.д.) , ал жануарлар туралы Аристотель(IVғ.б.э.д.) жазған. Экологияның дамуына үлкен үлес қосқан А. Гумбольдтың, Ч.Дарвиннің, К.Ф.Рульенің , А.Северцовтың және т.б. еңбектері болды. Өз уақытында Александр Гумбольдтың (1769-1859) еңбектері елеулісі болды. Ол Оңтүстік және Солтүстік Американы, Орталық Европаны, Сібір, Алтай, Қытай жерлерін зерттеп, Өсімдіктер географиясын жасады. Ол оны жер бетіндегі өсімдіктердің таралу заңдылықтары туралы ерекше ғылым ретінде қарастырып , өсімдіктер тіршілігін зерттеуде өсімдіктер географиясында экологиялық бағыттың негізін салды. XIXғ. ортасында Ресейде биологиялық ғылымның экологиялық бағытының дамуына үлкен үлес қосқан К.Ф.Рулье(1814-1858) болды. Осы ғалымның еңбектері арқасында зоологиядағы экологиялық бөлім қалыптасқан. XIXғ. соңында Ч.Дарвиннің ілімі негізінде экология – организмдердің адаптациясы туралы ғылымға айналған . Дарвиннің анықтамасы бойынша , экология- тіршілік үшін күресті туындатушы жағдайлар ретінде , табиғаттағы барлық күрделі қарым- қатынастарды зерттейтін ғылым дейді. XXғ. 60-жылдарының басында, экология дамуында жаңа кезең басталды , ол барлық елдерде экологиялық зерттеулердің жылдам өсуімен сипатталады. Әртүрлі экологиялық мәселелер бойынша ақпараттар саны өсе бастады, мысалы, қоршаған ортаның өзгеруі туралы өте көп фактілерді , өсімдіктерді қорғау саласында эклогтар өз зерттеулерінде жазды. Сонымен , қазіргі заманғы экология адамзат үшін биосфераның бетбұрысын ғылыми негіздеуге ұмтылады. Ол табиғи ресурстарға тұтынушылық қатынасты жоюға мүмкіндік беретін , ойлаудың ерекше түрін қалыптастырады. Қазіргі кезде экология тек биологиялық ғылым ғана емес , ол білімнің интеграциялық саласы, яғни адам мен қоғамның табиғатпен өзара әсері туралы ғылыми жаратылыстану , әлеуметтік және технологиялық кзқарастардан тұрады. Экология бөлімдері. Экология 3 негізгі бағытты зерттейді. 1.Аутэкология - особьтар экологиясы. Аутэкология бір түрдің өкілінің (особьтың) қоршаған ортамен өзара қарым- қатынасын зерттейді. Басқаша айтқанда , осы организмге қоршаған орта факторларының әсерін және оларға осы особьтың табиғи реакцияларын зерттейді. Қоршаған орта факторларына : а.) Абиотикалық факторлар- өлі табиғаттың әсері (климат, t0-ра , ылғалдылық , жарық және т.б. б.) Биотикалық факторлар – тірі организмдердің әсері. в.) Антропогендік факторлар – адамның әртүрлі іс-әрекеті нәтижесінің әсерлері. 2. Демэкология - популяциялық экология. Популяция дегеніміз белгілі ареал бөлігінде ұзақ тіршілік етіп , еркін будандаса алатын бір түр особьтарының жиынтығы. Демэкология популяцияның қалыптасу жағдайәларын , құрылымы мен динамикасын зертейді. Ол популяция санының өзгеруін, бұл құбылыстың себептерін зерттейді. 3. Синэкология - қауымдастық экологиясы. Қауымдастық дегеніміз белгілі ареалда мекендейтін , әртүрлі түрлерден құралған, тірі организмдер жиынтығы. Синэкология организмдердің тіршілік жағдайларын , өзара және қоршаған ортамен өзара қарым-қатынасын зерттейді. Синэкология экожүйелердің шекараларын салумен айналысады, сондықтан оны биогеноценологиялық экология деп те атайды. Экологияның зерттеу обьектілерінің сатылама деңгейлері. Тірі материяның ұйымдастырылуына келесі деңгейлер жатады: Молекулалық –>Жасушалық деңгей –>Ұлпалар мен мүшелер деңгейі–>Организмдік (Особь) деңгей –>Популяциялық (түрлік) деңгей –>Экожүйелік деңгей - >Биосфералық деңгей. Экологиялық зерттеу әдістері. Экологиялық ғылымның далалық, лабораториялық және эксперименттік зерттеу әдістері бар. Далалық зерттеу әдісі – далалық жағдайда жүргізіледі. Зерттеу обьектілері – особь, популяция, түр және олардың табиғи бірлестіктері (биоценоз, биогеоценоз, экожүйе), т.б. болуы мүмкін. Далалық зертеулер белгілі бір түр, популяция, биоценоз, экожүйе, өзен-көлдер, т.б. обьектілерінің жәйі, сандық қатынасы немесе сапасы, ауытқулар мен өзгерістер, абиотикалық, биотикалық, антропогендік факторлардың әсері, уақыт пен кеңістікке қатысты олардың көбеюі, құрып кетуі, апаттардың болу себептері туралы жалпы мағлұматтар мен материалдар жинақталады. Материлдарды жинақтау жылдың барлық мезгілінде және бірнеше жылдар бойы жүргізіледі. Лабораториялық зерттеу әдісінде – далалық материалдар лабораториялық жағдайда өңделеді. Дүниежүзілік стандартқа сай лабораториялар қазіргі заманғы – климекамералар, видеоаппаратуралар, оптикалық құралдар, анатикалақ таразылар, топографиялық құралдар, термостаттар, хромотография, электронды микроскоптар, компьютерлік т.б. керекті құралдармен жабдықталуы тиіс. Зерттеу обьектілері лабораториялық жағдайда эксперимент арқылы тексеріліп, бақылаулар, тәжірибелер жүргізіледі. Экологияда математикалық әдістер мен модельдеу жиі қолданылады. Соңғы жылдары биоэкологиялық зерттеулер мен құбылыстарды модельдеу қолданылып жүр. Негізгі әдебиеттер : Бейсенова Ә.Б. Экология және табиғатты тиімді пайдалану. Оқу құралы. Алматы, 2004. Сағымбаев Ғ.Қ. Экология негіздері. Оқу құралы. Алматы, 1995. Оспанова Г., Бозшатаева. Экология. Оқу құралы. Алматы, 2000. Бродский А.К. Жалпы экологияның қысқаша курсы. Оқу құралы. Алматы,«Ғылым», 1997, қаз.ауд. Көшкімбаев Қ.С. Мәмбетқазиев Е., Сыбанбеков Қ. Табиғат қорғау. Оқу құралы. Алматы, «Қайнар», 1990. Жамалбеков Е.Ү., Білдебаева Р.М. Жалпы топырақтану және топырақ географиясы мен экологиясы. Алматы, «қазақ университеті», 2000. Фурсов В.И. Экологические проблемы окружающей среды. Алма-Ата, «Ана тілі», 1991. Байтулин И.О. Экология Казахстана. Алматы, 2003. |
||||||||||||||||||||||||||||||||||||



өлімі




Таусылмайтын ресурстар: 