Реферат: Электрорадиоматериалы. Методические указания к лабораторным работам
|
Название: Электрорадиоматериалы. Методические указания к лабораторным работам Раздел: Рефераты по коммуникации и связи Тип: реферат | |||||||||||||||||||||||||||||||||||||||||||||||||||||||||||||||||||||||||||||||||||||||||||||||||||||||||||||||||||||||||||||||||||||||||||||||||||||||||||||||||||||||||||||||||||||||||||||||||||||||||||||||||||||||||||||||||||||||||||||||||||||||||||||||||||||||||||||||||||||||||||||||||||||||||||||||||||||||||||||||||||||||||||||||||||
Методические указания к лабораторным работамСанкт-Петербург 2000 УДК 621.315.4 Составители: ст. преп. Г. И. Иванова, доценты Г. А. Татарникова, Б. В. Фролов, С.А. Гусев. Подготовка к переизд.: доценты С.А. Гусев, И.К. Желанкина, Л.Ф. Погромская; под ред. С.А.Гусева. Электрорадиоматериалы. Методические указания к лабораторным работам./ Под ред. С.А.Гусева. Изд. второе пер. и доп.; Балт. гос. техн. ун -т, СПб., 2000, с. Ил. 26, табл. 18. © Содержание Работа 1. Исследование электрических свойств проводниковых материалов ........ 4 1. Краткие сведения из теории...................................................................................................................................... 4 2. Описание экспериментальной установки.......................................................................................................... 6 3. Порядок проведения работы....................................................................................................................................... 6 4. Оформление отчета......................................................................................................................................................... 7 Работа 2.Исследование свойств терморезисторов ............................................................................. 7 1. Краткие сведения из теории....................................................................................................................................... 7 2. Описание экспериментальной установки........................................................................................................... 9 3. Порядок выполнения работы...................................................................................................................................... 9 4. Оформление отчета...................................................................................................................................................... 10 Работа З.Исследование свойств варисторов ......................................................................................... 11 1. Краткие сведения из теории..................................................................................................................................... 11 2. Описание экспериментальной установки........................................................................................................ 12 3. Порядок выполнения работы.................................................................................................................................... 13 4. Оформление отчета...................................................................................................................................................... 14 Работа 4.Исследование свойств фоторезисторов ............................................................................... 14 1. Краткие сведения из теории..................................................................................................................................... 14 2. Описание экспериментальной установки........................................................................................................ 16 3. Порядок проведения работы..................................................................................................................................... 16 4. Оформление отчета...................................................................................................................................................... 17 Работа 6. Исследование свойств сегнетоэлектриков ..................................................................... 17 1. Краткие сведения из теории..................................................................................................................................... 17 2. Описание экспериментальной установки........................................................................................................ 19 3. Порядок выполнения работы.................................................................................................................................... 19 4. Оформление отчета...................................................................................................................................................... 21 Работа 7. Исследование свойств ферромагнитных материалов .......................................... 21 1. Краткие сведения из теории..................................................................................................................................... 21 2. Описание экспериментальной установки........................................................................................................ 23 3. Порядок выполнения работы.................................................................................................................................... 24 4. оформление отчета....................................................................................................................................................... 25 Работа 1 . Исследование электрических свойств проводниковых материалов Цель работы: 1) определение удельных сопротивлений проводниковых материалов низкого и высокого сопротивления и их зависимости от температуры; 2) определение зависимости величины электродвижущей силы термопар от температуры; 3) оценка длины свободного пробега электронов в различных проводниковых материалах. Основные свойства проводниковых материалов характеризуются величиной удельного сопротивления электрическому току r , температурным коэффициентом удельного электрического сопротивления a r (ТКr ), величиной термоэлектродвижущей силы ЕТ . Наилучшими проводниками электрического тока являются металлы. Механизм протекания тока в металлах, находящихся в твердом или жидком состояниях, обусловлен движением свободных электронов, поэтому металлы являются материалами с электронной электропроводностью. Электропроводность металлов зависит от совершенства кристаллической решетки: чем меньше дефектов имеет кристаллическая решетка, тем выше электропроводность. Поэтому чистые металлы обладают наименьшими значениями удельного сопротивления, а сопротивление сплавов всегда выше сопротивлений металлических компонентов, входящих в их состав. Металлические проводниковые материалы могут быть разделены на проводники малого сопротивления (r£ 0,1 мкОм×м) – медь, серебро, алюминий и т. д., и проводники (сплавы) высокого сопротивления. Последние в свою очередь делятся на термостойкие сплавы для электронагревательных приборов – нихром, хромаль, фехраль и др., и термостабильные сплавы для образцовых резисторов – манганин, константан. B соответствии с электронной теорией металлов:
где mo
= 9,109×10-31
кг, e
= 1,602×10-19
Кл – масса покоя и заряд электрона;
Температурным коэффициентом удельного сопротивления a r (ТК r ) называется относительное изменение удельного сопротивления при изменении температуры на один Кельвин (градус):
Зависимость удельного сопротивления от температуры вызывается не только уменьшением длины свободного пробега электронов, но и увеличением линейных размеров проводника. Поэтому a r имеет две составляющие: a r = a R + a l , (1.3) где a R – температурный коэффициент сопротивления в данном интервале температур; a l – температурный коэффициент линейного расширения проводника, значения которого приведены в табл. 1.1. У чистых металлов a r >> a l , поэтому для них a r » a R . для термостабильных металлических сплавов такое приближение не справедливо. Таблица 1.1
Температурный коэффициент электрического сопротивления (ТКR ) резистора определяется выражением
экспериментально удельное электрическое сопротивление определяется по формуле:
где R – электрическое сопротивление проводника, S , I –площадь поперечного сечения и длина проводника. При соприкосновении двух различных металлов между ними возникает контактная разность потенциалов. Причиной этого являются неодинаковые значения работ выхода электронов и различные значения концентрации свободных электронов в соприкасающихся металлах. Термопарой называется устройство, содержащее спай двух проводников или полупроводников. Если спай двух металлов А и В (термопара) имеет температуру T 1 , а свободные (неспаянные) концы температуру T 2 , причем T 1 > T 2 , то между свободными концами возникает термо-э.д.с.
где В термопарах используют проводники, имеющие большой и стабильный в рабочем диапазоне температур коэффициент термо-э.д.с. 2. Описание экспериментальной установки
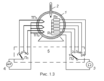
Экспериментальная установка изображена на рис. 1.3. Образцы проволочных резисторов R1 – R4 , изготовленные из меди, константана, манганина и нихрома, металлопленочный резистор МЛТ-1 (R5 ) и термопары ТП1–ТП3 помещаются в термостат 1 с термометром 2 . Электрическое сопротивление резисторов измеряется омметром 3, э.д.с. термопар – милливольтметром 4 . Переключатели П1 и П2 размещены на плате 5 и позволяют поочередно подключать к измерителям исследуемые проводники и термопары. Там же приведена таблица с указанием вида, длины и сечения исследуемых проводников. Внимание: все измерения по последующим пунктам проводятся одновременно. 3.1. Определение удельного электрического сопротивления проводников и вычисление aR , ar . Проводники, помещенные в термостат, поочередно подключить к входным зажимам омметра и замерить их сопротивления сначала при комнатной температуре, а затем при повышении температуры до 90 °С с шагом 10 о С. Результаты измерений записать с максимальной точностью в табл.1.2. Таблица 1.2
3.2. Определение зависимости термо-э.д.с термопар от температуры. Одновременно с нагреванием проводников нагреваются помещенные в термостат спаи трех термопар. Холодные концы термопар поочередно подключить переключателем П 1 к милливольтметру. Значения измеренных термо-э.д.с. занести в табл. 1.3. Таблица 1.3
1. Привести схемы экспериментальных установок, данные измерительных приборов и исследуемых элементов, а также таблицы измерений. 2. По данным измерений табл. 1.1 построить график зависимости R ( q ) . По графикуR ( q ) , а также по формулам (1.3), (1.5) рассчитать и занести в таблицу 1.1 значения a R ,a r , и r для каждого из исследованных проводников. По данным таблицы 1.1 построить графики зависимостей R ( q ) , r ( q ) , a R ( q ) и a r ( q ) . 3. Рассчитать длины свободного пробега электронов для исследованных проводников при комнатной температуре. 4. По данным таблицы 1.2 и по формуле (1.6) рассчитать средние значения относительной удельной термо-э.д.с. для исследованных термопар. построить графики зависимостей ЕТ ( q ) . 5. Привести краткое описание исследованных в работе материалов (химический состав, электрические свойства, области применения). 6. Дать краткие выводы по результатам работы. 1. Какие материалы относятся к классу проводников? 2. Чем обусловлена высокая электропроводность проводников? 3. Как можно классифицировать проводники? 4. Какие факторы и почему влияют на удельное электрическое сопротивление? 5. Что такое температурный коэффициент удельного сопротивления? 6. Для каких материалов и почему важно учитывать линейное расширение при нагревании? 7. Что такое термо-э.д.с., в чем причина ее возникновения? 8. Исходя из каких соображений подбираются материалы для термопар? Работа 2.Исследование свойств терморезисторов Цель работы: а) определение зависимости сопротивления терморезисторов от температуры; б) определение энергии активации и коэффициента температурной чувствительности полупроводника; в) оценка величины постоянной времени тепловой инерции терморезисторов; г) построение динамических вольтамперных характеристик терморезисторов. Терморезистором называется полупроводниковый резистор, сопротивление которого в сильной степени зависит от температуры. Удельная электрическая проводимость полупроводников
где В примесных (n -типа или p -типа) полупроводниках одним из слагаемых в приведенном выражении можно пренебречь. Подвижность носителей при нагревании изменяется сравнительно слабо (по степенному закону, ~
где N о – коэффициент, зависящий от типа и геометрических размеров полупроводника; DЭ – энергия активации примесей (для примесных полупроводников) или ширина запрещенной зоны (для собственных полупроводников), k – постоянная Больцмана. постоянная В = D Э/ k носит название коэффициент температурной чувствительности и приводится в паспортных данных на терморезистор. экспериментально коэффициент температурной чувствительности определяют по формуле
где Т1 и Т 2 – исходная и конечная температуры рабочего температурного диапазона, R1 и R2 – сопротивления терморезистора при температуре соответственно Т 1 и Т 2 .
Чаще всего терморезисторы имеют отрицательный температурный коэффициент сопротивления a R . Выпускаются также терморезисторы, имеющие в сравнительно узком интервале температур положительный a R и называемые позисторами . При нагревании величина сопротивления терморезисторов убывает, а позисторов возрастает в сотни и тысячи раз. В справочниках значение a R приводится для температуры 20 о С. Значения a R терморезисторов для любой температуры в диапазоне 20…150 о С можно определить по формуле:
терморезистор характеризуется определенной тепловой инерцией, зависящей от химических свойств полупроводника и конструкции элемента (площади излучающей поверхности). Тепловая инерция оценивается постоянной времени t – временем, за которое разность между собственной температурой тела и температурой среды уменьшается в е (2,7183) раз. Если терморезистор, имеющий температуру q о , поместить в среду с температурой q с ¹q о ,то его температура будет изменяться с течением времени по показательному закону:
На рис.2.2 показан процесс изменения температуры терморезистора при его остывании. С остыванием терморезистора сопротивление его увеличивается (рис. 2.3). Знание зависимостей R ( q ) (рис.2.1) и R ( t ) (рис. 2.3) позволяет, задаваясь значениями R и определяя по кривым рис. 2.1 и 2.3 соответствующие им значения q и t , построить зависимость q ( t ) и определить t .
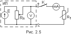
Терморезистор обладает одной статической и семейством динамических ВАХ, соответствующих ряду фиксированных длительностей D t импульсов напряжения. ВАХ терморезистора являются нелинейными. динамические ВАХ терморезистора приведены на рис. 2.4 . При длительности импульса 2. Описание экспериментальной установки Эксперимент проводится на установке аналогичной изображенной на рис.1.3. терморезистор помещается в термостат, температура внутри которого измеряется термометром или термопарой. Сопротивление резистора измеряется омметром. снятие вольтамперных характеристик выполняется по схеме, приведенной на рис. 2.5. Измерительной цепь питается от источника постоянного регулируемого напряжения ИП со встроенным вольтметром V. Ток через терморезистор измеряется миллиамперметром.
3.1. снятие зависимости R ( q ) сопротивления терморезистора от температуры. Включить термостат, электронный термометр и омметр. Измерить сопротивление терморезистора при различных температурах – от комнатной до максимальной, равной 90°С, с интервалом Dq =10 °С. Результаты опыта занести в табл. 2.1. Таблица 2.1
3.2. определение тепловой постоянной времени терморезистора. Измерив сопротивление терморезистора при 90 °С, быстро извлечь его из термостата. Момент извлечения принять за t = 0. Отключить термостат. фиксируя время, измерять сопротивление терморезистора при его остывании до тех пор, пока оно не увеличится примерно в три раза. Данные измерений занести в табл. 2.2. Таблица 2.2
3.3. Снятие динамических вольтамперных характеристик Собрать электрическую схему установки в соответствии с рис. 2.5. Установить напряжение на выходе источника питания ИП равное 5В. Замкнув ключ К, записать показания миллиамперметра в начальный момент времени и далее через каждые 10 секунд. Через 60 с ключ разомкнуть. Перед следующим измерением выдержать минутную паузу для охлаждения терморезистора. Повторить измерения для напряжений 10, 15, 20, 25, 30 В; длительность паузы с ростом напряжения следует увеличивать. Результаты опыта занести в табл. 2.3. Таблица 2.3
1. Привести схемы экспериментальных установок, данные измерительных приборов и исследуемых элементов, а также таблицы измерений. 2. Для исследованного температурного диапазона определить по формулам (2.2) и (2.3) энергию активации DЭ и коэффициент температурной чувствительности В терморезистора. 3. Рассчитать по формуле (2.4) и занести в табл. 2.1 значения a R . по данным табл. 2.1 построить графики зависимостей R = f ( q ) и a R = f ( q ) . 4. на основании данных табл. 2.1 и 2.2. построитьграфик зависимости q ( t ) . Определить постоянную времени t тепловой инерции терморезистора. За температуру среды q с принять комнатную температуру. 5. по данным табл. 2.3 построить динамические вольтамперные характеристики терморезистора. 6. дать краткие выводы по результатам работы. 1. Что называют терморезистором? 2. Чем обусловлена электропроводность полупроводников? 3. В чем причина сильной температурной зависимости сопротивления полупроводниковых резисторов? 4. Что такое коэффициент температурной чувствительности, как его можно определить экспериментально? 5. Почему терморезисторы обладают отрицательным температурным коэффициентом сопротивления? 6. Что такое постоянная времени терморезистора, отчего зависит ее величина? 7. Как практически можно определить постоянную времени терморезистора? 8. В чем различие между статической и динамической ВАХ терморезистора? Работа З.Исследование свойств варисторов Цель работы – исследование основных свойств варисторов и иллюстрация их практического применения. в аристором называется нелинейный полупроводниковый резистор, электрическое сопротивление которого изменяется в зависимости от приложенного напряжения. Варисторы изготавливаются из размолотого карбида кремния (SiC) с добавкой связующего вещества. Причинами, обусловливающими нелинейность вольтамперной характеристики варистора, являются:
– увеличение проводимости вследствие частичного пробоя оксидных пленок, покрывающих зерна карбида кремния, при напряженностях электрического поля E = 105 …106 В/м; – существование на поверхности зерен карбида кремния запирающих р-п -переходов, обусловленных различным характером электропроводности по поверхности и в объеме отдельного зерна SiC. ВАХ варистора (рис. 3.1), как и всякого нелинейного резистора, в рабочей точке (точка А) характеризуется статическим и дифференциальным сопротивлениями
где М U , MI — масштабы по осям координат. Степень нелинейности ВАХ оценивается коэффициентом нелинейности
который у варисторов довольно велик (b = 2…7) и несколько меняется в различных точках ВАХ. Разделяя переменные в выражении (3.2) и интегрируя, можно получить аналитическую аппроксимацию ВАХ варистора где В – постоянная, зависящая от свойств полупроводникового материала и геометрических размеров варистора.
Варисторы широко применяются в технике для защиты от перенапряжений (искрогасители), в стабилизаторах и ограничителях напряжения, в преобразователях сигнала (умножители частоты). В данной работе исследуется мостовой стабилизатор напряжения на варисторах (рис. 3.2). напряжение на выходе стабилизатора равно разности напряжений на варисторе (
U
)
и на линейном резисторе (
UR
)
:U
вых
=
U
-
UR
. С ростом входного напряжения U
вх
растет ток в элементах моста. Выходное напряжение, как видно из рис. 3.3, вначале увеличивается, затем падает до нуля и после изменения знака снова растет по абсолютной величине. Внешняя характеристика стабилизатора U
вых
(U
вх
) в режиме холостого хода приведена на рис. 3.4. Выходное напряжение остается приблизительно постоянным при изменении входного напряжения от Uвх1 до U вх2 , когда величина дифференциального сопротивления варистора равна или близка к величине сопротивления линейного резистора. Количественной оценкой стабилизации напряжения является коэффициент стабилизации
При синусоидальном входном напряжении мост стабилизирует действующее значение выходного напряжения. Последнее содержит третью гармонику, удельный вес которой возрастает с ростом амплитуды входного напряжения. 2. Описание экспериментальной установки Вольтамперные характеристики варистора снимаются по схеме рис. 2.5. Осциллографическое исследование варистора проводится по схеме рис. 3.5.
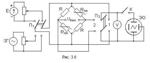
Измерительной цепь питается от задающего генератора ЗГ . Переключатель П подключает на вход осциллографа ЭО варистор или (для масштабирования осциллографа) линейный резистор R . на вертикальные пластины ЭО подается напряжение с линейного резистора R о , пропорциональное току через варистор, на горизонтальные пластины – напряжение на варисторе. Таким образом, на экране осциллографа воспроизводится динамическая ВАХ исследуемого элемента. Входное напряжениеизмеряется цифровым вольтметром V . Исследование мостового стабилизатора на варисторах проводится по схеме рис.3.6. Питание осуществляется или от источника постоянного напряжения, или от задающего генератора в зависимость от положения переключателя П 1 . Переключатель П2 служит для переключения вольтметра и осциллографа к входным или выходным зажимам моста. 3.1 Снятие вольтамперной характеристики варистора на постоянном токе Подать питание на измерительную схему рис. 2.5. Изменяя входное напряжение от 0 до 60 В, замерить и записать в табл. 3.1 значения тока через варистор (6…8 точек). Таблица 3.1
3.2 Осциллографическое исследование варистора. Подать питание на схему рис.3.5. Зарисовывать на кальку ВАХ варистора при напряжении на входе 60 В. Определить масштабы по току (по оси у) и по напряжению (по оси x ) для чего, не трогая регуляторов усиления осциллографа, переключатель П 1 перевести в положение «2». На экране осциллографа получится наклонная прямая – ВАХ линейного резистора. Регулируя напряжение, добиться того, чтобы ее крайние точки не выходили за пределы экрана осциллографа. Масштабы (при R >> R o ) рассчитываются следующим образом:
где U – напряжение, измеренное вольтметром, X, Y – проекции ВАХ на оси х, у. 3.3 Исследование мостового стабилизатора напряжения на варисторах Опыт проводится по схеме рис. 3.6 в режиме холостого хода (Rн = ¥). а) Исследование моста на постоянном токе. Отключить осциллограф рубильником К . Переключатель П2 установить в положение «1». Подключить к схеме источник постоянного напряжения и регулируя его напряжение, установить по цифровому вольтметру V напряжение U вх на входе стабилизатора 10 В. Установить переключатель П2 в положение «2» и измерить напряжение U вых на выходе стабилизатора. Провести аналогичные измерения при увеличении входного напряжения до 80 В (через 10 В). Результаты опыта занести в табл.3.2. Коэффициент стабилизации рассчитывается по формуле 3.4. Таблица 3.2
После проведения опытов отключить от схемы источник постоянного напряжения. б) Исследование моста на переменном токе. Включить осциллограф и подключить его к исследуемой цепи, замкнув рубильник К . Переключить клеммы и переключатель рода работы цифрового вольтметра в режим измерения переменного напряжения. Подать на вход схемы переменное напряжение от задающего генератора ЗГ и провести измерения, аналогичные п. 3.3.а. Результаты измерений занести в табл. 3.2. Для трех значений напряжения, соответствующих участкам ab , bc и cd на рис.3.4, снять на кальку осциллограммы напряжений Uвых (t) . 1. Привести схемы экспериментальных установок, данные измерительных приборов и исследуемых элементов, а также таблицы с результатами измерений и вычислений. 2. По данным таблицы 3.1 построить ВАХ варистора, снятую на постоянном токе. 3. Построить с указанием масштабов по осям ВАХ варистора на переменном токе. 4. По данным табл. 3.2 построить характеристики «вход-выход» стабилизатора напряжения U вых ( U вх ) , снятые на постоянном и переменном токе. 5. Привести качественные осциллограммы напряжений на выходе мостового стабилизатора. 6. Дать краткие выводы по работе. 1. Что называется варистором? Из каких материалов их изготавливают? 2. Чем обусловлена нелинейность ВАХ варистора? 3. Что такое степень нелинейности и как используя этот параметр можно аппроксимировать ВАХ варистора? 4. Где применяют варисторы и почему? 5. Как устроен и как работает мостовой стабилизатор напряжения на варисторах? 6. Каким параметром оцениваются стабилизирующие свойства стабилизатора напряжения? 7. Как степень нелинейности ВАХ варистора влияет на величину коэффициента стабилизации? 8. Как получить ВАХ варистора на экране осциллографа? Работа 4.Исследование свойств фоторезисторов Цель работы – исследование основных характеристик фоторезисторов: 1) определение зависимости величины сопротивления от освещенности; 2) получение вольтамперных характеристик при различных значениях освещенности; 3) определение зависимости фототока от величины освещенности 4) определение интегральной чувствительности. Фоторезистором называется полупроводниковый резистор, сопротивление которого изменяется под действием оптического излучения. Работа некоторых полупроводниковых элементов основана на использовании фотоэлектрического эффекта – явления взаимодействия электромагнитного излучения с веществом, в результате которого энергия фотонов передается электронам вещества. В твердых и жидких полупроводниках различают внешний и внутренний фотоэффекты . В первом случае поглощение фотонов сопровождается вылетом электронов из вещества. Во втором – электроны, оставаясь в веществе, переходят из заполненной энергетической зоны в зону проводимости, обуславливая появление фотопроводимости . В газах фотоэффект состоит в ионизации атомов или молекул под действием излучения. Внутренний фотоэффект, возникающий в паре из электронного и дырочного полупроводников, понижает контактную разность потенциалов, выполняя непосредственное преобразование электромагнитного излучения в энергию электрического поля, что используется в фотодиодах, фототранзисторах. Наиболее ярко внутренний фотоэффект выражен в таких полупроводниковых материалах как селен, германий, кремний, различные селенистые и сернистые соединения таллия, кадмия, свинца и висмута. Из этих материалов изготавливают фотоэлементы и фоторезисторы. В отсутствие облучения фоторезистор обладает некоторым большим сопротивлением R т , которое называется темновым . Величина темнового сопротивления определяется температурой и чистотой полупроводника. При приложении к фоторезистору разности потенциалов в цепи возникает ток I = Iо + Iф , (4.1)
где I о – темновой ток, Iф – фототок. Зависимость фототока от освещенности (светового потока) называется световой характеристикой (рис. 4.1). Фоторезисторы обладают линейной вольтамперной характеристикой, получаемой при неизменной освещенности Е (рис. 4.2). Основным параметром фоторезисторов является интегральная чувствительность , под которой понимают отношение фототока к вызвавшему его появление световому потоку белого (немонохромного) света и приложенному напряжению:
Недостатками фоторезисторов являются значительная зависимость сопротивления от температуры, характерная для полупроводников, и большая инерционность, связанная с большим временем рекомбинации электронов и дырок после прекращения облучения. Постоянная времени t различных типов фоторезисторов колеблется в пределах 4×10-5 …3×10-2 с. Так, для фоторезисторов марок ФС-КО, ФС-К1 t = 2×10-2 с, для ФС-А1 – t = 4×10-2 с. Это ограничивает быстродействие и затрудняет контроль быстрых изменений освещенности в приборах с фоторезисторами (рис.4.3). 2. Описание экспериментальной установки
В лабораторной установке фоторезистор располагается внутри темновой камеры на специальной панели. Рядом размещается фотоэлемент, являющийся датчиком люксметра – прибора, измеряющего освещенность. В противоположном конце камеры на одинаковом расстоянии от фоторезистора и фотоэлемента помещен источник света с регулируемым световым потоком. Ручка регулятора потока расположена на лицевой панели установки. Там же указаны облучаемая площадь и темновое сопротивление фоторезистора. Для измерения сопротивления и тока фоторезистора используется универсальный цифровой вольтметр. Вольтамперные характеристики снимают по схеме рис. 2.5. 3.1 Определение зависимости сопротивления фоторезистора от освещенности. Подготовить цифровой вольтметр к измерению сопротивлений, для чего переключатель рода работ установить в положение «R», предел измерения – «10 мОм». Подключить цифровой вольтметр к клеммам фоторезистора, расположенным на правой боковой панели лабораторной установки. Подать напряжение на стенд, переведя тумблер питания, расположенный на лицевой панели, в положение «Вкл». Изменяя освещенность регулятором на лицевой панели в соответствии со значениями в табл. 4.1, измерить и занести в табл. 4.1 сопротивление фоторезистора. Таблица 4.1
3.2 Снятие семейства вольтамперных характеристик фоторезистора. Собрать схему в соответствии с рис. 2.5. Подготовить цифровой вольтметр к измерению тока, для чего переключатель рода работ поставить в положение «мкА», предел измерения «100». Установить освещенность Е = 10 лк. Изменяя напряжение на выходе источника постоянного напряжения от 0 до 30 В (через 5 В), измерить и занести в табл. 4.2 значения тока через фоторезистор. Повторить опыт при значениях освещенности 15, 25 лк.
Темновой ток (при Е = 0) рассчитать по закону Ома: Таблица 4.2
3.3 Определение зависимости интегральной чувствительности фоторезистора от величины освещенности. Зависимость S и ( E ) определяется по схеме предыдущего опыта при неизменном значении напряжения U = 25 В. Результаты опыта и расчетов занести в табл. 4.3. Таблица 4.3
1. Привести схемы экспериментальных установок, данные измерительных приборов и исследуемого фоторезистора. 2. Оформить таблицы с результатами измерений и вычислений. При расчетах использовать формулы (4.1), (4.2). 3. Построить графики R (E ), S и (E ) и семейство ВАХ U (I ) фоторезистора при освещенностях Е = 10, 15, 25 лк. 4. Сделать краткие выводы по результатам проведенных исследований. 1. Что такое фоторезистор, из каких материалов его изготавливают? 2. Чем обусловлена фотопроводимость полупроводников? 3. В чем отличие между внутренним и внешним фотоэффектом? 4. Что такое темновое сопротивление, от чего зависит его величина? 5. Что понимают под интегральной чувствительностью фоторезистора? 6. Что такое световая характеристика? В чем причина ее нелинейности? 7. Почему ВАХ фоторезистора при постоянной освещенности линейна? 8. В чем основные недостатки фоторезисторов? Работа 6.Исследование свойств сегнетоэлектриков Цель работы – экспериментальная проверка основных теоретических положений, определяющих физические процессы в сегнетоэлектриках при их периодической переполяризации; приобретение практических навыков в построении основной кривой поляризации D (E ) и определении потерь в сегнетоэлектрике. Сегнетоэлектриками называют кристаллические диэлектрики, диэлектрическая проницаемость которых достигает больших значений (порядка 104 …105 ) и зависит от напряженности электрического поля, температуры и предварительной поляризации. При поляризации любого диэлектрика Поляризованность вещества Сегнетоэлектрики обладают самопроизвольной (спонтанной) поляризацией, связанной с наличием в структуре материала микроскопических областей – доменов, внутри которых диэлектрик поляризован до насыщения. Отдельные домены имеют различные направления электрических моментов. Результирующий электрический момент при этом равен нулю. Если сегнетоэлектрик подвергнуть воздействию внешнего электрического поля, домены ориентируются по полю, и он оказывается поляризованным во всем объеме. Вследствие доменной структуры поляризованность и диэлектрическая проницаемость сегнетоэлектриков достигает огромных по сравнению с линейными диэлектриками значений. Процесс поляризации сегнетоэлектриков во внешнем электрическом поле имеет две основные стадии. На первой стадии происходит смещение границ и рост тех доменов, ориентация векторов поляризации которых наиболее близка к ориентации внешнего поля. На второй – вращение векторов поляризации доменов и их установка параллельно направлению поля. В сильных полях число доменов, не сориентированных по полю, уменьшается, что приводит к постепенному замедлению поляризации – насыщение сегнетоэлектрика.
При циклическом изменении напряженности поля в сегнетоэлектрике наблюдается явление диэлектрического гистерезиса , состоящее в фазовом запаздывании электрического смещения относительно напряженности внешнего поля (рис.6.1). Кривая, соединяющая вершины гистерезисных циклов поляризации называется основной кривой поляризации . На рис. 6.2 приведены типовые графики основной кривой поляризации и зависимости диэлектрической проницаемости сегнетоэлектрика от напряженности электрического поля. При определенной напряженности Е а , которая соответствует касательной 0а , проведенной из начала координат к кривой D = f (E ), диэлектрическая проницаемость e достигает максимального значения. Переполяризация сегнетоэлектрика связана с достаточно большими затратами энергии. Электрическая мощность, затрачиваемая за один цикл, пропорциональна площади гистерезисной диаграммы SDE и объему сегнетоэлектрика V . При периодической переполяризации мощность пропорциональна частоте f .
где MD , ME – масштабы осей в координатах «смещение-напряженность», M Q , MU – масштабы осей в координатах «заряд-напряжение». В качестве оценки диэлектрических потерь часто применяют тангенс угла диэлектрических потерь , который может быть определен из выражения для активной мощности, потребляемой конденсатором. При параллельной схеме замещения конденсатора:
Отсюда
сегнетоэлектрическими свойствами обладают сегнетова соль, титанат бария, титанат и ниобат лития и др. Сегнетоэлектрики применяются в электрических конденсаторах большой емкости, нелинейных конденсаторах (вариконды), в пьезоэлектрических излучателях и приемниках звука и ультразвука, в качестве нелинейных элементов в оптических системах, электронике и вычислительной технике и т.д.
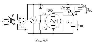
2. Описание экспериментальной установки Схема осциллографического исследования сегнетоэлектриков показана на рис. 6.4.Установка питается от сети переменного тока с напряжением 220 В. Напряжение на входе измерительной цепи регулируется с помощью лабораторного автотрансформатора (ЛАТРа). Емкость исследуемого плоского сегнетоэлектрического конденсатора Сx
, значительно меньше (на один-два порядка) емкости образцового конденсатора Со
1
. Поэтому, когда конденсатор Сx
подключен (переключатель П
в положении «1»), заряд в измерительной цепи 3.1 Снятие основной кривой поляризации и определение диэлектрической проницаемости сегнетоэлектрика. Собрать измерительную цепь в соответствии со схемой на рис. 6.4. Перевести переключатель П в положение «1». Установить на входе цепи напряжение 120 В. На экране осциллографа должна наблюдаться гистерезисная диаграмма поляризации сегнетоэлектрика. Подобрать масштаб по вертикальной оси осциллографа так, чтобы изображение занимало весь экран. Внимание: в процессе выполнения последующих пунктов лабораторной работы не допускается изменять положение масштабного переключателя осциллографа. Измерить и записать в табл. 6.2 координаты вершины гистерезисного цикла: x m , ym (координаты вершины можно определить как половину размаха изображения по горизонтальной и вертикальной осям экрана). Повторить измерения, изменяя входное напряжение как показано в табл.6.2. Таблица 6.2 h = мм, d = мм, S = pd 2 /4 = м2 .
При расчете использовать формулы: 3.2 Определение масштабов по осям экрана осциллографа. Переключатель П установить в положение «2». Вращением регулировочной рукоятки ЛАТРа, установить на входе цепи напряжение в пределах 40…60 В. На экране осциллографа должна наблюдаться наклонная прямая линия, представляющая кулон-вольтную характеристику Q(U ) линейного диэлектрика конденсатора Со 2 . Занести в табл. 6.1 значения напряжения U и размаха колебаний луча осциллографа по горизонтали – Dх и вертикали – Dу. Таблица 6.1
Масштабы по осям координат определяются по следующим формулам:
3.3 Определение потерь в сегнетоэлектрике при комнатной температуре. Устанавливая поочередно на входе цепи напряжение 60, 80, 120 В зарисовать на кальку осциллограммы петли гистерезиса. В табл. 6.3 занести координаты вершин гистерезисных циклов. Таблица 6.3
1. Привести схему экспериментальной установки, данные измерительных приборов и исследуемого элемента. 2. Оформить таблицы с результатами измерений и вычислений. При вычислении Um и Qm использовать координаты вершин осциллограмм гистерезисного цикла с учетом масштабов по осям осциллографа (табл. 6.1). Площадь гистерезисного цикла S QU (табл. 6.3) определяется непосредственно по осциллограммам путем подсчета числа квадратных миллиметров (по миллиметровой бумаге), укладывающихся внутри петли. 3. По данным табл. 6.2 построить основную кривую поляризации D (E ) и график зависимости относительной диэлектрической поляризации от напряженности электрического поля e r (Е ). 4. Привести осциллограммы гистерезисных циклов для трех значений напряжения на сегнетоэлектрическом конденсаторе. 5. Дать краткие выводы по работе. 1. Что называют сегнетоэлектриками? Какие материалы обладают сегнетоэлектрическими свойствами? 2. Что такое диэлектрическая проницаемость, как ее можно практически определить? 3. Почему диэлектрическая проницаемость сегнетоэлектриков значительно превышает проницаемость обычных диэлектриков и зависит от напряженности внешнего электрического поля? 4. В чем причина возникновения гистерезиса при поляризации сегнетоэлектриков? 5. Как происходит процесс поляризации сегнетоэлектриков? 6. Почему вольтамперная характеристика сегнетоэлектрических конденсаторов нелинейна? 7. Какими параметрами характеризуют потери мощности в диэлектриках? 8. Как и почему зависит диэлектрическая проницаемость сегнетоэлектриков от температуры? 9. Как получить на экране осциллографа кулон-вольтную характеристику? 10. Назовите области применения сегнетоэлектриков. Работа 7.Исследование свойств ферромагнитных материалов Цель работы– экспериментальное подтверждение основных теоретических положений, определяющих физические процессы, происходящие в ферромагнитных телах при их периодическом перемагничивании; приобретение практических навыков в определении потерь в ферромагнетике, их разделении, снятии основной кривой намагничивания B ( H ) и оценке магнитных характеристик материала. Ферромагнитные материалы (Fe, Ni, Co и их сплавы) обладают особыми магнитными свойствами: высокое значение относительной магнитной проницаемости и ее сильная зависимость от напряженности внешнего магнитного поля, при перемагничивании наблюдается магнитный гистерезис, обусловленный наличием доменов – областей спонтанной намагниченности. Основной причиной магнитных свойств вещества являются внутренние скрытые формы движения электрических зарядов в его атомах – вращение электронов вокруг собственных осей (спиновый магнитный момент) и вокруг ядра (орбитальный магнитный момент). У ферромагнетиков даже при отсутствии внешнего магнитного поля имеются домены с параллельной или антипараллельной ориентацией спинов электронов. Такое вещество находится в состоянии спонтанного (самопроизвольного) намагничивания. В различных доменах эта ориентация различна. Если материал не подвергается воздействию внешнего магнитного поля, суммарный магнитный момент всех доменов и магнитный поток такого тела во внешнем пространстве равны нулю. При намагничивании внешним магнитным полем происходит поворот векторов магнитных моментов доменов в направлении поля и смещение границ доменов. С увеличением напряженности поля этот процесс замедляется (явление насыщения).
При периодическом перемагничивании ферромагнитного материала наблюдается явление магнитного гистерезиса, т. е. отставание изменения магнитной индукции от изменения напряженности поля. На рис. 7.1 показаны гистерезисные диаграммы при различных предельных значениях напряженности внешнего магнитного поля. Кривая, проходящая через вершины этих диаграмм, называется основной кривой намагничивания B = f (H ). Гистерезисный цикл, при котором достигается насыщение ферромагнитного материала, называется предельным . По нему определяется остаточная индукция В r (при H = 0) и коэрцитивная сила Н c (при B = 0). Способность материала к намагничиванию характеризуется абсолютной магнитной проницаемостью m = В/Н . (7.1) На рис. 7.2 показана основная кривая намагничивания B = (H ) и зависимость абсолютной магнитной проницаемости от напряженности внешнего магнитного поля. При определенной величине напряженности m достигает максимума. Точка а, характеризующая этот режим, соответствует касательной Оа, проведенной к основной кривой намагничивания из начала координат. Проницаемость, определенную в очень слабых полях, называют начальной (m н ). Одновременному намагничиванию ферромагнитных материалов постоянным и переменным полем малой амплитуды Нт соответствует частный гистерезисный цикл с вершинами /—2, лежащими на основной кривой намагничивания (см. рис. 7.2). При этом реверсивная (обратимая) проницаемость определяется положением вершинэтого цикла:
где М
B
, М
H
–
масштабы по осям координат, a
– угол наклона к оси абсцисс прямой, соединяющей вершины частного гистерезисного цикла. Аналогично определяется дифференциальная магнитная проницаемость: где b – угол наклона касательной к основной кривой намагничивания в искомой точке. Для всех упомянутых проницаемостей чаще всего определяется их относительные значения
где m о = 4p×10-7 Гн/м – магнитная постоянная. Материалы с узкой петлей гистерезиса (Hc £ 1 кА/м) называют магнитомягкими , материалы с широкой петлей – магнитотвердыми . При перемагничивании ферромагнитных материалов в них возникают потери на гистерезис и вихревые токи. При постоянной амплитуде индукции (Bm
= const) потери на гистерезис пропорциональны частоте, а потери на вихревые токи – квадрату частоты:
Для выполнения условия В m = соп st необходимо действующее значение напряжения намагничивающей катушки изменять пропорционально частоте (U 1 / f = const ). Суммарные магнитные потери могут быть определены по площади
где Mi , M y – масштабы, принятые по осям координат. Параллельная ориентация спинов в магнитных доменах имеет место только ниже определенной для данного ферромагнетика температуры – точки Кюри. При превышении этой температуры спонтанная намагниченность исчезает, и магнитная проницаемость резко падает. 2. Описание экспериментальной установки
Схема установки для исследования свойств ферромагнитных материалов приведена на рис. 7.3. Схема питается от задающего генератора. Исследуемый ферромагнетик представляет собой тороидальный магнитопровод с двумя обмотками. Последовательно с намагничивающей обмоткой w
1
включено небольшое сопротивление R
1
,
напряжение на котором, пропорциональное току i
1
, подается на горизонтальные пластины осциллографа и на вольтметр V
1
. На зажимы измерительной обмотки w
2
включена интегрирующая цепочка с большим сопротивлением R
2
и большой емкостью С
. В схеме выбрано
где S – сечение сердечника, k о – постоянная, y 1 – потокосцепление обмотки w 1 . Таким образом, на экране осциллографа можно наблюдать вебер-амперную характеристику y 1 (i ). При этом масштабы по осям:
где Dx , Dy – размах осциллограммы по горизонтали и вертикали соответственно. Для измерения напряжений на резисторе R 1 и на вторичной обмотке w 2 применены цифровые вольтметры с большим входным сопротивлением. 3.1 Определение масштабов осциллографа Mi , М y и магнитных потерь на частоте f = 50 Гц. Установить на входе цепи напряжение частотой 50 Гц, при котором на экране осциллографа наблюдается предельный гистерезисный цикл (когда дальнейшее увеличение входного напряжения не вызывает значительного роста индукции). Регулировкой усиления вертикального и горизонтального каналов осциллографа добиться, чтобы диаграмма заняла не менее 2/3 экрана. Занести в табл. 7.1 показания вольтметров V1 , V2 и размах осциллограммы по горизонтали и вертикали, зарисовать осциллограмму на кальку. Площадь гистерезисного цикла S y i определяется непосредственным подсчетом числа квадратных миллиметров (по миллиметровой бумаге), укладывающихся внутри петли. Таблица 7.1
3.2 Определение магнитных потерь на частоте 400 Гц. Изменить частоту входного напряжения до 400 Гц. Увеличивая напряжение на выходе задающего генератора (примерно в 8 раз), установить размах осциллограммы по вертикальной оси (y m ) такой же, как в предыдущем опыте. Произвести измерения и занести результаты в табл. 7.1. Осциллограмму перенести на кальку. 3.3 Снятие основной кривой намагничивания. Установить частоту входного напряжения 50 Гц. Изменяя величину входного напряжения, определить координаты xm и у m вершин гистерезисных циклов. Результаты занести в табл. 7.2. Таблица 7.2
1. Привести схему исследований, данные приборов и исследуемого образца ферромагнитного материала. 2. Перенести на миллиметровку осциллограммы вебер-амперных характеристик y (i ), снятые при частотах 50 Гц и 400 Гц, с обозначением и оцифровкой в соответствии с масштабами осей координат. Определить параметры предельного гистерезисного цикла B m , B r , H c и, используя справочные таблицы, сделать вывод о материале исследованного ферромагнетика. 3. Оформить таблицы с результатами измерений и расчетов. При расчете масштабов использовать формулы (7.7). Значения тока Im и потокосцепления ym определяются по координатам xm , ym с учетом масштабов. Расчет индукции B m и напряженности H m выполнить по формулам: B m = y m /w 1 S, H m = w 1 I m /l ср , где S = (D – d )×h /2, l ср = p(D + d )/2 – соответственно площадь поперечного сечения и длина средней линии магнитного образца. 4. По результатам расчета табл. 7.2 построить основную кривую намагничивания B (H ) и зависимости m r (H), m д (H). 5. Рассчитать удельные магнитные потери при частотах 50 и 400 Гц по формуле P м. уд = P м /Vст , где Vcт = p(D2 - d 2 )×h × k с – объем стали, k c = 0,98—коэффициент заполнения образца сталью; D , d , h – диаметры и высота стального тороида. По формулам (7.4) разделить суммарные потери в стали на потери на вихревые токи и потери на гистерезис. Результаты расчетов занести в табл. 7.3. Таблица 7.3
6. Сделать краткие выводы по работе. Контрольные вопросы 1. Какие материалы относят к классу ферромагнетиков? 2. В чем причина сильных магнитных свойств ферромагнетиков? 3. Что такое предельный гистерезисный цикл намагничивания? Какие параметры из него определяют? 4. Что такое магнитная проницаемость, какие существуют ее виды? 5. Как происходит процесс намагничивания ферромагнетиков? 6. Как и от каких факторов зависит магнитная проницаемость? 7. Какие потери возникают в ферромагнетике при его периодическом перемагничивании? 8. Что такое магнитомягкие и магнитотвердые ферромагнетики? Которые из них обладают меньшими потерями и почему? 9. Как практически можно разделить потери в ферромагнетике по видам? 10. Как получить на экране осциллографа характеристику намагничивания? 11. Назовите области применения сегнетоэлектриков. Рекомендуемая литература 1. Пасынков В. В. Материалы электронной техники. М.: Высшая школа, 1980. 2. Богородицкий Н. П., Пасынков В.В., Тареев Б. М. Электротехнические материалы. Л.: Энергия, 1977. 3. Справочник по электротехническим материалам. Тт. 1 – 3/ Под ред. Д. В. Корицкого и др. Л.: Энергия, 1974—1976. |
|||||||||||||||||||||||||||||||||||||||||||||||||||||||||||||||||||||||||||||||||||||||||||||||||||||||||||||||||||||||||||||||||||||||||||||||||||||||||||||||||||||||||||||||||||||||||||||||||||||||||||||||||||||||||||||||||||||||||||||||||||||||||||||||||||||||||||||||||||||||||||||||||||||||||||||||||||||||||||||||||||||||||||||||||||
, (1.1)
Величина удельного электрического сопротивления проводников в основном зависит от средней длины свободного пробега электронов l
ср
. С повышением температуры амплитуда колебаний узлов кристаллической решетки увеличивается, средняя длина свободного пробега электронов уменьшается (рис.1.1), а удельное сопротивление возрастает. произведение удельного сопротивления на величину средней длины свободного пробега электрона является величиной постоянной r
×
l
ср
= а =
const
.
где Ro
–сопротивление проводника при температуре То
. Производная 
На рис. 2.1 приведен график зависимости сопротивления полупроводникового резистора от температуры.
Различают статическую
и динамическую
вольтамперные характеристики (ВАХ) терморезистора. При снятии статической ВАХ ток фиксируется после длительной выдержки терморезистора при каждом значении напряжения. Динамическая ВАХ показывает реакцию терморезистора на воздействие импульсов напряжения разной величины, но одинаковой длительности. ток фиксируется в конце импульса. 
– микронагрев контактов между отдельными зернами карбида кремния, приводящий к возрастанию проводимости элемента во всем объеме;
(3.1)
Варисторы широко применяются в технике для защиты от перенапряжений (искрогасители), в стабилизаторах и ограничителях напряжения, в преобразователях сигнала (умножители частоты). В данной работе исследуется мостовой стабилизатор напряжения на варисторах (рис. 3.2). напряжение на выходе стабилизатора равно разности напряжений на варисторе (
U
)
и на линейном резисторе (
UR
)
:U
вых
=
U
-
UR
. С ростом входного напряжения U
вх
растет ток в элементах моста. Выходное напряжение, как видно из рис. 3.3, вначале увеличивается, затем падает до нуля и после изменения знака снова растет по абсолютной величине. Внешняя характеристика стабилизатора U
вых
(U
вх
) в режиме холостого хода приведена на рис. 3.4. 

(3.5)
где S – облучаемая площадь фоторезистора, G
ф
– фотопроводимость,
Фоторезистор (рис. 4.4) состоит из диэлектрической пластины 1, на которую нанесен слой светочувствительного полупроводникового вещества 2.
С противоположных сторон этого слоя укреплены электроды 3. Для защиты от механических воздействий фоторезистор запрессовывается в пластмассовую оправу с прозрачным окном, штырьки которой соединены с его электродами.
Поляризация сегнетоэлектриков в сильной степени зависит от температуры. У большинства сегнетоэлектриков гистерезис и нелинейность кулон-вольтной характеристики проявляются при всех температурах вплоть до некоторой предельной, которая соответствует максимуму диэлектрической проницаемости и называется точкой Кюри
. Выше этой температуры происходит обратимое изменение структуры материала (разрушение доменов) и исчезновение сегнетоэлектрических свойств. Диэлектрическая проницаемость при этом резко уменьшается (рис. 6.3). 
(6.5)

(7.6)