Реферат: Расчет рекуперативного теплообменника газотурбинного двигателя
|
Название: Расчет рекуперативного теплообменника газотурбинного двигателя Раздел: Рефераты по физике Тип: реферат | ||||||||||||||||||||||||||||||||||||||||||||||||||||||||
|
СОДЕРЖАНИЕ. Реферат.................................................................................................................................................................................................... 2 ЗАДАНИЕ.................................................................................................................................................................................................... 3 ВВЕДЕНИЕ................................................................................................................................................................................................ 4 1. Цели и задачи курсовой работы.............................................................................................................................................. 4 ТЕПЛОВОЙ РАСЧЕТ ПРОТИВОТОЧНОГО РЕКУПЕРАТИВНОГО ТЕПЛООБМЕННИКА.................................. 5 1.Определение массовых секундных расходов теплоносителей.............................................................................. 5 2.Определение температурных условий работы теплообменника............................................................................ 5 3. Определение коэффициентов теплоотдачи...................................................................................................................... 6 4. Определение коэффициента теплопередачи.................................................................................................................... 8 5. Определение площади поверхности охлаждения......................................................................................................... 8 РАСЧЕТ ТЕПЛОВОЙ ИЗОЛЯЦИИ КОЖУХА ТЕПЛООБМЕННИКА.............................................................................. 9 4. ГИДРАВЛИЧЕСКИИ РАСЧЕТ ТЕПЛООБМЕННИКА...................................................................................................... 11 Заключение...................................................................................................................................................................................... 13 Список использованных источников................................................................................................................... 14 Страниц 15, рисунков 2. ПРОТИВОТОЧНЫЙ ТЕПЛООБМЕННИК, РЕКУПЕРАТОР, ТЕМПЕРАТУРА, ДАВЛЕНИЕ, МАССА, ГЕОМЕТРИЧЕСКИЕ РАЗМЕРЫ. Объектом проектирования является рекуперативный теплообменник газотурбинной наземной установки замкнутого цикла. Целью работы является определение: величины рабочей поверхности теплообменника, температур теплоносителя на выходе из теплообменника и количества передаваемой теплоты. В результате работы был спроектирован теплообменик для заданных параметрах рабочего тела. Расчет выполнен на стадии технического предложения.
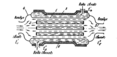
1. Цели и задачи курсовой работы. Различают конструктивный и поверочный тепловой расчет теплообменного аппарата. Цель конструктивного расчета состоитв определениивеличины рабочей поверхности теплообменника, которая является исходным параметром при его проектировании. При этомдолжно быть известно количество передаваемой теплоты или массовые расходы теплоносителей и изменение ихтемпературы. Поверочный расчет выполняется для теплообменника с известной величиной поверхности. Цель теплового расчета состоитв определении температур теплоносителя на выходе из теплообменника и количества передаваемой теплоты.Подробно с основными схемами теплообменных аппаратов,конструкцией и методикой их расчета можно ознакомиться в учебной испециальной литературе[1-4]. В задании на курсовую работу необходимо, руководствуясь данной методикой, произвести конструктивный, тепловой и гидравлический расчеты противоточного теплообменника газотурбинной наземной установки замкнутого цикла. В ходе расчета следует выбрать исходные конструктивные соотношения для компоновки теплообменника. определить рабочую поверхность теплообменника. подобрать тепловую изоляцию и основные размеры, сделать эскизную схему аппарата. Необходимо определить затраты мощности на прокачку холодного и горячего теплоносителей. Учебные пособия, справочники и литература, использованные в курсовой работе, указаны в библиографическом списке. Конструктивная схема теплообменника представленарис.1
Рис.1. Конструктивная схема теплообменника. ТЕПЛОВОЙ РАСЧЕТ ПРОТИВОТОЧНОГО РЕКУПЕРАТИВНОГО ТЕПЛООБМЕННИКА 1.Определение массовых секундных расходов теплоносителей. На основе уравнения теплового баланса (при отсутствии потерь тепла и фазовых переходов теплоносителей)
где изменение энтальпии теплоносителей находится по формуле
Где Gв , Gг -массовый секундный расход теплоносителей, в котором для газа D t г =t’ г - t’’ г =250-35=215 0 С , для воды D tв =t’’в - t’ в =65-15=50 0 С. 2.Определение температурных условий работы теплообменника.
Находим среднюю по длине теплообменника температуру жидкости (воды) при условии, что нагрев ее в теплообменнике сравнительно мал: Средняя по длине теплообменника температура газа где среднелогарифмический температурный напор между теплоносителями
( рис.3)
Если то
По полученным значениям t ср.в и t ср. г из табл.1 и 2 (все таблицы см. в прил.2) определяются необходимые теплофизические характеристики теплоносителей: Pr, m , Cp , n , l , r : rг =Pг /RTг =8500000/287*387=76.53 кг/м3 3. Определение коэффициентов теплоотдачи Коэффициент теплоотдачи от охлаждаемого газа к стенке трубки определяют с учетом числа трубок, по которым он протекает, ориентировочно это число может быть найдено по формуле:
(1) Принимаем количество трубок n=61. Скорость газа в трубах принимается равной wг =20…60 м/с при р<0.5 МПа . В нашем случае при р>0.5 МПа скорость принимаем wг = 30 м/с . Для воды скорость принимаем wв = 2 м/с , а диаметр трубки dвн = 10 мм . Вычислив число трубок и округлив его согласно табл.3 так, чтобы они заполняли всю трубную решетку, по nпол =61 находим значение действительной скорости газа из формулы (1).
Полученная скорость отличается на 5% от рекомендованной (или желаемой), что удовлетворяет погрешности 10% . Определяем предварительно критерий Рейнольдса:
или
вычисляем значение коэффициента теплоотдачи из уравнения: учитывая также критериальное уравнение (применимо к газу и воде): Имеем
Где y г = 1 . 05 - коэффициент, учитывающий влияние температурного фактора для охлаждаемого газа.
Находим коэффициент теплоотдачи от трубок охлаждающей воде, для чего предварительно определяем проходное (живое) сечение межтрубного пространства.
Геометрические размеры поперечного сечения теплообменника должны удовлетворять условию,
где dн ар = d вн +2 d=0.01+2*0.002=0.014 м и d = 2 мм . Следовательно, внутренний диаметр кожуха:
На схеме трубной доски размещаем отверстия под трубки с шагом b=(1.25..1.3) d вн или b= D вн /m=0.140/9=0.016 , где m=9 - число трубок, укладываемых на диагонали (табл.3,[4]).В любом случае шаг не должен быть менееb min =(1.25... 1.3) d нар =9* 1.25 = =0.018 м.Т.к шаг не удовлетворяет этому условию, то его надо увеличить и, определив вновь диаметр кожуха D вн =b × m=0.018*9=0.158 м, оценить новое значение скорости воды в межтрубном пространстве, используя формулы:
Вновь полученная скорость должна быть не менее 0,5 м/ В нашем случае скорость воды удовлетворяет этому условию. В дальнейшие расчеты вводить только скорректированные размеры. Для удобства следует изобразить схему и все размеры межтрубной доски и кожуха. Число Рейнольдса для воды:
где Коэффициент теплоотдачи от стенки трубки к воде (жидкости) вычисляется по формуле:
где yв = 1.02 - коэффициент, учитывающий влияние температурного фактора для нагреваемой воды. 4. Определение коэффициента теплопередачи Коэффициент теплопередачи определяется по формуле: При вычислении К необходимо соблюдать следующие правила:
если aг >aв то dср =dнар если aг =aв то dср =(dвн +dнар )/2 если aг <aв то dср =dв н
При малой относительной толщине стенки трубки dнар / dвн <1.5 можно воспользоваться соотношением Погрешность расчета не превышает 3% . Коэффициент Rзаг учитывающий загрязнение стенок в ходе эксплуатации теплообменника, снижает обычно коэффициент теплопередачи на 20...30% .Принимаем dср =dв н =0.01.Rзаг =0. Выбираем материал трубок бронза , тогда из [2] lст =226.785 5. Определение площади поверхности охлаждения Определение площади поверхности охлаждения производим по основному выражению для теплопередачи: Q=K×F×Dtср Откуда F=Q/K×Dtср =2515000/2470.493*74.17=13.725
Зная площадь, нетрудно определить длину труб. Остальные размеры теплообменника определяются с учетом правильного устройства подводящих каналов для прохода воды. Скорости теплоносителя в подводящем коллекторе и штуцере должны быть примерно равны. В этом случае их подводящие сечения связаны между собой равенством
т.е. Fшт =Fкан =Fотв
площадь сечения
Округлив значение d шт (в сторону увеличения) принимаем d шт =0.09 , определяем размеры подводящих каналов: -ширина кольцевого коллектора b кол = d шт /4=0.09/4=0.023 -высота кольцевого коллектора h1 =1.57 × dшт =1.57 × 0.09=0.141 -высота круглого подхода к трубкам h2 =dшт /4D кож =0.09/4 × 0.158=0.143 -диаметр наружного кожуха кольцевого канала (коллектора) D кол = D кож + 2b кол = =0.158+2 × 0.023=0.203 Если высота больше половины длины труб, то делают два подводящих штуцера. В нашем случае один . РАСЧЕТ ТЕПЛОВОЙ ИЗОЛЯЦИИ КОЖУХА ТЕПЛООБМЕННИКА. Расчет заключается в следующем. Оценивается величина тепловых потерь теплообменника в окружающую среду Q пот . В случае превышения этих потерь по сравнению с допустимымиQ пот.доп. приступают к выбору способа тепловой защиты. В нашем случае рекомендуется покрытие кожуха теплообменника слоем теплоизоляционного материала. Выбор марки материала и его толщины d из осуществляется из условия оптимального сочетания значений коэффициента теплопроводности теплоизоляции и ее толщины - факторов, определяющих массу, стоимость и габариты готовой конструкции теплообменника. Величину тепловых потерь от неизолированного кожуха теплообменника в окружающую среду с температурой t окр , толщиной стенки стального кожуха d ст при известной средней температуре воды t срв и коэффициенте теплоотдачи a в , вычисленном по формуле (2), можно найти, если известен коэффициент теплоотдачи a о кр от кожуха окружающему воздуху. В зависимости от заданных условий эксплуатации для случая естественной конвекции определим a о кр : -горизонтальное расположение теплообменника
Критерий Нуссельта определяем из соотношений, рекомендованных [5].Следует учесть, что -
для горизонтального расположения теплообменника если соблюдается условие: 103 <(Gr × Pr) ж <108 . Если же (Gr × Рr)ж >109 , пользуются критериальным соотношением:
В нашем случае 103 <(20.263 × 106 × 0.688) ж <108 Критерий Грасгофа -для горизонтального расположения теплообменника,
В обоих случаях g=9.81 м/с2 , b =1/T окр =1/283=0.004, D t=tсрв -t окр =40-10=30 Параметры окружающего воздуха n ж = n в = m в / r в =0.00002188/79.4=0.00001416 , Pr ж = Pr в и Pr ст =0.705 приведены из табл.1 [4] для заданной t окр = 10 ° С.
Вычислим величину тепловых потерь, так как D нар / D вн <1.5 В случае Q пот >Q пот.доп на 5% приступаем к выбору оптимальной тепловой изоляции кожуха теплообменника. В нашем случае Q пот <Q пот.доп поэтому выбор оптимальной тепловой изоляции не проводим. 4. ГИДРАВЛИЧЕСКИИ РАСЧЕТ ТЕПЛООБМЕННИКА Гидравлический расчет теплообменника необходим, потому что между теплопередачей и потерей давления существует тесная физическая и экономическая связь. Чем больше скорость теплоносителей, тем выше коэффициент теплопередачи и тем компактнее для заданной тепловой производительности теплообменник, а следовательно, меньше капитальные затраты. Но при этом растет сопротивление потоку и возрастают эксплуатационные затраты. Основной задачей гидромеханического расчета является определение потери давления теплоносителя при прохождении его через аппарат. Полный перепад давления, необходимый при движении жидкости или газа через теплообменник, определится по формуле:
Т. к Reв >2500, то движение среды турбулентное и тогда
nкан - число подводящих воду каналов (штуцеров). Местное сопротивление при продольном омывании пучков вдоль оси рассчитывается по формуле [3]: -для шахматных пучков при b1 /d нар <b2 /d нар xмест =(4+6.6×m)×Re-0.28 =0.01 Здесь m - число рядов в пучке в направлении движения потока для каналов обычно x мест = 0.01...0.05 Гидравлическое сопротивление подводящих воду каналов должно быть меньше гидравлического сопротивления межтрубного пространства: или D p кан < D p в , D p кан » 0.75 D p в =6 299 250 Па, т.к Dpв = 8 399 000 Па.
При выборе оптимальных форм и размеров поверхности нагрева теплообменника принимают наивыгоднейшее соотношение между поверхностью теплообмена и расходом энергии на движение теплоносителей. Это соотношение устанавливается на основе специальных технико-экономических расчетов, которые в нашей курсовой работе не выполняются. Заключение. В данном курсовом проекте был произведен тепловой расчет противоточного рекуперативного теплообменника для газотурбинной наземной установки замкнутого цикла. Были определены основные габаритные размеры и гидравлические параметры теплообменника. Список использованных источников. 1. Петунин Б. В "Теплоэнергетика ядерных установок" , М.-Л.: Атомиздат, 1960 2. Идельчик И.Е "Справочник по гидравлическим сопротивлениям" , М.: Госэнергоиздат, 1962. 3. Кутателадзе С.С, Боришанский В.М "Справочник по теплопередаче" . М.: Госэнергоиздат, 1969. 4. "Основы теплопередачи в авиационной и ракетно-космической технике." / Под редакцией В.К Кошкина. М.: Машиностроение, 1975. |

































