Дипломная работа: Магнитоэлектрический бесконтактный генератор с импульсным регулятором напряжения
|
Название: Магнитоэлектрический бесконтактный генератор с импульсным регулятором напряжения Раздел: Рефераты по транспорту Тип: дипломная работа | |||||||||||||||||||||||||||||||||||||||||||||||||||||||||||||||||||||||||||||||||||||||||||||||||||||||||||||||||||||||||||||||||||||||||||||||||||||||||||||||||||||||||||||||||||||||||||||||||||||||||||||||||||||||||||||||||||||||||||||||||||||||||||||||||||||||||||||||||||||||||||||||||||||||||||||||||||||||||||||||||||||||||||||||||||||||||||||||||||||||||||||||||||||||||||||||||||||||||||||||||||||||||||||||||||||||||||||||||||||||||||||||||||||||||||||||||||||||||||||||||||||||||||||||||||||||||||||||||||||||||||||||||||||||||||||||||||||||||||||||||||||||||||||||||||||||||||||||||||||||||||||||||||||||||||||||||||||||||||||||||||||||||||||||||||||||||||||||||||||||||||||||||||||||||||||||||||||||||||||||||||||||||||||||||||||||||||||||||||||||||||||||||||||||||||||||||||||||||||||||||||||||||||||||||||||||||||||||||||||||||||||||||||||||||||||||||||||||||||||||||||||||||||||||||||||||||||||||||||||||||||||||||||||||||||||||||||||||||||||||||||||||||||||||||||||||||||||||||||||||
Содержание Введение 1.Аналитический обзор 1.1 Проблема создания бесконтактных электрических машин (БЭМ) 1.2 Отечественные и зарубежные бесконтактные автотракторные генераторы 1.2.1 Бесконтактные магнитоэлектрические генераторы 1.2.2 Бесконтактные электрические машины с обмоткой возбуждения 1.3 Современные тенденции развития бесконтактных генераторных установок и регулирование напряжения в них 1.3.1 Система управления бесконтактного магнитоэлектрического генератора 1.3.2 Бесконтактный стартер-генератор управляемый микропроцессорной системой 2.Специальный раздел 2.1 Исходные данные 2.1.1 Выбор генератора с постоянными магнитами 2.1.2 Ротор с когтеобразными полюсами с цилиндрическими постоянными магнитами, намагниченными в аксиальном направлении 2.1.3 Выбор постоянного магнита 2.1.4 Определение частот вращения ротора генератора и передаточного числа привода от двигателя к генератору 2.2 Выбор и обоснование типа регулятора 2.3 Выбор и расчет схемы выпрямителя 2.4 Расчет силовой части импульсного регулятора 2.4.1 Расчет дросселя 2.4.2 Определение параметров регулирующего транзистора 2.5 Выбор выходного каскада схемы управления 2.6 Выбор схемы управления импульсного стабилизатора 2.6.1 Выбор способа управления 2.6.2 Выбор схемы управления стабилизатором 2.6.3 Работа схемы управления стабилизатором 2.7 Динамический расчет стабилизатора 2.7.1 Составление разностных уравнений системы 2.7.2 Анализ динамических свойств системы управления стабилизатором 2.7.3 Моделирование системы управления 3.Конструкторско-технологическая часть 3.1 Определение уровня технологичности ФУ 3.1.1 Расчет показателей технологичности 3.1.2 Комплексная оценка технологичности 3.2 Расчет тепловой нагрузки элементов ФУ 3.3 Расчет надежности ФУ 3.4 Технологический процесс сборки 4.Организационно-экономический раздел 4.1 Сетевое планирование 4.1.1 Построение сетевой модели 4.1.2 Расчет временных параметров сетевого графика 4.1.3 Расчет резервов времени событий и работ 4.1.4 Анализ сетевого графика 4.2 Расчет сметной стоимости и цены НИР 4.2.1 Расчет трудоемкости и заработной платы работ сетевого графика 4.2.2 Расчет затрат и цены НИР2 4.3 Предварительная оценка экономической целесообразности исследования 5.Безопасность жизнедеятельности 5.1 Анализ потенциально опасных и вредных производственных факторов 5.2 Меры безопасности и устранение воздействия ОФВП 5.3 Пожаробезопасность 5.4 Эргономика и производственная эстетика Заключение Список сокращений Приложение ВведениеВ настоящее время повышенное внимание уделяется развитию автономной электроэнергетики, которая во многих случаях обеспечивает решение важных технических проблем электроснабжения на транспорте. Электрические машины должны обладать повышенной надежностью, улучшенными динамическими качествами, с малыми массами и габаритными размерами за счет повышенных механических, электромагнитных и тепловых нагрузках. Серийно выпускаемые бесконтактные машины широко применяются в авиации, наземных транспортных средствах и т.д. Можно прогнозировать дальнейшее быстрое развитие и внедрение бесконтактных электрических машин (БЭМ). По сравнению со стандартными аналогами бесконтактные машины обладают большим многообразием типов и вариантов конструктивного исполнения, в зависимости от широко варьируемых целей и условий работы. В связи с этим оказалось перспективным использование генераторов с постоянными магнитами. За прошедшие годы значительно изменились конструкции генераторов с постоянными магнитами, в связи с широким использованием высококоэрцитивных магнитов. Бурное развитие микроэлектроники и применение её на транспорте предъявляет повышенные требования к современным источникам электроэнергии автотракторной техники. Предлагаемый в исследовании импульсный регулятор, использование которого становится целесообразным при применении описанного генератора, повышает надежность работы генератора, является простым электрическим прибором с высоким КПД до 95%, улучшает выходные характеристики, обладает большим быстродействием переходных процессов и при определенных условиях применения дает меньшие массогабаритные показатели. Все это является весьма перспективным для автомобилестроения, и как показывает анализ дальнейшее совершенствование будет идти по этому направлению. 1. Аналитический обзор 1.1 Проблема создания бесконтактных электрических машин (БЭМ) Электрические машины- один из наиболее распространенных типов преобразователей энергии. Электроэнергия, является самым удобным видом энергии для передачи на расстояние, управления и регулирования, преобразования и распределения. Особенность создания усовершенствованных машин связана с тем, что условия работы электрических машин непрерывно усложняются, а требования к их надежности резко возрастают. Причем интенсивность отказов для таких машин во многих случаях должна быть существенно ниже, чем у машин, работающих при нормальных условиях. Один из радикальных путей повышения надежности, расширения функциональных возможностей и улучшения общих характеристик электрических машин- отказ от использования щеточных электрических контактов и переход к бесконтактным электрическим машинам. Во-первых, по имеющимся статистическим данным щеточный контакт при нормальных условиях работы наряду с изоляцией и подшипниковыми узлами вызывает наибольшее число отказов в работе электрических машин. Для коллекторных машин постоянного тока в среднем 25% отказов происходит из-за выхода из строя щеточно-коллекторного узла ( в транспортных установках доля таких отказов достигает 44...66% ) /1/ . Во-вторых, при нестандартных условиях окружающей среды щеточный контакт в электрических машинах либо резко ухудшает свою работу, либо вообще становится неработоспособным. Наличие щеточного контакта недопустимо в присутствии воспламеняющихся газов или паров. Работоспособность контактных устройств резко ухудшается при воздействии ионизирующего излучения, они плохо работают при наличии вибраций. В-третьих, щеточный контакт существенно ограничивает допустимую скорость ротора электрической машины. Для большинства случаев предельные линейные скорости в контакте не должны превышать 80...100 м/с. Известно, что мощность электрической машины при заданных электромагнитных нагрузках пропорциональна частоте вращения ротора. Поэтому наличие контакта не позволяет реализовать высокофорсированные конструкции электрических машин, рассчитанные на предельные механические нагрузки и обладающие наилучшими массогабаритными показателями. В-четвертых, щеточный контакт создает дополнительные электрические и механические потери, является источником шумов и помех. В-пятых, щеточный контакт значительно сокращает срок службы (ресурс) электрической машины. Наконец, щеточный контакт усложняет обслуживание машины, загрязняет внутренние полости машины графитовой пылью, снижающей электрическую прочность изоляции, препятствует применению в машине высокоэффективного струйного жидкостного охлаждения, ухудшает стабильность параметров машины и т. п. Особое значение имеет разработка БЭМ для автономных электроэнергетических установок, где перечисленные недостатки щеточного контакта проявляются особенно резко. Поэтому создание высокоэффективных БЭМ- одна из наиболее актуальных задач, выдвигаемых перед специалистами в области энергетики летательных аппаратов, судовых и транспортных установок. Бесщеточные генераторные установки целесообразно применять на автотранспортных средствах имеющих большой ресурс работы (до 300 тыс.км и более) или большой интервал между ТО при тяжелых условиях эксплуатации (например сельхозмашин). Рассмотрим основные разновидности БЭМ /1/. На рисунке 1. показана классификация энергетических БЭМ. По принципу действия большинство БЭМ переменного тока, как и обычные электрические машины, делятся на синхронные и асинхронные (индукционные). Те и другие основаны на использовании явления электромагнитной индукции.
Рис. 1. Классификация БЭМ. 1.2 Отечественные и зарубежные бесконтактные автотракторные генераторы 1.2.1 Бесконтактные магнитоэлектрические генераторы БЭМ с постоянными магнитами (ПМ),- первый тип электромеханического преобразователя энергии, созданного человеком. Еще в 1831 г. М.Фарадей демонстрировал это устройство /1/. В автономных системах электроснабжения мотоциклов и тракторов все чаще применяются генераторы с постоянными магнитами или магнитоэлектрические генераторы. Где магнитодвижущая сила необходимая для проведения магнитного потока в рабочем воздушном зазоре, создается постоянными магнитами. В связи с появлением магнитных материалов с высокими удельными энергиями. Начиная с 70-х годов, началось промышленное освоение высококоэрцитивных магнитов на основе редкоземельных материалов - интерметаллических соединений самария с кобальтом Sm Co 5,самария с прозеодимом и кобальтом Sm0.5 Pr 0.5 Co 5 и др. Магниты из редкоземельных материалов обеспечивают генераторам более высокие массогабаритные показатели, чем у генераторов с электромагнитным возбуждением. У магнитоэлектрического генератора выше КПД, он меньше нагревается при работе. Можно при той же мощности, что и у обычного генератора, уменьшить массу генератора и габариты. Статор бесконтактных синхронных машин с постоянными магнитами имеет шихтованный цилиндрический магнитопровод 1, на внутренней поверхности которого размещается якорная обмотка 2 (рис. 2, а). Если в машине используются обычные постоянные магниты, то внутренняя поверхность сердечника статора содержит пазы, чередующиеся с зубцами (рис. 2, б). Если в машине используют высококоэрцитивные магниты на базе РЗМ (типа 5mCo5), то внутренняя поверхность сердечника статора может выполняться как с пазами, так и без них (гладкой); в последнем случаев обмотку якоря укладывают на внутреннюю поверхность статорам сплошным слоем (рис. 2. в). Основная специфика синхронных машин с ИМ связана с конструкцией ротора, несущего постоянные магниты. Рассмотрим наиболее распространенные конструкции роторов. Звездообразный ротор. Типичная конструкция звездообразного ротора (рис. 3) содержит литой постоянный магнит в форме звездочки, который крепится на валу с помощью заливки немагнитным сплавом 2 (на основе цинка или алюминия). Магнит может непосредственно отливаться на валу. Достоинства ротора - простота и высокая степень заполнения его объема магнитом. Когтеобразный ротор. Когтеобразный ротор (рис. 4) состоит из цилиндрического постоянного магнита 1, к торцам которого примыкают шайбы 2 и 4 из магнитомягкой стали, имеющие когтеобразные выступы 3 и 5. На рис. 4 показаны линии магнитной индукции для рабочего потока Фа и потока рассеяния Ф,; поток Фд тем больше, чем меньше азимутальный зазор между выступами. Недостатки таких машин связаны с трудностью поддержания постоянства выходного напряжения генератора. У магнитоэлектрического генератора нет обмотки возбуждения.Применялись различные пути регулирования выходного напряжения генератора. Например, на тракторах применялся магнитоэлектрический генератор ГТ-1А /2/,/3/ с механическим (центробежным) регулятором напряжения. Он, естественно, мог поддерживать напряжение генератора постоянным только при изменении частоты вращения ротора и не мог реагировать на изменение тока нагрузки. Поэтому от этого способа регулирования вскоре отказались. На мотоциклетных магнитоэлектрических генераторах попытались применить параметрическое регулирование напряжения, которое обеспечивалось за счет такого выбора параметров генератора, при которых влияние внешних факторов на выходное напряжение минимально.Однако от этого способа пришлось отказаться - опять-таки из-за низкой точности регулирования. Третий способ регулирования /3/ -путем периодического закорачивания выходных выводов генератора. Он обеспечивает требуемую точность поддержания напряжения, но крайне неэкономичен вследствие больших потерь, связанных с протеканием по генератору токов короткого замыкания. В последнее время специалисты склоняются к одному из новых способов регулирования - с помощью управляемого выпрямителя, что будет рассмотрено в п 1.3.1. На тракторах применяется бесконтактный генератор типа 13.3701 /4/. Применение постоянных магнитов марки 2БА или 1БИ в пазах пакета ротора( или когда применение магнитов невозможно, то выполняют участок магнитопровода ротора из стали 45) позволяет улучшить самовозбуждение генератора и отказаться от применения аккумуляторной батареи (возбуждение было комбинированным). Самовозбуждение без АБ генератора, работающего в комплекте с ИРН Я112Б должно происходить при частоте вращения не более 3200 мин .В таблице № 1. приведены данные скоростей самовозбуждения генератора 13.3701 без АБ с 70 образцами ИРН Я112Б. Таблица № 1.
1.2.2 Бесконтактные электрические машины с обмоткой возбуждения Несмотря на достоинства БЭМ с постоянными магнитами их применение носит ограниченный характер из-за плохих регулировочных свойств.В системах, где требуется плавное и глубокое регулирование показателей и высокий уровень их стабилизации, широко используются БЭМ с обмоткой возбуждения (с эл.магнитным индуктором). Бесконтактные электрические машины обмоткой возбуждения (ОВ) отличаются большим многообразием конструкции. Начало БЭМ с ОВ было положено П.И. Яблочковым, который в 1877 году предложил первый бесконтактный генератор с ОВ /1/. Затем появились разновидности индукторных генераторов, первой среди которых был генератор А.К.Клименко(1882г). Недоиспользование магнитного потока в индукторных генераторах стимулировало развитие БЭМ с когтеобразными полюсами и БЭМ с осевым возбуждением. В перечисленных типах БЭМ обмотка якоря и возбуждения размещяются на статоре, а изменение магнитного потока в активной зоне обеспечивается благодаря специальной форме стального магнитопровода ротора. - В БЭМ с вращающимся выпрямителем основнвм элементом является обычная синхронная машина, у которой на статоре находится обмотка якоря, а на роторе-полюсы из магнитомягкой стали и обмотка возбуждения, питаемая постоянным током. В отличие от обычной синхронной машины, у которой ток подается в ОБ через кольцевой щеточный контакт, в рассматриваемой машине питание ОБ осуществляется от специального возбудителя (В), обеспечивающего бесконтактную передачу энергии от статора к ротору электромагнитным путем. Так как при этом на ротор передается электрическая энергия переменного тока, возбудитель питает ОБ через установленный на роторе вращающийся выпрямитель, что и определяет название машины. Типичная компоновка элементов бесконтактной синхронной машины (БСМ) с вращающимся выпрямителем (ВВ) показана на рис. 5. В качестве возбудителя можно использовать вращающийся трансформатор (Вт), асинхронный (АВ) и синхронный (СВ) возбудители. За рубежом серийно выпускается автотракторный генератор с возбудителем и вращающимся выпрямителем, с протяжной вентиляцией, типа Т4 фирмы Bosch. Его технические данные приведены в Таблице № 4 в сравнении с отечественным индукторным генератором, и генератором с контактными кольцами английской фирмы Lucas. - Бесконтактные генераторы с укороченными полюсами. В машинах этого типа обмотки якоря и возбуждения находятся на статоре, а ротор имеет когтеобразные выступы (полюсы) из магнитомягкой стали, которая за счет МДС возбуждения приобретают чередующуюся магнитную полярность и создает в рабочем воздушном зазоре знакопеременное магнитное поле. Подобные конструкции могут выполняться в виде чисто механических конструкций, не содержащих постоянных магнитов, вращающихся выпрямителей, многовитковых обмоток и шихтованных сердечников. Подобные конструкции обладают высокой надежностью, слабой чувствительностью к внешним воздействиям, что позволяет создавать высоконадежные компактные генераторы. Общие недостатки БСМ с когтеобразными полюсами связаны с повышенными магнитными потоками рассеивания. В целях унификации бесщеточные генераторы с укороченными полюсами выполняются на базе серийных генераторов /5/. Например на базе выпускавшегося щеточного генератора Г250 был разработан бесщеточный генератор Г252, мощностью 700-750 Вт с разнесенными клювообразными полюсами и подвешенной в расточке пакета статора обмотки возбуждения (ОБ). ОВ крепится в средней зоне пакета статора. В таблице № 2 приведены электрические и технические характеристики генератора Г252 в сравнении с бесщеточными генераторами ведущих зарубежных фирм, а также генераторами щеточного исполнения. Конструкция имеет преимущества. Сравнительно малые длины магнитных силовых линий в магнитопроводе, а следовательно, меньшая требуемая величина намагничивающей силы возбуждения. Недостатком является несколько большая трудоемкость его изготовления, а также невозможность балансировки ротора в сборе, что снижает качественные показатели генератора. По использованию активных материалов бесщеточные генераторы значительно уступают аналогичному показателю генераторов щеточного исполнения /5/ .Так, по сравнению с щеточными генераторами Г221 и Г265 генератор Г252 имеет более низкие технические показатели: по максимальному коэффициенту использования ниже на 12 -25 %, по удельному коэффициенту использования на 6-20%. Генераторы Г252 прошли эксплуатационные испытания и устанавливались на автомобилях МАЗ-555 /5/. Производство бесщеточных генераторов с укороченными полюсами только начинается, первыми моделями этого семейства являются генераторы 45.3701 и 49.3701,которые планируется устанавливать на автомобили семейства УАЗ /6/. Таблица № 2
- Индукторные генераторы. У индукторных машин магнитная индукция в каждой точке рабочего зазора изменяется только по величине, а её направление остается постоянным. Следовательно индукция в зазоре индукторной машины (ИМ) имеет пульсирующий характер и содержит переменную (рабочую) и постоянную (нерабочую) составляющие. Обмотка якоря и возбуждения в ИМ находятся на статоре. а изменение во времени магнитного потока, сцепленного с обмоткой якоря, достигается за счет периодического изменения магнитного сопротивления на пути рабочего потока при вращении зубчатого ротора.Достоинствами ИМ помимо способности генерировать ток повышенной частоты являются простота конструкции ротора, высокая надежность, хорошее регулирование напряжения, работоспособность в сложных окружающих условиях (при повышенных температурах, пониженном давлении, присутствии агрессивных сред и т.п.).Главный недостаток ИМ проявляется в наличии постоянной составляющей магнитного потока, которая не участвует в наведении рабочей ЭДС, но загружает магнитопровод и требует существенного увеличения его объема и массы по сравнению с обычными синхронными машинами /1/,/7/. В автотракторной промышленности наибольшее распространение получили индукторные генераторы с односторонним и двусторонним возбуждением. Рассмотрим некоторые из них. - Бесконтактный автомобильный генератор мощностью 1.5 кВт./8/. Генератор предназначен для установки на двигатели ЯМЗ-740 и Камаз-4310.Генератор работает в схеме электрооборудования параллельно с АБ в комплекте с регулятором напряжения РР133 (Рис.8). Генератор представляет собой одноименно- полюсную семифазную индукторную машину с односторонним электромагнитным возбуждением и встроенным кремниевым выпрямителем (рис. 9) и состоит из трех основных узлов: статора, ротора и системы возбуждения с задней крышкой и катушкой возбуждения на каркасе. В узел ротора входит ротор, три подшипника и ось. Пакет статора шихтован из листовой стали, имеет 14 зубцов, на которых закреплены катушки семифазной обмотки, выполненные проводом ПЭВ-2 диаметром 1,25 мм с числом витков 44 каждая. Соединение катушек в фазе последовательное. Фазы соединены в семиугольник. Конструкция генератора позволяет снизить до минимума массу вращающихся частей, что в свою очередь положительно сказалось на величине момента инерции, которое имеет большое значение с точки зрения воздействия на элементы ременного привода.Отсутствие скользящих контактов, монолитный ротор, отсутствие перекосов в подшипниках, простота конструкции и технологии изготовления являются предпосылкой высокой надежности генератора и стабильности в процессе производства. Технология сборки и разборки генератора очень проста. Благодаря консольному креплению узел ротора можно легко снимать н устанавливать, не нарушая при этом посадок подшипников. Для этого достаточно отвернуть болт на торце задней крышки и вынуть хвостовик оси из отверстия.Момент инерции генератора 1.5 кВт равен 8 10 Н м, что примерно в два раза меньше, чем генератора с клювообразной магнитной системой близкой мощности. КПД генератора высок и составляет в среднем 70%. Техническое обслуживание генератора заключается только в периодической проверке состояния н надежности крепления проводов, крепления генератора на двигателе и проверке натяжения приводного ремня.
Рис.9.Генератор мощностью 1.5 кВт. 1- корпус выпрямительного блока; 2- теплоотвод; 3- крышка задняя; 4- катушка возбуждения; 5- статор; 6- ротор; 7- крышка передняя; 8- вентилятор; 9- шкив; 10- шарикоподшипник задний; 11- ступица ротора; 12- шарикоподшипники передние; 13- ось Для оценки уровня качества генератора в Таблице № 3 приведены его основные технические характеристики в сравнении с характеристиками ближайшего зарубежного аналога - бесконтактного генератора Е80 фирмы Maremont (США). Таблица № 3
- Тракторная генераторная установка мощностью 2 кВт /9/. Генератор 11.3701 напряжением 28 В предназначен для тракторов Т-330 и Т-550 Чебоксарского завода тракторов. Мощность обусловлена применением мощных потребителей (осветительного оборудование, электромагнитный привод управления различными механизмами и агрегатами, фреоновый кондиционер).
Рис. I0. Общий вид (а) и токоскоростная характеристика (б) генератора 11.3701
Рис.11. Электрическая схема генераторной установки. Конструктивно генератор 11.3701 аналогичен генератору Г-3О3 и представляет собой индукторную одноименнополюсную электромашину с односторонним электромагнитным возбуждением и встроенным кремниевым выпрямителем. На рис.10. представлены общий вид и токоскоростная характеристика генератора, на рис.11 - электрическая схема установки. Привод генератора при помощи гидромуфты, благодаря чему устраняется нагрузка от радиальных усилий /9/. В Таблице № 4 приведены основные технические данные разработанного генератора сравнительно с генераторами зарубежных фирм. Таблица № 4
Тракторный генератор мощностью 1 кВт /10/.Алтайским заводом тракторного электрооборудования совместно с НИИ автоприборов разработан тракторный генератор переменного тока 15.3701 мощностью 1 кВт напряжением 14 В со встроенным кремниевым выпрямителем и регулятором напряжения Я112Б.Интегральный регулятор напряжения Я112Б обеспечивает высокую точность регулирования в рабочем диапазоне тока нагрузки, частоты вращения генератора температуры окружающего воздуха. Недавно внедрен в производство генератор 2102.3707 индукторного типа, предназначенный для установки на автомобилях КамАЗ и "Урал"/6/.
Рис. I2. Принципиальная электрическая схема генераторной установки. Генератор 15.3701 (рис.13) выполнен на базе и взамен выпускаемого в на заводе АЗТЭ генератора Г309. 1.3 Современные тенденции развития бесконтактных генераторных установок и регулирование напряжения в них Анализ показывает, что требуемая мощность потребителей в автотранспортных средствах каждые 10 лет возрастает на 10-15 % /11/. Определилось несколько основных направлений совершенствования. Это увеличение частот вращения роторов генератора и стартера; повышение напряжения бортовой сети; замена стартера и генератора одной электрической машиной (стартер- генератором). На самых современных зарубежных легковых автомобилях по-прежнему устанавливаются генераторы с контактными кольцами. Рассмотрим некоторые технические характеристики этих электромашин: Генератор КCI4 (фирма "Бош"): рабочий диапазон частот вращения вала - 1080-6000 мин'; расчетная мощность - 750 Вт при частоте вращения 2000 мин-'; максимальная мощность - 1127 Вт при 6000 мин'; расчетный ток - 51 А. Генератор 100211-2550 (фирма "Дэнсо"): диапазон рабочих частот вращения вала - 1025-6000 мин'; расчетная мощность - 560 Вт при 2000 мин''; максимальная мощность - 1000 Вт. Генератор имеет дополнительное плечо выпрямителя, подключенное к нулевой точке обмотки статора, благодаря чему ток отдачи при 6000 мин' возрос, по сравнению с обычным исполнением почти на 8 А. На зарубежных легковых автомобилях в последнее время стали применять и чехословацкие генераторы на 14 В, 55 А. Расчетная их мощность-505 Вт при 2000 мин', максимальная - 800 Вт. Диапазон частот вращения вала - 1000-6000 мин'.Максимальный ток - 57 А. Коэффициент использования генератора при расчетном токе нагрузки -57 мВт/(кг/мин'), т.е. он занимает середину диапазона коэффициентов генераторов западно-европейских и японских фирм (52-60 мВт/(кгмин'). Как видно, зарубежные фирмы серийно выпускают генераторы для легковых автомобилей, имеющие примерно одинаковые характеристики: рабочий диапазон частот вращения вала - 1100-6000 мин'; номинальная частота его вращения - 2000 мин'; расчетный ток- 50-60 А. Таким образом, генераторы, выпускаемые зарубежными фирмами, особым разнообразием характеристик не отличаются. Хотя применение постоянных магнитов может снизить массогабаритные показатели на 30-40%. Постоянные магниты повышают удельную мощность генераторов до 0,5 кВт/кг. В нашем отечественном автомобилестроении основной генератор для легковых автомобилей - это генератор 37.3701 с контактными кольцами. Его напряжение - 14 В, расчетная мощность - 750 Вт, расчетный ток - 55 А, масса - 4,4 кг; удельный коэффициент использования - 58 мВт/(кгмин'), что соответствует уровню западных образцов /11/. Дальнейшее совершенствование электрических машин, применяемых на автомобилях, будет идти, как показывает анализ, по нескольким направлениям. Одно из них - применение постоянных магнитов высоких энергий (например, сплава "железо-неодим- бор", называемого "Магнаквенч", у которого магнитная энергия выше, чем у обычных магнитов, в 5-10 раз). Второе направление - переход на асинхронные машины. Благодаря этому снимаются проблемы, связанные с работой коллекторно-щеточного узла, а также появляется возможность увеличить частоту вращения якоря электрической машины. Хорошими регулировочными свойствами и токоскоростной характеристикой обладают и асинхронные генераторы с вентильным возбуждением. Третье направление - это применение асинхронных стартер-генераторов. 1.3.1 Система управления бесконтактного магнитоэлектрического генератора Магнитоэлектрические генераторы обладают такими достоинствами, которые делают их весьма перспективными для автомобилей. Однако здесь они распространения пока не получили. (В крайнем случае, распространения массового.) Главная причина этого - трудности, связанные с поддержанием постоянства выходного напряжения генератора /3/. Наконец, в последнее время специалисты все больше склоняются к способу регулирования - с помощью управляемого выпрямителя, устанавливаемого на выходе генератора: такой выпрямитель реагирует на отклонения средней величины выходного напряжения генератора от требуемого уровня. Данный способ не связан с дополнительными потерями энергии в генераторе малоинерционная система управления выпрямителем исключает выбросы напряжения, связанные с отклонением мощных потребителей тока. То есть система управления решает даже ту проблему, для осуществления которой на генераторах с электромагнитным возбуждением приходилось применять специальные технические средства (динамические стабилизаторы-фильтры). Однако получалась система довольно сложной, с не очень стабильными характеристиками. Чтобы устранить эти недостатки, специалисты кафедры "Автотракторное электрооборудование" МГААТМ /3/ применили тиристорный управляемый выпрямитель с системой управления, реализованной на современной элементной базе. Такой подход позволил свести к минимуму размеры печатной платы устройства и, главное, повысить стабильность характеристик системы управления. Новый выпрямитель выполнен по трехфазной мостовой схеме, в которую входят три обычных "автомобильных" полупроводниковых диода (в анодной группе) и три малогабаритных силовых тиристора (в катодной группе). Система управления выпрямителем (см. Рис 14) представляет собой три (по числу силовых тиристоров) идентичных канала. Силовыми тиристорами управляют маломощные тиристоры, которые, в свою очередь, включает и выключает система импульсно-фазового управления (СИФУ). Управляющий вход СИФУ подключен к измерительному органу девиации выходного напряжения выпрямителя. Измерительный орган выполнен на базе дифференциального усилителя, который сравнивает опорное напряжение параметрического стабилизатора с напряжением на выходе настроечного резистивного делителя. чей вход подсоединен к выходу выпрямителя. Уровень точности поддержания регулируемого напряжения настраивается изменением величины коэффициента усиления дифференциального усилителя. К синхронизирующему входу каждого канала СИФУ подается линейное входное напряжение выпрямителя, с которым связан силовой тиристор соответствующего канала. Каждый из каналов СИФУ работает следующим образом: в момент перехода линейного напряжения, вырабатываемого генератором 4, через нулевое значение уровень выходного сигнала формирователя 6 импульсов первого канала управления изменяется. По этому сигналу интегратор 7 формирует пилообразное напряжение, синхронизированное с линейным напряжением на входе выпрямителя 5, и подает его на элемент 8 сравнения. Сюда же подается (через фильтр 1 и дифференциальный усилитель 3) выходное напряжение с выпрямителя 5, элемент 8 сравнивает девиацию выходного напряжения выпрямителя с пилообразным напряжением и в момент равенства данных напряжений формирует сигнал управления тиристором. Этот сигнал через усилитель 9 тока подается на маломощный, тиристор (для работы микросхем применяется стабилизатор 2 напряжения). Сигнал управления силовым тиристором оказывается синхронизированным с соответствующим линейным напряжением на входе выпрямителя и подается с задержкой, определяемой величиной отклонения регулируемого напряжения. Макетный образец генераторной установки с магнитоэлектрическим генератором и управляемым выпрямителем уже изготовлен. Его испытания показали, что выходное напряжение генераторной установки в требуемых для работы в комплекте с аккумуляторной батареей пределах он поддерживает, причем в широком диапазоне изменения частоты вращения ротора и нагрузки /3/. 1.3.2 Бесконтактный стартер-генератор управляемый микропроцессорной системой Классические электрические системы автомобилей включают две электрические машины: стартер и генератор. Однако в последние годы функции стартера и генератора предлагается совместить - так, как это давно уже сделано в авиации. Причем наиболее перспективной для такой цели считается частотно-регулируемая асинхронная машина с инвертором напряжения. (Главным образом потому, что в ней нет скользящих контактов, которые, как известно, существенно снижают надежность системы.) Для оптимального управления приводом необходимо изменять как частоту, так и амплитуду питающего напряжения.Практическая реализация системы, если ее выполнять на дискретных элементах, оказывается делом трудным, а в отдельных случаях - и невозможным. В режиме стартера машина должна развивать момент, достаточный для пуска ДВС при напряжении аккумуляторной батареи, существенно меньшем номинального. Кроме того, должна быть предусмотрена возможность нескольких пусков от одного заряда батареи. После пуска система управления должна автоматически переводить стартер-генератор в режим генератора, обеспечивать постоянство выходного напряжения независимо от частоты вращения ротора и т. п. Выход находят применяя бесконтактный стартер-генератор, управляемый микропроцессорной системой /12/,/13/. Стартер-генератор (Рис 15.) представляет собой стандартную асинхронную машину (AМ) серии 4А с короткозамкнутым ротором, дополненную трехфазным автономным инвертором напряжения/12/. Выбор серийной машины не случаен: за счет этого упрощается процесс изготовления стартер-генератора. Автономный транзисторный инвертор напряжения собран, как видно из рисунка, по мостовой схеме. Со стороны переменного тока к нему подключена асинхронная машина, а со стороны постоянного тока - аккумуляторная батарея (АБ) и бортовая сеть автомобиля. Работой силовых транзисторов управляет микропроцессорная система. Вал асинхронной машины через понижающий редуктор, передаточный коэффициент которого равен 15-16, подключен к ДВС. После пуска двигателя, т. е. когда частота вращения коленчатого вала становится больше частоты вращения вала асинхронной машины, обгонная муфта редуктора автоматически уменьшает коэффициент передачи до 2,0. Асинхронная машина переходит в генераторный режим с частотой вращения, в 2 раза большей частоты вращения коленчатого вала ДВС. На этом режиме инвертор преобразует электрическую мощность трехфазного переменного тока, снимаемую со статарной обмотки асинхронной машины, в мощностью постоянного тока, отдаваемую в бортовую сеть и на заряд аккумуляторной батареи, а также питает статорную обмотку реактивным намагничивающим током заданной частоты. Когда асинхронная машина работает в генераторном режиме, инвертор также является источником только реактивной мощности, необходимой для создания основного магнитного потока. Причем частота вращения магнитного поля статора определяется частотой переключения транзисторов инвертора. Активная составляющая тока статора машины выпрямляется диодами обратного моста и отдается в бортовую сеть. Следовательно, у асинхронного генератора клеммы статарной обмотки служат одновременно и клеммами возбуждения, и выходными. В стартерном режиме инвертор преобразует электрическую мощность постоянного тока, потребляемую от аккумуляторной батареи, в активную мощность трехфазного переменного тока, необходимую для прокрутки ДВС. Закон этого преобразования задается микропроцессорной системой управления. В генераторном режиме заданная величина напряжения бортовой сети также поддерживается автоматически, путем изменения частоты переключения транзисторов инвертора по закону, реализуемому микропроцессорной системой управления. Американская корпорация "Дженерал моторс" уже разработала асинхронный стартер-генератор и систему управления его инвертором. Данная система определяет положения ключа и замке зажигания; считывает сигналы датчиков частоты вращения вала стартер-генератора и напряжения на инверторе; измеряет и оценивает амплитуду и частоту напряжения, которое необходимо подавать на стартер-генератор по принятому закону; формирует управляющие воздействия на ключи инвертора. При этом частота напряжения определяется из ycловия постоянства абсолютного скольжения (за исключением момента начала "старта" двигателя и перехода асинхронной машины в генераторный режим, когда скольжение изменяется скачком от нуля до заданной величины). Правда, закон регулирования специалисты приняли довольно простой: отношение амплитуды питающего напряжения к его частоте должно оставаться постоянным. Эта простота системы созданная "Дженерал моторс" не позволяет использовать все возможности микропроцессоров. В частности, применяемый в ней для стабилизации выходного напряжения в режиме-генератора пропорциональный, регулятор может стать причиной неустойчивой работы самой системы регулирования. Если же функции приема, обработки информации и выдачи сигналов управления на ключи инвертора разделить между двумя процессорами, система заметно усложнится. Перечисленных недостатков можно избежать, если применить микропроцессорную систему, структурная схема которой приведена на Рисунке 16 /12/. Основные ее узлы и назначение следующие. Системный генератор (СГ) предназначен для формирования тактовых сигналов; микропроцессор (МП) вычисляет временные задержки и управляет ключами инвертора; системный контроллер (СК) формирует сигналы управления; оперативное запоминающее устройство (ОЗУ) хранит переменные и промежуточную информацию о состоянии асинхронной машины; постоянное запоминающее устройство (ПЗУ) содержит программу и таблицы функций управления; блок счетчиков (БС) и схема формирования вектора прерывания (СФВП) выполняют программный отсчет заданного времени, необходимого для формирования управляющих воздействий на ключи инвертора; блок-порт приема информации (ППИ) принимает сигналы датчиков скорости вращения вала стартер- генератора, питающего напряжения, положения ключа в замке зажигания; блок-порт выдачи информации (ПВИ) выдает управляющие воздействия на ключи инвертора. Главная задача рассматриваемой системы - выдача таких управляющих воздействий на ключи инвертора, чтобы амплитуда и частота напряжения на обмотках стартер-генератора машин соответствовали требуемым с точки зрения оптимального закона управления. Решается она иначе, чем в системе "Дженерал моторс". Частота регулируется не за счет постоянства скольжения, а изменением длительности цикла переключения ключей инвертора, амплитуда - с помощью широтно-импульсного регулятора (ШИР). То есть система может изменять управляющие воздействия через некоторые промежутки времени, длительность которых задается программой. Поэтому задача регулирования частоты и амплитуды напряжения сформулирована именно с точки зрения длительности процессов. Разработанная система управления использует оптимальные законы управления, что позволяет обеспечить пуск двигателя, а в режиме генератора - требуемую ТСХ при минимуме потерь в асинхронной машине. Разброс параметров АМ при производстве корректируется простым изменением таблиц "зашиваемых" в ПЗУ. Созданные макетные образцы стартер-генераторов рассчитаны на напряжения 24 и 48 В. Такие напряжения позволяют уменьшить массу проводников, аккумуляторной батареи и самого стартер-генератора, а также стоимость автономного инвертора (использованы силовые транзисторы, рассчитанные на меньшие токи). 2. Специальный раздел 2.1 Исходные данные 2.1.1 Выбор генератора с постоянными магнитами К перспективному электрооборудованию подвижных объектов предъявляются требования малой массы, высокой надежности, широких функциональных возможностей и высоких выходных характеристик систем. Электрические генераторы с постоянными магнитами, обладая достоинствами бесконтактных машин, имеют ещё следующие преимущества: высокую надежность, простоту конструкции, высокий КПД, надежное возбуждение, улучшенные выходные характеристики, малую инерционность при переходных процессах. В определенном диапазоне частот тока и мощностей электрические генераторы с постоянными магнитами имеют лучшие массогабаритные характеристики, чем генераторы с электромагнитным возбуждением /2/,/16/.Свойственные электрическим генераторам с постоянными магнитами недостатки: отсутствие прямого способа регулирования напряжения, разброс характеристик постоянных магнитов, относительно высокая стоимость генераторов- преодолеваются. В данном дипломном проекте выбрана стандартная, выпускаемая промышленностью, генераторная установка Г273 /17/. Её технические характеристики приведены в приложении А. Генератор Г273 имеет клювообразную (когтеобразную) систему ротора. Отличительной особенностью является то, что вместо обмотки возбуждения в данном дипломном проекте разрабатывается возможность установки постоянного магнита. Следовательно, необходимо выбрать типы постоянных магнитов, обеспечивающие надежную работу генератора, и обосновать применение когтеобразного ротора. 2.1.2 Ротор с когтеобразными полюсами с цилиндрическими постоянными магнитами, намагниченными в аксиальном направлении Когтеобразный ротор (Рис .17) состоит из цилиндрического постоянного магнита, к торцам которого примыкают шайбы из магнитомягкой стали, имеющие когтеобразные выступы. Выступы левой шайбы чередуются по окружности с выступами правой шайбы. Каждая шайба и её выступы приобретают магнитную полярность сопряженного с ним полюса магнита, поэтому когтеобразные выступы по отношению к статору образуют систему полюсов с чередующейся полярностью. Магнит крепится в заточках полюсных шайб. Вал обычно изготовляется из немагнитной стали во избежание шунтирования магнита. В том случае, когда на валу имеется втулка из немагнитного материала (обычно латуни), вал выполняют из магнитной стали. Главным достоинством ротора является то, что постоянный магнит защищен магнитомягкими элементами от внешних полей, а его первоначальное намагничивание осуществляется в собранном виде внешним магнитным полем. Наличие полюсов приводит к полной стабильности поля в воздушном зазоре, определяемого конфигурацией поверхности когтей, что позволяет получить синусоидальную форму кривой напряжения.
Рис.17 Ротор с когтеобразными полюсами с цилиндрическими постоянными магнитами, намагниченными в аксиальном направлении Индукция в воздушном зазоре Вd достаточно высокие (Вd» 0.6..0.7 Тл), так как значение магнитного потока определяется площадью поперечного сечения магнита, которая может быть выбрана значительной. Такую конструкцию целесообразно применять для магнитов с высокими значениями коэрцитивной силы Нс. При повышении частоты (числа полюсов) коэффициент заполнения объема ротора магнитом не снижается. Механическая прочность когтеобразных роторов достаточно высокая. Окружная скорость может быть доведена до 80..100 м/с. Наряду с достоинствами когтеобразные роторы обладают и рядом недостатков. Пониженная степень заполнения его объема постоянным магнитом, возможность отгиба концов когтеобразных выступов из-за центробежных сил, повышенные радиальные размеры /18/. 2.1.3 Выбор постоянного магнита Технические и массогабаритные данные электрических генераторов с постоянными магнитами зависят прежде всего от магнитных свойств постоянных магнитов. О качестве постоянных магнитов судят по значению максимальной удельной магнитной энергии Wmax или её удвоенному значению (BH) max. В электрических генераторах с постоянными магнитами в настоящее время применяются следующие основные группы магнитотвердых материалов для постоянных магнитов: железоникелевые и железоникелькобальтовые сплавы, бариевые ферриты, интерметаллические соединения на основе редкоземельных элементов и кобальта. Широкое применение нашли анизотропные сплавы, на базе ЮНДК24, ЮНДК35Т5, ЮНДК40Т8 с направленной кристаллизацией, обладающие большими удельной магнитной энергией и коэрцитивной силой. Магнитные свойства этих материалов приведены в Таблице № 5. Таблица № 5
Вr - остаточная намагниченность, Нс - коэрцитивная сила. Появление сплавов ЮНДК значительно расширило применение магнитов. Сплавы типа ЮНДК (альнико) являются металлокерамическими материалами, которые обычно изготовляются методами порошковой технологии или литьем. Эти материалы обладают наилучшей термической устойчивостью с температурой Кюри 850°. Температурные коэффициенты индукции в интервале температур от -60 до 100 °С составляет в среднем aв »(0.02 -0.07)%/°С т.е относительно невелики. Магнитные характеристики металлокерамических магнитов из ЮНДК24, ЮНДК35Т5 и ЮНДК38Т7 приведены на Рис. 18. Наилучшими материалами для постоянных магнитов, используемых в БЭМ, являются интерметаллические соединения на основе редкоземельных материалов /18/ вида RСo5 (самария Sm, празеодим Pr, тербия Тb, церия Ce, и др.) и кобальта. Магниты из Rco5 получают литьем или спеканием. Наиболее широкое применение имеют материалы состава: Sm-36%, Co-64%. Они имеют прямолинейную спинку кривой размагничивания и обладают высокими магнитными свойствами: Вr=0.7-0.9 Тл, Нс=560-640 кА/м, (BH) max=128-176 Тл кА/м. Эти магниты обладают уникальными значениями коэрцитивной силы, в 6-7 раз превышающие значения для магнитов типа ЮНДК. На Рис.19 приведены кривые размагничивания и значения (BH) max. Таблица № 6.
Магниты из РЗМ рассчитаны для работы при температурах от -70 до +150°С, имеют достаточно низкий температурный коэффициент при Вr, примерно 0.03- 0.05%/°С в диапазоне температур 20-200°С. В таблице № 6 даны характеристики существующих РЗМ. Несмотря на высокие магнитные показатели, использование РЗМ магнитов пока затруднено по причине того, что, например, стоимость SmCo5 достигает нескольких миллионов рублей за килограмм. Для стандартного генератора Г273 в целях удешевления и унификации целесообразно выбрать магниты типа ЮНДК, так как они обладают удовлетворительными, для нашего варианта характеристиками и могут создать необходимый для самовозбуждения магнитный поток. Выберем, исходя из вышеописанных данных, постоянный магнит типа ЮНДК35Т5АА (см.Таблицу № 5 и Рис 18). Этот магнит изготовлен методом порошковой технологии. Буквы АА означают, что материал монокристаллической структуры. Эти сплавы обладают хорошими магнитными свойствами, эффективно работают при температурах до 600°С и относительно недороги. 2.1.4 Определение частот вращения ротора генератора и передаточного числа привода от двигателя к генератору Инженерный расчет генератора, сводится к перерасчету передаточного отношения привода генератора от коленчатого вала двигателя. Э.д.с фазы будем считать по формуле е=l·Vотн·Вd . Воспользуемся рядом упрощений и допущений /19/. Вектор магнитной индукции Вd перпендикулярен вектору относительной скорости движения Vотн. Магнитная индукция в зазоре равна индукции постоянного магнита Вd=Вм, так как считаем что воздушные зазоры пренебрежимо малы и линии индукции не имеют выпячиваний в воздушном зазоре ( т.е. параллельны друг другу). Тогда можно записать что: U=l·Vотн·Вм (1) Для перерасчета считаем, что l·Vотн=const для определенной частоты вращения. При пересчете будем опираться на технические данные ГУ Г273 и его ТСХ /20/ (Рисунок А.1 в приложении А). Также считаем, что у обмотки возбуждения магнитная индукция равна Вм1=1.7 Тл, а у выбранного магнита Вм2=1.05 Тл. 1. Расчет при холостом ходе генератора.
2. При контрольном режиме ТСХ.
Соотношение Вd и Вм остается прежним 1.62 раза. Из формулы (1) находим, что чтобы обеспечить необходимое напряжение ГУ в 28 Вольт надо поднять частоту вращения генератора до 3564 об/мин. 3. При номинальном режиме работы, когда nномгу = 5000 об/мин при Iнагр =28А и UГУ =28 В, надо поднять частоту вращения ротора до 8100 об/мин. При максимальной частоте вращения двигателя частота вращения ротора генератора должна составлять не менее 10800 об/мин. Ввиду того, что частота вращения ротора генератора необходимая для обеспечения заданного напряжения не соответствует частоте вращения коленчатотго вала двигателя, необходимо ставить повышающий редуктор привода генератора. Примерные частоты вращения двигателя находятся в пределах 700 -4500 об/мин, минимальная частота вращения генератора 1700 об/мин. Необходимо обеспечить токоотдачу на минимальных оборотах то, есть при минимальной частоте вращения двигателя 700 об/мин, надо чтобы генератор имел частоту вращения 1700 об/мин. Следовательно необходимо выбрать передаточное число 1700/700=2.4, (i=2.4)- повышающего редуктора от двигателя к генератору. Так как вместо обмотки возбуждения на генераторе установлен постоянный магнит магнитный поток невозможно уменьшить при увеличении частоты вращения (Ф=const). Неизбежно повышение напряжения на выходе генератора, причем оно будет увеличиваться пропорционально увеличению частоты вращения ротора генератора. Рассчитаем во сколько раз увеличится напряжение генератора по-формуле
Нам известны nmax =4500 об/мин, nmin =700 об/мин и Umin=28 В , тогда
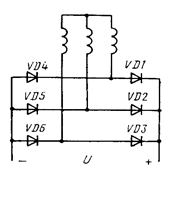
Напряжение генераторной установки изменяется в пределах 28 ... 170 Вольт. 2.2 Выбор и обоснование типа регулятора При заданном широком изменении входных параметров и невозможностью регулирования с помощью обмотки возбуждения целесообразным становится применение регулятора постоянного напряжения с импульсным регулированием. Они находят все более широкое применение в электронной аппаратуре. Это объясняется, в первую очередь, их высокими энергетическими и объемно-массовыми показателями. Коэффициент полезного действия таких источников может достигать 70...85 % , при этом их удельная мощность составит 120...250 Вт/дм /23/. Регулятор постоянного напряжения представляет собой однотактный регулируемый преобразователь с гальванической связью входа и выхода. Он состоит из периодически эамыкаемого электронного ключа и шунтирующего нагрузку диода. За счет изменения соотношения между временем включенного и выключенного состояний ключа достигается регулирование выходного напряжения без потерь мощности. При этом среднее значение выходного напряжения в зависимости от схемы и режима работы может быть больше или меньше входного напряжения. Преобразователи данного типа, охваченные контуром отрицательной обратной связи, широко применяются как импульсные стабилизаторы постоянного напряжения и тока. В зависимости от построения силовой части преобразователя (стабилизатора) можно подразделить на схемы с последовательным включением: дросселя и регулирующего транзистора; дросселя с параллельным включением транзистора; транзистора с параллельным включением дросселя /23/,/24/. Для данного дипломного проекта выберем схему регулятора с последовательным включением дросселя и регулирующего транзистора изображенную на Рисунке 20. Схема на Рис. 20 позволяет получить на выходе напряжение меньше напряжения на входе. Стабилизатор включает в себя силовую часть (регулирующий транзистор VT, фильтр LC и VD1); схему управления, состоящую из импульсного элемента: схемы сравнения и усиления. Коэффициент передачи по напряжению схемы на Рис. 20 равен: Ku=Uвх/Uвых=Тз/Т=Тз•f<1, где Т=Тз+Тр=1/f - период частоты переключения; f- частота переключения. Предполагая, что мощность в нагрузке равна произведению средних значений напряжения и тока нагрузки, получаем баланс энергий: Uвх·Iвх=Uвых·Iвых, где Iвх и Iвых - среднее значение токов i1 и i2 соответственно/24/. Это уравнение показывает, что регулятор постоянного напряжения обладает "трансформаторным" эффектом. В регуляторах постоянного напряжения с ШИМ в качестве импульсного элемента используется генератор, длительность выходного импульса или паузы которого изменяется в зависимости от постоянного сигнала, поступающего на его вход с выхода схемы сравнения. Временные диаграммы работы силовой части регулятора показаны на Рисунке. 21. 2.3 Выбор и расчет схемы выпрямителя Выбираем трехфазную мостовую схему выпрямления по схеме Ларионова Рис.22, по сравнению с трехфазной она имеет следующие преимущества: обратное напряжение на вентиле в 2 раза меньше; меньшая амплитуда и большая частота пульсации, возможность работы без трансформатора и т.д. Исходные данные для расчета выпрямителя: Максимальный и минимальный ток нагрузки Id=30 A (ток берется заведомо больше с запасом), Idmin=5 A; мощность Pd=Id·Ud В·А, номинальное входное напряжение Ud=26...170 В; работа выпрямителя на активно-индуктивную нагрузку.
Рис. 22 Трехфазная мостовая схема выпрямления. 1. Выпрямленное напряжение Ud пульсирует с частотой fп, в 6 раз большей частоты переменного напряжения поступающего с генератора.
где p-число пар полюсов (p=6), n- частота вращения ротора относительно статора. При частоте вращения генератора 2. Пульсация выпрямленного напряжения при соединении обмоток генератора по схеме "звезда" равна /22/: Udmin=1.5Uфmax -минимум, и Udmax= 1.73 Uфmax - максимум. DUd=(1.73-1.5)·Uфmax, тогда среднее значение выпрямленного напряжения (период пульсации равен Т/6): Ud=1.65· Uфmax DUd=0.139· Ud - пульсация выпрямленного напряжения. При Ud1=28 В , DUd1= 0.139·28=3.89 В; при Ud2=170 В , DUd2= 0.139·170=23.63 В; 3. Напряжение на фазе генератора должно быть равно: при Ud1=28 В, при Ud2=170 В, Минимальное и максимальное значение выпрямленного напряжения равно: Udmin1=1.5·Uфmax1= 25.5 B Udmax1= 1.73·Uфmax1= 29.41 B Udmin2=1.5·Uфmax2= 154.5 B Udmax2= 1.73·Uфmax2= 175.1 B 4. Среднее значение выпрямленного тока равно: Id=0.955· Idmax; так как Id=30 А, то Idmax=31.4 А,а ток фазы генератора Iф= 24.5 В. 5. Выбор вентилей. Определяем параметры вентилей Uобр, Iпр ср,Iпр. Напряжение Uобр находим по максимальному значению выпрямленного напряжения. Udmax2= 175.1 B, тогда Uобр=1.05· Udmax2=1.05·175=183.9 В. Прямой средний ток через вентиль для трехфазной мостовой схемы равен Iпр ср= Id/3=10 А, а прямой ток равен Iпр=0.58· Id=0.58·30=17.4 А. Таким образом нужно подобрать вентиль с параметрами не хуже: Uобр=183.9 В, Iпр ср= 10 А, Iпр=17.4 А. Выбираем из справочника /43/ вентиль 2Д2999А с параметрами: Uобр=200 В, Iпр max=20 А, падение напряжения на диоде DUd= 1 В, частота преобразования до f=100 кГц. 6. Определяем напряжение холостого хода выпрямителя: Udх.х1= Ud1+DUd·N=28+1·2=30 В, где N-число вентилей в группе. Udх.х2= Ud2+DUd·N=170+1·2=172 В. 7. Внутреннее сопротивление выпрямителя при изменении тока от 0 до Id: R0=( Udх.х2- Ud2)/ Id=(172-170)/30»0.067 Ом. КПД выпрямителя: h=P2/(P2+ Iпр ср·DUd·6)=0.988 то, примерно 98%. 2.4 Расчет силовой части импульсного регулятора Схема силовой части регулятора приведена на Рисунке. 23. Необходимо рассчитать все элементы этой схемы: силовой транзистор, диод, дроссель. Исходные данные: импульснй регулятор должен обеспечить отклонение выходного напряжения не более чем на 28 ± 0.3 В, при значениях входных напряжений полученных при расчете выпрямителя. Uвх1= Ud1=28 В; Uвхmin1=25.5 B; Uвхmax1=29.41 B; Uвх2= Ud2=170 В; Uвхmin2=154.5 B; Uвхmax2=175.1 B; Uвых=28 В; Iнmin=30 А, Iнmax=30А -выходные напряжение, максимальный и минимальный номинальные токи регулятора.Необходимо обеспечить мощность отдаваемую нагрузке не менее Pd= Uвых· Iнmax=840 В·А. 1. Определяем максимальное значение относительной длительности открытого состояния транзистора gmax. Для Uвх1=28 В для Uвх2=170 В 2. Определяем минимальное значение относительной длительности открытого состояния транзистора gmin. Для Uвх1=28 В для Uвх2=170 В 2.4.1 Расчет дросселя Определяем значение критической индуктивности исходя из условия безразрывности тока дросселя /41/.
Выберем частоту переключения равной 20 кГц, это значение частоты обеспечивает удовлетворительные массогабаритные показатели стабилизатора, уменьшает потери и находясь выше частоты порога слышимости не оказывает вредного влияния на органы слуха.
Lкр2= 0.12 мГн - из условия обеспечения непрерывного тока через дроссель. По заданной индуктивности дросселя необходимо рассчитать его параметры. Были проведены расчеты дросселей с магнитопроводом и без магнитопровода. Расчет был проведен с помощью математического пакета MathCAD, результаты расчета приведены в Приложениях Б и В. - Расчет параметров дросселя с магнитопроводом. Дроссель такого фильтра обычно выполняется на П или Ш-образном сердечнике из стальных пластин или ленты. Он должен обеспечивать заданную индуктивность L=0.0002 Гн при токе I=30 А, текущем через обмотку дросселя. Расчет дросселя приведен в Приложении Б. Программа определяет ширину стержня а, поперечное сечение S, оптимальный зазор lz/2, коэффициент М, относительную длину воздушного зазора lz (в % от lm), эффективную магнитную проницаемость материала сердечника mz и толщину набора с. Также определяются основные габаритные размеры дросселя, диаметр наматываемого провода d, число витков w, омического сопротивления R и коэффициента заполнения окна медью Km. В результате расчета были получены следующие данные: а=1.694 см, S=4.302 d=3.573 мм, w=27 витков, R=0.006 Ом, Km=0.213 Выбран сердечник дросселя типа ШЛ 20*25. Примерные габариты дросселя получились такими: - ширина 80 мм - длина 70 мм - высота 30 мм - Расчет параметров дросселя без магнитопровода. Дроссели без магнитопровода проектируются для приближения их вольт-амперных характеристик к линейным, для реализации больших энергоемкостей, в тех случаях когда требуется уменьшить шум, а также обеспечить высокую добротность /25/. В Приложении В приведен подробный расчет тороидальной катушки без магнитопровода (см. Рис. 24). Программа определяет средний диаметр сечения тора а, диаметр тора D, число витков w, омическое сопротивление обмотки постоянному R_ и переменному Rr току, мощность потерь в дросселе dP, поверхность охлаждения тороида Sохл. В результате расчета были получены следующие данные: а=3 см, D=9 см, w=71 виток, R_=0.021 Ом, Rr=0.028 Ом dP=26 Вт, Sохл=266.479 Примерные габариты тороида получились такими: - наружный диаметр 130 мм - высота 50 мм. Исходя из данных расчетов выбираем дроссель без магнитопровода (тороидальная катушка), по причине того, что у таких катушек очень малое поле рассеяния и, как отмечалось выше, большие энергоемкости, хорошая добротность и т.д. Кроме того, по расчетам видно, что дроссель с магнитопроводом не имеет больших преимуществ по массе и габаритам.
Рис.24 Тороидальный реактор без магнитопровода. 2.4.2 Определение параметров регулирующего транзистора Расчет транзистора проводится для случая Uвх=170В и Uвых=28В. Для выбранной нами схемы импульсного регултора напряжение коллектор-эмиттер силового транзистора равно входному напряжению Uкэ =Uвх=170В. 1. Максимальное значение тока коллектора.
тогда максимальный ток протекающий через коллектор транзистора будет равен:
2. Максимальное напряжение коллектор-эмиттер силового транзистора равно входному напряжению Uкэ max =Uвх max=175 В. 3. Выбор схемы силового ключа. По определенным параметрам транзистора были рассмотрены следующие варианты схем силового ключа на транзисторах: - Биполярный транзистор с управляющим МДП-транзистором /35/,/36/. Такие транзисторы имеют на входе полевой транзистор с малыми токами управления, который в свою очередь управляет более мощным биполярным транзистором (Рис. 25). Управляющий МДП-транзистор обеспечивает заметное сокращение времени рассасывания за счет хороших импульсных свойств. Были рассмотрены отечественные и зарубежные составные транзисторы /34/,/40/. За рубежом выпускаются так называемые IGBT-транзисторы(биполярные транзисторы с полевым управлением).В Приложении Г приведены некоторые характеристики этих транзисторов.
Рис. 25 Биполярный транзистор с полевым управлением. Эта схема несмотря на большие мощности рассеивания (более 160 Вт), относительно большую стоимость может быть использована наравне со схемой, которая была принята за основную в дипломном проекте. - Параллельное включение биполярных транзисторов (Рис. 26). Эта схема включения обеспечивает небольшие токи управления и достаточно небольшие мощности рассеивания. При выборе в качестве элементной базы был использован транзистор типа КТ890А/44/, Технические характеристики транзистора КТ890А приведены в Приложении Г. Средний ток коллектора одного транзистора равен Iк=10 А, при трех параллельно соединенных транзисторах суммарный ток через коллектор примерно равен IкS=30 А. Ток базы необходимый для насыщения транзистора при Iк=10 А не превышает IБ=150 мА, что для трех транзисторов равно IБS=150·3=450 мА. Постоянное напряжение транзистора Uкэ =350>175 В. В цепь базы включены резисторы по 50 Ом для уравновешивания токов базы, кроме того, для предотвращения лавинного пробоя транзистора в цепь эмиттеров тоже необходимо включить резисторы.
Рис. 26 Параллельное включение биполярных транзисторов. Мощность рассеиваемая на одном транзисторе равна:
Примем значение коэффициента насыщения Кнас равным 1.3, и определимся с остальными параметрами, считая что при входном напряжении Uкэmax=Uвхmax=175 В gmax=gmax2=0.18,Iнmax=10 A,Uкэнас=2 В,fп=20 кГц, Iкmax=11 A, tвкл=tвыкл= Тогда мощность рассеиваемая на трех транзисторах PкS=3·Pк=82.2 Вт. Для транзисторов с такой мощностью рассеивания необходим радиатор. 2.4.3 Определение параметров диода 1. Максимальное значение тока через диод.
Выбираем из справочника /43/ вентиль 2Д2997А с параметрами: Uобр=200 В, Iпр max=30 А, падение напряжения на диоде DUd= 0.85 В, частота преобразования до f=100 кГц, но так как максимальный ток через диод равен 33 А включим два диода параллельно. Суммарный ток через диоды равен 60 А, чего хватает с запасом. Падение напряжения на диоде 0.8 В, на двух диодах 1.6 В. Мощность рассеивания на диоде без учета динамических потерь:
Такая мощность рассеивания требует применения теплоотвода (радиатора). 2.5 Выбор выходного каскада схемы управления Для открытого насыщенного состояния транзистора необходим ток базы насыщения не менее 150 мА, что для трех транзисторов будет составлять около 450 А. С выхода схемы управления идет сигнал ТТЛ уровня 20 мА, кроме того необходимо обеспечить гальваническую развязку цепи управления и силовой части. Для гальванической развязки применим диодную оптопару, которая обеспечивает управление в широком диапазоне изменения относительной длительности времени включения вплоть до еденицы. Выберем оптопару типа АОД 109В /42/ с параметрами: Iвхопт=10 мА, Uвх-Uвых=100 В, Uпит=1.5 В, tрас=500 нс, tср=500 нс. Её вход соединен со схемой управления, чей выход ТТЛ с открытым коллектором обеспечивает ток до 20 мА, что достаточно для зажигания светодиода оптопары. Для усиления маломощного сигнала поступающего с выхода оптопары на базы силовых транзисторов выберем мощный операционный усилитель типа 1422УД1 с выходным током Iвых=1 А, Uвых>15 В, Uпит=15 В, Куu=50000, включенный по неинвертирующей схеме усиления. Схема выходного каскада управления приведена на Рисунке 27. Проведенные выше расчеты позволяют привести общую структурную схему связывающую силовую часть стабилизатора с выпрямителем и собственно с генератором, эта схема приведена на Рисунке.28. 2.6 Выбор схемы управления импульсного стабилизатора 2.6.1 Выбор способа управления Данная схема управления должна реализовывать внешнюю характеристику показанную на рисунке. 29 , то есть обеспечить регулирование напряжения в 28 В во всем диапазоне изменения тока, и ограничивать ток при его значениях выше 30 А. Выбросы тока более 30 А могут возникать при коротких замыканиях, сильном разряде АБ и т.д, это может привести к повреждению генератора и стабилизатора. Наклоны характеристик показаны условно ввиду того, что требуемый наклон будет определен при динамическом расчете стабилизатора, о чем будет сказано далее.
Рис.29 Внешняя характеристика стабилизатора. Регулирование мощности при помощи силового транзисторного ключа работает по принципу импульсного регулятора. Принцип импульсного регулирования заключается в периодическом подключении нагрузки к источнику напряжения с помощью ключа.. Изменение напряжения и ограничение тока, подаваемого на нагрузку осуществляется с помощью изменения ширины импульсов управляющих транзисторов VT1-VT3 (см.Рисунок 28). Это широтно-импульсный метод регулирования. Причем в нашем случае применяется метод ШИМ 2-го рода (сигнал обратной связи сравнивается с пилообразным сигналом). Для такой системы регулирования необходимы обратные связи по току и напряжению. Нужна информация с датчиков тока и напряжения. Система должна работать следующим образом. Сигнал обратной связи (ОС) вычитаясь из сигнала задания Uзад, образует сигнал управления Uупр, который поступает на элемент сравнения, где сравнивается с сигналом пилообразной формы. То есть длительность очередного импульса определяется интервалом изменения пилообразного сигнала Uпил от нуля в начале импульса до разности сигналов задания и обратной связи в конце. Временные диаграммы показывающие работу данной системы приведены на Рисунке.30.
Рис.30 Временная диаграмма работы модулятора. Блок схема реализующая данный принцип управления показана на Рисунке.31. 2.6.2 Выбор схемы управления стабилизатором Для реализации данной блок схемы (см.Рис.31) в качестве датчика тока применим резистор Rт, датчик напряжения собран на делителе напряжения с резисторами R20 и R21 (см.Принципиальную электрическую схему Рис.32). Для расчета R20 и R21 восползуемся допущением, считаем что через делитель ДН течет ток Iд=5 мкА, а на резисторе R20 должно падать 10 В получим примерно 2 кОма (R20=UR20/Iд), остальное напряжение должно падать на R21 то есть R21=Uнагр/Iд-R20=3.6 кОм. Для получения разности сигнала задания (опорного напряжения) и сигнала обратной связи применяются операционные усилители включенные по дифференциальной схеме. Они выполняют операцию вычитания сигнала ОС с датчиков тока, напряжения и сигнала задания, в тоже время обеспечивают необходимый заданный коэффициент усиления Ki и Ku, который обеспечивается обратными связями собранными на резисторах включенных в цепь ОС операционных усилителей. Однако нужно сделать замечание, обозначенные на принципиальной схеме резисторы у операционных усилителей DA2, DA3, DA4 выбраны прикидочно, так как они могут не обеспечивать устойчивую работу схемы. Выбор коэффициентов усиления для обеспечения оптимальной настройки регулятора будет рассматриваться ниже при динамическом расчете схемы управления стабилизатором. Сформированный сигнал управления должен поступать на элемент сравнения, для этого один из входов этого элемента надо подать пилообразный сигнал. Этот сигнал организуется с помощью мультивибратора собранного на компараторе DA1, причем "пила" образуется за счет различного времени заряда и разряда конденсатора С1 с помощью цепей R1VD1 и R3VD2, которые регулируют скважность сигналов на выходе мультивибратора. 2.6.3 Работа схемы управления стабилизатором Схема состоит из генератора пилообразного напряжения собранного на микросхеме DA1, усилителей обратной связи DA2, DA3, DA4, ШИМ - компараторов DA5, DA6. Пилообразное напряжение с выхода 4 DA1 поступает на вход ШИМ- компараторов DA5, DA6, на другие входы которых поступают сигналы с микросхем DA3, DA4. Обратная связь по напряжению организована на ОУ DA4, на один вход подключен источник опорного напряжения, а на второй вход подключен сигнал с датчика напряжения. Коэффициент усиления обеспечивается резисторами R24, R25, R22, R23. На этом ОУ происходит вычитание сигнала обратной связи из опорного. Обратная связь по току организована на ОУ DA2, на базе дифференциального включения с коэффициентом усиления по напряжению примерно 100 для увеличения маленького потенциала поступающего с точки 1 (см.Рис.32), и DA3, который представляет усилитель постоянного тока на один вход которого подключены источник опорного напряжения и сигнал с DA2 (сигнал ОС по току), на второй вход заведена обратная связь с коэффициентом усиления по напряжению примерно 1.025. С выхода ШИМ- компараторов сигналы поступают на логический элемент ЛЭ "или", собранный на схеме D1, который определяет работу той или другой обратной связи. Для устранения дополнительных переключений за один период, при односторонней модуляции используется RS-триггер на микросхеме D2. В начале каждого такта импульсом с задающего генератора (им также является мультивибратор на микросхеме DA1), через транзистор VT1, RS-триггер переводится с состояния лог "1" и логический сигнал с выхода Q поступает на транзисторы силового ключа. В результате возрастания сигнала ОС на выходе схемы сравнения появляется импульс положительной полярности, что переводит его в состояние "0", происходит выключение транзисторов. Обратное переключение триггера в оставшуюся часть периода невозможно, чем устраняется дополнительное переключение в силовом ключе. Стабилизация выходного напряжения и тока реализована в замкнутой системе регулирования за счет того, что при изменении сигнала обратной связи, например его снижении по какой-либо причине, происходит расширение импульсов на выходе компаратора DA5 или DA6 и следовательно на транзисторах импульсного элемента (ИЭ). 2.7 Динамический расчет стабилизатора Работа импульсной части зависит от силовой схемы, непрерывной- от свойств электрических элементов нагрузки, логической- от закона модуляции, реализуемого в схеме управления широтно-импульсного преобразователя. При наличии обратных связей электромагнитные процессы в преобразователе зависят не только от характера электрической нагрузки, но и от динамических свойств рабочего механизма. Практически установлено, что динамические характеристики замкнутых контуров в значительной степени зависят от логики работы схемы управления (см.Рис 30, 31). Рассматриваемые контуры регулирования являются нелинейными и дискретными по принципу действия. Для их описания удобнее применять нелинейные разностные уравнения. Анализ систем с широтно-импульсными преобразователями включает расчет электромагнитных процессов в замкнутом контуре, моделирование с учетом нелинейностей и дискретного характера работы, определению областей устойчивой работы системы. Задача синтеза сводится к вычислению коэффициентов обратных связей в замкнутом контуре с целью обеспечить заданные динамические свойства, например быстродействие, с учетом заданного распределения корней характеристического уравнения замкнутого контура. Синтез может быть выполнен на основе линейного приближения разностных уравнений, описывающих разомкнутый контур в окрестности точки установившегося режима. 2.7.1 Составление разностных уравнений системы Непрерывная и импульсная части в пределах периода описываются системой дифференциальных уравнений вида
где А- квадратная матрица постоянных коэффициентов k-го порядка; у-вектор переменных состояния; с- вектор воздействия со стороны импульсной части на непрерывную.
Рис. 33 Временные диаграммы широтно-импульсного преобразователя. Рассматриваемый широтно-импульсный преобразователь с индуктивным фильтром (см.Рис 23) описывается дифференциальным уравнением первого порядка. Пусть начало отсчета совпадает с началом импульса (см. Рис 33), уравнение примет вид:
Проведем преобразования для упрощения расчетов:
Умножим выражение (3) на Rн:
приняв постоянную времени равную
где t- постоянная времени; U- амплитуда прямоугольных импульсов. Переходя к форме записи (2), примем y=Uн; А= -1/t; с=U, тогда Решение этого уравнения (4) имеет вид
при t изменяющемся от tn до t то есть при t=tn и y=yn найдем значение постоянной С1 и решение уравнения:
В конце импульса (при t=tm и y=ym)
В пределах паузы непрерывная часть с учетом (4) описывается дифференциальным уравнением:
Решение этого уравнения (6) имеет вид
В начале паузы при t=tm и y=ym :
В конце паузы при t=tn+1 и y=yn+1 :
Нелинейное разностное уравнение (7) с учетом (5) описывает рассматриваемый контур в дискретные моменты времени. В установившемся режиме (при tn=0; tm=T0; tn+1=T; yn=yn+1=y0; ym=ym0)
2.7.2 Анализ динамических свойств системы управления стабилизатором Нелинейная дискретная система представляет собой систему с линейной непрерывной частью первого порядка. Выходная переменная ЛНЧ с прямоугольными импульсами на входе в интервале очередного периода (см. Рис 33) описывается с учетом (5) и (7) разностным уравнением (9) при U=1:
Замкнутая система первого порядка описывается нелинейным разностным уравнением первого порядка, которое состоит из разностного уравнения описывающего ЛНЧ (9), и уравнений замыкания, которые записываются в виде
где ym0- установившееся значение выходной переменной в конце импульса. Исследование по линейному приближению разностных уравнений позволяют определить не только необходимые условия устойчивости, но и получить оценку быстродействия замкнутой схемы. Линеаризуя разностные уравнения, описывающие замкнутую систему, в окрестности точки установившегося режима, получим:
где l-корень характеристического уравнения. В системе с ШИМ-2 этот корень будет равен:
где d=1/к - тангенс угла наклона пилообразного сигнала( коэффициент усиления обратной связи), Т-длительность периода, Тn+1 и Тn -установившееся значение длительности импульса в n и n+1 периоды, t- постоянная времени цепи обратной связи. Рассчитаем для данного дипломного проекта зависимость l от d=1/к для установившегося режима работы. Для этого определим постоянную времени t, которая равна отношению индуктивности рассчитанного дросселя к сопротивлению нагрузки:
(сопротивлением дросселя пренебрегаем), L=0.0002 Гн - индуктивность дросселя. В итоге получим постоянную времени t=4. Для расчета l по формуле (11) введем исходные данные, которые переопределим в относительные единицы. Т=1 - длительность периода (Т=0.00005 сек), Т0/Т- относительная длительность импульса, t/Т=4 - относительная постоянная времени. Подставляя эти значения в формулы (8) и (11) , и изменяя в от 0 до 0.3 определим l . Эта зависимость для t=4 и 10 при Т0/Т=0.2 и 0.8 приведена на рисунке. 34.
Рис. 34 Типовые корневые годографы системы с ШИМ-II при t/Т=4 и t/Т=10. С уменьшением параметра в до корень уравнения l уменьшается до нуля, затем изменив знак увеличивается по абсолютному значению. Исходя из уравнения (11) можно определить границы области устойчивости. Приравнивая формулу (11) к нулю получим оптимальное значение dопт, приравнивая к минус единице получим граничное значение dгр. Рассмотрим подробнее: 1. Определение граничного коэффициента усиления (dгр=1/к). Граничное значение определяется по формуле:
введя относительные переменные найдем граничное значение которое при t/Т=4, Т0/Т=0.2, ymo=0.22 равно dгр=-0.085, при Т0/Т=0.2, ymo=0.819, dгр= 0.064, что соответствует коэффициентам усиления -11 и 15. 2. Определение оптимального коэффициента усиления (dопт=1/к). Граничное значение определяется по формуле:
введя относительные переменные найдем граничное значение которое при t/Т=4, Т0/Т=0.2, ymo=0.22 равно dопт=0.055, при Т0/Т=0.8, ymo=0.819, dопт=0.205, что соответствует коэффициентам усиления 18 и 4. На рисунке. 35 приведены зависимости оптимальных и граничных параметров в от длительности импульса в установившемся режиме при различных постоянных времени (в том числе и при t/Т=4).
Рис.35 Зависимости оптимальных (штриховые линии) и граничных (сплошные) параметров в от длительности импульса для систем с ШИМ-2. Из рисунка видно, что при установившейся длительности импульса меньшей половины периода граничные значения параметра в отрицательны, что соответствует положительной обратной связи. И означает, что система устойчива при любых значениях коэффициента передачи контура k. Так как система работает при определенном значении коэффициента усиления, а длительность импульса в рассматриваемой системе изменяется от 0 до 1 то для устойчивой работы схемы следует рекомендовать выбирать коэффициент не превышающий граничный, то есть не более 20. 2.7.3 Моделирование системы управления Ставилась задача рассмотреть и смоделировать протекание процессов происходящих в системе при рассмотренных выше граничных и оптимальных условиях. Задача была решена с помощью ЭВМ. Программа моделирования была написана на языке Турбо Паскаль и приведена в приложении Д. Программа рассчитывает схему представленную на рисунке.23, с реальными значениями рассчитанных индуктивности дросселя и сопротивления нагрузки, в реальные моменты времени. На экран монитора выводятся осциллограммы несущие информацию о значениях выходного тока, напряжения импульсов, напряжений задания, управления и пилы. Рассмотрим две осциллограммы (см.Рис.36 и Рис.37). Введя в программу коэффициент усиления к=4 соответствующий dопт=0.205 получим оптимальный режим работы системы, что видно по напряжению Uиэ (см.Рис.36). Если увеличить коэффициент усиления к до 20, что соответствующий dопт=0.005 получим неустойчивый режим работы системы, что видно по напряжению Uиэ (см.Рис.37). Это подтверждает верность сделанных ранее расчетов и позволяет смоделировать различные ситуации при варьируемых входных данных, что значительно упрощает и облегчает расчет и построение процессов, происходящих в системе. 3. Конструкторско-технологический раздел Рассматриваемый в данном разделе функциональный узел (ФУ) представляет собой рассмотренную в предыдущем разделе схему управления с широтно-импульсной модуляцией (Рис. ). По конструкторско-технологическим требованиям необходимо использовать функционально-узловой принцип построения изделия, обеспечить его технологичность с минимумом номенклатуры комплектующих, минимальной массой и габаритами. Также целесообразно рассмотреть вопросы по защите изделия от климатических, механических и от других дестабилизирующих факторов. Обеспечить ремонтопригодность и унификацию. Провести комплексную оценку технологичности данной схемы, определить её надежность, время безотказной работы, рассчитать перегрев всего узла в целом и отдельных его элементов, а также разработать технологический процесс сборки. 3.1 Определение уровня технологичности ФУ 3.1.1 Расчет показателей технологичности Для количественной оценки технологичности рассчитаем группы частных показателей, характеризующих конструкцию с различных сторон: а) Коэффициент использования микросхем Кисп.мсх,
Нмс- количество используемых микросхем (МС), Нэрэ- количество всех радиоэлементов (ЭРЭ). б) Коэффициент повторяемости микросхем Кпов.мс,
Нтмс-количество типоразмеров микросхем. в) Коэффициент применяемости (стандартизации конструкторского изделия)Кпр,
n- количество типоразмеров частей изделия. n0- количество типоразмеров оригинальных составляющих. г) Коэффициент унификации (повторяемости) Кпов,
N- общее количество составных частей изделия, n- общее количество типоразмеров составных частей изделия, д) Коэффициент автоматизации и механизации установки радиоэлементов на печатную плату (ПП) Каму,
Нмуэрэ- количество ЭРЭ, которые могут устанавливаться на ПП автоматизированными методами. е) Коэффициент автоматизации, механизации контроля и настройки Кмкн,
Нмкн- количество операций контроля и настройки, которые могут осуществляться механизированным или автоматизированным способом, Нкн- все методы контроля и настройки. 3.1.2 Комплексная оценка технологичности Комплексная оценка технологичности построена на балльной оценке, то есть числовые значения показателей технологичности приводят к балльным показателям. Балльная оценка определяется как:
Тн- нормативное значение частного показателя, отражающий некоторый наиболее высокий уровень развития техники, Тф- фактическое значение показателя достигнутое при разработке изделия, Dг- эквивалент одного балла. Произведем расчет балльных показателей соответствующих рассчитанным числовым показателям технологичности (об этом говорит нижний индекс у показателя): а) б) в) г) д) е) Комплексный средний балльный показатель определяется как:
В Таблицу № 7 сведены все показатели, рассчитанные выше, Таблица № 7.
Показатель технологичности получился равным Бср=3.05, что по технологичности может соответствовать среднесерийному производству. Для увеличения Бср надо повышать автоматизацию контроля и повторяемость типоразмеров ФУ. 3.2 Расчет тепловой нагрузки элементов ФУ Проведем расчет используя исходные данные см. /1/: - Коэффициент заполнения объема блока Кзб=0.5; - Температура окружающей среды Тос=40 °С(313 °К); - Коэффициент перфорации П=0; - габаритные размеры блока l1*l2*l3. горизонтальные размеры блока l1=0.15 м, l2=0.15 м, вертикальный размер l3=0.1 м; - Мощность рассеиваемая блоком РБ=5 Вт; Поверхность корпуса блока:
Условная поверхность нагретой зоны:
Удельная мощность рассеиваемая корпусом блока:
Удельная мощность нагретой зоны:
По /46, с.20-21/ находим коэффициент DТ1 в зависимости от удельной мощности корпуса блока qк : DТ1= 9 °К . Также используя /46, с.20/ находим коэффициент DТ2 в зависимости от удельной мощности нагретой зоны qз : DТ2= 8 °К . Коэффициент Кп зависящий от коэффициента перфорации равен 1.0 (Кп=1.0). Перегрев корпуса блока:
Перегрев нагретой зоны:
Удельная мощность элементов:
Перегрев поверхности элементов: - выберем наиболее теплонагруженные элементы, превышение температуры которых относительно температуры окружающей среды определяется как:
Результаты расчета этих элементов представлены в Таблице № 8. Таблица № 8.
Температура корпуса блока:
Температура нагретой зоны:
3.3 Расчет надежности ФУ Анализ влияния работоспособности отдельных элементов на работоспособность всего ФУ показывает, что отказ любого из элементов схемы приводит к отказу всего ФУ. Следовательно, учитывая что в аппаратуре отсутствует избыточность, все элементы схемы будут иметь основное последовательное соединение в схеме надежности. На основе этого была построена схема надежности, которая изображена на рисунке.
Рис. Логическая схема надежности Для расчета надежности находим и заносим в Таблицу № 9 с указанием количества элементов группы ni /46/. Находим и заносим в Таблицу № 9 справочные данные в отношении интенсивности отказов элементов в нормальных условиях эксплуатации l0i /46/,/47/. Таблица № 9.
Для расчета суммарной интенсивности отказов введем поправочные коэффициенты: Квл- поправочный коэффициент негерметизированной аппаратуры (Квл=1.0),Км- коэффициент для неамортизированной аппаратуры (Км=1.03),Кд- коэффициент зависимости от давления (Кд=1.0). Суммарная интенсивность отказов:
Среднее время безотказной работы определится как:
Тогда вероятность безотказной работы равна:
В расчетах были использованы данные: Таблица № 10
Из расчетов по надежности видно, что заданная надежность ненамного выше надежности полученной расчетным путем (Рзад=0.95>Ррасч=0.93), что указывает на высокую надежность конструируемого устройства. Однако надежность можно ещё повысить следующими путями: Схемными методами: В нашем случае подходящими вариантами являются, - создание схемы с широкими допусками на параметры элементов и внешние воздействия, - создание схемы с ограниченными последствиями отказов. Конструктивными методами: - создание благоприятного режима работы, - унификация элементов и узлов. - выбор и облегчение теплового режима работы устройства и его частей, - оптимальная трассировка и компоновка. Перечень ТО для изготовления ФУ А: 005.0200 Контроль входной. Б: Верстак 1-8-3 К: Комплект согласно перечню элементов. О: Контролировать ЭРЭ по внешнему виду и электрическим параметрам: 1) вскрыть упаковочную тару; 2) извлечь ЭРЭ из упаковочной тары; 3) проверить ЭРЭ визуально на отсутствие повреждений, наличие клейма и документа подтверждающего годность ЭРЭ; 4) проверить ЭРЭ по электрическим параметрам на основании ТУ; 5) сделать отметку входного контроля на ЭРЭ или в сопроводительном документе; 6) уложить ЭРЭ в тару. Т: Приспособление для визуального контроля ГГ63669/012, тара цеховая 1-6; нож НМ150, пинцет ПГТМ120, комплект КИП. А: 010.0111 Правка выводов ЭРЭ. Б: Верстак 1-8-3 К: Микросхемы: К554СА3, К155ЛА8, К155ЛЛ2, К140УД6, К140УД7, Транзистор КТ315А. О: Правка выводов: 1) извлечь ЭРЭ из тары; 2) править выводы ЭРЭ; 3) проверить качество правки выводов; 4) уложить ЭРЭ в тару. Т: тара цеховая, пинцет ПГТМ120, приспособление для правки выводов ЭРЭ. А: 015.011 Правка и формовка выводов на автомате. К: Резисторы Конденсаторы Диоды Б: Верстак 1-8-3 О: 1) извлечь ЭРЭ из тары; 2) загрузить ЭРЭ в бункер автомата; 3) произвести правку и формовку выводов ЭРЭ в автомате; 4) извлечь ЭРЭ из автомата; 5) проверить выборочно качество правки и формовки выводов; 6) уложить ЭРЭ в тару. Т: Автомат П-образной формовки выводов ЭРЭ ГГ М3.112.004., пинцет ПГТМ120, тара 1-6. А: 020 Лужение выводов ЭРЭ и микросхем. К: Резисторы Диоды Микросхемы Транзистор Б: Верстак 1-8-3 О: Лужение выводов ЭРЭ и микросхем: 1) извлечь ЭРЭ из тары; 2) окунуть выводы ЭРЭ в ванну с флюсом; 3) облудить выводы ЭРЭ; 4) уложить ЭРЭ в тару. Т: Пинцет ПГТМ120, паяльник ПСМ26-6, припой ПОС 61, канифоль сосновая ГОСТ 19113-73, вязь ГОСТ 11680-76, спирто-нефрасовая смесь ГОСТ 443-76. Схема сборки функционального узла
1- Крепить гайками; 2- пайка волной припоя; 3- доделка; 4- контроль; 5- влагозащита; 6- выходной контроль. Разработал: Голиков В.В. Проверил: Гладышев С.П. Тех. контроль: Карева В.С 4. Организационно-экономический разделВ настоящем разделе рассматривается планирование этапов работ исследования и разработки регулятора напряжения, расчет затрат на выполнение работ и обоснование экономической целесообразности проводимого исследования. Планирование работ по проведению исследования выполнено в виде сетевой модели, что позволяет более наглядно представить логическую взаимосвязь отдельных его этапов, определить работы критического пути и в итоге более успешно управлять процессом выполнения и реализации проекта. Расчет затрат на исследование позволяет определить минимальную цену (нижний предел цены) данного исследования, как научно-технического продукта на рынке научно-технических достижений. Реальная цена выполненного исследования может оказаться выше в зависимости от конъюнктуры рынка научно-технических достижений и величины эффекта получаемого конечным пользователем этой продукции, ограничивающего верхний предел цены исследования. Конкретную величину экономического эффекта от данного исследования определить не предоставляется возможным, потому что во-первых не известны конкретные объемы внедрения результатов исследования, во-вторых-настоящее исследование не является законченной разработкой, а является лишь частью большого комплекса работ по совершенствованию электрооборудования автотракторной техники и в-третьих исследование в целом находится на такой стадии, когда окончательно не известны конкретные объекты применения результатов исследования. 4.1 Сетевое планирование Планирование работ в виде сетевой модели наиболее эффективно использовать в сфере научных исследований, так как это позволяет наиболее рационально распределять ресурсы, сократить время выполнения исследования и выявить ключевые момент исследования. 4.1.1 Построение сетевой модели Для построения сетевой модели составили перечень работ с учетом их логической взаимосвязи и возможного параллельного выполнения. Перечень работ приведен в Таблице № 11, где для каждого этапа работ назначены исполнители и экспертные оценки трудоемкости выполнения работ. tmin- оптимистическая оценка, дни. tmax- пессимистическая оценка, дни. Таблица № 11 Содержание и продолжительность работ сетевого графика.
По данным таблицы №11 построим сетевую модель, используя следующие обозначения /49 /:
- Событие, момент без продолжительности, обозначающий начало и конец работы.
- Действительная работа, процесс или действие, продолжительностью tij с начальным i и конечным j событием.
- фиктивная работа, не имеющая продолжительности, обозначает зависимость или логическую взаимообусловленность.
В кружке события дополнительно обозначено: i- номер события, Tрi-ранний срок свершения события, Tпi- поздний срок свершения события, Ri- резерв времени события. Построенный сетевой график приведен на Рис. . Коэффициент сложности разработанного сетевого графика, определяемый отношением числа событий к числу работ составляет 4.1.2 Расчет временных параметров сетевого графика Ожидаемая продолжительность работ сетевого графика рассчитывается по формуле:
Дисперсия среднеквадратичного отклонения sij от ожидаемой продолжительности определяется по зависимости:
Результаты расчетов сведены в Таблицу № 12. Ожидаемая продолжительность работ проставлена под стрелками работ сетевого графика см.Рис. Таблица № 12Временные параметры сети.
4.1.3 Расчет резервов времени событий и работ Для расчета резервов событий необходимо определить ранние и поздние сроки свершения события. Ранние сроки событий определяем используя цепной метод расчета (от исходного до завершающего):
Поздние сроки событий определяем аналогично, выполняя расчеты от завершающего события до исходного:
Резерв события рассчитывается как разность поздних и ранних сроков событий:
Рассмотренные выше расчеты выполнены непосредственно на сетевом графике, а результаты расчетов приведены в соответствующих секторах кружков обозначающих события (см Рис.). Расчет резервов работ выполнен по формулам. Свободный резерв времени работ Rcij равен:
Полный резерв времени работ Rпij равен:
Для более полного анализа сети определим коэффициенты напряженности работ Кнij, который определяется отношением несовпадающих отрезков максимального пути к критическому пути Lкр:
Критическим путем сетевого графика является максимальная продолжительность из всех возможных путей сети, которая определяется при расчете ранних сроков сетевого графика и составляет 84 дня. Критический путь проходит по событиям: 0-1-2-3-4-6-8-9-11-12-15-17-18-21-22 и выделен на сетевом графике (Рис. ) красным цветом. Результаты расчетов резервов работ и коэффициентов напряженности приведены в Таблице № 13. Таблица № 13Резервы работ и коэффициенты напряженности
4.1.4 Анализ сетевого графика Рассчитанные параметры сетевого графика (см. Табл.13) позволяют выполнить анализ сети. Прежде всего определение критического пути позволяет установить наиболее напряженные работы исследования. В нашем случае к ним относятся такие работы как: выбор темы исследования, постановка задачи, выбор регулятора напряжения, расчеты силовой части и дросселя, компоновка и моделирование работы регулятора с генератором, защита проекта. Тоесть на критическом пути находятся основные содержательные работы проекта. На срок их выполнения и следует обращать внимание при работе над проектом. Таблица рассчитанных резервов позволяет выявить наиболее свободные, ненапряженные по срокам работы. К ним относятся работы по выполнению раздела безопасности жизнедеятельности и экономической части проекта. Резервы времени достигают 40-45 дней. Значения резервов событий проставлены в событиях сетевого графика в нижнем секторе (см.Рис. ), а кроме того зоны работ имеющие наибольшие резервы выделены на рисунке зеленым цветом. Более наглядное представление о степени напряженности различных путей сети дает градация коэффициентов напряженности работ по трем зонам: избыточной, промежуточной и критической. Эти зоны выделенные цветом на графике (см.Рис. ) дают наглядное представление о характере различных работ. В случае необходимости можно выполнить оптимизацию сетевого графика за счет перераспределения ресурсов с работ имеющих наибольшие резервы на работы критического пути. Учет колебания сроков свершения событий сетевого графика позволяет оценить вероятность наступления завершающего события в директивный срок. Предполагая, что значение длительности критического пути Ткр подчиняется закону нормального распределения, можно рассчитать эту вероятность используя аргумент функции распределения вероятностей (функции Лапласа):
где Тд- директивный срок выполнения проекта, Ткр-длительность критического пути сетевого графика,
Принимая директивный срок, равный 83 дням, получим:
Используя функцию Лапласа /46/, получим Рк(c)=0.36. Для оценки полученного значения Рк имеются вполне определенные границы: Рк>0.65 - на критическом пути имеются избыточные ресурсы, Рк<0.35 - вероятность срыва директивных сроков очень велико, необходимо перепланирование сети, 0.35<Pк<0.65 -наступление директивного срока достаточно вероятно. В нашем случае значение вероятности Рк=0.36 свидетельствует о реальности директивного срока в 83 дня. С другой стороны небольшое различие директивного и критического сроков выполнения проекта косвенно свидетельствует о незначительном колебании сроков работ на критическом пути (т.е. малы значения дисперсии), что говорит о высокой напряженности работ исследования в целом, Так гипотетическое сокращение директивного срока еще на один день уже выводит работы критического пути на уровень Рк<0.35, что может привести к срыву выполнения проекта. 4.2 Расчет сметной стоимости и цены НИР 4.2.1 Расчет трудоёмкости и заработной платы работ сетевого графика Для расчета основной заработной платы исполнителей по всем этапам работ примем следующие должностные оклады:
За базовую ставку возьмем зарплату инженера исследователя. Среднедневная ставка ИС составляет -26 000 руб. Расчеты основной заработной платы по этапам работ выполнены в Таблице№10. Приведенная численность исполнителей работ определяется как сумма произведений числа работающих соответствующей категории с учетом коэффициента приведения. Основная заработная плата по этапам работ определяется произведением базовой среднедневной ставки инженера-исследователя на приведенную численность исполнителей этого этапа работ. Таблица № 14 Оценка трудоемкости и стоимости работ.
Итого: 6505,2 тыс. руб. 4.2.2 Расчет затрат и цены НИР Расчет сметной стоимости НИР выполняется в соответствии с калькуляцией затрат приведенных в Таблице № 15. Рассмотрим постатейное формирование затрат: Стоимость основных и вспомогательных материалов: тыс. руб Канцелярские товары - 30 Бумага писчая 500 листов- 40 ватман 10 листов- 22 Картридж струйного принтера- 250 Пакеты прикладных программ: Word - 150 Exel - 150 MathCAD - 100 Turbo Pascal - 80 Итого: 822 тыс.руб. Спецоборудование: Компьютер - IBM 5C86-133 AMD/16/ 210/IDE PCI-3000 тыс.руб. Принтер HP Desk Jet 400 - 1350 тыс.руб. Основная заработная плата на выполнение исследований рассчитана по сетевому графику, и составляет 6505.200 тысячи рублей. Дополнительная заработная плата предусматривает расходы на оплату отпусков и другие разрешенные законодательством (КЗОТ) оплачиваемые отсутствия на работе. Примем дополнительную заработную плату в размере 10% от основной заработной платы непосредственных исполнителей. 0.1·6505.2=650,52 тыс.руб. Отчисления на социальные нужды предусматривают выплаты в процентах от суммы основной и дополнительной заработной платы -38.5% в том числе: - на социальное страхование 5.4%, - на медицинское страхование 3.6% - в пенсионный фонд 28%, - в фонд занятости 1.5%. В итоге отчисления на социальные нужды по данной теме составят: 0.385·(6505.2+650.52)=2754,952 тыс.руб. Контрагентные работы (выполняемые сторонними организациями) по данной теме не предусмотрены. Командировочные расходы. По данной теме предусматриваются две командировки, одна - в г. Самару(440 тыс.руб), и одна - в г. Москву(660 тыс.руб). Ориентировочные расходы составят 1460 тыс.руб. Прочие расходы связанные с выполнением патентных исследований, перевозок научно-технической литературы, составляют 1500,0 тыс.руб Прибыль для расчета цены научно-технической продукции принимается в размере 1.5 от основной заработной платы по рекомендациям /47/: 1.5·6505.2=9757,8 тыс.руб. Окончательная калькуляция сметы затрат и определение отпускной цены научно-технической продукции приведены в Таблице № 15. При расчете отпускной цены учитываем НДС (20%), для исследований выполняемых государственными учреждениями не учитывается. Структура затрат исследования соответствует сложившейся. Основная заработная плата составляет 36 % от всех затрат, что соответствует распространенному нормативу для прикладных исследований -35 %. Итого отпускная цена исследования составляет 27 миллионов 800 тысяч рублей. Таблица № 15. Смета затрат на НИР.
4.3 Предварительная оценка экономической целесообразности исследования Как уже отмечалось выше расчет конкретной величины экономического эффекта от данного исследования выполнить не представляется возможным. Однако целесообразность этого исследования можно обосновать опираясь на более высокие технические показатели регулятора напряжения, возможность получения экономии в сфере эксплуатации автотракторной техники при улучшении условий работы электропотребителей машины, а также на перспективность работы в данном направлении. Несмотря на довольно высокий уровень технико-эксплуатационных характеристик современных источников электроэнергии автотракторной техники, предлагаемый в исследовании импульсный регулятор напряжения повышает надежность работы генератора, является простым электрическим прибором с высоким КПД до 95%, улучшает выходные характеристики, обладает большим быстродействием переходных процессов и при определенных условиях применения дает меньшие массогабаритные показатели. Так в сравнении с обычным генератором применяемым на выпускаемых автомобилях предлагаемая энергоустановка дает синусоидальное напряжение, обладает более высокой стабильностью напряжения (не хуже ±0.2 В), дает высокую частоту пульсаций тока (20кГц) при любой частоте вращения привода генератора. Отмеченные характеристики при существующих потребителях электроэнергии приведут к возрастанию ресурса их работы и дадут экономию издержек в эксплуатации. Известно, что колебания напряжения в сети свыше ±10 % приводят к сокращению ресурса осветительных приборов (ламп) более чем в 2 раза, кроме того такой дорогостоящий прибор как аккумуляторная батарея также значительно сокращает свой срок службы в условиях нестабильности напряжения в сети машины или трактора. Однако главным аргументом состоятельности данной работы является, на наш взгляд, перспективность использования с данным источником питания современной микропроцессорной техники, позволяющей управлять системами машины более точно, надежно, безопасно, освобождая оператора от трудоемкости работы. Применение электронной системы подачи топлива, автоматическое управление тормозами, фрикционами машины и другие усовершенствования имеющиеся в современных легковых автомобилях находят применение и в более тяжелых транспортных машинах. Использование же современной микропроцессорной техники невозможно на существующих источниках питания. Данная разработка открывает такую возможность. 5. Безопасность жизнедеятельности 5.1 Анализ потенциально опасных и вредных производственных факторов (ОФВП) Оценивая рассматриваемую в проекте генераторную установку с точки зрения ОФВП необходимо отметить, что отсутствие скользящих контактов, простота конструкции и технологии изготовления является предпосылкой более высокой надёжности и безопасности генератора по сравнению с контактными электрическими машинами. Напряжение бортовой сети автотракторного средства и соответственно генераторной установки не превышает 24-28 В, что по ГОСТ 12.1.038.-82 считается безопасным для человека. Сам генератор крепится непосредственно к двигателю и находится в подкапотном пространстве, что исключает несанкционированный доступ в процессе работы. При правильной эксплуатации, соблюдении регламента обслуживания и ремонта автотракторные генераторы являются безопасными и надежными машинами. Опасные воздействия и вредные факторы могут проявится при сочетании неблагоприятных обстоятельств, как правило, связанных с нарушением условий работы и обслуживания.Рассмотрим потенциально возможные опасные и вредные воздействия на человека в процессе эксплуатации, обслуживания и при ремонте автотракторной генераторной установки. При эксплуатации генераторной установки могут возникнуть следующие опасности: — плохое ненадежное крепление подводящих проводов силовой цепи, а также загрязнение и окисление переходных контактов может привести к искрению и, учитывая довольно значительные токи нагрузки, к перегреву и даже оплавлению электроизоляции проводов. В случае одновременной неисправности в системе питания двигателя в виде утечек топлива возможен пожар; — проскальзывание приводного ремня генератора при недостаточном его натяжении может привести к падению мощности и перебоям в работе генератора, которые в свою очередь могут повлиять на работу всего электрооборудования автотранспортных средств (АТС) вплоть до его остановки; — поломка шкива или обрыв приводного ремня генератора влечёт за собой остановку генератора и обесточивание всех энергопотребителей, что особенно опасно в темное время суток, а в случае электронного привода рейки топливного насоса высокого давления двигателя приведёт к остановке двигателя; — неточность и ненадежность механического крепления генератора к двигателю, а также статическая и динамическая разбалансировка электрической машины создают вибрации и как следствие шум. Кроме того, шум могут создавать изношенные и несмазанные подшипники вращающихся частей, поврежденные лопатки вентилятора охлаждения генератора. Шум суммируясь с шумами остальных агрегатов машины вредно воздействует на человека. Хотя на фоне других источников вибраций и шума генераторные установки занимают не первое место. Таким образом при соблюдении правил эксплуатации и обслуживания генераторная установка автотракторной техники является безопасной, а возможные опасности и вредности могут возникнуть лишь при определенном сочетании, случайных факторов, обычно связанных с аварийными ситуациями, с нарушением условий эксплуатации и правил обслуживания. Обслуживание генераторной установки достаточно простое и не требует трудоёмких операций. Смазка подшипников обычно закладывается на весь срок службы генератора до кап.ремонта. Регламентные работы ограничиваются очисткой от пыли и грязи, проверкой крепежа и натяжением приводного ремня генератора. При обслуживании генераторной установки непосредственно на машине предполагается доступ в подкапотное пространство, где следует учитывать такие опасные факторы: — наличие вращающихся частей при работе двигателя и генераторной установки может привести к повреждению рук или попаданию посторонних предметов, что чревато механическими повреждениями, ушибами, микротравмами; — повышенная температура агрегатов двигателя (до 100 ° С и выше), хотя она и не обусловлена непосредственно работой генераторной установки может приводить к ожогам при выполнении регламентных работ по очистке, проверке натяжения ремня и проверке крепежа; — работа с ручным инструментом, ключами, отвертками при неаккуратном обращении с ними может приводить к микротравмам и ушибам кожного покрова. Таким образом при обслуживании генераторной установки непосредственно на машине не имеется специфических опасных факторов и вредностей, поэтому в данном случае достаточно общих правил безопасности характерных для слесарно-монтажных работ. При ремонте генераторной установки связанном со снятием её с машины число опасных факторов возрастает пропорционально возрастанию объёмов работ. Как правило, все ремонтные работы проводятся в стационарных ремонтных мастерских. Следовательно, несоблюдение правил безопасности при организации работ, санитарных и гигиенических требований могут повлечь серьёзные последствия. При проведении ремонтных работ необходимо учитывать следующее: — при пайке электропаяльником возможны поражения электрическим током и ожоги. Также вредное воздействие могут оказать пары олова, свинца, паяльной кислоты и паяльных смол Выделяющихся при пайке; — неправильное обращение с электроинструментом, отсутствие у инструмента заземления, повреждение изоляции проводов приводит к электротравмам человека; — коррозия, неисправности резьбовых соединений, неисправность и загрязнение инструмента, а также работа замасленными руками являются причиной срыва ключей и болтов, нанесением рабочему персоналу травм. Кроме того, причинами травм и переломов могут быть: падение инструментов и приборов, а при снятии и установке генератора закрывание капота или поднятой кабины, не поставленных на прадохранительные упоры, или поломке запорного механизма. — допуск людей не прошедших инструктаж по технике безопасности и не умеющих работать на испытательном и диагностическом оборудовании может привести к поломке оборудования, созданию аварийной ситуации опасной для человека. Кроме того, отсутствие средств механизации и технологии снятия и установки агрегата, выполнение работ вручную приводит к ухудшению качества работы, затратам во времени и средствах. Нужно отметить, что опасные факторы учитываемые при ремонте включают в себя и те факторы, которые были рассмотрены при техобслуживании и эксплуатации генераторной установки, а также: безопасность на рабочем месте, безопасность помещений, инструмента и т.п . Ремонт генераторной установки содержит комплекс различных опасных производственных факторов, от общих, относящихся ко всем ремонтным предприятиям до чисто специфических, по работе диагностического оборудования и т.д, связанных с физической природой самих бесконтактных электрических машин. В основном, большинство факторов связано со стандартными, возникающими на рабочем месте в ремонтной мастерской. 5.2 Меры безопасности и устранение воздействия ОФВП Соблюдение правил эксплуатации является залогом безопасной и безотказной работы агрегатов и безопасности человека, но воздействие рассмотренных выше неблагоприятных факторов может вызвать аварийные ситуации опасные и вредные для человека. Поэтому при обеспечении безопасности и безвредности генераторной установки необходимо соблюдать ряд мер: — особое внимание при эксплуатации надо уделять хорошему креплению проводов силовых цепей; — периодически проверять крепление генератора и подсоединительных проводов, состояние клемм, очищая их по мере необходимости от окислов, отключив предварительно аккумуляторную батарею; — из-за искрения контактов и возможного оплавления изоляции проводов может возникнуть пожароопасная ситуация, поэтому необходимо чтобы трактор был укомплектован огнетушителем. Чаще всего используют серийно выпускаемые огнетушители типа ОПУ-2-03 , для устранения очага горения; — внимательно следить за показаниями контрольно-измерительных приборов (амперметра, вольтметра, контрольных ламп), которые могут сигнализировать о проскальзывании ремня привода генератора или неисправности регулятора напряжения, и при необходимости отрегулировать натяжение ремня или заменить регулятор; — перед выездом и при возвращении на место стоянки или гараж обязательно производить контрольный осмотр машины; Кроме того: для обеспечения нормальной работы генератора необходимо содержать его в чистоте, но не допускается мыть генератор дизельным топливом, бензином, струёй воды под давлением. — на автотракторном средстве должен быть набор медикаментов для оказания первой медицинской помощи. Набор помещается в специальный футляр, находящийся в кабине; — для защиты органа слуха при работе на тракторе следует пользоваться противошумными вкладышами марки "Беруши" или другими, соответствующими требованиям ГОСТ 12.4.051-87. При техническом обслуживании особое внимание нужно уделять тому чтобы: — обслуживание проводилось регулярно через определенные промежутки времени; — работы по регулировке натяжения ремня должна проводится при остановленном двигателе; — при проверке величины напряжения генератора вольтметром, пустить двигатель, установить частоту вращения коленчатого вала близкую к номинальной. Не допускается менять полярность при подключении аккумуляторных батарей, и даже кратковременное замыкание выводов генераторной установки на "массу"; — нельзя использовать для промывки деталей этилированный бензин. Работать грязными руками, неисправным замасленным инструментом. Ремонт генератора предполагается в авторемонтной мастерской, в электротехническом отделении. Общая система мероприятий по безопасности труда при ремонте должна соответствовать ГОСТ 12.3.017-79 "Ремонт и техническое обслуживание автомобилей", ГОСТ 12.2.003-74 "Оборудование производственное", ГОСТ 12.3.002-75 "Процессы производственные", а также СН 1024-73 "Санитарным правилам организации технологических процессов и гигиеническим требованиям к производственному оборудованию". Слесарь по ремонту должен: — строго выполнять правила и требования безопасности труда, правильно применять средства защиты при выполнении отдельных операций; — владеть безопасными приемами выполнения основных слесарных операций, рационально подбирать необходимый инструмент и соответствующие приспособления; При ремонте необходимо соблюдать следующее: — столы для пайки должны быть снабжены вытяжными вентиляционными установками, помимо вытяжной вентиляции в таком помещении необходимо предусматривать естественную вытяжку из верхней зоны площадью 0.12-0.15 — при использовании переносных электроинструментов напряжением 110-220В в помещениях (независимо от их категории) необходимо предусматривать защитный пускатель, обеспечивающий дистанционное управление и мгновенное отключение от сети электроинструментов в случае замыкания на корпус; — инструменты всегда должны быть чистыми. Во избежание травм не следует выполнять рукоятки инструментов из мягких пород древесины(сосны,ели,пихты и др.); — гаечные ключи должны быть исправными и строго соответствовать размеру гаек и головок болтов, обеспечивать удобство пользования ими и обладать высокой прочностью и износоустойчивостью. Кроме того нужно учитывать требования по: — организации рабочих мест; — безопасности после окончания работ; — средством индивидуальной защиты. В целом, при ремонте не существует четко определенных особенностей связанных с генераторной установкой. Поэтому необходимы общие требования безопасности для авторемонтных мастерских. 5.3 Пожаробезопасность Помещения электромеханических мастерских весьма опасны в пожарном отношении, так как находятся вблизи других участков авторемонтных работ. Источниками пожаров могут стать короткие замыкания, перегрузки, искрения, разлитое масло и топливо, пары бензина и нефтепродуктов. Поэтому для отделки помещения необходимо использовать огнестойкие материалы: кирпич, стекло, металл с высоким пределом огнестойкости. Предусмотреть пути эвакуации людей и имущества. Устанавливать тепловые и комбинированные датчики реагирующие на тепло и дым в радиусе до 5 м. По ГОСТ 12.4.009-75 необходимо наличие на рабочем месте средств пожаротушения (огнетушители ОУ-5, ОХП-10, ОВП-10 и др.,противопожарный инвентарь, песок , другие виды грунта). 5.4 Эргономика и производственная эстетика Подгруппа эргономики (ГОСТ 16035-81) характеризует систему человек-машина и содержит: — требования к конструкции, обеспечивающие соответствие размеров конструкции размерам частей тела и рабочей позе оператора при работе, обслуживании и ремонте генератора. Взаимное расположение элементов должно способствовать оптимальному режиму труда и отдыха, снижению утомляемости оператора, предупреждению появления ошибочных действий. Производственное помещение должно соответствовать требованиям технической эстетики. Правильная окраска помещения не только способствует снижению психофизиологических нагрузок, но и улучшает условия зрительных работ. Следует иметь в виду, что зеленые, голубовато-зеленые, салатные и желтые цвета благоприятно влияют на зрение и психофизиологические функции человека, способствуют повышению производительности труда, снижают утомление. Заключение В данном дипломном проекте была сделана попытка предложить альтернативный источник энергии, состоящий из генератора с постоянными магнитами и импульсного стабилизатора напряжения. Предлагаемая энергоустановка дает синусоидальное напряжение, обладает более высокой стабильностью напряжения (не хуже ±0.2 В), дает высокую частоту пульсаций тока (20кГц) при любой частоте вращения привода генератора. Главным аргументом состоятельности данной работы является, перспективность использования с данным источником питания современной микропроцессорной техники, позволяющей управлять системами машины более точно, надежно, безопасно, освобождая оператора от трудоемкости работы. Применение электронной системы подачи топлива, автоматическое управление тормозами , фрикционами машины и другие усовершенствования имеющиеся в современных легковых автомобилях находят применение и в более тяжелых транспортных машинах. Использование же современной микропроцессорной техники затруднено на существующих источниках питания. Данная разработка открывает такую возможность. Список сокращений АМ - асинхронная машина, АТ - автотракторный, БСМ - бесконтактная синхронная машина, БЭМ - бесконтактная электрическая машина, ВВ - вращающийся выпрямитель, ГУ - генераторная установка, ИС - интегральная схема, ИНР - интегральный регулятор напряжения, ИМ - индукторная машина, МС - микросхема, НИР - научно-исследовательская работа, ПМ - постоянный магнит, РЗМ - редкоземельные материалы, ТЭО - технико-экономические показатели, ФУ - функциональный узел, ЭРЭ - элемент радиоэлектронный. Приложение Текст программы моделирования Uses Graph,Crt; {-----Программма SHIM-OC.PAS-----} Const numur = 1; tochperiod:integer=100; maxtoch=1; graphtoch:integer=1; Linestyle=0; Pattern=0; Thickness=1; Type perem=array[1..numur] of real; grmas=array[0..640] of real; CharactMas=array[1..maxtoch] of real; var GMaxX,GMaxY,ZP:integer; r,L,tpil,kpil,U,Upil,Uupr,Uoc,Uzad:real; { <-- Начальныепеременнные} Uvx,Kyc,q:integer; { <-- длярасчета. } t,h,K,L1,per:real; m1,t1,i,K1,n,gr,gr1,numtoch,Tn:integer; y,d,p,s:perem; Text,st:string; y1g,tg,Ug,Uzadg,Upilg,Uuprg:grmas; c,ch:char; mode:integer; Procedure SetGraphWindow(x1,y1,x2,y2,ZeroPos:real); begin GMaxX:=round(abs(x2-x1)* GetMaxX); GMaxY:=round(abs(y2-y1)* GetMaxY); ZP:=round(GMaxY*ZeroPos); SetViewPort(round(x1*GetMaxX),round(y1*GetMaxY), round(x2*GetMaxX),round(y2*GetMaxY),ClipOn); end; procedure ReDraw; begin ClearViewPort; SetColor(GetMaxColor); SetBkColor(Black); Line(0,0,0,GMaxY); Line(0,ZP,GMaxX,ZP); Line(0,0,3,7); Line(GMaxX,ZP,GMaxX-6,ZP-3); Line(GMaxX,ZP,GMaxX-6,ZP+3); OutTextXY(627,67,'t'); end; procedure Start; var gd,gm:integer; begin gd:=Detect; InitGraph(gd,gm,''); end; procedure DrawGraf(var y:grmas; MaxY:real; MX,color:integer); var i:integer; bg:real; begin if ZP>=(GMaxY div 2) then bg:=MaxY/ZP else bg:=MaxY/(GMaxY-ZP); SetColor(Color); MoveTo(1*MX,ZP-round(y[0]/bg)); for i:=1 to numtoch div (graphtoch+1) do LineTo(i*MX,ZP-round(y[i]/bg)); end; procedure DrawPeriod(var y:grmas; MaxY:real; MX,color:integer); var i,j:integer; bg:real; begin if ZP>=(GMaxY div 2) then bg:=MaxY/ZP else bg:=MaxY/(GMaxY-ZP); SetColor(Color); MoveTo(0*MX,ZP-round(y[0]/bg)); j:=1; for i:=1 to numtoch div (graphtoch+1) do if j > (tochperiod div (graphtoch+1)) then begin MoveTo(0*MX,ZP-round(y[i]/bg)); j:=1; end else begin LineTo(j*MX,ZP-round(y[i]/bg)); j:=j+1; end; end; procedure OutPer(Per:real;XX,YY:integer;st1:string); var st:string; Per1:Longint; begin Per1:=Round(Per); str(Per1,st); OutTextXY(XX,YY,St); OutTextXY(XX-40,YY,St1); end; procedure runge(i,n:integer;h:real;var t:real;var p,s,d,y:perem); var j:integer; begin case i of 1 : begin for j:=1 to n do begin s[j]:=y[j]; p[j]:=d[j]; y[j]:=s[j]+0.5*h*d[j]; end; t:=t+0.5*h; end; 2 : begin for j:=1 to n do begin p[j]:=p[j]+2.0*d[j]; y[j]:=s[j]+0.5*h*d[j]; end; end; 3 : begin for j:=1 to n do begin p[j]:=p[j]+2.0*d[j]; y[j]:=s[j]+h*d[j]; end; t:=t+0.5*h; end; 4 : for j:=1 to n do y[j]:=s[j]+(p[j]+d[j])*h/6.0; end; {case} end; function Uimp(t1,tpil,kpil,Uupr:real;Uvx,tochperiod:integer):integer; begin tpil:=(t1-(tochperiod*trunc(t1/tochperiod))); Upil:=kpil*tpil; if Uupr>Upil then Uimp:=Uvx else Uimp:=0; end; {-------------------Телопрограммы--------------------------} begin Repeat K:=0; K1:=1; Writeln('Ввод q ?'); Readln(q); Writeln('Ввод Uzad ?'); Readln(Uzad); Writeln('Ввод Uvx ?'); Readln(Uvx); Writeln('Ввод Kyc ?'); Readln(Kyc); Writeln('Ввод количества периодов Tn ?'); Readln(Tn); Repeat per:=0.00005;t:=0;y[1]:=0;numtoch:=Tn*100;r:=1; {---Ввод изменяемых начальных параметров ШИМ-II---} Upil:=0;Uupr:=0;Uoc:=0;kpil:=q/tochperiod;L1:=0.0002; repeat tg[0]:=t; y1g[0]:=y[1]; Ug[0]:=U; Upilg[0]:=Upil; Uuprg[0]:=Uupr; Uzadg[0]:=Uzad; h:=per/tochperiod; graphtoch:=numtoch div 640; gr:=1; gr1:=graphtoch; TextMode(co80); for t1:=1 to numtoch do begin U:=Uimp(t1,tpil,kpil,Uupr,Uvx,tochperiod); for i:=1 to 4 do begin d[1]:=(U-(y[1]*r))/L1; runge(i,numur,h,t,p,s,d,y); end; Uoc:=(y[1]*r); Uupr:=(Uzad-Uoc)*Kyc; if gr1>0 then gr1:=gr1-1 else begin tg[gr]:=t; y1g[gr]:=y[1]; Ug[gr]:=U; Uzadg[gr]:=Uzad; Upilg[gr]:=Upil; Uuprg[gr]:=Uupr; gr1:=graphtoch; gr:=gr+1; end; writeln(t:4:3); end; {----- Постpоение гpафиков ----} start; SetGraphWindow(0,0,1,1/3,0.5); ReDraw; DrawGraf(Ug,110,1,White); OutPer(Tn,530,90,'N='); OutPer(Uvx,530,110,'Uвх='); OutPer(Kyc,530,130,'Kyc='); OutTextXY(5,1,'Uиэ'); SetGraphWindow(0,1/3,1,2/3,0.5); ReDraw; DrawGraf(y1g,50,1,White); OutTextXY(5,1,'Iвых'); SetGraphWindow(0,2/3,1,1,0.5); ReDraw; DrawGraf(Uuprg,35,1,White); DrawGraf(Upilg,35,1,LightGray); DrawGraf(Uzadg,35,1,White); OutTextXY(5,1,'Uпил,Uзад,Uупр'); repeat c:=readkey; case c of ' ':ReDraw; 't','T': begin mode:=GetGraphMode; RestoreCRTmode; Repeat Writeln('Step ?'); Readln(m1); Until m1>0; t1:=0; n:=0; repeat if (t1 mod m1)=0 then begin writeln('t=',tg[t1]:7:5,' Iвых=',y1g[t1]:7:5,' Uвх=',Ug[t1]:7:5,' Uzad=',Uzadg[t1]:7:5,' Uuprg=',Uuprg[t1]:7:5,' r=',r:7:5); n:=n+1; if (n mod 24)=0 then begin readln; n:=0; end; end; t1:=t1+1; until t1=numtoch div (graphtoch+1); ReadLn; SetGraphMode(mode); SetGraphWindow(0,0,1,1/3,0.5); ReDraw; DrawGraf(Ug,35,1,LightGreen); SetGraphWindow(0,1/3,1,2/3,0.5); ReDraw; DrawGraf(y1g,30,1,LightRed); SetGraphWindow(0,2/3,1,1,0.5); ReDraw; DrawGraf(Uuprg,35,1,White); DrawGraf(Upilg,35,1,LightGray); DrawGraf(Uzadg,35,1,White); end; end; Until (c=#13)or(c='='); CloseGraph; Until (c=#13); K1:=K1+1; Until K1=maxtoch+1; CloseGraph; ch:=readkey; Writeln('Выход ?- "Y" '); Readln(ch); Until (ch='Y')or(ch='y'); end. |
|||||||||||||||||||||||||||||||||||||||||||||||||||||||||||||||||||||||||||||||||||||||||||||||||||||||||||||||||||||||||||||||||||||||||||||||||||||||||||||||||||||||||||||||||||||||||||||||||||||||||||||||||||||||||||||||||||||||||||||||||||||||||||||||||||||||||||||||||||||||||||||||||||||||||||||||||||||||||||||||||||||||||||||||||||||||||||||||||||||||||||||||||||||||||||||||||||||||||||||||||||||||||||||||||||||||||||||||||||||||||||||||||||||||||||||||||||||||||||||||||||||||||||||||||||||||||||||||||||||||||||||||||||||||||||||||||||||||||||||||||||||||||||||||||||||||||||||||||||||||||||||||||||||||||||||||||||||||||||||||||||||||||||||||||||||||||||||||||||||||||||||||||||||||||||||||||||||||||||||||||||||||||||||||||||||||||||||||||||||||||||||||||||||||||||||||||||||||||||||||||||||||||||||||||||||||||||||||||||||||||||||||||||||||||||||||||||||||||||||||||||||||||||||||||||||||||||||||||||||||||||||||||||||||||||||||||||||||||||||||||||||||||||||||||||||||||||||||||||||||






,где nmax и nmin частоты вращения двигателя.
-транзистор открыт,
.

, где fп - частота переключения ключа.








;
; (8)
, (11)
,
, где


.
,
- сумма дисперсий длительностей работ на критическом пути.