Курсовая работа: Разработка автоматической линии для обработки детали типа Вал-червяк
|
Название: Разработка автоматической линии для обработки детали типа Вал-червяк Раздел: Промышленность, производство Тип: курсовая работа | |||||||||||||||||||||||||||||||||||||||||||||||||||||||||||||||||||||||||||||||||||||||||||||||||||||||||||||||||||||||||||||||||||||||||||||||||||||||||||||||||||||||||||||||||||||||||||||||||||||||||||||||||||||||||||||||||||||||||||||||||||||||||||||||||||||||||||||||||||||||||||||||||||||||||||||||||||||||||||||||||||||||||||||||||||||||||||||||||||||||||||||||||||||||||||||||||||||||||||||||||||||||||||||||||||||||||||||||||||||||||||||||||||||||||||||||||||||||||||||||||||||||||||||||||||||||||||||||||||||||||||||||||||||||||||||||||||||||||||||||||||||||||||||||||||||||||||||||||||||||||||||||||||||||||||||||||||||||||||||||||||||||||||||||||||||||||||||||||||||||||||||||||||||||||||||||||||||||||||||||||||||||||||||||||||||||||||||||||||||||||||||||||||||||||||||||||||||||||||||||||||||||||||||||||||||||||||||||||||||||||||||||||||||||||||||||||||||||||||||||||||||||||||||||||||||||||||||||||||||||||||||||||||||||||||||||||||||||||||||||||||||||||||||||||||||||||||||||||||||||
| МИНИСТЕРСТВО ОБРАЗОВАНИЯ И НАУКИ УКРАИНЫ ДОНЕЦКИЙ НАЦИОНАЛЬНЫЙ ТЕХНИЧЕСКИЙ УНИВЕРСИТЕТ Механический факультет Кафедра МС КУРСОВОЙ ПРОЕКТ по дисциплине “Теория проектирования автоматизированных станочных комплексов” на тему: Разработка автоматической линии для обработки детали типа «Вал-червяк» ПК 08.6.090203.50.00.000 ПЗ Выполнил ст. гр. МС-04н А.И. Горобец Принял Л.П. Калафатова Нормоконтроль В.В. Гусев Донецк 2008 РЕФЕРАТ Работа содержит: страниц 47, таблиц 10 , источников 5, рисунков 8, приложений 12. Объект проектирования: автоматическая линия для изготовления детали типа вал-червяк. Цель работы: закрепить знания, полученные при изучении курса «Теория проектирования автоматизированных станочных комплексов», приобрести навыки проектирования автоматических линий. ПЕРЕХОД, ПОЗИЦИЯ, ПОТЕРИ ВНЕЦИКЛОВЫЕ, СТАНКИ ДУБЛЕРЫ, АВТОМАТИЧЕСКАЯ ЛИНИЯ, ЦИКЛОГРАММА РАБОТЫ, АГРЕГАТНЫЙ СТАНОК, СИЛОВАЯ ГОЛОВКА, ФРЕЗЕРНАЯ НАСАДКА, РЕЖУЩИЙ ИНСТРУМЕНТ. Задание Разработать компоновочную схему автоматической линии для изготовления детали типа вал. Рассчитать экономические показатели выбранной линии. Спроектировать агрегатный станок для фрезерования шпоночного паза. Исходными данными к курсовому проекту является заданная производительность изготовления детали в условиях автоматизированного производства равная 365шт./смену и чертеж детали представленный в приложении А. Содержание Введение 1 Анализ технологичности конструкции детали 2 Технологический процесс изготовления детали для неавтоматезированого производства 3 Расчет технологической производительности процесса 4 Анализ базового операционного процесса по критерию обеспечения заданной сменной производительности 5 Уточненный расчет производительности автоматической линии 6 Выбор транспортно-загрузочной системы 7 Расчет затрат для выбранных вариантов автоматических линий 8 Описание работы спроектированной АЛ 9 Описание конструкции и работы станка 10 Определение режимов обработки 11 Определение усилий и мощности резания 12 Кинематический расчет фрезерной насадки 13 Расчет прогиба шпинделя 14 Расчет жесткости опор качения 15 Расчет жесткости шпинделя 16 Динамический расчет шпиндельного узла ЗАКЛЮЧЕНИЕ СПИСОК ЛИТЕРАТУРЫ Приложение А Чертеж детали Приложение Б Карты наладок Приложение В Чертеж автоматической линии Приложение Г Циклограмма работы автоматической линии Приложение Д Чертеж агрегатного станка Приложение Е Чертеж фрезерной насадки ВВЕДЕНИЕ Автоматизация производственных процессов всегда являлась одним из важнейших направлений развития НТП. В развитых странах в настоящее время автоматизация занимает ведущее место в развитии промышленности, причем наблюдается тенденция к все растущей её глобальности. Несмотря на капитальные затраты, связанные с автоматизацией, она позволяет освободить гораздо больше средств за счет повышения производительности и экономии живого труда. Автоматизация дает толчок в развитии важнейших отраслей промышленности, позволяет снизить себестоимость их продукции. Курс «Теория проектирования автоматизированных станочных комплексов» является основой для изучения процесса проектирования автоматических линий. Его изучение является важным этапом подготовки инженеров-механиков. 1 Анализ технологичности конструкции детали Деталь (рис. 2.1) является валом-червяком с хвостовиком для соединения с двигателем посредством муфты, с шейками, которые являются посадочными поверхностями для подшипников и с шейкой под уплотнительное маслоудерживающее кольцо. Это накладывает высокие требования к параметрам качества поверхностей цапф: шероховатость цапф под подшипники достигает величины Ra 0,63; под маслоудерживающее кольцо - Ra 0,32 мкм, отклонения формы поверхностей под подшипники контролируются в двух плоскостях: радиальное биение цапф, которое не должно превышать 20 мкм и торцевое биение цапф – до 16 мкм. Центрирование вала и ступицы муфты осуществляется скользящей посадкой, крутящий момент передается с помощью шпоночного соединения. Это накладывает дополнительные требования к этой поверхности (шероховатость Ra 1,6 мкм), которая выполнена по 6 квалитету; радиальное биение хвостовика не должно превышать 20 мкм. Так как обработка цапф предусматривает шлифование и полирование, на валу предусмотрены канавки для выхода шлифовального круга, выполненные по наружнему цилиндру и торцу ГОСТ 8820-69 исп.4. Поскольку для конструкторской базы принята ось детали (прил. А), то для механической обработки детали целесообразно использовать технологические центровые отверстия В4 ГОСТ 14034-74, которые будут являться технологической и измерительной базами. На валу выполнен паз, который производится врезанием концевой фрезы и продольным фрезерованием, что нетехнологично. Технологичным является выполнение сегментного шпоночного паза дисковыми фрезами, но в этом случае уменьшается сечение вала, что снижает его долговечность, поэтому выполнение данного шпоночного паза необходимо с такой конфигурацией, которая показана на чертеже. Для установки подшипников, ступицы муфты, предусмотрены заходные фаски 2,5х450 . Для исключения травматизма острые кромки притуплены фасками 1х450 . В качестве материала из которого изготовлен вал принята конструкционная сталь 45 ГОСТ 1050-88 c содержанием углерода 0,45%. Для повышения износостойкости вала в качестве термообработки принята закалка зубьев на установке ТВЧ. Для контроля допуска на погрешность направления зубьев вала допускается заменить его проверкой пятна контакта с сопряженным колесом. При чем пятно контакта по высоте - не менее 40%. Определим жесткость детали используя отношение длины к приведенному диаметру.
Вал является жестким, так как отношение длины к диаметру Таким образом, конструкция детали является технологичной. 2 Технологический процесс изготовления детали для неавтоматизированного производства
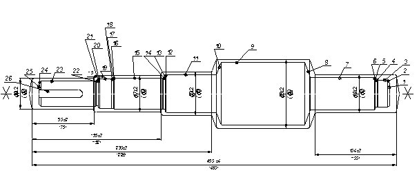
Рисунок 2.1- Изготавливаемая деталь На рисунке 2.1 указаны позиции обрабатываемых поверхностей. Далее приведем технологический процесс обработки детали в условиях неавтоматизированного производства. 005 Заготовительная 010Термическая (улучшение) 020 Фрезерно-центровальная А. Установить и снять заготовку 1. Фрезеровать торцы поверхность 1, 25 2. Сверлить центровочные отверстия 030 Токарно-винторезная А. Установить и снять заготовку 1. Точить поверхность 7 начерно 2. Точить поверхность 3 начерно 3. Точить поверхность 9 начерно Б. Переустановить заготовку 4. Точить поверхность 23 начерно 5. Точить поверхность 15 начерно 6. Точить поверхность 19 начерно 7. Точить поверхность 11 начерно 040 Токарно-винторезная А. Установить и снять заготовку 1. Точить поверхность 3 и торец поверхность 5 начисто 2. Точить фаску поверхность 2 3. Точить фаску поверхность 6 4. Точить канавку поверхность 4 Б. Переустановить заготовку 5. Точить поверхность 23 и торец поверхность 21 начисто 6. Точить поверхность 19 и торец поверхность 17 начисто 7. Точить поверхность 15 и торец поверхность 13 начисто 8. Точить фаску поверхность 24 9. Точить фаску поверхность 16 10. Точить фаску поверхность 12 11. Точить фаску поверхность 20 12. Точить канавку поверхность 22 13. Точить канавку поверхность 18 14. Точить канавку поверхность 14 050 Вертикально-фрезерная А. Установить и снять заготовку 1. Фрезеровать шпоночный паз поверхность 26 060 Универсально-фрезерная А. Установить и снять заготовку 1. Фрезеровать зубья предварительно 2. Фрезеровать зубья начисто 070 Термическая (ТВЧ) 080 Круглошлифовальная А. Установить и снять заготовку 1.Шлифовать поверхность 3 предварительно Б. Переустановить заготовку 2. Шлифовать поверхность 23 предварительно 3. Шлифовать поверхность 19 предварительно 4. Шлифовать поверхность 15 предварительно 090 Круглошлифовальная А. Установить и снять заготовку 1.Шлифовать поверхность 3 окончательно Б. Переустановить заготовку 2. Шлифовать поверхность 23 окончательно 3. Шлифовать поверхность 19 окончательно 4. Шлифовать поверхность 15 окончательно 100 Червячно-шлифовальная А. Установить и снять заготовку 1.Шлифовать зубья 110 Контрольная На основании базового техпроцесса обработки произведем расчет машинного времени обработки каждой конкретной поверхности и результат занесем в таблицу 2.1. Таблица 2.1-Расчет машинного времени выполнения операций
3 Расчет технологической производительности процесса Простейшим вариантом построения технологического процесса неавтоматизированного производства при принятых методах, технологическом маршруте и режимах обработки является полная обработка детали в одной позиции при последовательном выполнении всех составных операций. Критерием оценки технологического процесса является технологическая производительность
где Определение перечня холостых операций, которые необходимые для реализации рабочих операций технологического процесса. Холостые операции содержат действия, которые связанные с ориентацией заготовки в пространстве, подачу заготовки к рабочей зоне, закрепления ее на рабочей позиции, фиксацию устройства или спутника на рабочей позиции оформляются в виде таблицы 3.1. В данной работе предлагается разработка автоматической линии для осуществления той части техпроцесса, которая связана со сверлильной и фрезерной обработкой поверхностей и отверстий. Таким образом, проектируемая линия должна обеспечивать указанную в задании производительность. Для этого произведем анализ возможных структур линии и выберем наиболее рациональную из них. Таблица 3.1– Перечень холостых операций
4 Анализ базового операционного процесса по критерию обеспечения заданной сменной производительности Определим ожидаемую производительность системы технологического оборудования за смену для неавтоматизированного производства:
где По условию требуемая серийная производительность:
В связи с этим необходимо синтезировать вариант АЛ, которая позволила бы обеспечить заданную производительность. Для чего произведем дифференциацию технологического процесса обработки детали. Структура линии, состоящей из фрезерно-центровального полуавтомата токарных копировальных станков (q=6), представлена на (рис. 4.1).
Для этой линии лимитирующим является время
Данное количество изделий не удовлетворяет требуемой производительности. Для увеличения производительности продифференцируем лимитирующую операцию, разбив ее на две части (q=7) (рис. 4.2):
Для этой линии лимитирующим является время
Данное количество изделий не удовлетворяет требуемой производительности. Для увеличения производительности продифференцируем технологический процесс далее. Результаты дифференциации сведем в таблицу 4.1. Таблица 4.1 - Результаты дифференциации ТП
Таким образом, требуемой производительности АЛ можно достичь продифференцировав ТП с использованием 8 станков:
Проанализируем обработку данного изделия с использованием станков-дублеров (рис. 4.3).
Для данного варианта АЛ лимитирующей операцией является токарно-винторезная со временем
Этот вариант также обеспечивает требуемую производительность. Для уменьшения количества станков, необходимых для данной производительности обработки, рассмотрим вариант применения одновременной многорезцовой обработки (рис. 4.4).
Как видно, применение многорезцовой обработки позволяет сократить количество необходимого оборудования. Проведем более точный анализ двух последних вариантов АЛ и определим, какой из них является более экономически целесообразным. 5 Уточненный расчет производительности автоматической линии Уточненный расчет полной производительности автоматической линии с жесткими межагрегатными связями проводится по формуле:
где
где
Потери по инструменту вычисляются по формуле:
Сведем данные по всем инструментам в таблицу 5.1. Таблица 5.1 - Расчет времени потерь по инструменту для АЛ со станками-дублерами.
Таблица 5.2 - Расчет времени потерь по инструменту для АЛ с использованием многорезцовой обработки.
Расчет внецикловых потерь по оборудованию проводится по формуле:
где Рассмотрим вариант компоновки данной линии с применением станков-дублеров и многорезцовой обработки. Данные по потерям времени по оборудования сводим в таблицы 5.3 и 5.4. Таблица 5.3 - Уточненные потери по оборудованию вариант для АЛ со станками-дублерами
Тогда производительность такой линии с учетом потерь по инструменту и оборудованию будет составлять:
Таблица 5.4 - Уточненные потери по оборудованию вариант для АЛ с применением многорезцовой обработки
Тогда производительность такой линии с учетом потерь по инструменту и оборудованию будет составлять:
Как видно по расчетам, производительности обоих линий удовлетворяют требуемой производительности. Дальнейшее увеличение числа оборудования для повышения производительности будет экономически нецелесообразным. 6 Выбор транспортно-загрузочной системы Транспортные системы являются одним из основных элементов автоматизированного производства в любой отрасли промышленности. Кроме основных функций — перемещения изделий и материалов, транспортные системы могут изменять ориентацию, производить накопление и адресование изделий, осуществлять обработку изделий и материалов в процессе перемещения. Наиболее полно возможности транспортных систем реализованы в автоматических линиях, нашедших широкое применение в массовом производстве. В автоматических линиях полностью решены вопросы загрузки и выгрузки, передачи изделий с одного участка на другой. В этих линиях обычно применяются специальные или специализированные транспортеры, предназначенные для перемещения одного или нескольких видов изделий. Необходимость частой переналадки технологического оборудования на другой тип изделий, характерна для большинства современных быстросменных и многономенклатурных производств, сопряжена с большими материальными и временными затратами, исключающими применение традиционных автоматических линий В качестве транспортно – загрузочной системы в данной линии можно использовать роботы-манипуляторы. 7 Расчет затрат для выбранных вариантов автоматических линий Ранее варианты АЛ рассматривались с точки зрения обеспечиваемой ими производительности и оба из них обеспечивают требуемую производительность. Для окончательного выбора компоновки АЛ определим стоимость каждой из них. Для расчета стоимости того или иного варианта автоматической линии необходимо предварительно определить состав оборудования, которое будет входить в данную линию. В обеих компоновках будут использоваться транспортеры деталей, стружки, поворотные столы. В АЛ со станками с ЧПУ загрузка и выгрузка деталей будет осуществляться с помощью портальных роботов, в то время как в АЛ с копировальными станками этот процесс будет осуществляться манипуляторами. Приведенные затраты автоматической линии находятся по формуле:
где
Основное оборудование АЛ со станками-дублерами состоит из: · Фрезерно – центровальный станок - 1шт ×3000у.е.=3000 у.е. · Токарный многорезцовый копировальный полуавтомат- 8шт 8×5000у.е.=40000 у.е. · Агрегатный станок – 1шт.×3000у.е.=3000у.е. Общая стоимость основного оборудования составляет: 46000у.е. Вспомогательное оборудование для данной схемы: · Манипулятор 7шт.×3000у.е.=21000 у.е. · Транспортер стружки 8шт. ×320у.е.=2560 у.е. · Транспортер роликовый, шаговый 1000у.е. Общая стоимость вспомогательного оборудования составляет 24560у.е Приведенные потери составляют для данного варианта:
Аналогично рассчитываем стоимость основного оборудования для варианта компоновки АЛ со станками-дублерами: · Фрезерно – центровальный станок - 1шт ×3000у.е.=3000 у.е. · Токарный многорезцовый копировальный полуавтомат- 7шт.×5000у.е.=35000 у.е. · Агрегатный станок – 1шт.×3000у.е.=3000у.е. Общая стоимость основного оборудования составляет: 41000у.е. Вспомогательное оборудование для данной схемы: · Манипулятор 7шт.×3000у.е.=21000 у.е. · Транспортер стружки шт.×320у.е.=2240 у.е. · Транспортер роликовый, шаговый 1000 у.е. Стоимость вспомогательного оборудования для данного варианта составляет 24240 у.е. Как видно из расчетов второй вариант является экономически более целесообразным. Приведенные потери составляют для него:
Из экономического сравнения двух вариантов видим, что вариант АЛ с применением многорезцовой обработки оказался более выгодным. Все расчеты заносим в таблицу 7.1. Таблица 7.1 – Стоимость основного и вспомогательного оборудования
Таблица 7.2 – Структура техпроцесса в автоматизированном производстве при совмещении операций
8 Описание работы спроектированной АЛ В состав АЛ последовательного агрегатирования (прил. В) входит следующее оборудование: · Фрезерно-центровальный станок мод. МР71М (поз. 1) 1шт. · Токарный многорезцовый полуавтомат мод. 1Н713 (поз. 2) 2 шт. · Токарный копировальный полуавтомат мод. 1716Ц (поз. 3) 3 шт. · Агрегатный станок (поз. 4) 1шт. · Манипулятор мод. (поз. 4) 7 шт. · Конвейер пластинчатый (поз. 5) 1шт. На первом фрезерно-центровальном станке производится фрезерование торцев детали и сверление центровых отверстий с помошью фрезерной и сверлильной бабок. Заготовка устанавливается на станке с помощью станочных призм. На втором и третьем токарном многорезцовом полуавтомате производится черновое точение цилиндрических поверхностей с помощью продольного суппорта и многорезцовых наладок. На четвертом, пятом и шестом токарных копировальных полуавтоматах производится точение цилиндрических поверхностей, фасок и канавок с помощью копировальных и поперечных суппортов. На всех токарных станках заготовка устанавливается в переднем зубчатом центре и поджимается задней бабкой с установленным в ней вращающимся центром. На агрегатном станке производится фрезерование шпоночного паза концевой фрезой, установленной во фрезерной насадке, заготовка, установленная на самодействующем столе, совершает движение подачи. Однорукие манипуляторы используются в качестве загрузочных устройств. Транспортирующим устройством в данной АЛ является пластинчатый конвейер с установленными на нем призмами для ориентирования заготовки. Работа элементов АЛ происходит следующим образом (см. циклограмму работы АЛ – прил. Г): цикл начинается с подвода руки манипулятора к конвейеру, далее происходит зажим заготовки кистью и отвод манипулятора, его поворот к станку, одновременно с поворотом заготовки на 1800 при необходимости, и подвод руки. При попадании ориентированной заготовки в зажимное приспособление происходит зажим ее на станке после чего манипулятор разжимает кисть и отводит руку от станка, одновременно с отводом руки включается быстрый подвод заготовки вместе со столом или соответствующих суппортов в рабочую зону далее включается рабочий ход затем быстрый отвод. Одновременно с быстрым отводом включается подвод отведенной руки манипулятора к станку, зажим заготовки манипулятором и разжим зажимного приспособления. Обработанная заготовка отводится вместе с рукой манипулятора от станка, манипулятор поворачивается к конвейеру, подводит руку и устанавливает деталь в призмах на конвейере, разжимает кисть и, одновременно с перемещением конвейера, отводит руку от него. На этом цикл работы АЛ заканчивается. 9 Описание конструкции и работы станка Агрегатные станки представляют собой специальные станки, созданные на базе стандартных узлов и агрегатов. В рамках данного курсового проекта необходимо сконструировать агрегатный станок для обработки шпоночного паза вала-шестерни. В связи с этим предварительно принимаем следующие нормализованные узлы, из которых будет состоять проектируемый станок: - станина; - стол силовой с электромеханическим приводом подачи; - привод галавного движения; - насадка фрезерная; - призмы; - прижим гидравлический; - режущий инструмент; Компоноваться данные элементы будут следующим образом: на станину (поз. 1), представляющую собой полый сварной корпус, будут устанавливаться все элементы, необходимые для осуществления процесса обработки. Таким образом, в станину будет монтироваться в горизонтальном положении привод главного движения (поз. 7), который посредством муфты станочной (поз. 8) будет передавать вращение фрезерной насадке (поз. 3) и установленной в ней фрезе (поз. 6). Для установки заготовки под обработку и ориентации относительно инструмента используем стандартный станочные приспособления – раздвижные призмы (поз. 4), которые крепятся к совершающему движение подачи силовому столу (поз. 2). Для того, чтобы в процессе обработки заготовка находилась неподвижно относительно инструмента и не меняла положение под действием сил резания, будем использовать зажимное приспособление (поз. 5), которое также устанавливается на плиту. Сам процесс обработки будет происходить в следующей последовательности: установка вала на призмы, фиксация вала с помощью зажимного приспособления посредством прижатия его к призмам, подвод заготовки на ускоренном ходу в зону обработки, непосредственная обработка шпоночного паза на рабочем ходу, отвод заготовки из зоны обработки на ускоренном ходу. При этом сам ускоренный подвод и отвод осуществляется посредством перемещения платформы стола по направляющим при вращении электродвигателя быстрых перемещений, изменение направления осуществляется реверсированием электродвигателя. Рабочий ход осуществляется посредством движения платформы с заготовкой за счет вращения ходового винта от электродвигателя рабочей подачи. Скорость рабочей подачи настраивается сменяемыми зубчатыми колесами, величина усилия подачи силового стола регулируется фпикционной предохранительной муфтой, сжатие дисков которой производится винтом и планкой через пружину. 10 Определение режимов обработки Расчет режимов резания при обработке шпоночного паза ведем в следующей последовательности: 1) схема обработки паза
Рисунок 10.1 – Схема бработки шпоночного паза 2) по рис. 10.1 глубина резания 3) согласно [1, стр. 284, табл. 35] принимаем подачу 4) скорость резания рассчитываем по формуле
где
где
По рассчитанной скорости резания определяем требуемую частоту вращения фрезы при обработке данной поверхности:
11 Определение усилий и мощности резания Определяем главную составляющую силы резания:
Согласно [1] выбираем значения степеней и коэффициентов:
Тогда усилие резания
Так как в процессе обработки усилие резания может меняться вследствии затупления режущего инструмента и неравномерности припуска, то необходимо учесть эти изменения путем введения соответствующих коэфициентов:
Определяем мощность резания:
Принимаю мощность электродвигателя 2,2 кВт 12 Кинематический расчет фрезерной насадки Кинематическая схема насадкиИсходя из условия ось вращения электродвигателя горизонтальная, а ось вращения фрезы – вертикольна, следовательно необходимо использовать коническую передачу для изменения оси. Расчитаем передаточное число передачи:
Принимаем U=1,25 Приближенный расчет модуля передачиЭтот расчет проводят для основного выбора механических свойств материала зубчатых колес. Приближенное значение модуля определяют при усредненных параметрах для передач (мм):
Где:
Принимаем заготовку колеса из стали 40Х, ТО – улучшение . При этом - Предварительные допустимые напряжения при расчете зубьев на изгибную прочность для нереверсивных передач определяют по формуле:
Проектный расчет зубчатых передач на контактную прочность зубьевДиаметр наружной делительной окружности колеса (на внешнем дополнительном конусе):
где
где
Модуль передачи определяют по расчитанному диаметру колеса
Полученное значение модуля округляем до стандартного
Ширина зубчатого венца колеса:
Принимаю Основные геометрические размеры колес (рис. 12.1) определяют по формулам табл.12.1. Таблица 12.1 - Основные размеры колес передач
Рис. 12.1 – Основные размеры конических передач Высота зуба на торце допольнительного конуса:
Высота головки и ножки зубьев на торце дополнительного конуса:
Углы головки и ножки зубьев:
Углы конуса вершин
Углы конуса впадин
13 Расчет прогиба шпинделя Для расчета будем использовать программу автоматического расчета прогиба шпнделя. Исходными данными расчета являются: - номер расчетной схемы; - составляюшие усилий резания: · Pz =2583H; · Py =1531.5H; · Po =369H; - диаметр конца шпинделя Dm=70мм; - диаметр отверстия в шпинделе Dot=17мм; - диаметр шпинделя между опорами Dk=45мм; - угол между усилием резания и окружным усилием Gm=0,465 Рад. Выходными данными программы являются: - FR1, FR2 – реакции в передней и задней опорах, Н; - У – прогиб рабочего конца шпинделя, мкм; - Теtа – угол поворота шпинделя в передней опоре, Рад. После расчета программа выдала следующие значения: FR1=4,96,17Н; FR2=-1571,09Н; У=35,4922мкм; Теtа=0,00003918Рад. 14 Расчёт жёсткости опор качения Жёсткость опоры:
где
где КR - вспомогательный коэффициент поддатливости, зависящий от коэффициента KF и отношения Fr /C0 . Определим KF
по графику (МУ№125 рис. 3.4), зная угол контакта шарика и кольца подшипника Сила осевого предварительного натяга:
С0 =39300 Н; Fа /C0 =911,5/39300=0,02 KF =0,08; Fr /C0 =4096/39300=0,05 => КR =0,01
где k=0,0025 – коэффициент поддатливости; d – диаметр внутреннего кольца подшипника, d=60 мм; D - диаметр наружного кольца подшипника D=110 мм; В – ширина подшипника, В=44 мм. Жесткость опор:
Анализируя полученные данные, делаем вывод, что хотя подшипники передней опоры более жёсткие по сравнению с подшипниками задней опоры, прогибы в передней опоре всё равно на порядок выше из-за больших сил, возникающих на торце шпинделя при фрезеровании. 15 Расчёт жёсткости шпинделя Радиальное перемещение переднего конца шпинделя:
где
Рисунок 15.1 – Перемещения переднего конца шпинделя Применим известные формулы сопромата и пренебрегая величиной
где Е – модуль упругости материала шпинделя, Е=2*
а – длина вылета (консольной части) шпинделя, а=64,5 мм; l – расстояние между опорами шпинделя, l=143,5 мм; F=Pу =1291,5 Н.
16 Динамический расчет шпиндельного узла Для получения частотных характеристик шпиндельного узла разобъем его на участки и расчитаем их осевые моменты инерции и массу:
Рисунок 16.1 – Разбиение шпиндельного узла на участки Используя пакет КОМПАС-3D V8 и 3D модель данного узла рассчитаем необходимые параметры: M1 = 1,47 кг Jx1 = 0,000915 кг*м2 M2 = 1,4 кг Jx2 = 0,000523 кг*м2 L2=103 мм М2пог =1,4*1/0,103=13,56 кг*мпог M3 = 1,2 кг Jx3 = 0,00109 кг*м2 M4 = 0,731 кг Jx4 = 0,000211 кг*м2 L4=68 мм М4пог =0,731*1/0,068=10,63 кг*мпог Жесткость Cr и коэффициент демпфирования h опор (согластно пункту 14): Cr1=360000 Н/мм Cr2=215000 Н/мм
где а=64,5 мм – вылет; l=143,5 мм – межопорное расстояние h1,2 =0.18 Полученные данные заносим в программу и на основании нижеперечисленных формул получаем графики частотных характеристики узла Передаточная функция УС шпинделя
Таким образом: податливость системы 0,8*10-5 , динамическая жесткость 2,8*10-4 собственная частота 340 с-1 , что значительно выше рабочей частоты, равной 182 с-1 ЗАКЛЮЧЕНИЕ В курсовом проекте исследован технологический процесс обработки детали в неавтоматизированном производстве, произведен сравнительный анализ компоновок автоматических линий, выбран наиболее рациональный вариант автоматической линии по критерию обеспечения заданной производительности и минимума приведенных затрат, разработана и описана циклограмма работы выбранного варианта автоматической линии. Производительность скомпонованной автоматической линии с учетом внецикловых потерь составляет 386 шт/см, при этом время цикла обработки заготовки 57с. Также был спроектирован агрегатный станок, предназначенный для фрезерования шпоночного паза. Станок компоновался из нормализованных узлов. Произведен расчет режимов и мощности резания, по которым выбирались исполнительные узлы станка, и проводился их кинематический расчет для обеспечения требуемых режимов резания, произведен статический и динамический расчет шпиндельного узла. Результатами расчетов являются: жесткость опор качения – 360000 и 215000 н/мм; рабочий прогиб шпинделя у=7,67 мкм; податливость системы 0,8*10-5 ; динамическая жесткость системы 2,8*1,-4 собственная частота фрезерной головки 340 с-1 . Список литературы 1. Справочник технолога машиностроителя. В 2-х т. Т2/ Под. ред. А.Г. Косиловой и Р.К. Мещерякова 4-е изд-. М.: Машиностроение, 1985.-496с. 2. Методические указания по выполнению курсовых работ по дисциплине «Теория проектирования автоматизированных станочных комплексов» №774.Сост.:Л.П. Калафатова, А. Д. Молчанов Донецк ДонНТУ 2003. 47с. 3. Нормализованные узлы и детали агрегатных станков и автоматических линий. Каталог – справочник М.: Науч.-исслед. Ин-т информации по машиностроению 1972г 4. Шаумян Г.А. Комплексная автоматизация производственных поцессов.-М.: Машиностроение, 1987. -288с. 5. Методические указания к самостоятельной работе над курсовым проектом по деталям машин. Раздел 3 «Эскизный проект» и «Технический проект» проектирование зубчатых и червячных передач (для студентов технических специальностей)/ Сост. В.С.Горелик, В.С.Исадченко, В.И.Проскурин и др. – Донецк: ДПИ, 1992. 84 с. |
|||||||||||||||||||||||||||||||||||||||||||||||||||||||||||||||||||||||||||||||||||||||||||||||||||||||||||||||||||||||||||||||||||||||||||||||||||||||||||||||||||||||||||||||||||||||||||||||||||||||||||||||||||||||||||||||||||||||||||||||||||||||||||||||||||||||||||||||||||||||||||||||||||||||||||||||||||||||||||||||||||||||||||||||||||||||||||||||||||||||||||||||||||||||||||||||||||||||||||||||||||||||||||||||||||||||||||||||||||||||||||||||||||||||||||||||||||||||||||||||||||||||||||||||||||||||||||||||||||||||||||||||||||||||||||||||||||||||||||||||||||||||||||||||||||||||||||||||||||||||||||||||||||||||||||||||||||||||||||||||||||||||||||||||||||||||||||||||||||||||||||||||||||||||||||||||||||||||||||||||||||||||||||||||||||||||||||||||||||||||||||||||||||||||||||||||||||||||||||||||||||||||||||||||||||||||||||||||||||||||||||||||||||||||||||||||||||||||||||||||||||||||||||||||||||||||||||||||||||||||||||||||||||||||||||||||||||||||||||||||||||||||||||||||||||||||||||||||||||||||

, что меньше 12. Поэтому при механической обработке детали можно назначать интенсивные режимы резания.
1/мин;
Рисунок 4.1 - Компоновка АЛ с копировальными станками.
шт./смену.
Рисунок 4.2 - Компоновка АЛ с копировальными станками.
шт/смену.
Рисунок 4.3 - Компоновка АЛ с использованием станков-дублеров
(шт./смену).
Рисунок 4.4 – Компоновка АЛ с использованием многорезцовых наладок.
,




мм
,
– коэффициент ширины зубчатого венца по внешнему конусному расстоянию.
,
мм

=3,580
=4,290
;
;
Н/мм
Н/мм



Определим оптимальную величину межопорного расстояния используя программу:



