Реферат: Классификация методов и факторы, определяющие их эффективность
|
Название: Классификация методов и факторы, определяющие их эффективность Раздел: Рефераты по геологии Тип: реферат |
1.2. Классификация методов и факторы, определяющие их эффективность.Методы разработки нефтяных месторождений принято делить на традиционные (естественные режимы, заводнение, искуственное поддержание пластового давления закачкой воды или газа) и методы увеличения нефтеотдачи пластов , которые в разное время называли новыми методами или третичными. Названная группа методов, входящая в традиционные, не отражает сущьность всех методов. Так тепловые виды воздействия на пласт трудно назвать новыми, их использовали еще с 30-х годов, как и традиционное заводнение. В том случае, когда тепловой метод реализуется на объектах, нефть которых по причине сверхвысокой вязкости не может быть извлечена другими способами разработки, он не является методом увеличения нефтеотдачи, а единственно возможным способом извлечения нефти. Нетрадиционные методы разработки нефтяных месторождений, называются в дальнейшем методами увеличения нефтеотдачи пластов, делят в зависимости от того, каким образом достигаются эффекты, обеспечивающие улучшение условий вытеснения нефти на четыре группы: 1) физико-химические; 2) газовые; 3) тепловые; 4) другие, основанные на использовании неординарных технических явлениях и сложных рабочих агентов. К физико-химическим видам воздействия относят заводнение с применением мицеллярных, щелочных и полимерных растворов, растворов ПАВ, серной и соляной кислот, а также других реагентов. В этой группе, в настоящий момент, можно выделить метод системной обработки призабойных зон. В зарубежной практике в физико-химическим видам воздействия выделяют первые три группы – полимерное, щелочное и мицеллярное заводнение. Газовые методы включают использование диаксида углерода и углеводородных газов, азота и дымовых газов. Среди тепловых или термических методов разработки различают закачку пара (непрерывную в виде оторочек и для обработок призабойных зон), внутрипластовое горение, нагнетание горячей воды. Другие методы пока не получили широкого распространения, однако интенсивно изучаются и исследуются в промысловых условиях. К ним относятся микробиологические, волновые, электромагнитное воздействие, ядерные взрывы. Методы увеличения нефтеотдачи основаны на следующих изменениях характеристик и условий нахождения нефти в пласте (рис.1): - снижение межфазного натяжения на границе нефть – вытесняющий агент; - снижение отношения подвижностей вытесняемого и вытесняющего флюидов (за счет уменьшения вязкости нефти или подвижности вытесняющего агента); - перераспределение находящихся в пласте нефти, воды и газ с целью консолидации запасов нефти. Степень проявления этих эффектов, т.е. эффективность методов увеличения нефтеотдачи пластов, определяется прежде всего геолого-физическими условиями их примене 3. Критерии эффективного применения методов.Важным условием эффективного применения методов увеличения нефтеотдачи пластов является правильный выбор объекта для метода или, наоборот, метода – для объекта. Критерии применимости методов определяют диапазон благоприятных свойств флюидов и пласта, при которых возможно эффективное применение метода или получение наилучших технико-экономических показателей разработки. Эти критерии определены на основе анализа технико-экономических показателей применения метода, обобщения опыта его применения в различных геолого-физических условиях, а также использования широких теоретических и лабораторных исследований. Обычно выделяются три категории критериев применимости методов: Геолого-физические (свойства пластовых жидкостей, глубина залегания и толщины нефтенасыщенного пласта), параметры и особенности нефтесодержащего коллектора (насыщенность порового пространства пластовыми жидкостями, условия залегания) и другие; Технологические (размер оторочки, концентрация агентов в растворе, размещение скважин, давление нагнетания и т. д.); Материально-технические (обеспеченность оборудованием, химическими реагентами, их свойства и др.); Критерии первой категории являются определяющими, наиболее значимыми и независимыми. Технологические критерии зависят от геолого-физических и выбираются в соответствии с ними. Материально-технические условия большей частью также являются независимыми, остаются неизменными и определяют возможность выполнения технологических критериев. 4. Системы разработки месторождения с использованием заводнения.Системы разработки залежей классифицируют в зависимости от размещения скважин и вида энергии, используемой для перемещения нефти. Размещение скважин . Под размещением скважин понимают сетку размещения и расстояния между скважинами (плотность сетки), темп и порядок ввода скважин в работу. Системы разработки подразделяют на следующие: с размещением скважин по равномерной сетке и с размещением скважин по неравномерной сетке (преимущественно рядами). Системы разработки с размещением скважин по равномерной сетке различают: по форме сетки; по плотности сетки; по темпу ввода скважин в работу; по порядку ввода скважин в работу относительно друг друга и структурных элементов залежи. Сетки по форме бывают квадратными и треугольными (шестиугольными). При треугольной сетке на площади размещается скважин больше на 15,5 %, чем при квадратной в случае одинаковых расстояний между скважинами. Под плотностью сетки скважин подразумевают отношение площади нефтеносности к числу добывающих скважин. Вместе с тем это понятие очень сложное. Исследователи часто вкладывают разное содержание в понятие плотности сетки скважин: · принимают только площадь разбуренной части залежи; · число скважин ограничивают по разным величинам суммарной добычи нефти из них; · включают или не включают нагнетательные скважины в расчет; в процессе разработки месторождения число скважин значительно изменяется, площадь нефтеносности при напорных режимах уменьшается, это по-разному учитывают и т. д. Иногда различают малую, среднюю и большую степени уплотнения скважин. Эти понятия весьма условны и различны для разных нефтепромысловых районов и периодов развития нефтяной промышленности. Проблема оптимальной плотности сетки скважин, обеспечивающей наиболее эффективную разработку месторождений, была самой острой на всех этапах развития нефтяной промышленности . Раньше плотность сетки скважин изменялась от 104 /скв (расстояния между скважинами 100 м) до (4—9) 104 /скв, а с конца 40-х — начала 50-х годов перешли к сеткам скважин с плотностью (30— 60)104 м2 /скв. Исходя из теории интерференции и упрощенной схематизации процесса вытеснения нефти водой из однородного пласта, считалось, что при разработке нефтяных месторождений при водонапорном режиме число скважин существенно не влияет на нефтеотдачу. Практикой разработки и дальнейшими исследованиями установлено, что в реальных неоднородных пластах плотность сетки скважин оказывает существенное влияние на нефтеотдачу . Это влияние тем больше, чем более неоднородны и прерывисты продуктивные пласты, хуже литолого-физическиё свойства коллекторов, выше вязкость нефти в пластовых условиях, больше нефти первоначально заключено в водонефтяных и под-газовых зонах. Уплотнение сетки скважин в неоднородно-линзовидных пластах существенно увеличивает нефтеотдачу (охват разработкой), особенно при удачном размещении скважин относительно различных линз и экранов. Наибольшее влияние оказывает плотность сетки в диапазоне плотностей сетки более (25—30)104 м2 /скв. В диапазоне плотностей сетки менее (25— 30) 104 м2 /скв влияние хотя и отмечается, однако оно не столь существенное, как при более редких сетках. В каждом конкретном случае выбор плотности сетки должен определяться с учетом конкретных условий. В нашей стране применяют двухстадийное разбуривание первоначально редких сеток скважин и последующее избирательное уплотнение их с целью повышения охвата неоднородных пластов заводнением, увеличения конечной нефтеотдачи и стабилизации добычи нефти. В первую стадию бурят так называемый основной фонд добывающих и нагнетательных скважин при малой плотности сетки. По данным бурения и исследования скважин основного фонда уточняется геологическое строение неоднородного объекта, в результате чего возможны изменения плотности сетки скважин, которые разбуривают во вторую стадию и называют резервными. Резервные скважины предусматриваются с целью вовлечения в разработку отдельных линз, зон выклинивания и застойных зон, которые не вовлекаются в разработку скважинами основного фонда в пределах контура их размещения. Число резервных скважин обосновывается с учетом характера и неоднородности пластов (их прерывистости), плотности сетки скважин, соотношения вязкости нефти и воды и т. д. Число резервных скважин может составлять до 30 % основного фонда скважин. Их место размещения следует планировать в более ранние сроки разработки. Отметим, что для замены фактически ликвидированных скважин из за старения (физического износа) или по техническим причинам (в результате аварий при эксплуатации добывающих и нагнетательных скважин) требуется обосновывать также число скважин-дублеров, которое может достигать 10—20 % фонда. По темпу ввода скважин в работу можно выделить одновременную (еще называют «сплошная») и замедленную системы разработки залежей. В первом случае темп ввода скважин в работу быстрый — все скважины вводят в работу почти одновременно в течение первых одного — трех лет разработки объекта. При большом сроке ввода систему называют замедленной, которую по порядку ввода скважин в работу различают на системы сгущающуюся и ползучую. Сгущающуюся систему целесообразно применять на объектах со сложным геологическим строением. Она соответствует принципу двухстадийного разбуривания. Ползучую систему, ориентированную по отношению к структуре пласта, подразделяют на системы: а) вниз по падению; б) вверх по восстанию; в) по простиранию. В практике разработки крупных отечественных месторождений ползучая и сгущающаяся системы разработки комплексно сочетаются. Только трудные природные (топи, болота) и геологические условия определили применение ползучей системы на Самотлор-ском месторождении. Системы разработки с размещением скважин по равномерной сетке считают целесообразными при режимах работы пласта с неподвижными контурами (режим растворенного газа, гравитационный режим), т. е. при равномерном распределении по площади пластовой энергии. В СНГ в основном по треугольной сетке разбурено большинство эксплуатационных объектов Азербайджана, Туркмении, Западной Украины, Северного Кавказа и др. Системы разработки с размещением скважин по неравномерной сетке аналогично различают: по плотности сетки; по темпу ввода скважин в работу (ввода рядов скважин — работают один ряд, два, три); по порядку ввода скважин в работу. Дополнительно их разделяют: по форме рядов — с незамкнутыми рядами и с замкнутыми (кольцевыми) рядами; по взаимному расположению рядов и скважин — с выдержанными расстояниями между рядами и между скважинами в рядах и с уплотнением центральной части площади. Такие системы широко использовали при режимах работы пласта с подвижными контурами (водо-, газонапорный, напорно-гравитационный и смешанный режимы). При этом скважины размещали рядами, параллельными первоначальному контуру нефтеносности. Такую систему начали применять у нас впервые в 1930 г. на Новогрозненском, затем на Туймазинском (20 • 104 м2 /скв при расстояниях между рядами 500 м и между скважинами в рядах 400 м), Ромашкинском (60*104 м2 /скв — 1000 м-600 м), Усть-Балыкском (42-104 м2 /скв), Мегионском (64-104 м2 /скв), Самотлорском (64 •104 м2 /скв) и других месторождениях. При современном проектировании первоначальная расстановка скважин почти всегда равномерная. Вид используемой энергии . В зависимости от вида энергии, используемой для перемещения нефти, различают: системы разработки нефтяных залежей при естественных режимах, когда используется только естественная пластовая энергия (т. е. системы разработки без поддержания пластового давления); системы разработки с поддержанием пластового давления, когда применяются методы регулирования баланса пластовой энергии путем искусственного се пополнения. По методам регулирования баланса пластовой энергии выделяют: системы разработки с искусственным заводнением пластов; системы разработки с закачкой газа в пласт. Системы разработки с искусственным заводнением пластов могут осуществляться по следующим основным вариантам: 1. Законтурное заводнение, при котором воду закачивают в ряд нагнетательных скважин, расположенных за внешним контуром нефтеносности на расстоянии 100—1000 м. Его применяют на объектах с малорасчлененными по толщине продуктивными пластами, обладающими сравнительно высокой гидропро-водностью, при небольшой ширине залежей (до 4—5 км, а при наиболее благоприятном строении пластов и более). Примерами могут служить Туймазинское месторождение (Башкирия), где начали впервые применять заводнение в СССР (1948 г.), девонская залежь Бавлинского месторождения (Татария), яснополянская залежь Ярино-Каменоложского месторождения (Пермская обл.) и др. Оно не получило широкого распространения. 2. Приконтурное заводнение, когда нагнетательные скважины размещают в водонефтяной зоне в непосредственной близости от внешнего контура нефтеносности. Его применяют вместо законтурного заводнения на залежах с проявлением так называемого барьерного эффекта на водонефтяном разделе или при сниженной проницаемости пласта в законтурной зоне. Гидродинамическая связь законтурной и нефтеносной частей может ухудшиться вследствие окисления тяжелых фракций нефти на водонефтяном разделе, разрывных нарушений, литологических замещений и др. Приконтурное заводнение удачно запроектировано, например, по пласту СIII Дмитровского месторождения (Куйбышевская обл ). 3. Внутриконтурное заводнение, которое применяют в основном на объектах с большими площадями нефтеносности (сотни квадратных километров и более). При законтурном заводнении одновременно может работать не более трех рядов скважин вследствие экранирования работы внутренних рядов внешними, поэтому для обеспечения отбора нефти также из центральной части эксплуатационного объекта крупные объекты с помощью разрезающих рядов нагнетательных скважин делят на отдельные, самостоятельно разрабатываемые участки, которые называют эксплуатационными полями или блоками. Внутриконтур-ное заводнение в случае необходимости сочетается с законтурным или приконтурным заводнением. В странах СНГ применяется внутриконтурное заводнение таких видов: разрезание залежи нефти рядами нагнетательных скважин на отдельные площадки, блоки самостоятельной разработки; сводовос заводнение; очаговое заводнение; площадное заводнение. Система внутриконтурного заводнения с разрезанием залежи на отдельные площади применяется на крупных нефтяных месторождениях платформенного типа с широкими водонефтяными зонами. Широкие водонефтяные зоны отрезают от основной части залежи и разрабатывают их по самостоятельным системам. На средних и небольших по размеру залежах применяют поперечное разрезание их рядами нагнетательных скважин на блоки (блоковое заводнение). Ширина площадей и блоков выбирается с учетом соотношения вязкостей и прерывистости пластов (литологического замещения) в пределах до 3—4 км, внутри размещают нечетное число рядов добывающих скважин (не более 5—7). Разрезание на отдельные площади и блоки нашло применение на Ромашкинском (23 площади пласта Дь Татария), Арланском (Башкирия), Мухановском (Куйбышевская область), Осинском (Пермская область), Покровском (Оренбургская область), Узеньском (Казахстан), Правдинском, Ма-монтовском, Западно-Сургутском, Самотлорском (Западная Сибирь) и других месторождениях. С начала 60-х годов на месторождениях Куйбышевской области (пласт А4 Козловского, пласт Б2 Стрельненского, пласт До Жигулевского и другие месторождения) и затем Западной Сибири (Правдинское, Мамонтовское, пласты AB1 Советского и Самотлорского месторождений) стали широко использоваться системы блокового заводнения, причем так называемые активные (интенсивные) системы с размещением между двумя нагнетательными рядами не более 3—5 рядов добывающих скважин. Совершенствованием блоковых систем могут быть блочно-квадратные системы с периодическим изменением направлений потоков воды. При небольшой вязкости нефти (до 3—5 мПа • с) для объектов с относительно однородным строением пластов системы заводнения могут быть менее активными, блоки шириной до 3,5— 4 км. Для ухудшенных условий активность систем должна повышаться, а ширина блоков должна уменьшаться до 2—3 км и менее. При однородных пластах с продуктивностью выше 500 т/(сут-МПа) оправдали себя пятирядные системы, а при продуктивности 10 — 50 т/(сут-МПа)—трехрядные (по Б. Т. Баишеву и др.). При сводовом заводнении ряд нагнетательных скважин размещают на своде структуры или вблизи него. Если размеры залежи превышают оптимальные, это заводнение сочетают с законтурным. Сводовое заводнение подразделяют на: а) осевое (нагнетательные скважины размещают по оси структуры — кумский горизонт Новодмитриевского месторождения в Краснодарском крае, пласты группы А Усть-Балыкского месторождения в Западной Сибири); б)кольцевое (кольцевой ряд нагнетательных скважин с радиусом, приблизительно равным 0,4 радиуса залежи, разрезает залежь на центральную и кольцевую площади — Миннибаевская площадь Ромашкинского месторождения); в)центральное заводнение как разновидность кольцевого (вдоль окружности радиусом 200—300 м размещают 4—6 нагнетательных скважин, а внутри се имеется одна или несколько добывающих скважин). Очаговое заводнение может применяться в качестве самостоятельного при разработке залежей нефти в резко неоднородных и прерывистых пластах и в качестве вспомогательного заводнения в сочетании с законтурным и особенно внутриконтурным заводнением для выработки запасов нефти из участков, не охваченных основными системами. Разбуривание осуществляют по равномерной сетке с расположением буровых станков вблизи продуктивных скважин и последующим переходом «от известного к неизвестному». Нагнетательные скважины выбирают из числа пробуренных так, чтобы они размещались на участках с наилучшей характеристикой пластов и оказывали влияние на максимальное число окружающих добывающих скважин. В связи с этим его называют избирательным заводнением. Внедрено очаговое заводнение на месторождениях платформенного типа в Татарии (периферийные участки Ромашкинского и Ново-Елховского месторождений), Башкирии (месторождения Краснохолмской группы), Коми АССР, Пермской, Оренбургской обл. и т. д. Оно более эффективно на поздней стадии разработки. Площадное заводнение характеризуется рассредоточенной закачкой рабочего агента в залежь по всей площади ее нефтеносности. Площадные системы заводнения по числу скважинно-точек каждого элемента залежи с расположенной в его центре одной добывающей скважиной могут быть четырех-, пяти-, семи- и девятиточечной и линейной системами (рис. 3). Линейная система—это однорядная система блокового заводнения, причем скважины размещают не друг против друга, а в шахматном порядке. Отношение нагнетательных и добывающих скважин составляет 1:1. Элементом этой системы может служить прямоугольник со сторонами 2L и 2бн=2бд=2б. Если 2L=2б, то линейная система переходит в пятиточечную с таким же соотношением скважин (1 : 1). Пятиточечная система симметрична и за элемент можно выбрать также обратное размещение скважин с нагнетательной скважиной в центре (обращенная пятиточечная система). В девятиточечной системе на одну добывающую скважину приходится три нагнетательных (соотношение скважин 3:1), так как из восьми нагнетательных скважин по четыре скважины приходится соответственно на два и четыре соседних элемента. В обращенной девятиточечной системе (с нагнетательной скважиной в центре квадрата) соотношение нагнетательных и добывающих скважин составляет 1 :3. При треугольной сетке размещения скважин имеем четырехточечную (обращенную семиточечную) и семиточечную (или обращенную четырехточечную) системы с соотношением нагнетательных и добывающих скважин соответственно 1 :2 и 2: 1. Возможны также другие площадные системы. Таким образом, площадные системы характеризуются различной активностью воздействия на залежь, выраженной соотношением нагнетательных и добывающих скважин (1 : 3, 1 : 2, 1 : 1, 2: 1, 3 : 1). 5. ПОВЫШЕНИЕ НЕФТЕОТДАЧИ ПЛАСТОВ ФИЗИКО-ХИМИЧЕСКИМИ МЕТОДАМИ. Объективной необходимостью для повышения охвата менее проницаемой части продуктивного пласта воздействием при прогрессирующем обводнении является ограничение фильтрации нефтевытесняющего агента по промытым прослоям и зонам продуктивного пласта и поступления в добывающие скважины. Это должно приводить к перераспределению энергии закачиваемой воды и охвату воздействием малопроницаемых пропластков. Решение этой задачи не представляется возможным на основе использования обычных способов изоляции вод в добывающих скважинах из-за ограниченности объемов обрабатываемого пласта лишь призабойной зоной. Необходимы способы, позволяющие закачивать большие объемы водоизолирующих масс в удаленные зоны на основе использования дешевых и доступных материалов и химреагентов. В настоящее время достаточно хорош о известно большое количество методов увеличения коэффициента охвата пласта воздействием, таких как закачка загущенной полимерами воды, пены, периодическая закачка в пласт реагентов, понижающих проницаемость отдельных высокопроницаемых промытых вытесняющим агентом пропластков, силикатно-щелочных растворов (СЩР), полимердисперсных систем (ПДС), а также разнообразных гелеобразующих в пластовых условиях композиций химреагентов. В качестве методов, избирательно понижающих проницаемость породы, можно использовать периодическую закачку газа (воздуха) или активных компонентов нефти в процессе заводнения. Весьма простым и доступным методом выравнивания проницаемостей послойно-неоднородных пластов может оказаться закачка суспензии гашеной извести. Циклическое заводнение, увеличение давления закачки агентов для поддержания пластового давления, применение тепловых методов воздействия на залежи высоковязких нефтей также позволяют регулировать степень охвата пласта воздействием. В то же время ряд методов одновременно улучшает степень промывки пласта и увеличивает коэффициент вытеснения нефти из пористой среды. Некоторые из перечисленных методов увеличения коэффициента охвата, например, периодическая закачка воздуха, нефти, а также закачка загустителей для воды известны давно. Методы закачки пены, СЩР, ПДС, гелеобразователей появились недавно и проходят промысловые испытания. Многие физико-химические и гидродинамические явления, происходящие при закачке в пласт перечисленных рабочих агентов в частично обводненные нефтяные залежи, изучены недостаточно полно. В связи с этим основные параметры технологии их применения в конкретных геолого-физических и технологических условиях выбираются лишь на основе качественных представлений о характере взаимодействия закачиваемых композиций химреагентов в пласте. В качестве загущенной воды в пласт можно закачивать водные растворы различных полимеров, например, полиакриламида (ПАА). Молекулярная масса этого водорастворимого полимера более 500 000, а вязкость его водных растворов прямо пропорциональна молекулярной массе. В зависимости от товарных свойств полимера при приемлемых концентрациях вязкость воды может быть увеличена в несколько десятков раз. При закачке в пласт растворов полиакриламида увеличивается коэффициент охвата залежи воздействием за счет выравнивания вязкости нефти и вытесняющей жидкости. Одновременно происходит некоторое уменьшение средней приемистости нагнетательных скважин из-за повышения вязкости закачиваемой воды. Кроме того, на приемистость скважины оказывает влияние снижение фазовой проницаемости для воды из-за взаимодействия и адсорбции молекул полимера на поверхности породы. Результаты анализа эффективности обычного полимерного заводнения показывают, что область применения его, как и других методов повышения нефтеотдачи пластов, ограничивается обводненностью добываемой жидкости, равной 60—70% и обусловленной, как правило, образованием в продуктивном пласте промытых высокопроницаемых зон.В этих условиях фильтрационное сопротивление пористой среды при обработке полимером практически не изменяется. Этим объясняется более эффективное применение полимерного заводнения на более ранней стадии разработки нефтяных месторождений. Следует отметить, что с повышением температуры пласта более 70 °С происходят разрушение молекул полимеров и снижение эффективности его применения для повышения нефтеотдачи пластов. При коэффициенте проницаемости пласта менее 0,1 мкм2 процесс полимерного заводнения трудно реализуем, так как размеры молекул раствора больше размеров пор и происходит либо его кольматация в призабойной зоне, либо механическое разрушение молекул полимера. В условиях повышенной солености пластовых вод и содержания солей кальция и магния водные растворы наиболее доступных полимеров становятся неустойчивыми, нарушается их структура и пропадает эффект загущения воды, а более устойчивые полимеры биологического происхождения пока практически недоступны. Полимеры являются дефицитными и дорогостоящими продуктами. Поэтому с точки зрения уменьшения затрат на увеличение нефтеотдачи существенный интерес представляют методы, основанные на использовании более дешевых и недефицитных химических продуктов. Прежде всего сюда относится закачка пены. Кажущаяся вязкость пены превышает вязкость воды в 5—10 раз. Теоретические и лабораторные исследования показали перспективность использования пен в качестве рабочего агента при вытеснении нефти из пористой среды. Эта перспектива определяется следующими двумя факторами. Во-первых, для получения пены расходуется всего от 0,2 до 1% пенообразующих ПАВ, сравнительно доступных и менее дорогостоящих. Во-вторых, важным свойством пены является то, что ее кажущаяся вязкость зависит от коэффициента проницаемости пористой среды. Чем выше проницаемость пласта, тем выше кажущаяся вязкость фильтрующейся пены. Благодаря этому свойству пены, при закачке ее в пласт будет происходить увеличение охвата залежи не только за счет сближения вязкостей нефти и вытесняющего агента, но и за счет уменьшения степени неоднородности пласта по подвижности нефти. Установлено, что применение пенных систем тем эффективнее, чем выше неоднородность пласта по проницаемости и соотношение вязкостей нефти и обычной вытесняющей жидкости (воды). Увеличение нефтеотдачи при этом происходит только за счет улучшения охвата пласта рабочим агентом, коэффициент вытеснения остается без изменения. В условиях однородного пласта закачка пены, как показывают опыты, не приводит к увеличению коэффициента нефтеотдачи. В качестве пенообразователя в рассматриваемых опытах использовались ионогенные ПАВ: сульфонат натрия и алкилсульфонат натрия. Пена, полученная на основе этих ПАВ, в присутствии нефти нестабильная, ее структурно-механические свойства сохраняются лишь частично. Пена может быть получена на поверхности, либо сформирована в пластовых условиях путем создания оторочки из раствора ПАВ и последующего его вытеснения газом. Сущность методов увеличения коэффициента охвата пласта воздействием путем периодической закачки инертного газа или активной нефти в процессе заводнения сводится к уменьшению фазовой проницаемости для воды в отдельных пропластках, хорошо промытых водой. Количество инертного газа или активной нефти, проникшее в отдельные пропластки неоднородного пласта, пропорционально их проницаемости. Чем выше проницаемость пропластка, тем большее количество реагента в него проникает и тем сильнее снижается проницаемость при дальнейшей закачке воды. Коэффициент проницаемости малопроницаемых пропластков снижается на меньшее значение. В результате такой селективной подачи реагента в разнопроницаемые слои происходит некоторое выравнивание приемистости. Расчеты показывают, что существует вполне определенное количество подаваемого в пласт реагента, при котором происходит максимальное выравнивание проницаемости. Это количество зависит от характера неоднородности пласта и степени снижения фазовой проницаемости данным реагентом. Согласно данным лабораторных исследований при насыщении перового пространства воздухом на 10% проницаемость пласта для воздуха равна нулю, а относительная фазовая проницаемость для воды составляет 0,7; т. е. уменьшается на 30%. При наличии в порах пласта активной нефти относительная проницаемость для воды уменьшается до 0,45, а неснижаемая насыщенность активной нефтью при этом равна 20% от объема порового пространства. Для этих условий теоретические расчеты показали, что оптимальное количество закачиваемого в пласт реагента для всех значений отношения вязкости нефти и воды при периодической закачке воздуха составляет 4,34%, активной нефти —7% от объема пор заводняемого пласта. Эффект рассматриваемого метода тем выше, чем больше соотношение вязкостей нефти и воды. При соотношении подвижностей, равном 10, прирост коэффициента охвата составляет 6% за счет закачки воздуха и 15% — активной нефти. Одним из возможных способов увеличения коэффициента охвата пласта воздействием и выравнивания приемистостей неоднородных пластов является периодическая закачка водной суспензии гашеной извести . Частицы извести, содержащиеся в закачиваемой воде, проникают прежде в пропластки с высокой проницаемостью и за счет частичной закупорки поровых каналов снижают проницаемость высокопроницаемого пласта (пропластка). Малопроницаемые пропластки сохраняют прежнюю приемистость или даже увеличивают ее за счет перераспределения закачиваемой воды. В результате происходит выравнивание профиля приемистости и, в конечном счете, снижение обводненности добываемой продукции, а также увеличение коэффициента охвата пласта воздействием. Вследствие существенной послойной неоднородности продуктивных пластов часто закачиваемая вода поступает лишь в отдельные пропластки или трещины. Очень большая приемистость отдельных интервалов ограниченной толщины объясняется наличием трещин. В таких скважинах применение для регулирования охвата пласта воздействием нефти, нефтемазутных смесей, эмульсий, аэрированных жидкостей не дает положительного эффекта. Однако из-за очень большой протяженности трещин и большой их поверхности глубина проникновения изолирующих реагентов в породу через поверхность трещин оказывается ограниченной. В этих случаях для уменьшения приемистости высокопроницаемых пропластков оказалась эффективной закачка суспензии гашеной извести. Немаловажными факторами при выборе ее в качестве закупоривающего агента могут являться ее доступность, низкая стоимость и простота практического применения. Гашеная известь представляет собой порошкообразный продукт гидратации негашеной извести, в основном состоящий из гидратов окисей кальция и магния. Плотность чистой гашеной извести 2100 кг/м3 . В воде 1 кг гашеной извести занимает объем, равный 1,25—1,67 л. Исследования по изучению закупоривающего действия водных суспензий гашеной извести при фильтрации через пористую среду показали, что скорость фильтрации суспензии очень быстро падает фактически до нуля. Происходит снижение проницаемости на 80—85%. Фильтрация воды через закупоренный образец в обратном направлении обеспечивает практически полное восстановление проницаемости образца. Эти исследования показали возможность применения водной суспензии гашеной извести для выравнивания приемистости нагнетательных скважин. Эффективность применения суспензий для решения этой задачи подтверждена многочисленными промысловыми работами. Технология приготовления и закачки водных растворов гашеной извести достаточно проста. Сухая гашеная известь загружается в бункер пескосмесительного агрегата, откуда она поступает в смесительную емкость агрегата. Одновременно в смесительную емкость подается вода (нефть или раствор ССБ) из автоцистерны. Закачка суспензии ведется одним из агрегатов АН-500, 2АН-500, АС-400, Азинмаш-35 и т. д. На время закачки суспензии нагнетание воды от КНС прекращается. Промысловые работы показали, что закачка водных суспензий приводит к увеличению охвата пласта воздействием по толщине и снижению приемистости высокопроницаемых прослоев. Таким образом, на основе результатов лабораторных и промысловых исследований подтверждена возможность и показана эффективность выравнивания профиля приемистости неоднородных пластов и улучшения охвата пласта воздействием. Безусловно, это мероприятие, по-видимому, оказывает положительное влияние на полноту выработки запасов нефти. Однако закачка малых объемов водных суспензий гашеной извести в призабойную зону пласта хотя и выравнивает профиль приемистости, но существенное влияние на ограничение движения воды в удаленных зонах пласта не может оказать. В то же время результаты этих работ показывают перспективность применения гашеной извести в качестве материала, способного уменьшить проницаемость высокопроницаемого промытого пропласта с целью увеличения охвата пласта воздействием, следовательно, и конечной нефтеотдачи. Из осадкообразующих составов широко распространенными в настоящее время считаются силикатно-щелочные составы (СЩС), щелочно-полимерные растворы (ЩПР), аммиачная вода, метилцеллюлоза, основанные на взаимодействии с пластовой водой с образованием нерастворимого осадка. Для внутрипластового осадкообразования необходимо взаимодействие силикатов щелочного металла с солью двухвалентного металла и едкого натра или кальцинированной соды с поливалентными металлами. Технология основана на применении щелочно-силикатного заводнения в попеременной закачке оторочек раствора силиката щелочного металла и раствора соли двухвалентного металла, разделенных оторочкой пресной воды. В качестве силиката щелочного металла могут использоваться ортосиликат, метасиликат и пентогидрат натрия и калия, которые при взаимодействии с хлоридом кальция образуют гелеобразный осадок. Одновременно растворы этих силикатов при концентрации их в растворе около 1% имеют значение рН близкое к 13. Другая технология предусматривает последовательную закачку оторочек растворов щелочи и трехвалентного железа. В результате взаимодействия щелочи с солями многовалентных катионов при контакте оторочек образуется объемистый малорастворимый осадок гидроокисей многовалентных катионов. Однако управление процессами осадкообразования в пластовых условиях путем закачки щелочей является достаточно сложной задачей. На месторождениях Западной Сибири щелочное заводнение было одним из первых методов физико-химического воздействия на пласт. Способ воздействия применялся с 1976 г. Заслуживают внимания все результаты, полученные в ходе обширного промыслового эксперимента. Здесь испытаны две модификации нагнетания в пласт слабоконцентрированных растворов щелочи, которые указывают на незначительную эффективность метода. Первый промысловый эксперимент по нагнетанию концентрированного раствора щелочи проведен в 1985 г. на Трехозерном месторождении, где в две нагнетательные скважины была закачана оторочка 10%-ного раствора щелочи размером 0,14% от объема пор участка. По отдельным добываемым скважинам через 4—5 мес. отмечалось снижение обводненности добываемой продукции. Так, обводненность на начало эксперимента составляла 55—90%, в дальнейшем снизилась до 40—50%. И только к концу 1990 г. обводненность увеличилась до 70—80%. Такое резкое снижение обводненности добываемой продукции можно объяснить изменением охвата пласта воздействием по толщине за счет закупорки водопромытых зон пласта и подключения в работу ранее неохваченных заводнением пропластков. В целом по опытному участку за период внедрения получено 58,8 тыс. т нефти при удельной технологической эффективности 53,5 т на тонну закачанного реагента. Аналогичные результаты получены на Толуомском месторождении. Хотя характеристики пласта заметно хуже: большая расчлененность, меньшие проницаемость и продуктивность. Объем закачанной оторочки составил 0,3% от объема пор пласта, участок на начало эксперимента был обводнен на 40—50%, после закачки раствора щелочи обводненность снизилась до 20— 30%. Дополнительная добыча нефти составила 35,8 тыс. т или 42,4 т на тонну израсходованного реагента. Полученные положительные результаты промыслового эксперимента свидетельствуют, что технология эффективна для средне- и низкопроницаемых пластов небольшой (до 10 м) толщины. Промысловые испытания метода воздействия для объектов, представленных значительной толщиной пласта, равной 15ми более, таких как Северо-Мартымьинская залежь и Мартымья-Тетеревская залежь, не показали низкую эффективность его применения. Широко применялся 1%-ный щелочной раствор на четырех месторождениях Пермской области (Шагиртско-Гожан-ском, Падунском, Опаликинском и Березовском), начиная с 1978 г. Промышленное внедрение осуществлено с 1983 г. на четырех опытных участках с 13 нагнетательными и 72 добывающими скважинами. Дополнительная добыча нефти по всем участкам на 01.01.91 г. составила 662,4 тыс. т. Прирост нефтеотдачи составил 5,6%. По первому участку прирост коэффициента нефтеизвлечения достиг 25,4%. На нем создана наибольшая оторочка размером в один объем пор пласта. Опыты по изменению смачиваемости показывают, что 1%-ный раствор щелочи повышает гидрофильность терригенных пород и не меняет смачиваемость в известняках, а расход щелочи и количесто осадка увеличиваются при повышении минерализации воды и концентрации щелочи. При минерализации воды 265 г/л образуется максимальное количество осадка — 19 г/л, расход щелочи составляет 2,5 мг/г породы. Нефтевытесняющие свойства растворов щелочи были оценены с использованием центрифуги. Последовательная закачка растворов увеличивает коэффициент вытеснения на 2,5—4%. Технология регулирования проницаемости водопроводящих каналов пласта силикатно-щелочными растворами внедрялась в нескольких модификациях. Основная модификация включает закачку разделительных оторочек пресной воды и раствора (смеси гидрооксида натрия, жидкого стекла, полиакри-ламида) . Закачку оторочек повторяют периодически через 1—3 года, в основном, в течение 10—15 лет. Оторочки нефтевытесняющих агентов закачивают в следующей последовательности: сточная минерализованная вода, нагнетаемая для вытеснения нефти; разделительная оторочка пресной воды; оторочка раствора гидрооксида натрия. Однако рассматриваемая технология направлена лишь на регулирование проницаемости пласта и не может эффективно блокировать избирательно обводненные зоны пласта, что возможно лишь в случае закачки больших объемов оторочки. Проблема охвата пласта воздействием остается нерешенной даже при использовании таких маловязких высокоэффективных нефтевытесняющих агентов, как растворители нефти в различных его модификациях: газ, газообразные оторочки, углекислоты и др. Из-за неоднородности коллекторов и неблагоприятного соотношения вязкостей жидкостей в пласте растворители продвигаются по наиболее проницаемым пропласткам и преждевременно прорываются в добывающие скважины. Анализ результатов исследований эффективности применения методов увеличения нефтеотдачи с применением ПАВ, полимеров, тринатрийфосфата, концентрированной серной кислоты в сравнительно одинаковых условиях различных месторождений показывает, что наиболее высокие результаты достигаются при использовании химреагентов, которые наря ду с улучшением нефтевытеснения за счет отмыва нефти обеспечивают увеличение охвата пласта воздействием. Полного охвата пласта воздействием не достигается даже при использовании современных методов регулирования разработки заводнением — циклического воздействия, изменения направления фильтрационных потоков, повышения давления нагнетания и форсированного отбора жидкости, а также методов повышения нефтеотдачи закачиванием различных агентов. По этой причине на поздней стадии разработки ограничение движения вод в промытых пластах и зонах является одной из наиболее важных технических проблем дальнейшего повышения нефтеотдачи обводненных нефтесодержащих пластов. Подавляющее большинство способов увеличения нефтеотдачи применимо лишь для первичного вытеснения нефти на начальных стадиях разработки залежей. Поздние стадии практически не обеспечены эффективными способами увеличения полноты выработки запасов нефти. Одним из достаточно удачных решений задачи ограничения движения пластовых вод в промытых пропластках неоднородного пласта является метод закачки в обводненные пропластки полидисперсных систем . Основными компонентами этой системы являются ионогенные полимеры с флокулирующими свойствами и дисперсные частицы глины. Путем выбора концентрации полимера и глины в глинистой суспензии создаются условия для полного связывания полимера (флокуляции), в результате чего образуются глино-полимерные комплексы с новыми физическими свойствами, устойчивыми к размыву потоком. Коллоидные частицы глин под влиянием броуновского движения стремятся равномерно распределяться по объему жидкости. Для осаждения этих частиц необходимо их укрупнение под влиянием кинетической энергии или же уменьшения потенциала у коллоидных частиц x. Значение его не постоянно, оно изменяется в зависимости от рН среды, температуры, химического состава и степени дисперсности глинистых частиц. Одним из путей снижения x-потенциала является добавление в воду полимера. Закономерности флокуляции в жидких дисперсных системах показывают, что оптимальная доза полимера, обеспечивающая образование наиболее крупных хлопьев и быструю седиментацию, обратно пропорциональна квадрату радиуса частиц. Существенное влияние на расход полимера могут оказать минерализация пластовой воды и температура среды. Испытания технологий увеличения нефтеотдачи на основе использования ПДС на реальных нефтяных месторождениях, представленных неоднородными коллекторами, показали высокую эффективность. Механизм взаимодействия полимера с породами и дисперсными частицами в пластовых условиях при закачке ПДС заключается в следующем. Движущийся впереди суспензии полимерный раствор модифицирует поверхность породы вследствие адсорбции и механического удержания макромолекул полимера, снижая тем самым концентрацию раствора. Частицы глины и породы пласта, поступающие в виде суспензии, вступают во взаимодействие с макромолекулами полимера, адсорбированными на породе и находящимися во взвешенном состоянии. Первый фактор, с одной стороны, снижает проникновение в мелкие поры, а с другой — приводит к прочному удержанию дисперсных частиц, а второй — способствует флокуляции. Наличие свободных сегментов макромолекул после первичной адсорбции обеспечивает прочную связь дисперсных частиц образующихся полимердисперсных агрегатов с поверхностью пород, создавая тем самым объемную, устойчивую в динамическом потоке массу. Оптимальная концентрация полимерного раствора для терригенных пород, обеспечивающая создание ПДС составляет 0,05—0,08% по массе. В результате образования ПДС в высокопроницаемом обводненном пропласте происходит существенное уменьшение подвижности жидкости. Закачиваемая вода вынуждена двигаться по менее проницаемым прослоям, более эффективно вытесняя остаточную нефть. Эксперименты показывают, что подвижность воды после обработки полимердисперсной системой снижается в 2—4 раза по сравнению с закачкой только раствора полимера или глинистой суспензии, остаточный фактор сопротивления увеличивается с повышением коэффициента проницаемости породы. Это является одним из важных факторов, способствующих получению высокого эффекта. Основной объем теоретических, экспериментальных и промысловых исследований в настоящее время выполнен для условий терригенных коллекторов, как кварцевых, так и полиминеральных. Судя по механизмам и принципам снижения коэффициента подвижности жидкостей в высокообводненных прослоях продуктивного пласта ПДС после ряда дополнительных исследований можно применять и в карбонатных коллекторах. Как известно, при закачке водных растворов различных химреагентов для улучшения отмыва пласта рабочие растворы в основном поглощаются высокопроницаемыми пропластками, а малопроницаемые прослои практически не подвергаются воздействию нефтевытесняющих жидкостей. В связи с этим в настоящее время предложено использовать ПДС для предварительной обработки пласта перед закачкой, например, водных растворов ПАВ, мицеллярных растворов, различных микроэмульсий, растворителей и др. Заметим, что в зависимости от условий применения одни и те же вещества могут быть реагентами осадко- и гелеобразования. Техника, технология и организация закачки поверхностно-активных веществ достаточно просты. Доля капитальных вложений в систему закачки и хранения ПАВ в общих капитальных вложениях в обустройство не превышает нескольких процентов, а изменение себестоимости добываемой нефти зависит от расходов на реагент, которые составляют около 15% от общей суммы эксплуатационных затрат. Можно выделить следующие технологические этапы и процессы, связанные с внедрением ПАВ: · магистральный транспорт реагента или его составляющих; · централизованное хранение; · доставка к дозировочным установкам или к скважинам; · подготовка скважин, водоводов и другого оборудования к закачке растворов ПАВ; · исследования скважин и пластов; · смешение и подогрев реагентов на дозировочной установке, на скважине либо на других промысловых объектах; · дозировка и подача ПАВ в нагнетаемую воду; · закачка раствора ПАВ в нефтяной пласт; · контроль за процессом закачки и управление им. Кроме этого в промысловых условиях проводятся лабораторные испытания поступающих для закачки реагентов: определение растворимости ПАВ в воде; изменение поверхностного натяжения на поверхности раздела раствор ПАВ—нефть, определение адсорбции ПАВ на поверхности породы. Важно также организовать контроль за концентрацией ПАВ в продукции добывающих скважин, главным образом в водной фазе. Основной вид магистрального транспорта ПАВ от мест производства до нефтедобывающего региона — железнодорожный. Трубопроводный транспорт практически исключается из-за относительно малых объемов перевозки. Например, даже 100%-ное внедрение технологии долговременного дозирований ПАВ типа ОП-10 на объектах поддержания пластового давления крупного нефтяного месторождения связано с расходом нескольких десятков тысяч тонн реагента в год. Импульсная закачка концентрированных растворов ПАВ требует в принципе более высоких темпов доставки, но малая продолжительность процесса также делает нецелесообразным, за редким исключением, сооружение специального трубопровода. Помимо железнодорожного транспорта ПАВ до места потребления могут доставляться, хоть и в меньшей степени, водным, автомобильным и даже авиационным. Поставка осуществляется в цистернах, металлических блоках вместимостью 300 л и в картонных барабанах. Централизованное хранение ПАВ осуществляется либо в пределах нефтедобывающего региона, либо в непосредственной близости от него, например у железной дороги или водной артерии. Централизованная база по хранению, приему и отпуску ПАВ, которая, как правило, обслуживает один нефтяной район, при необходимости оборудуется средствами разогрева и перекачки реагента, обогреваемыми резервуарами и т. д. Запасы, создаваемые на базах хранения, определяются объемом потребления и применяемой на месторождении технологией закачки в соответствии с существующими нормативами. Реагенты, предназначенные для закачки в пласт, могут храниться совместно с другими реагентами либо на специализированных базах. Доставка ПАВ от баз хранения к дозировочным установкам на кустовой насосной станции (КНС) или непосредственно к скважинам, как правило, осуществляется автомобильным транспортом. При внедрении ПАВ на первом этапе заводнения подготовительные работы на промысле сводятся, в основном, к некоторой модернизации процесса освоения нагнетательных скважин, связанной с использованием в этом процессе водного раствора ПАВ. В соответствии с предложениями института БашНИПИнефть, например, при использовании реагента ОП-10, водовод и скважина промываются (по схеме от КНС) 0,05%-ным раствором с расходом 1000—1200 м3 /сут до постоянства концентрации ПАВ и взвешенных частиц в выходящем из скважины потоке. Если же ПАВ внедряется не с начала заводнения, то подготовительные работы более трудоемки, так как внутренняя поверхность водоводов и нагнетательных скважин к моменту закачки раствора ПАВ обычно бывает покрыта солями и продуктами коррозии металла, которые могут быть смыты раствором ПАВ. Чтобы предотвратить связанное с этим снижение приемистости нагнетательных скважин водоводы и скважины промывают вначале слабоконцентрированным раствором соляной кислоты, а затем 0,1 %-ным раствором ПАВ. Перед переходом на закачку с ПАВ целесообразно провести необходимые исследования на скважинах. При необходимости на скважинах с малой приемистостью следует провести необходимые ремонтные работы. Отметим, что с целью оценки эффективности и регулирования процесса заводнения с ПАВ комплекс исследований намечается в течение всего времени подачи ПАВ, в частности измерение устьевых давлений, приемистости по скважине. Исследования с целью построения профиля приемистости, кривых восстановления давления и индикаторных диаграмм проводятся с периодичностью, принятой при обычном заводнении.
Рис. 1 . Технологическая схема подготовки закачки слабоконцентрированного раствора ПАВ: 1 — рабочая емкость для ПАВ; 2 — загрузочный люк; 3 — электронагреватели; 4 — электронагреватели в блочной дозирующей установке; 5—дозировочные насосы; 6—запорно-регулирующая арматура; 7—напорный коллектор от КНС (БКНС); 8—основание блочной установки; 9— станция управления; 10—резервная емкость; 11—эстакада для слива ПАВ Основные технологические операции (смешение, дозировка, закачка) могут быть проведены в двух вариантах: применительно к методу долговременной подачи слабоконцентрированного раствора ПАВ и к методу импульсной закачки растворов ПАВ высокой концентрации. Схема долговременной подачи раствора ПАВ слабой концентрации приведена на рис. 4. Раствор ПАВ по этой технологии закачивается непрерывно в количестве до 1—1,1 объема порового пространства нефтенасыщенной части пласта. При использовании ОП-10 и подобных ПАВ, по рекомендациям института БашНИПИнефть, первая порция закачиваемой среды (0,2% от порового объема) должна быть 0,1°/о-ной, в дальнейшем поддерживается 0,05%-ное содержание реагента. После закачки в пласт раствора ПАВ типа ОП-10 в количестве 0,5% порового объема рекомендуется использовать раствор смеси ПАВ неионогенного и анионного класса.
Рис. 2 . Схема дозаторной установки БДУ-З: 1— насос; 2 — дозаторный насос; 3 — манометр; 4 — электровагреватели; 5 — змеевик; 6—бак; 7—ролики; 8— тележка; 9— бак-смеситель; 10— вентили Основной элемент технологической схемы закачки раствора ПАВ—дозировочная установка (рис. 5), предназначенная для разогрева, слива и приготовления водных растворов высоковязких ПАВ, поступающих на КНС, скважину или другой промысловый объект. Для разогрева реагента (рис. 6) металлические бочки вместе с химреагентом пакуются в камеру установки и нагреваются при помощи блока электронагревателей, что обеспечивает слив разжиженного реагента из предварительно открытых сливных отверстий в нижние баки. Смешение реагента с водой проводится в верхнем баке-смесителе, предварительно заполненном необходимым объемом воды и ПАВ, путем циркуляции в замкнутой цепи «насос, вентиль, смеситель, вентили, насос». Подготовленный таким образом разбавленный до 40—80% раствор ПАВ подается на прием дозирующего насоса и далее в линию закачки с подачей, обеспечивающей получейие необходимой концентрации реагента в нагнетаемой в пласт воде. Дозировка может осуществляться как на прием основных насосов КНС, так и на выкид. В первом случае применяются дозировочные насосы на давление 5— б МПа, во втором—на давление до 20 МПа и более. Описываемая дозаторная установка позволяет подавать ПАВ без предварительного разбавления, а также создавать необходимый запас раствора ПАВ в резервных емкостях. Попеременное подключение емкостей обеспечивает непрерывность процесса.
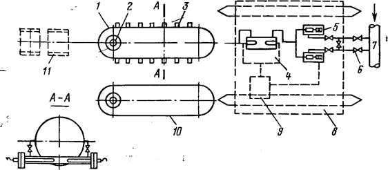
Рис. 3 . Блочная дозировочная установка для подготовки раствора ПАВ: 1— электрошкаф: 2—корпус будки; 3—верхний бак-смеситель; 4—тележка; 5—нижние баки; 6— ролики; 7—электронагреватели; 8— центробежный насос; 9— стенка будки с термоизолирующим материалом; 10 — платформа саней Технология закачки слабоконцентрированных растворов ПАВ связана с многолетними сроками дозирования, требует специального обслуживания, что в условиях автоматического режима работы КНС не всегда удобно. В этом отношении импульсная (разовая) закачка малообъемной оторочки большой концентрации имеет несомненные технологические преимущества, так как реализуется в течение нескольких дней. В Татарии, например, перспективной считается закачка 5%-ных растворов ПАВ типа ОП-10. Принципиально это можно осуществить при помощи тех же технических средств. Еще более концентрированные растворы можно закачивать в скважину по схеме, показанной на рис. 7. По данной схеме синтез и формирование концентрированного раствора ПАВ осуществляется непосредственно в полости скважины и призабойной зоне пласта. Алкилированная серная кислота закачивается в скважину из автоцистерн через приемо-раздаточную гребенку, линию высокого давления и блок манифольдов агрегатами типа 4АН-700. Пенореагент подается в скважину также при помощи агрегатов типа 4АН-700 через приемо-раздаточную гребенку, линию высокого давления и блок манифольдов, в котором происходит контактирование и смешение пенореагента с алкилированной серной кислотой. Линии высокого давления оснащаются обратными клапанами, а блок манифольдов—манометром и предохранительным клапаном. Приемные и нагнетательные линии подвергаются опрессовке под давлением, превышающим рабочее давление нагнетания; линии высокого давления, блок манифольдов и обвязка устья скважины спрессовываются с использованием одной пары агрегатов 4АН-700, а приемные линии — при помощи центробежных насосов.
Рис. 4 . Схема закачки концентрированного раствора ПАВ (АСС) на устье нагнетательной скважины: 1- автоцистерны; 2 — цейтробеждые насосы; 3 — приемо-раздаточвые гребенки; 4 — линии высокого давления; 5—обратные клапаны; 6— манометры; 7—блок манифольдов IБM-700; 8—клапан; 9— задвижка; 10—обвязка устья: 11—скважина; 12— водовод; 13—линия от водовода; 14— -линии для прокачки агрегатов «на себя» При опрессовке высоконапорных линий задвижка 9 и краны блока манифольдов IBM -700 открываются, а центральная устьевая задвижка на скважине закрывается (см. рис. 4). Вода при этом подается на прием агрегатов из водовода или автоцистерны. Давление опрессовки контролируется манометрами. Перед закачкой реагентов в скважину определяется приемистость скважины по воде. Для этого задвижка блока закрывается, а центральная устьевая задвижка скважины открывается; нагнетание воды агрегатом проводится, по возможности, на различных режимах. После исследования приемистости скважины переходят к основному процессу, на первом этапе которого в скважину подается только пенореагент из цистерн при помощи агрегатов. На следующем этапе в скважину закачивается расчетное количество смеси исходных реагентов, а затем снова создается буферный слой из 1—2 м3 пенореагента. Полученная таким образом трехслойная оторочка под высоким давлением проталкивается в удаленную от скважины часть пласта при помощи агрегатов. Количество воды, закачиваемой под высоким давлением, находится из расчета 20 м3 на 1м работающей мощности пласта. На заключительной стадии скважина подключается к кустовой насосной станции системы ППД нефтяного промысла. Надо заметить, что описанный порядок и методика закачки алкилсульфатной смеси является отражением одного из вариантов технологии метода. Оптимальный вариант технологии можно установить после проведения необходимого количества промысловых исследований. Например, при использовании метода циклической или перемежающейся закачки ПАВ, который заключается в многократном чередовании циклов закачки концентрированного раствора ПАВ и воды, оптимальной может быть технология, предусматривающая наличие на объекте закачки (скважина или КНС) определенного полустационарного парка емкостей для химреагентов, либо складирование поступающих в мелкой таре ПАВ. 6. Тепловые методы воздействия на пласт.Для повышения эффективности эксплуатации месторождений, содержащих тяжелые парафинистые и смолистые нефти применяют тепловые методы : закачку нагретой нефти, нефтепродуктов (конденсата, керосина, дизельного топлива) или воды, обработанной ПАВ; закачку пара посредством передвижных парогенераторов; электротепловую обработку с помощью специальных самоходных установок. Нефть или воду нагревают на устье скважины с помощью передвижных установок или электронагревателей. Для эффективного прогрева призабойной зоны пласта необходимо 15-30 м 3 горячих нефтепродуктов или сырой нефти, нагретых до 90-95 °С. Прогрев осуществляют созданием циркуляции (горячей промывкой) или продавливанием жидкости в пласт. При горячей промывке нагретые нефть или нефтепродукты закачивают через затрубное пространство, не останавливая работы скважины по подъемным (насосно-компресорным) трубам. Горячий теплоноситель вытесняет «холодную» жидкость из затрубного пространства до башмака подъемных труб или приема насоса, частично растворяя парафин, отложившийся на стенках эксплуатационной колонны. При такой обработке тепловое воздействие на призабойную зону пласта весьма незначительно. Продавливание горячей жидкости в призабойную зону пласта эффективнее, но требует извлечения скважинного подземного оборудования и спуска насосно-компресорных труб с пакером. Иногда призабойную зону пласта обрабатывают горячей нефтью с поверхностно-активными веществами (10-12 м3 горячей нефти и 80-100 кг ПАВ). По истечении 6-7 часов после обработки скважину пускают в работу. При использовании пластовой воды ее нагревают до 90-95 °С и добавляют ПАВ (0,5-1% объема воды). Приготовленную таким способом воду в количестве 70-80 м3 под давлением закачивают в скважину. Одним из наиболее эффективных методов теплового воздействия на призабойную зону пласта является прогрев ее паром. Перегретый водяной пар закачивают под давлением 8-15 МПа при следующих благоприятных условиях: - глубина продуктивного пласта не более 1200 м; -толщина пласта, сложенного песчаниками и глинами,не менее15 м; - вязкость нефти в пластовых условиях выше 50 мПа*с; - остаточная нефтенасыщенность пласта не менее 50 %; - плотность нефти в пластовых условиях не менее 900-930 кг/м3 . Не рекомендуется проведение паротепловой обработки на заводненных участках в связи с большим расходом тепла. Перед закачкой пара проводят исследование скважин. - замер дебита нефти; - замер дебита газа; - замер дебита воды; - замер пластового давления; - замер температуры; - замер статического уровня. Затем промывают забой, спускают насосно-компресорные трубы с термостойким пакером, который устанавливают над верхними отверстиями фильтра. В неглубоких скважинах (до 500-600 м) паротепловую обработку часто проводят без применения пакера. Для устранения опасных удлинений колонны насосно-компресорных труб при закачке пара в пласт применяют специальное оборудование, состоящее из колонной головки, арматуры устья и скважинного компрессора с телескопическим устройством. Пар для теплового прогрева скважин получают от передвижных паровых установок (ППУ), парогенераторных установок (ПТУ), монтируемых на шасси автомобиля высокой проходимости. Имеются установки производительностью до 5,5 т/ч пара с рабочим давлением до 10 МПа и температурой пара до 315 °С. Также применяют мощные автоматизированные передвижные парогенераторные установки типа УПГ -9/120 с подачей пара до 9 т/ч и рабочим давлением 12 МПа. Установки укомплектованы системой КИП и автоматики. Управление работой оборудования осуществляется из кабины оператора. Парогенераторную установку (одну или несколько) соединяют трубопроводами высокого давления с устьем скважины. Пар из парогенератора своим давлением вытесняет нефть из НКТ и поступает в пласт. После закачки пара (не менее 1000 т) устье скважины герметизируют на 2-5 суток для передачи тепла в глубь пласта. Затем извлекают НКТ, спускают насосное оборудование и скважину вводят в эксплуатацию. Электротепловая обработка скважин осуществляется при помощи электронагревателей, спускаемых в скважину на кабеле-тросе. Скважинный электронагреватель состоит из трех основных узлов: головки, клеменной полости, трубчатых электронагревательных элементов (ТЭН). Головка соединяется болтами с гидрофланцем. Прогрев призабойной зоны пласта обычно проводится в течении 5-7 суток, радиус повышенного температурного поля достигает при этом 1-1,2 м. |



