Реферат: Расчёт электрических цепей
|
Название: Расчёт электрических цепей Раздел: Рефераты по физике Тип: реферат | ||||||||||||||||||||||||||||||||||||||||||||||||||||||||||||||||||||||||||||||||||||||||||
| ЗАДАНИЕ № 1 ЛИНЕЙНЫЕ ЭЛЕКТРИЧЕСКИЕ ЦЕПИ ПОСТОЯННОГО ТОКА В соответствии с вариантом, заданным двумя последними цифрами шифра, указанного в зачетной книжке, выписать из табл. 1.1 и 1.2 условия задачи и выполнить следующее: 1. Начертить схему электрической цепи с обозначением узлов и элементов ветвей, соблюдая требования ЕСКД. 2. Определить и составить необходимое число уравнений по законам Кирхгофа для определения токов во всех ветвях. 3. Определить токи ветвей методом контурных токов и узловых потенциалов и свести их в таблицу. 4. Проверить результаты расчетов по уравнениям баланса мощностей. 5. Определить ток в первой ветви методом эквивалентного генератора. Таблица 1.1
УСЛОВИЯ К ЗАДАНИЮ № 1. Таблица 1.2 ЛОГИЧЕСКОЕ СОДЕРЖАНИЕ ЭЛЕКТРИЧЕСКОЙ ЦЕПИ
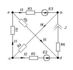
РЕШЕНИЕ: Электрическая схема: Дано:
E2= 22 B; E3 = 23B; J =1A.
Для нахождения количества контуров упростим схему:
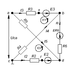
Подставим вместо источника J эдс ER6= 1А· Определим количество узлов и контуров. Узлов = 4; Контуров =4. Составим необходимое количество уравнений по законам Кирхгофа. По первому закону n = У -1 =3; По второму n = К =3. Общее количество уравнений N = 3+5=8. По первому закону Кирхгофа: Узел с: Узел а: Узел b: По второму закону Кирхгофа. Для контура 1:
Для контура 2 :
Для контура 3:
Подставим числовые значения:
Рассчитаем токи методом контурных токов(МКТ). В данной схеме 3 независимых контура. Значит и уравнений будет тоже 2.
Подставим полученные значения в систему уравнений:
Решим уравнения и найдем контурные токи. Выразим
|
||||||||||||||||||||||||||||||||||||||||||||||||||||||||||||||||||||||||||||||||||||||||||
| L1 L2 L3 мгн |
С1 С2 С3 мкф |
R1 R2 R3 Ом |
Й1 Еs 2 Й2 Еs 2 Й3 ES 3 В/град |
г, Гц |
|||||||||||
| 7 |
8 |
7 |
5 |
4 |
5 |
2 |
0 |
8 |
14/45 |
20/0 |
10/60 |
50/30 |
50/0 |
18/90 |
400 |
Таблица 2.2
ЛОГИЧЕСКОЕ СОДЕРЖАНИЕ ЭЛЕКТРИЧЕСКОЙ ЦЕПИ
| Схема электрической цепи |
| a(Ē1 "R1 L1 +Ē2 "C2 +Ē3 'L3 R3 C3 )b |
РЕШЕНИЕ:
Исходные данные
= 2 Ом;
;
=0,007 Гн;
=0,007 Гн;
=4 мкФ;
=5 мкФ;
;
;
.

Составим уравнения по законам Кирхгофа в интегро-дифференциальной и символической формах. Направление токов выберем произвольно.
Перейдем от мгновенных значений ЭДС к комплексам действующих значений.
![]()
![]()
![]()
𝛚=2∙р∙f=2∙3.14∙400=2513.27 рад/с
![]()
![]()
![]()
Интегро-дифференциальная форма.
![]()
![]()
![]()
![]()
Комплексная форма.
![]()
![]()
![]()
![]()
Где
=2+j17.59=17.7∙![]()
= - j∙99.47=99.47∙![]()
=8 – j61.98=62.5∙![]()
3. Определим комплексные действующие токи во всех цепях.
Применим метод узловых потенциалов. Найдем проводимости цепей.



Пусть
, тогда по методу двух узлов(частный случай метода узловых потенциалов) имеем:
![]()

![]()
.
Теперь рассчитаем токи.



Проверим уравнения, составленные по законам Кирхгофа.
1) ![]()
2) ![]()
(
)∙( - j∙99.47)=-16.47-J17.675
![]()
3) ![]()
(![]()
![]()
![]()
4) ![]()
![]()
![]()
![]()
Как видно, все уравнения сошлись.
4. Векторная диаграмма, совмещенная с топографической.
Найдем потенциалы остальных точек.
1) ![]()
![]()
![]()
![]()
2) ![]()
![]()
3) ![]()
![]()
![]()
Небольшие неточности в неравнозначности
связаны с погрешностями расчетов.
Построим диаграмму.

5. Взаимоиндукция.
Обозначим начала катушек и запишем уравнения, составленные по законам Кирхгофа. M – взаимоиндукция.
1) ![]()
2) ![]()
3) 
В символической форме:
1) ![]()
2) ![]()
3) ![]()
6. Определить показание ваттметра.
P=Re[
=![]()
P=U·I·
=
=8.178 Вт.
ЗАДАНИЕ № 3
ПЕРЕХОДНЫЕ ПРОЦЕССЫ
Выписать из табл. 3.1 и 3.2 условия задания и выполнить следующее:
1. Начертить схему электрической цепи с обозначением узлов и элементов ветвей.
2. Рассчитать переходный процесс классическим и операторным методами: т.е. определить для тока в одной из ветвей и для напряжения на одном из элементов ветвей в функции времени.
3. Построить графики переходных процессов в функции времени.
4. Определить энергию, рассеиваемую на одном из резисторов цепи в переходном процессе.
Примечание: символу « K » соответствует разомкнутое состояние ключа до коммутации.
Таблица 3.1
ЗНАЧЕНИЯ ПАРАМЕТРОВ ЦЕПИ
| R1 Ом |
R2 Ом |
R3 Ом |
L1 мгн |
C1 мкф |
L2 мгн |
C2 мкф |
Е В |
| 10 |
2 |
40 |
100 |
10 |
10 |
5 |
12 |
Таблица 3.2
ЛОГИЧЕСКОЕ СОДЕРЖАНИЕ ЭЛЕКТРИЧЕСКОЙ ЦЕПИ
| Схема электрической цепи |
| a(L1 R1 +ER3 +KC1 )b |
РЕШЕНИЕ:
Исходные данные:
R1 =10 Ом; R3=40 Ом ;
E1=12 В; С=10мкФ;
L=100 мГн.

1. Расчет классическим методом.
1) Расчет режима до коммутации (при t = 0_ )
i1
(0_) = i2
(0_)=![]()
i3 (0_)=0
uc (0+ )= 0
по независимым начальным условиям( законам коммутации):
i2
(0+
)= i2
(0_)=![]()
uc (0+ )=uc (0_)=0
2) Составим характеристическое уравнение
Z(p)=
=![]()
![]()
Подставляем числовые значения:
40·10-5
·0.1·p2
+(40·10·10-5
·+0.1)p+50=0![]()
4·10-5 ·p2 +0.104·p+50=0
Найдем корни уравнения:
P1,2=![]()
P1
-636.675c-1
P2
-1963.325c-1
Корни действительные и разные, значит переходной процесс будет апериодическим.
3) Запишем свободную составляющую тока i2
i2
св
(t)=A1
·
+A·
,
где А1, А2 – постоянные интегрирования.
<
, поэтому экспонента с показателем p2
t будет заухать быстрее, чем с показателем p1
t.
4) Расчет установившегося режима после коммутации.
i2
пр = i1
пр=![]()
i3 пр =0
uc
пр
= i2
пр
·
2.4В
5) Свободные составляющие токов напряжений при t=0+ найдем как разницу между переходными и принужденными величинами.
i2 св (0+ )= i2 (0+ ) - i2 пр = 0.24-0.24=0
uc св (0+ )= uc (0+ )- uc пр =0-2.4=-2.4В
по второму закону Кирхгофа для свободны составляющих:
L![]()
=![]()
6) Определим постоянные интегрирования по начальным условиям

Подставим в эти уравнения при ![]()

![]()
Из первого уравнения имеем А1 =-А2
Подставим это выражение во второе и получим А2
-
·p1
+![]()
![]()
A
A
7) Ток i2 (t) найдем как сумму его принужденной и свободной составляющих.
(t)=
+
=
A1
·
+A2
·
=0.24 -0.0180912·
, А
Для проверки подставим в это уравнение
, получим
(
)=0.24А, что совпадает с расчетом по п.1.
2. Расчет операторным методом.

Определим ![]()
Расчет режима до коммутации:
![]()
![]()
![]()
1) Начальные условия:
![]()
![]()
2) Составим систему уравнений по 1 и 2 законам Кирхгофа.

Выразим из 2 уравнения
, из 3 -
и подставим в первое.

![]()

![]()
Т.к.
, то

![]()
Подставим числовые значения.
![]()
Найдем корни уравнения
.
![]()
![]()
![]()
![]()
![]()
Корни действительные и разные. Значит, переходной процесс будет апериодическим.
3) Для перехода от изображения к оригиналу воспользуемся формулой разложения для простых корней.
![]()
В соответствии с этой формулой ток
будет равен:

Напряжение ![]()
4) Определим энергию, рассеивающуюся на
при переходном процессе. Переходной процесс заканчивается примерно при T=4t, где t – наименьший по модулю корень характеристического уравнения.
![]()
![]()
![]()
5) Построим графики переходных процессов.
Для тока ![]()

Для ![]()




, где










