Лабораторная работа: Проверка и регулирование элементов тележки моторного вагона электропоезда
|
Название: Проверка и регулирование элементов тележки моторного вагона электропоезда Раздел: Рефераты по транспорту Тип: лабораторная работа | ||||||||||||||||||||||||||||||||||||||||||||||||||||||||||||||||||||||||||||||||||||||||||||||||||||||||||||||||||||||||||||||||||||||||||||||||||||||||||||||||||||||||||||||||||||||||||||||||||||||||||||||||||||||||||||||||||||||||||||||||||||||||||||||||||||||||||||||
САНКТ-ПЕТЕРБУРГСКИЙ ТЕХНИКУМ ЖЕЛЕЗНОДОРОЖНОГО ТРАНСПОРТА Лабораторные работы. Содержание Лабораторная работа № 1 «Осмотр тележки электропоезда в объёме ТО-1» Лабораторная работа № 2 «Проверка и измерение основных параметров бандажа колёсных пар» Лабораторная работа № 3 «Демонтаж и монтаж бесчелюстной буксы» Лабораторная работа № 4 «Проверка состояния и действия механизма автосцепки с помощью шаблона 940 р» Лабораторная работа № 5 «Определение коэффициента неупругого сопротивления гидравлического гасителя колебания» Лабораторная работа № 6 «Осмотр, проверка и регулирование быстродействующего выключателя» Лабораторная работа № 7 «Проверка и регулирование реле ускорения» Лабораторная работа № 8 «Снятие статических характеристик крышевого токоприёмника» Лабораторная работа № 1 «Осмотр тележки электропоезда в объёме ТО-1» Цель работы: получение навыков при проверке и осмотре основных элементов тележки моторного вагона. Приборы, инструменты: тележка электропоезда ЭР – 1, смотровой молоток, штанга для измерения расстояния между внутренними гранями бандажа. Программа работы: проверка крепления узлов и деталей тележки. Замер между внутренними гранями бандажа.
Вывод: В процессе проведения лабораторной работы были выявлены такие недостатки данной тележки, как отсутствие фрикционного гасителя колебаний с левой стороны тележки, ослабление бандажа с левой стороны тележки 1 колёсной пары, ослабление болта на буксовой крышке с правой стороны тележки 1 колёсная пара, а также получил навыки по работе со штангой для измерения внутренних грань бандажа. Лабораторная работа № 2 «Проверка и измерение основных параметров бандажа колёсных пар» Цель работы: получение навыков при работе с шаблонами по проверке бандажей колёсной пары. Приборы, инструменты: элемент колёсной пары, шаблоны № 315, УТ – 1, У 610, У 610 А, 372. Программа работы: Провести замеры таких параметров, как высоту гребня, толщину гребня, прокат, вертикальный подрез гребня, толщину бандажа.
Высота гребня – расстояние, измеренное по вертикали между вершиной гребня и поверхностью круга катания бандажа. Толщина гребня - расстояние, измеренное по горизонтали на высоте 13мм от поверхности круга катания колеса между двумя точками, лежащими по разные стороны от вершины гребня;
Прокат - измеряется абсолютным шаблоном 315. При измерении вертикальный движок шаблона устанавливают на расстоянии 70 мм от внутренней грани колеса, а шаблон свободно накладывают на обод колеса. Чтобы вертикальный движок установить на расстоянии 70мм от внутренней грани колеса, необходимо поворотом стопорного винта ослабить рамку движка, передвижением последнего по прорези совместить риски на шаблоне и рамке и завернуть стопорный винт. Величину проката отсчитывают по делениям, нанесённым на рамке вертикального движка и риске, имеющейся на самом движке. Если прокат смещён относительно круга, измерительную ножку ставят в месте наибольшего износа. Для выявления наибольшего проката измерения производят в нескольких местах по окружности обода колеса.
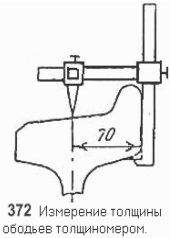
Для измерения толщины гребня применяют абсолютный шаблон 315, который устанавливается так же, как и при проверке проката. Чтобы выявить толщину гребня, нужно горизонтальную измерительную ножку шаблона подвести до соприкосновения с гребнем и на горизонтальной шкале прочесть величину действительной толщины гребня. Вертикальный подрез - гребня является следствием нарушения нормальных условий работы колёсных пар. Подрез гребня особенно часто образуется: у четырёхосных вагонов, имеющих большую разность баз боковых рам тележек; при большой разности диаметров колёс, насаженных на одну ось; если имеется большой зазор между буксами и челюстями, а так же перекос рамы тележки; от несимметричной насадки колёс на оси. Изношенный гребень колеса может вызвать сход вагона с рельсов, в особенности на противошёрстных стрелках. Поэтому к работе под вагонами не допускаются колёсные пары, имеющие вертикальный подрез гребня, верхний край которого находится на расстоянии 18мм и более от поверхности катания колёс. Для выявления вертикального подреза гребня применяют специальный шаблон У 610 А. Колёсную пару бракуют, если вертикальная поверхность движка соприкасается хотя бы только в верхней части с подрезанной поверхностью гребня. Износ по толщине ободьев колёс наблюдается после продолжительной работы колёсных пар в эксплуатации и неоднократных обточек колёс на станке. Измеряют толщину ободьев в наиболее тонком месте шаблоном, называемом толщиномером 372.Для этого ножку шаблона устанавливают на расстоянии 70 мм и толщиномер линейкой плотно прижимают к внутренней грани обода. Затем, двигая движок, подводят ножку к поверхности катания. Цифры, нанесённые на линейке шаблона и совпадающие с указательной чертой на движке, показывают действительную толщину обода с учётом износов на поверхности катания колеса. Вывод: В процессе проведения лабораторной работы я научился проверять и замерять основные параметры бандажей колёсных пар, а также пользоваться шаблонами при измерении. Лабораторная работа № 3 «Демонтаж и монтаж бесчелюстной буксы» Цель работы: получение навыков при монтаже и демонтаже буксовых узлов. Приборы, инструменты: высокочастотный преобразователь ПНТО – 280, высокочастотный индуктор, ось колёсной пары, буксы. Программа работы: горячая посадка внутренних колец, описание последовательности монтажа (демонтажа) элементов буксового узла.
Конструкция. Бесчелюстная букса имеет корпус 2, с четырьмя приливами для крепления тяг. В корпусе буксы размещаются цилиндрические роликовые подшипники 3, 4. Внутренние кольца стягивают гайкой 7, которая стопорится планкой 6. С внутреннего торца букса закрыта кольцом 8 и крышкой 1. Выточки в кольце и крышке образуют лабиринт, предотвращающий попадание в полость буксы пыли, инородных тел и вытекания смазки из буксы. Как с передней стороны буксы, так и с задней под крышки ставится уплотнение из резиновых колец круглого сечения. Пространство в лабиринте задней крышки, между задней крышкой и подшипником, между подшипниками и передней крышкой 5, а также в самих подшипниках заполняется консистентной смазкой ЖРО. Порядок сборки буксового узла. 1. Крепим горячей посадкой лабиринтное кольцо на шейку оси колёсной пары; 2. Крепим горячей посадкой внутреннее кольцо заднего подшипника на шейку оси колёсной пары; 3. Крепим горячей посадкой малое дистанционное кольцо на шейку оси колёсной пары; 4. Крепим горячей посадкой внутреннее кольцо переднего подшипника на шейку оси колёсной пары; 5. Надеваем корпус буксы на шейку оси колёсной пары, предварительно закрепив переднюю и заднюю крышку, вставив в него наружные кольца переднего и заднего подшипника, и ролики, установленные в сепаратор. Между кольцами переднего и заднего подшипника устанавливается большое дистанционное кольцо, а между корпусом и задней крышкой устанавливается прокладка; 6. Устанавливаем упорное кольцо; 7. Наворачиваем на резьбу оси колёсной пары корончатую (торцевую) гайку; 8. Для предотвращения отворачивания корончатой (торцевой)гайки предусмотрена стопорная планка, которую крепим двумя болтами в пазу на торце оси; 9. К передней крышки крепим четырьмя болтами смотровую крышку; 10.после сборки буксы закладываем в неё 2.5 кг. смазки ЖРО. Демонтаж буксы производиться в обратной последовательности. Вывод: В процессе проведения лабораторной работы мы рассмотрели устройство бесчелюстной буксы, а также научились порядку сборки буксового узла. Лабораторная работа № 4 «Проверка состояния и действия механизма автосцепки с помощью шаблона 940 р» Цель работы: проверка работоспособности головки автосцепки СА – 3. Приборы, инструменты: головка автосцепки СА – 3, шаблон 940, вертикальная мерная рейка. Программа работы: 1) проверка работы автосцепки на саморасцеп. 2) проверка работы автосцепки на удержании в расцепленном состоянии. 3) на преждевременные срабатывания предохранителей от саморасцепа. 4) проверка износов элементов автосцепки.
1. Отверстие для размещения клина. 2. Замкодержатель. 3. Предохранитель. 4. Корпус. 5. Замок. 6. Подъёмник 7. Валик подъёмника 8. Упор. 9. Малый зуб 10. Большой зуб.
1) Проверка работы автосцепки на саморасцеп. Для проверки действия предохранителя от саморасцепа шаблон устанавливают перпендикулярно к ударной стенке зева так, чтобы лист шаблона упирался в лапу замкодержателя, а угольник, прикреплённый к листу – в тяговую поверхность большого зуба. Автосцепка годна, если замок при нажатии на него уходит в карман корпуса не более, чем на 20 мм. от кромки малого зуба. 2) Проверка работы автосцепки на удержании в расцепленном состоянии. Этим же шаблоном проверяют, надёжно ли механизм удерживается в расцепленном состоянии. Шаблон устанавливают в положении указанное на рисунке, при помощи валика подъёмника ставят механизм в расцепленное положение, а затем валик отпускают. Автосцепка годна, если механизм удерживается в расцепленном положении, а после прекращении нажатия на лапку шаблоном возвращается в состояние готовности к сцеплению. Механизм автосцепки исправен, так как при этом замок не выходит из кармана корпуса, а после прекращения нажатия на лапу возвращается в состояние готовности к сцеплению. 3) На преждевременные срабатывания предохранителей от саморасцепа.
Шаблоном нажимают лапу замкодержателя. Автосцепка годна – замок при нажатии на него рукой уходит в карман корпуса на величину не менее 7 и не более 18 мм, считая от кромки малого зуба в верхней части замка. Предохранитель исправен, так как замок уходит в карман корпуса на допустимое расстояние (не менее 7 мм. и не более 18 мм. при измерении в верхней части замка). 4) Проверка износов элементов автосцепки.
Проверка износа замка. Если размер выреза в листе шаблона меньше толщины замка, то замок исправен. Замок годен, так как при приложении контрольного выреза шаблона к замку имеется зазор между шаблоном и малым зубом по всей высоте вертикальной кромке замка.
Проверка износа зева. Ширина зева считается нормальной, если шаблон при повороте не проходит мимо носка большого зуба по всей высоте носка. Ширина зева нормальная, так как, предварительно слегка утопив замок, чтобы он не препятствовал правильному расположению шаблона, шаблон при его повороте не проходит мимо большого зуба. Проверка была произведена по всей высоте большого зуба. 5) Износ тяговой поверхности большого зуба и ударной поверхности зева.
Автосцепка исправна, так как шаблон не входит в зев. Проверка была произведена в средней части большого зуба и в двух местах на 80 мм. выше и ниже от середины. 6) Проверка износа тяговой и ударной поверхности малого зуба. Автосцепка неисправна, так как шаблон в верхней части малого зуба соприкасается с боковой стенкой. Контроль осуществляется в средней части малого зуба и в двух местах, отложив по 80 мм. вверх и вниз. Вывод: Автосцепка к дальнейшей эксплуатации не пригодна, так как у этой автосцепки мы наблюдаем износ тяговой и ударной поверхности малого зуба до недопустимой нормы. В связи с чем необходимо эту автосцепку направить на ремонт для наплавки под слоем флюса с последующей проверкой по специальному шаблону. Лабораторная работа № 5 «Определение коэффициента неупругого сопротивления гидравлического гасителя колебания» Цель работы: определить коэффициент β и по нему сделать вывод о исправности ГГК. Приборы, инструменты: гидравлический гаситель колебания, испытательный стенд, электрический секундомер. Программа работы: 1) Установка силы перемещения. 2) Замер скорости перемещения. 3) Расчёт β. 4) Вывод. Растяжение Сжатие Исходные данные: m = 10 кг · 9.8Н/кг = 98 Н. L = 0.9 м. I = 0.1 м. S = 3.0 см = 0.03 м.
Расчёты:
F = m · Ż = β = = m ·
Вывод: В результате проведённых испытаний выявлено, что данный ГГК не пригоден к эксплуатации и требует ремонта, так как его коэффициент неупругого сопротивления превышает нормы установленные инструкцией ЦТЭП 15 “ По содержанию и ремонту ГГК “. По данным расчётам был рассчитан коэффициент неупругого сопротивления 67.84 и 58.8 (кНс/м). Для ГГК типа “Н8” по инструкции ЦТЭП 15 коэффициент неупругого сопротивления равен 30 (кНс/м) Лабораторная работа № 8 «Снятие статических характеристик крышевого токоприёмника» Цель работы: Получение навыков, определение пассивного и активного нажатия. Приборы, инструменты: 1) Токоприёмник типа 10РР2. 2) Динамометр. Программа работы: 1) Снятие пассивного нажатия. 2) Снятие активного нажатия. 3) Определение суммарной силы трения в подшипниковых узлах и шарнирных соединениях. 4) Определение силы нажатия токоприёмника на контактный провод в статическом положении. Содержание: 1)Графики статических характеристик. 2)Таблица. 3) Вывод.
Вывод: Из Инструкции о порядке действия локомотивных бригад и работников дистанций электроснабжения при повреждениях токоприемников, контактной сети и комиссионном их рассмотрении(утверждена МПС России 9 октября 2001 г. № ЦТ-ЦЭ-860)мы установили, что время подъема до максимальной рабочей высоты у токоприёмника 10РР2 должно быть 7 – 12 с (у нас 3 – 10 с),а опускание от максимальной рабочей высоты 5 – 7с. (у нас 11 – 16 с),что не соответствует снятыми нами параметров. Это значит,что данный токоприёмник не может эксплуатироваться без предварительного ремонта. Лабораторная работа № 6 «Осмотр, проверка и регулирование быстродействующего выключателя » Цель работы: получить практические навыки в осмотре быстродействующего выключателя / БВ / и регулировании его тока установки.
На рисунке изображена схема быстродействующего выключателя типа БВП – 5 с электромагнитным удерживающим устройством, применяемого на электровозах ВЛ – 10. Ток уставки срабатывания быстродействующего выключателя данного типа 3100 А. При возникновении короткого замыкания, например – пробой цепи, перекрытии изоляции, круговой огонь по коллектору двигателя, силовая цепь электроподвижного состава должна быть отключена от напряжения контактной сети быстродействующим выключателем, когда ток короткого замыкания / I к.з./ достигнет тока уставки / Iуст/. Срабатывание БВ в этом случае происходит благодаря увеличению магнитного потока размагничивающего витка (на рисунке обозначен пунктирной линией), который ослабляет магнитный поток удерживающей катушки в полюсах магнитопровода (на рисунке обозначен сплошной линией) до такой степени, что он уже не в состоянии удерживать рычаг якоря в притянутом состоянии. Под действием отключающей пружины рычаги подвижного контакта и якоря отрываются от полюсов, силовые контакты размыкаются и после гашения электрической дуги в дугогасительной камере защищаемая цепь тяговых двигателей отключается. Такое срабатывание БВ называется непосредственным аварийным отключением. Время срабатывания от 0.0015 до 0.003 с. Основными элементами БВ являются: контактная система с дугогасительным устройством к которой относятся:подвижный 2 и неподвижный 1 контакты, рычаг 3, который при помощи шарнира 11 связан с рычагом 4, отключающая пружина 12, дугогасительная катушка 6; удерживающий электромагнит 7 имеет якорь 5, закреплённый на рычаге 4, две катушки – удерживающую 9 и размагничивающую 8 (размагничивающий виток), регулировочные винты 10; электропневматический привод включающий в себя пневматический цилиндр 13 с электромагнитным вентилем включающего типа 14, поршень со штоком 15, имеющего на конце ролик 16. Приборы и оборудование: 1. Компрессор Э – 400; 3. Быстродействующий выключатель БВП – 3; 4. Электрическая цепь управления напряжением 50В постоянного тока; 5. Многоамперный генератор, проводимый в движение асинхронным двигателем; 6. Амперметры в силовой цепи и в цепи удерживающей катушки; 7. Потенциометры в цепи возбуждения МАГ и в цепи удерживающей катушки. Программа работы: 1. Осмотр БВ, проверка основных параметров. 2. Подготовка стенда к работе. 3. Снятие зависимости = ƒ(), где - ток уставки БВ, - ток удерживающей катушки, - длина выступающей части регулировочных винтов. Порядок выполнения работы: 1. Осмотр. 1.1 осмотр БВ, найти его основные элементы: силовые контакты, дугогасительную катушку, удерживающую катушку, размагничевающий виток, индуктивный шунт, пневмопривод, регулировочные винты магнитного потока. 1.2 Проверить отсутствие повреждений, состояние контактов, доступных для осмотра блокировок, крепёжных деталей, изоляции кабелей, проводов, гибкого шунта. 1.3 Замерить раствор силовых контактов, их толщину. 2. Исследование зависимости тока уставки () от положения регулировочного винта при заданном токе удерживающей катушки (). 2.1 После нажатия кнопки « Возврат БВ » выставляется значение тока удерживающей катушки в диапазоне 0.42 А. в зависимости от положения регулировочного винта (верхнего) тока уставки будет изменяться из – за увеличения или уменьшения магнитного потока удерживающей катушки. Изменение магнитного потока удерживающей катушки в полюсах БВ, при ввёртывании или вывёртывании регулировочных винтов происходит из-за изменения сечения в железе магнитопровода. 2.2 Снимается зависимость = ƒ(), где - длина выступающей части регулировочных винтов. Верхний винт необходимо вывинчивать в четыре этапа – 20 мм, 30 мм, 40 мм, 50 мм, при обесточенном токе в удерживающей катушке. На каждом из этих этапов снимается зависимость = ƒ(). 2.3 Полученные значения тока уставки заносятся в таблицу. Таблица. Влияние регулировочных винтов на ток уставки быстродействующего выключателя.
Вывод: При вывинчивании регулировочных винтов, уменьшается сечение магнитопровода, сопротивление магнитного потока возрастает, ток уставки снижается, а при ввинчивании – сечение магнитопровода увеличивается, сопротивление магнитного потока снижается, ток уставки возрастает. Лабораторная работа № 7 «Проверка и регулирование реле ускорения » Цель работы: проверка исправности реле ускорения и получения навыков в его регулировании. Реле ускорения / РУ / предназначено для автоматического управления работой силового реостатного контроллера в период пуска электропоезда. РУ обеспечивает переход реостатного контроллера с одной позиции на другую, при котором средний пусковой ток / / поддерживается постоянным. Постоянный средний пусковой ток обеспечивает постоянную силу тяги / Fт / электропоезда и соответственно постоянное пусковое ускорение, что в свою очередь приводит к наилучшему использованию коэффициента сцепления колёс с рельсом и обеспечивает комфорт пассажиров при разгоне электропоезда. Реле ускорения имеет две катушки – силовую и подъёмную. Силовая катушка 20 (рис.1) включена последовательно в цепь ТД, а подъёмная катушка 8 (рис.2) находиться в цепи управления напряжением 50 В. Силовая и подъёмная катушка включены согласована. Реле ускорения отрегулировано так, что его якорь отпадает, когда ток в силовой катушке при увеличении скорости вращения ТД в период пуска снижается до величины . Это снижение тока двигателя происходит в результате увеличения ЭДС вращения (против ЭДС) из-за увеличения скорости вращения якоря тягового двигателя n в период пуска Е=сnФ. В промежутке между и Приборы и оборудование: 1. Реле ускорения Р – 40; 2. Многоамперный генератор, приводимый в движение асинхронным двигателем; 3. Электрическая цепь управления напряжением 50 В постоянного тока; 4. Амперметр; 5. Потенциаметр.
Программа работы: 1. Проверка наличия и исправности всех элементов реле ускорения. Осмотреть реле, обратить внимание на следующие его элементы: магнитную систему, силовую 1 (рисунка 9А и 9Б) и подъёмную 2 катушки, якорь 3, регулировочные винты 4 5, возвращающую пружину 6. Якорь при перемещении в рабочем диапазоне не должен касаться ограничивающих планок 7. Обратить внимание на зазор: зазор А между внутренней поверхностью отверстия в якоре и наружной поверхностью штифта 8 должен быть не более 1 мм; зазор Б между планкой и якорем – 0,4 мм до 0,6 мм; при притянутом якоре зазор между ним и рамой магнитопровода должен находиться в пределах 5 – 6 мм 2. Исследование зависимости тока трогания реле ускорения от величины воздушного зазора между не притянутом якорем и сердечником магнитопровода (зазор ) при заданном токе подъёмной катушки. Собирается цепь питания подъёмной катушки путём включения ВУ 2 и постановкой переключателя П 2 в положение «РУ»(рисунок 2). Нож силовой цепи 3 (рисунок 1) установить в положение «РУ». Переключатель П 1 необходимо поставить в положение «ШИ 2» и выставить заданное преподавателем фиксированное значение тока
3. Исследование зависимости тока отпадания реле ускорения от регулируемого зазора. Собирается цепь подъёмной катушки. Ток в подъёмной катушке выставляется по задании преподавателя. Положение призмы натяжения пружины ставиться в положение «Исходное». Изменяя зазор, при каждом его значении от минимального до максимального производятся замеры тока отпадания. Полученные данные заносятся в таблицу.
Вывод: Уставку реле ускорения Р – 40 можно регулировать изменением тока подъёмной катушки и натяжением отключающей пружины, а ток трогания изменением зазора между якорем и сердечником магнитопровода. |
||||||||||||||||||||||||||||||||||||||||||||||||||||||||||||||||||||||||||||||||||||||||||||||||||||||||||||||||||||||||||||||||||||||||||||||||||||||||||||||||||||||||||||||||||||||||||||||||||||||||||||||||||||||||||||||||||||||||||||||||||||||||||||||||||||||||||||||












, F = 98 ·
, β =
, F = 98 ·


