Курсовая работа: Розрахунок і проектування зубчато-пасового приводу
|
Название: Розрахунок і проектування зубчато-пасового приводу Раздел: Промышленность, производство Тип: курсовая работа | ||||||||||||||||||||||||||||||||||||||||||||||||||||||||||
Міністерство освіти та науки України Національний Технічний Університет “ХПІ” Кафедра деталей машин і прикладної механіки КУРСОВА РОБОТА “Розрахунок і проектування зубчато-пасового приводу” Виконав: ст. групи Перевірив: Харків, 2006 1. Вибір електродвигуна Вихідні дані:
1.1 Визначення загального ККД привода:
де m – число пар підшипників. 1.2 Визначення необхідної потужності ЕД.:
1.3 Визначення частоти обертання двигуна в першому наближенні:
Використовуючи таблицю 2 [1], вибираємо електродвигун 4А100S4У3;
1.4 Розбиваємо загальне передатне відношення між передачами:
Приймаю 1.5 Заповнюю таблицю 1: Таблиця 1
в I
= 5,88 × 2. Розрахунок пасової передачі Вихідні дані (із таблиці 1):N1 = 4,9 кВт; n1 = 1445 об/мин; Up = 2,0; T1 = 32,4 H×м. 2.1 По таблиці 2.12[1] вибираю перетин паса, використовуючи передостанній стовпець T5 , так щоб значення Т1 було більше. Виходячи з цього, вибираю нормальний тип паса – А; bp = 11 мм; y0 = 2,8 мм; h = 8 мм; dpmin = 90 мм; b0 = 13 мм;q = 0,10 кг/м. 2.2 З метою підвищення довговічності приймаю мінімальний розрахунковий діаметр шківа не 90 мм, а наступне за ним стандартне значення, тобто: dp1 = 100 мм. 2.3 Обчислюю розрахунковий діаметр відомого шківа: dp2 = dp1 × Up (1 – s ),де s = 0,02; dp2 = 100 × 2,0(1-0,02) = 196 мм; з таблиці 2,21 [1] вибираю найближче стандартне значення, тобто dp2 = 200 мм. 2.4 Обчислюю колову швидкість паса:
2.5 Обчислюю міжосьову відстань пасової передачі в першому наближенні:
2.6 Визначаю розрахункову довжину паса в першому наближенні
2.7 Визначаю довжину паса в другому наближенні з умови числа пробігів, що допускається:
Приймаємо довжину паса з умов довговічності:
2.8 Обчислюю міжосьову відстань, що відповідає другому стандартному значенню
2.9 Визначаю мінімальну й максимальну міжосьові відстані, що відповідають вимогамексплуатації. 2.10 Обчислюю кут обхвату на ведучому шківі a1
= 180°– 60° 2.11 Визначаю еталонну довжину ременя, стор. 28 табл 2.15 [1] L=1600 мм 2.12 По табл. 2.19 [1] визначаємо коефіцієнт CL методом інтерполяції. CL =0,977 2.13 Вихідна потужність при dp1 =100 мм та VT =7,5 м/с дорівнює (по табл. 2.15) N0 = 1,275 кВт –методом інтерполяції 2.14 Коефіцієнт кута обхвату Сa визначаю по таблиці 2.18 [1] Сa = 0,97 2.15 Виправлення до обертального моменту на передатне відношення, табл. 2.20 [1] DTu = 1,1(H×м) 2.16 Виправлення до потужності: DNu = 0,0001×DTu ×nед = 0,0001×1,1×1445 = 0,16 кВт 2.17 Коефіцієнт режиму роботи (по табл. 2.8): Cp =0,73 2.18 Визначаю допуск. потужність на один пас: [N] = (N0 ×CL ×Ca +DNu )×Cp = (1,275×0,997×0,97+0,16)×0,73 = 1,005 кВт 2.19 Визначаю число пасів: 2.20 Коефіцієнт числа ременів стор.28 [1]: CZ =0,95 2.21 Дійсне число пасів у передачі дорівнює: 2.22 Визначаю силу початкового натягу одного клинового паса по формулі:
2.23 Визначаю зусилля, що діє на вали передачі по формулі:
2.24 Розміри ободів шківів визначаю з таблиці 2.21 Lp =11 мм; h=8,7 мм; b=3,3 мм; e=15±0,3 мм; f=10 r=1,0 мм; hlmin =6 мм;a2 =38о 2.25 Зовнішні діаметри шківів визначаю по формулах:
2.26 Ширину обода шківів визначаю по формулі:
3. Розрахунок зубчастої передачі 3.1. Вибір матеріалу й розрахунок допустимих напружень. 3.1.1 По таблиці 3.12[1] вибираємо характеристики матеріалу. Твердість колеса повинна бути на 30 – 40 одиниць НВ менше твердості шестірні.
3.1.2. Визначаю допустимі напруження згину для шестірні
3.1.3. Визначаю допустимі напруження згину для колеса.
3.1.4. Визначаю допустимі напруження згину на шестірні, що діє при максимальних зусиллях.
3.1.5. Визначаю допустимі навантаження на колесо при дії максимального зусилля:
3.1.6. Визначаю допустимі контактні навантаження для шестірні:
3.1.7. Визначаю допустимі контактні навантаження для колеса:
SH2 =1.2; ZR =0.95; KHL2 =1.0; Zv =1.0; 3.1.8. Допустимі контактні навантаження
3.2 Проектний розрахунок зубчатої передачі. 3.2.1 Вихідні дані з таблиці №1 стовпець «Вхідний вал І» N1
= 4,65 кВт n1
= 722,5 об/хв. T1
= 61,46 H×м 3.2.2 3.2.3 Визначаю орієнтовно колову швидкість:
3.2.4 Приймаю коефіцієнт ширини вінця
3.2.5 Коефіцієнт розподілу навантаження по ширині вінця, береться по малюнку 3.14 [1]
3.2.6 інтерполяції 3.2.7 ZM =275 МПа1/2 – коефіцієнт, що враховує механічні властивості матеріалу: 3.2.8 ZH
=1,76×cos 3.2.9 Приймаємо кількість зубців першої шестерні Z1 =21, тоді Z2 =Z1 ×UЗ =86,73 приймаємо Z2 =87 3.2.10
3.2.11 Визначаю наближене значення коефіцієнта торцевого перекриття
3.2.12 Підставляю отримані значення у вихідну формулу і визначаю мінімальний діаметр початкового кола шестірні:
3.2.11. Визначаю модуль зачеплення в першому наближенні:
Отриманий результат округляю у більшу сторону до найближчого стандартного значення по табл. 9, отже m=1.5 3.2.12 Визначаю ширину вінця b = ybd ×d1 = 40.32мм У результаті проведення проектувального розрахунку одержуємо: Z1 = 21 m = 1.5Z2 = 87bW = 40.32 мм 3.3. Геометричний розрахунок зубчастої передачі. 3.3.1 Визначаю ділильний кут профілю в торцевому перетині:
3.3.2 Визначаю кут зачепленню передачі:
Приймаю X1
= X2
=0 , тобто корекція зубцюватої пари відсутня 3.3.3 Визначаю міжосьову відстань:
3.3.4 Обчислюю діаметри ділильного кола шестірні й колеса:
3.3.5 Обчислюємо діаметри вершин зубів шестірні й колеса
3.3.6 Обчислюю колові діаметри западин
3.3.7 Обчислюємо діаметри основних кіл шестірні й колеса
3.3.8. Кут профілю зуба в крапках на колах вершин:
3.3.9 Обчислюємо складові коефіцієнта торцевого перекриття:
3.3.10 Визначаю коефіцієнт торцевого перекриття 3.3.11 Осьовий крок перекриття дорівнює 3.3.12 Визначаю коефіцієнт осьового перекриття 3.3.13 Сумарний коефіцієнт перекриття 3.3.14 Еквівалентні числа зубів передачі
3.3.15 Визначаю колову швидкість передачі V = 3.4. Перевірочний розрахунок зубчастої передачі 3.4.1. Перевірочний розрахунок зубчастої передачі на контактну витривалість В основу розрахунку покладена залежність:
деZM
= 275 МПа1/2
ZH
= 1,76
Умова не виконується.!!!! 3.4.2 Перевірка циліндричної зубцюватої пари на витривалість при вигині. В основу розрахунку покладена залежність:
деКA =1.0 - коефіцієнт режиму роботи
вигині. Визначається по мал. 3.14(д ), стор. 73 для шостої схеми в залежності від
Усі складові підставляю у вихідну формулу і знаходжу:
Умова виконується. 3.4.3 Перевірочний розрахунок зубцюватої пари на міцність, при дії максимального навантаження.
Усі складові підставляю у вихідну формулу і знаходжу:
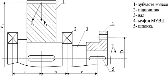
Умова виконується. 4. Розрахунок вихідного вала на міцність
4.1 Статичний розрахунок вала Вихідні данні N = 4.5 кВт n = 175 об/хв T = 245,6 H×м Dmin = 45мм D2 = 130.5мм bW = 40.32мм 4.1.1 Визначаємо реакції зусиль у зачепленнях
4.1.2 Визначаємо діючі навантаження та вигибаючи моменти: a = b = 80 мм
де:
4.1.3. Визначаємо розрахунковий діаметр вала в небезпечному січенні:
По таблиці 1 DIImin = 45мм Приймаємо в = 45 мм У першому наближенні беремо СТ-45 у табл 5.1 стор.169 4.1.4 Визначаємо осьовий та радіальний моменти опору по табл 5.9 стор.183, користуючись лише діаметром вала. Wo =7800 мм3 Wp = 16740 мм3 4.1.5 Коефіцієнт перевантаження: 4.1.6 Визначаємо максимальні згінні та дотикові напруги
4.1.7 Визначаємо статичні запаси міцності вала З таблиці 5.1[1] беремо характеристики сталі:
4.1.7 Загальний запас міцності
4.2 Розрахунок вала на витривалість 4.2.1 Визначаємо еквівалентну кількість циклів навантаження
Приймаємо базову кількість циклів навантаження
4.2.2 Визначаємо коефіцієнт довговічності
4.2.3 Визначаємо амплітудне та середнє значення навантаження
з таблиці 5.12 вибираємо значення коефіцієнтів концентраторів напруги для шпоночного паза 4.2.4 Визначаємо поправочні коефіцієнти в залежності від діаметра вала (із таблиці 5.16)
4.2.5 В залежності від класу точності та марки матеріалу по табл 5.14 знаходимо 4.2.6 Визначаємо дійсні коефіцієнти концентраторів напруги
4.2.7 Визначаємо запас міцності з таблиці 5.1
4.2.8 Визначаємо загальний запас міцності
5. Розрахунок підшипників кочення 5.1 Розрахунок підшипника на статичну вантажопідйомність Вихідні данні з 4.1.2 5.1.1 Радіальна сила
5.1.2 Вибираємо підшипники котіння по внутрішньому діаметру, використовуючи середню серію (табл.15 стор.256) Вибираємо підшипник № 309
5.1.3 Визначаємо вантажопідйомність підшипника
5.2 Розрахунок підшипника на довговічність 5.2.1 Визначаємо еквівалентне динамічне навантаження
де
5.2.2 Вираховуємо строк роботи підшипника у годинах
6. Розрахунок з'єднань 6.1 Розрахунок шпоночних з'єднань 6.1.1 Вибираємо шпонки згідно з діаметром валу, користуючись табл.5.19 стор.190
6.1.2 Перевіряємо міцність на зім'яття
6.2 Розрахунок нерівномірно навантажених болтів 6.2.1 Вираховуємо перекидаючий момент
де
6.2.2 Використовуючи формулу 8.18 стор.228[1], визначаємо максимальне навантаження, що діє на болти.
де
до першого другого та третього болта 6.2.3 Визначаємо розрахункове навантаження, що діє на болти.
де
6.2.4 По розрахунковому навантаженню визначаємо внутрішні діаметр болта.
де де Приймаємо в = 10 мм. 7. Мастило 7.1 Кількість рідкої змазки вибираємо з розрахунку0.35…..0.7 Кількість рідкої змазки визначаємо січенням внутрішньої порожнини редуктора та глибиною масляної ванни. Для змащування закритих передач використовується рідка змазка типа машинної, в'язкістю 20-30 сантистокс. Література 1. Н.Ф.Киркач, Р.А.Баласанян "Расчет и проектирование деталей машин", Харьков, "Основа" 1991. |

=343 МПа
=206 МПа





МПа


м
приймаємо 

м