Реферат: Электромагнитные поля и волны
|
Название: Электромагнитные поля и волны Раздел: Рефераты по физике Тип: реферат |
|
Задача №1 Дано: вектор напряжённости электрического поля в воздухе изменяется по закону –
где Е0 =5мВ/м; 10 м-1 ; 40 м-1 ; f =*106 рад/с задано согласно варианта. Решение. Для нахождения вектора напряжённости магнитного поля воспользуемся вторым уравнением Максвелла в дифференциальной форме [1],[2]: В воздухе векторы напряжённости магнитного поля и магнитной индукции связаны материальным уравнением
Вектор напряжённости электрического поля является гармонической функцией времени поэтому можно записать:
Комплексная амплитуда вектора напряжённости электрического поля:
Учитывая, что комплексная амплитуда вектора напряжённости электрического поля имеет лишь одну составляющую
Представим комплексный вектор (5) в показательной форме:
Выразим из (3) комплексную амплитуду вектора напряжённости магнитного поля:
Представим (7) в показательной форме:
Определим мгновенное значение вектора напряжённости магнитного поля по формуле:
Следовательно, амплитуда напряжённости магнитного поля в начале координат будет равна:
где 0 = 1,256*10-6 Гн/м магнитная постоянная Начальную фазу определим по формуле:
Окончательно (9) примет вид:
По определению вектор Пойтинга находится как векторное произведение векторов электрического и магнитного полей [1], [2]:
Рис.1 К определению вектора Пойтинга.
Учитывая, что векторное произведение ортов
Тогда согласно (13) амплитуда вектора Пойтинга в начале координат будет равна:
Среднее за период значение вектора Пойтинга находится по формуле:
Таким образом, вычислим среднее значение вектора Пойтинга: Задача№2
Дано: R1 =2 мм; R2 =7 мм; R3 =8 мм; I = 5мА. Решение. Введём цилиндрическую систему координат, с осью аппликат, направленной вдоль оси волновода. Напряжённость магнитного поля имеет отличную от нуля азимутальную компоненту, модуль которой зависит лишь от расстояния до оси волновода т.е:
Воспользуемся первым уравнением Максвелла в интегральной форме [1],[2]:
Интеграл в левой части (18) может быть найден для произвольного кругового контура по формуле, выражающую зависимость напряжённости магнитного поля от расстояния от центра волновода:
Плотность тока в диапазоне 0 <r R1 внутреннем проводнике равна:
Для определения напряжённости магнитного поля введём контур L1, радиус которого лежит в указанном диапазоне расстояний , тогда контур охватывает ток:
Приравняем (19) и (21) и выразим магнитную напряжённость и индукцию и получим для r1 =0,5R1 :
где для меди, относительная магнитная проницаемость Запишем (22) в векторной форме:
В диапазоне расстояний R1< r < R2 контур L2 охватывает полный ток внутреннего проводника (I2 = I). Напряжённость и индукцию магнитного поля на расстоянии r2 = (R1+R2)/2=4,5мм определим аналогично (22):
Или в векторной форме:
Внутри внешнего проводника R2< r < R3 плотность тока определяется как:
Контур L3 охватывает ток , равный сумме полного тока во внутреннем проводнике и части тока во внешнем проводнике, взятом с противоположным знаком: I3 I - I* (27) Часть тока находится по формуле:
Подставим (28) в (27) и приведём к общему знаменателю:
Приравняем (19) и (29) получим: Из (30) выразим напряжённость и индукцию и запишем сразу в векторной форме для r3 = (R3+R2)/2=7,5мм :
В диапазоне расстояний I4 I -I 0. (31) Итак, H=B=0, - магнитное поле вне волновода отсутствует.
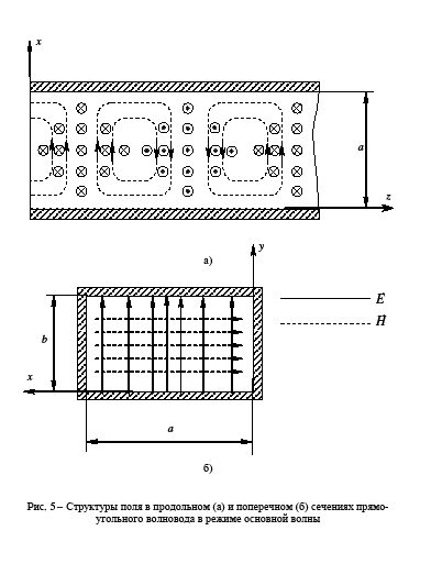
Задача№3 Дано: Размеры волновода Решение. 1. Волной первого высшего типа в прямоугольном волноводе является волна Н20 , поэтому условия одноволнового режима имеют вид:
они являются частотными границами. Здесь с=3*108 м/с – скорость света. 2. Поверхностное сопротивление и характеристическое сопротивление заполнения определяются из выражений:
Коэффициент ослабления в волноводе находится по формуле:
где 59,5*106 См/м - удельная проводимость меди; относительная магнитная проницаемость меди; а =0 = 8,85*10-12 *1 = 8,85*10-12 Кл/(В*м) – абсолютная диэлектрическая проницаемость воздуха внутри волновода.
для f=2,08ГГц прировняв первую производную по частоте к нулю получим, что Воспользуемся программой Maple для построения графика.
Рис.4. 3. Определим параметры основной волны для частоты f = 1,25 Коэффициент ослабления за счёт омических потерь в стенках волновода:
Коэффициент фазы:
Длина волны в волноводе:
Фазовая скорость и скорость переноса электромагнитной энергии соответственно:
Характеристическое сопротивление равно:
5.Частота волн и их длина равны:
Проверим условие кр для разных мод
Следовательно, могут распространятся на этой частоте волны только типа 10. Список используемых источников 1. Ю.В. Пименов, В.И. Вольман, А.Д. Муравцов «Техническая электродинамика», М: «Радио и связь», 2000 г. – 536 с. 2. Никольский В.В. Электродинамика и распространение радиоволн. – М: «Наука» 1973г – 607с. |



(5)
(7)
(8)
(9)
(10)
(13)
(14)
(15)
(16) 
(19)


(32)
(33)
=
(35)
(36)
(37)
(38)
(39)
(40)

