Реферат: Лекции по двигателям
|
Название: Лекции по двигателям Раздел: Промышленность, производство Тип: реферат |
Карбюраторные и дизельные двигатели В данном разделе речь пойдет о карбюраторных и дизельных двигателях, работающих на жидком топливе. Для работы карбюраторных двигателей необходим бензин, для работы дизельных – дизельное топливо. КПД этих двигателей составляет 20%. Рассмотрим подробнее устройство каждого из двигателей. Карбюраторные поршневые двигатели. К составляющим карбюраторного поршневого двигателя относятся:
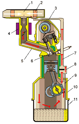
А теперь рассмотрим принцип работы на примере одноцилиндрового карбюраторного двигателя. Его устройство представлено на рисунке 1.1.
В цилиндре (2) со съемной головкой (1) находится поршень (3), в специальные канавки справа и слева помещены поршневые кольца (4). Кольца скользят по поверхности цилиндра, не давая образующимся газам вырваться вниз и препятствуя попаданию наверх масла. Поршневой палец (5) и шатун (6) соединяют поршень с кривошипом коленчатого вала (9). Он вращается в подшипниках, которые расположены в картере двигателя. На конце коленчатого вала (7) укреплен маховик (8). Когда кулачки распределительного вала (11) находят на рычаги (12), клапаны (13) открываются. При этом, через впускной клапан проходит горючая смесь (бензин и воздух), а через выпускной выходят отработанные газы. Закрываются клапаны под воздействием пружин, когда кулачки сбегают с рычагов. В движении коленчатый вал и кулачки приводятся с помощью коленчатого вала. Свеча зажигания (14) расположена в резьбовом отверстии головки цилиндра (1). Между ее электродами проскакивает искра и воспламеняет горючую смесь (см. выше). Вот основные принципы работы одноцилиндрового карбюраторного двигателя.Также существуют показатели, которые используются для оценки двигателей (рисунок 1.2).
ВМТ и НМТ – верхняя и нижняя «мертвая» точка, соответственно. Эти показатели характеризуют положение поршня, при котором он удален от оси коленчатого вала.S – ход поршня. Путь от одной «мертвой» точки до другой.Vс — объемом камеры сгорания. Это объем над поршнем, когда он находится в ВМТ.Vр — рабочий объем цилиндра. Тот объем, который освобождает поршень, перемещаясь от верхней «мертвой» точке к нижней.Vп – полный объем цилиндра. Показатель, который исчисляется суммированием объема камеры сгорания и рабочего объема цилиндра.При сложении рабочих объемов всех цилиндров мы получаем рабочий объем двигателя. Мы рассмотрели работу двигателя с одним цилиндром, но современные машиностроительные заводы выпускают двигатели с количеством цилиндров 4, 6, 8, 12. Рабочий цикл четырехтактного карбюраторного двигателя Чтобы заставить вращаться ведущие колеса автомобиля двигатель должен пройти так называемый рабочий цикл. Двигатель автомобиля совершает этот цикл за четыре такта (схема представлена на рисунке 1.3):
Первый такт – впуск горючей смеси (рис. 1.3а). Клапан открывается, горючая смесь заполняет цилиндр, смешивается с остатками газов и превращается в рабочую смесь. Второй такт — сжатие рабочей смеси (рис. 1.3б). Клапаны закрыты, следовательно, рабочая смесь сжимается, температура газов повышается. Если оценить это в цифрах, то мы получим следующие величины: давлении в цилиндре составит 9-10 кг/см2, температура газов – 400оС. Третий такт — рабочий ход (рис. 1.3в). На этом этапе сгорает рабочая смесь, в результате происходит выделение энергии, которая превращается в механическую работу. Расширяющиеся газы создают давление на поршень, далее через шатун и кривошип на коленчатый вал. Под силой давления коленчатый вал и ведущие колеса автомобиля начинают вращаться. Четвертый такт — выпуск отработавших газов (рис. 1.3г). Поршень совершает движение от ВМТ к НМТ, при этом открывается выпускной клапан, и отработанные газы выходят из цилиндра. Мы рассмотрели четыре такта работы двигателя. Только в ходе третьего такта (рабочего хода) совершается полезная механическая работа. А первый, второй и четвертый – это подготовительные процессы. Этим процессам способствует кинестетическая энергия маховика (рисунок 1.4), который вращается по инерции
Металлический диск, закрепленный на коленчатом валу, и называется маховик. Во время третьего такта, коленчатый вал, раскрученный поршнем через шатун и кривошип, передает запас инерции маховику. В свою очередь, под действием энергии, отдаваемой маховиком, поршень движется вверх (выпуск и сжатие) и вниз (впуск). Т.е. подготовительные такты в обратном порядке осуществляются только за счет запасов инерции в массе маховика через коленчатый вал, шатун и поршень. Теперь перейдем к рассмотрению дизельных двигателей. Дизельные двигатели Главным отличием дизельных двигателей от карбюраторных является отсутствие свечей и системы зажигания. Это связано с высоким давлением, под которым подается топливо непосредственно в цилиндр при помощи форсунки, и высокой температурой. Поэтому топливо воспламеняется само. Таким образом система зажигания не нужна.. Главной особенностью работы дизельного двигателя является то, что топливо подается форсункой или насос-форсункой непосредственно в цилиндр двигателя под большим давлением в конце такта сжатия. Необходимость подачи топлива под большим давлением обусловлена тем, что степень сжатия у таких двигателей в несколько раз больше, чем у карбюраторных. И так как давление и температура в цилиндре дизельного двигателя очень высоки, то происходит самовоспламенение топлива. А это означает, что искусственно поджигать смесь не надо. Поэтому у дизельных двигателей отсутствуют не только свечи, но и вся система зажигания. Рабочий цикл четырехтактного дизельного двигателя Первый такт – впуск. Цилиндр двигателя наполняется через впускной клапан воздухом. Второй такт – сжатие. Здесь идет подготовка к воспламенению топлива. Поршень при движении от ВМТ к НМТ сжимает воздух, давление над поршнем становится равным 40 кг/см2, температура – более 500оС. Третий такт — рабочий ход. Дизельное топливо через форсунку под давлением поступает в камеру сгорания, где и происходит его воспламенение за счет высокой температуры сжатого воздуха. Во время третьего такта давление в цилиндре 100 кг/см2, а температура свыше 2000оС. Четвертый такт – выпуск отработавших газов, Поршень от НМТ совершает движение к ВМТ, выпускной клапан открывается, отработанные газы выходят из цилиндра. Размеры, масса и стоимость дизельного двигателя значительно больше бензинового за счет высоких нагрузок на рабочие механизмы. Но есть неоспоримый плюс таких двигателей:
В дизельном двигателе, нагрузки на все механизмы и детали значительно больше, чем в карбюраторном бензиновом, и это закономерно приводит к увеличению его массы, размеров и стоимости. Однако дизельный двигатель имеет и неоспоримые преимущества — меньший расход топлива, чем у его карбюраторного «брата» (приблизительно на 30%), а также отсутствие системы зажигания, что значительно уменьшает количество возможных неисправностей при эксплуатации. Кривошипно-шатунный механизм Одной из его составляющих одноцилиндрового двигателя является кривошипно-шатунный механизм. Он необходим для того, чтобы происходило преобразование возвратно-поступательного движения поршня в цилиндре во вращательное движение коленчатого вала. Рассмотрим устройство этого механизма подробнее на примере четырехцилиндрового двигателя автомобиля ВАЗ 2106 (рисунок 2.1).
Рис. 2.1 Общий вид четырехцилиндрового двигателя на примере автомобиля ВАЗ 2106а) продольный разрез; б) поперечный разрез1 — блок цилиндров; 2 — головка блока цилиндров; 3 — поддон картера двигателя; 4 — поршни с кольцами и пальцами; 5 — шатуны; 6 — коленчатый вал; 7 — маховик; 8 — распределительный вал; 9 — рычаги; 10 — впускные клапаны; 11 — выпускные клапаны; 12 — пружины клапанов; 13 — впускные и выпускные каналы Деталями кривошипно-шатунного механизма являются:
Блок цилиндров (1) – это основа двигателя. В нем расположено множество литых каналов, сверлений, заглушек, подшипников. Блок цилиндров объединяет все цилиндры, а также шатунно-поршневую систему. Здесь происходит вращение коленчатого вала. По внутренней системе блоков проходят масляные каналы системы смазки двигателя, и циркулирует жидкость системы охлаждения. Навесное оборудование (большая часть) также крепится на блоке цилиндров. У нижней части блока имеется свое название – картер. Далее по схеме — головка блока цилиндров (2), которая крепится непосредственно к самому блоку цилиндров. Головка является местом расположения свечей, клапанов и камеры сгорания. Здесь же происходит вращение распределительного вала с кулачками. В головке блока, в свою очередь, тоже имеются полости, водяные и масляные каналы. Что касается шатунно-поршневой группы, то принцип ее работы был рассмотрен в первой части, так что не будем останавливаться на этом еще раз.Как и любой другой механизм кривошипно-шатунный в процессе эксплуатации имеет свойство ломаться. Любая неисправность имеет свою причину. Приведем примеры:
Для того, чтобы устранить вероятность возникновения неисправностей двигателя, необходимо производить профилактические действия в ходе эксплуатации автомобиля. А именно: своевременно менять масло, фильтры и др. и не пренебрегать рекомендациями, которые дает завод-изготовитель. Существуют причины, в результате которых рабочий ресурс двигателя может уменьшиться. Во-первых, это перегрузка. Не нагружайте багажник автомобиля или салон «под завязку», иначе срок эксплуатации двигателя может сократиться. Во-вторых, двигаясь на максимальной скорости, которую только может развить автомобиль, вы также способствуете сокращению срока службы двигателя. Одно дело проехать со скоростью 150 км/ч пару километров подряд, другое – десятки. В-третьих, чистота двигателя. Двигатель необходимо регулярно (хотя бы 2 раза в год) мыть специальными средствами, заправлять автомобиль качественным бензином и маслом, вовремя менять фильтры. Газораспределительный механизм Следующий механизм в устройстве автомобиля, который мы будем рассматривать — газораспределительный механизм. При помощи него происходит своевременный впуск горючей смеси и выпуск отработанных газов. Составляющие механизма:
Распределительный вал находится наверху головки блока цилиндров. Составляющими механизмами распределительного вала являются кулачки, расположенные над клапанами (впускным и выпускным). Для каждого клапана свой кулачок. Во время вращения вала, кулачки служат средством согласованного движения поршней, открытия и закрытия клапанов. Посредством цепной передачи (зубчатого ремня) от коленчатого вала начинает вращаться распределительный вал. Регулировка натяжения цепи привода происходит посредством специального натяжителя, зубчатого ремня – посредством натяжного ролика (рисунок 3.1).
Схема работы газораспределительного механизма представлена на рисунке 3.2. Если упрощенно описать работу механизма, то это будет выглядеть так: распределительный вал вращается, на рычаг набегает кулачок, рычаг жмет на стержень впускного (выпускного) клапана, открывая его. А далее происходит выполнение всех тактов работы двигателя. Рис. 3.2 Схема взаимодействия деталей газораспределительного механизмаа) кулачок «набежал» б) кулачок «сбежал» Приведем примеры неисправностей газораспределительного механизма:
При эксплуатации автомобиля необходимо следить за размером теплового зазора, натяжением цепи и зубчатого ремня. При необходимости их нужно регулировать. В этом может помочь инструкции по эксплуатации. Если же вы не хотите вникать в устройство автомобиля, регулярно посещайте станции технического обслуживания, и при первом подозрении в неисправности, обратитесь в автомастерскую. Система питания Система питания двигателя внутреннего сгорания служит для подачи, очистки и хранения топлива, очистки воздуха, приготовления и подачи горючей смеси в цилиндры. Система питания обеспечивает необходимое количество и качество горючей смеси на каждом такте работы двигателя. На рисунке 4.1 представлена схема расположения элементов питания.
Механизмы системы питания это:
Топливный бак — это емкость для хранения топлива. Отсюда бензин по топливопроводам поступает к карбюратору. Бензин проходит очистку через специальные фильтры на этапе заливки в бак. Это первый этап очистки фильтра. Второй этап очистки проходит через сетку, которая расположена на водозаборнике внутри бака. Третий этап очистки проходит через топливный фильтр, расположенный в моторном отсеке. Как правило, используется одноразовый фильтр. Когда он загрязняется, его необходимо сменить. С помощью топливного насоса происходит принудительная подача бензина из бака в карбюратор. Схема работы насоса представлена на рисунке 4.2. Топливный насос работает от валика привода масляного насоса (ВАЗ 2105) или от распределительного вала двигателя (ВАЗ 2108). Валики вращаются, а находящийся на них эксцентрик находит на шток привода топливного насоса. Шток давит на рычаг, который опускает диафрагму. Таким образом, из-за созданного разряжения, преодолевая усилие пружины, впускной клапан открывается. Происходит поступление бензина из бака в пространство над диафрагмой. Когда эксцентрик сбегает со штока, рычаг перестает давить на диафрагму, и она за счет жесткости пружины поднимается. Создается давление, за счет которого закрывается впускной и открывается нагнетательный клапан. Бензин поступает к карбюратору. При помощи воздушного фильтра (рисунок 4.3) происходит очистка воздуха, поступающего в цилиндры. Расположен фильтр на верхней части воздушной горловины карбюратора. Карбюратор нескольких систем и деталей, участвующих в приготовлении горючей смеси. Механизмы и системы карбюратора обеспечивают устойчивую работу двигателя. На рисунке 4.4 представлена схема работы простейшего карбюратора.
К составляющим механизмам карбюратора относятся:
Система выпуска отработавших газовПри помощи системы выпуска (рисунок 5.1) отработанные газы выводятся из от цилиндров двигателя, а при их выбросе в атмосферу уменьшается шум.
В основном и дополнительном глушителях происходит обработка выхлопных газов, перед тем как они должны выйти в атмосферу. Вследствие прохождения через отверстия и камеры (камеры расположены в шахматном порядке) внутри глушителей, газы уменьшают свою скорость. Следовательно, уменьшается и шум при выхлопах. Существует такое устройство, как катализатор нейтрализации отработавших газов. Если он является составной частью автомобиля, то это большой плюс, так как с его помощью уменьшается концентрация вредных веществ, содержащихся в продуктах сгорания. Основная неисправность системы выпуска – повышенный шум выхлопных газов. Причиной является повреждение прокладок, глушителей, потеря плотности соединения. Устранение неисправности – замена поврежденных деталей. В процессе эксплуатации необходимо следить за исправностью системы выпуска отработанных газов. Основной глушитель должен хорошо крепиться на резиновых амортизаторах. При этом он поддерживает дополнительный глушитель и соединительные трубы. Если эти детали расположены правильно, то система выпуска работает исправно, если есть какие-либо «отклонения», необходим ремонт. Система зажиганияСистема зажигания является составной частью «Электрооборудования автомобиля». Если Вы посмотрите на рабочий цикл двигателя, то заметите, что в самом конце такта сжатия, рабочую смесь необходимо поджечь. А это означает, что между электродами свечи должна проскочить высоковольтная искра. Функция системы зажигания заключается в том, чтобы создать ток высокого напряжения, а затем распределить его по свечам цилиндров. Различают два типа систем зажигания: контактная система и бесконтактная электронная система. Контактная система зажигания.Схема работы контактной системы зажигания изображена на рисунке 6.1. Составляющие контактной системы зажигания:
При помощи катушки зажигания ток низкого напряжения переходит в ток высокого напряжения. Принцип работы: вокруг обмотки низкого напряжения создается магнитное поле из-за протекающего электрического тока. Далее, ток прерывается, магнитное поле начинает слабеть и при этом, индуцировать ток высокого напряжение (уже в обмотке высокого напряжения). Количество витков обмоток катушки зажигания разное. За счет этого мы получаем 20 000 вольт, которые нужны для того, чтобы между свечами зажигания возникла искра. Прерыватель тока низкого напряжения как раз и служит для прерывания тока в обмотке низкого напряжения. И когда во вторичной обмотке, как было сказано выше, появился ток высокого напряжения, то он поступает в центральный контакт распределителя. Под крышкой распределителя зажигания располагаются контакты прерывателя. Эти два контакта смыкаются при помощи пластинчатой пружины. А разделяются в тот момент, когда набегающий кулачок приводного валика прерывателя-распределителя давит на молоточек подвижного контакта. Здесь важную роль играет конденсатор. Он не дает контактам обгорать в момент размыкания. Прерыватель и распределитель токов высокого и низкого напряжения изображены на рисунке 6.2. У них привод от коленчатого вала, и расположены они в одном корпусе. Этот узел также называют трамблером. Итак, после поступления тока высокого напряжения в центральный контакт распределителя через подпружиненный контактный уголек он попадает на пластину ротора (распределителя, рис. 6.1 и 6.2). Ротор вращается, ток «уходит» с его пластины на боковые контакты крышки распределителя. Контакты соединены высоковольтными проводами в определенной последовательности. Эта последовательность задает работу цилиндров в порядке 1, 3, 4, 2. То есть, рабочая смесь воспламеняется сначала в 1-ом, затем в 3-ем, 4-ом и 2-ои цилиндрах. Таким образом, устанавливается равномерная нагрузка на коленчатый вал двигателя. Существует понятие угол опережения зажигания. Это тот угол, когда поршень не доходит до верхней мертвой точки. Он равен 40-60 градусам. И в этот момент осуществляется подача высокого напряжения на электроды свечей зажигания. Угол нужно постоянно менять, так как режимы работы двигателя тоже меняются. За это отвечают центробежный и вакуумный регуляторы опережения зажигания. Центробежный регулятор опережения зажигания предназначен для изменения момента возникновения искры между электродами свечей зажигания, в зависимости от скорости вращения коленчатого вала двигателя. Схема работы представлена на рисунке 6.3. Центробежный регулятор опережения зажигания состоит из двух плоских металлических грузиков. Оба грузика прикреплены к опорной пластине, а пластина соединена с приводным валиком. На грузиках есть шипы, которые входят в прорези подвижной пластины. На пластине крепится втулка кулачков прерывателя. Втулка и пластина поворачиваются на некоторый угол по отношению к трамблеру. Вследствие увеличения числа оборотов коленчатого вала, увеличивается частота вращения валика прерывателя-распределителя. При этом грузики расходятся в сторону, двигают втулку от приводного валика. Контакты размыкаются раньше, угол опережения зажигания увеличивается. Когда скорость вращения приводного валика уменьшается, то грузики возвращаются на место и угол опережения тоже уменьшается. Вакуумный регулятор опережения зажигания предназначен для изменения момента возникновения искры между электродами свечей зажигания, в зависимости от нагрузки на двигатель. Вакуумный регулятор представлен на рисунке 6.4. Вакуумный регулятор прикреплен к корпусу прерывателя – распределителя (рис. 6.2). Диафрагмой корпус поделен на две половины. Одна половина связана с атмосферой, а другая с полостью под дроссельной заслонкой. Диафрагма посредством тяги соединена с подвижной пластиной, с расположенными на ней контактами прерывателя. Когда угол открытия дроссельной заслонки увеличивается, то уменьшается разряжение. При этом диафрагма под действием пружины сдвигает пластину от набегающего кулачка прерывателя. Угол опережения зажигания уменьшится – контакты разъединяться позже. Угол увеличится при закрытии дроссельной заслонки. Кулачок прерывателя встретится с молоточком контактов раньше, и контакты разомкнуться. Увеличится опережения зажигания для рабочей смеси С помощью свечи зажигания (рис. 6.5) образуется искра и зажигается рабочая смесь в камере сгорания двигателя. При попадании тока высокого напряжения на свечу, между ее электродами образуется искра. Она и воспламеняет рабочую смесь. Высоковольтные провода обеспечивают подачу тока высокого напряжения от катушки зажигания к распределителю и от него на свечи. Основные неисправности контактной системы зажиганияОтсутствует искра между электродами свечей. Причина: обрыв или плохой контакт проводов в цепи низкого напряжения, обгорание контактов прерывателя или отсутствия зазора между ними, неисправность конденсатора, катушки зажигания, крышки распределителя, ротора, высоковольтных проводов или самой свечи. Способ устранения неисправности: проверка цепи низкого и высокого напряжения, регулировка зазора контактов прерывателя, неисправные элементы системы зажигания необходимо заменить. Двигатель работает с перебоями и (или) не развивает полной мощности. Причина: неисправная свеча зажигания, нарушение величины зазора в контактах прерывателя или между электродами свечей, повреждение ротора или крышки распределителя, неправильная установка начального угла опережения зажигания. Способ устранения неисправности: восстановление нормальных зазоров в контактах прерывателя и между электродами свечей, регулировка начального угла опережения зажигания, замена неисправных деталей. Электронная бесконтактная система зажигания.В электронной бесконтактной системе зажигания имеется возможность увеличения подаваемого напряжения на электроды свечи. Таким образом, улучшается процесс воспламенения рабочей смеси. При использовании электронной бесконтактной системы зажигания, двигатель более экономно расходует топливные ресурсы. У этой системы зажигания также есть цепи высокого и низкого напряжения. Цепи высокого напряжения ничем не отличаются от цепей вышеописанной системы. Имеются различия между цепями низкого напряжения. Отличие заключается в том, что в электронной бесконтактной системе зажигания используются электронные устройства – коммутатор и датчик-распределитель (датчик Холла) (рисунок 6.6). Элементы электронной бесконтактной системы зажигания это:
Бесконтактный датчик Холла, выполняющий функцию контактов, посылает управляющие импульсы в электронный коммутатор, который управляет катушкой зажигания. Катушка зажигания, в свою очередь, преобразует ток низкого напряжения в ток высокого напряжения. И мы получаем 20 000 вольт, необходимые для возникновения искры. Основные неисправности электронной бесконтактной системы зажигания.Неисправности: не заводится двигатель. Способы устранения: проверить подачу бензина, почистить провода (контакты), заменить неисправный коммутатор, проверить и заменить в случае неисправности деталей крышку распределителя, ротор, бесконтактный датчик и катушку зажигания. Система охлажденияДля поддержания оптимальной температуры двигателя необходима система охлаждения. Средняя температура двигателя 800 - 900оС, при активной работе достигает 2000оС. Но периодически необходимо отводить тепло от двигателя. Если этого не делать, двигатель может перегреться. Но система охлаждения не только охлаждает двигатель, но и участвует в его подогреве, когда тот холодный. В большинстве автомобилей установлена жидкостная система охлаждения закрытого типа с принудительной циркуляцией жидкости и расширительным бачком (рисунок 7.1). Элементами системы охлаждения являются:
Под руководством термостата выполняют свои функции 2 круга циркуляции (рисунок 7.1). Малый круг выполняет функцию подогрева двигателя. После нагревания жидкость начинает циркулировать по большому кругу и охлаждается в радиаторе. Нормальная температура охлаждающей жидкости равна 80-90оС. Рубашка охлаждения двигателя – это каналы в блоке и головке блока цилиндров. По этим каналам циркулирует охлаждающая жидкость. Насос центробежного типа способствует перемещению жидкости по рубашке и по всей системе двигателя. заставляет жидкость перемещаться по рубашке охлаждения двигателя и всей системе. Термостат является механизмов, поддерживающим оптимальный тепловой режим двигателя. Когда запускается холодный двигатель, термостат закрыт и жидкость перемещается по малому кругу. Когда температура жидкости превышает 80-85оС, то термостат открывается, жидкость начинает циркулировать по большому кругу, попадая в радиатор и охлаждаясь. Радиатор представляет собой множество трубок, образующих большую поверхность охлаждения. Здесь и охлаждается жидкость. Расширительный бачок. С его помощью происходит компенсация объема жидкости, когда она нагревается и охлаждается. Вентилятор увеличивает поток воздуха в радиатор, при помощи которого и охла ждается жидкость. Патрубки и шланги являются соединительным механизмом рубашки охлаждения с термостатом, насосом, радиатором и расширительным бачком. Основные неисправности системы охлаждения.Течь охлаждающей жидкости. Причина: повреждения радиатора, шлангов, уплотнительных прокладок и сальников. Способы устранения: подтянуть хомуты крепления шлангов и трубок, поврежденные детали заменить на новые. Перегрев двигателя. Причина: недостаточный уровень охлаждающей жидкости, слабое натяжения ремня вентилятора, засорение трубок радиатора, неисправность термостата. Способы устранения: восстановить уровень жидкости в системе охлаждения, отрегулировать натяжение ремня вентилятора, промыть радиатор, заменить термостат. Система смазкиДля уменьшения изнашиваемости соприкасающихся друг с другом деталей автомобиля, к ним подается масло при помощи системы смазки. Система смазки также служит для частичного охлаждения этих деталей и удаления продуктов износа. Система смазки состоит из следующих деталей (рисунок 8.1.):
Поддон картера – это емкость для хранения масла. Масляный насос (рисунок 8.2) – это устройство, непосредственно участвующее в подаче масла к деталям. Масло подается под давлением через фильтр и каналы. Насос представляет собой две шестеренки. При их вращении зубья захватывают масло и подают его в главную масляную магистраль. Редукционный клапан ограничивает давление в системе масляных каналов. Если давление избыточно, то пружина сжимается, и часть масла поступает обратно. Масляный фильтр очищает масло от примесей. Вентиляция картера двигателя (рисунок 8.3). Во время такта сжатия и рабочего хода пары бензина и газы могут попадать в картер и способствовать разжижению масла. Для того, чтобы этого не происходило, вентилятор обеспечивает отсос из картера и отвод во впускной трубопровод паров бензина и выхлопных газов. Основные неисправности системы смазки.Протекание масла. Причина: слабо затянута сливная пробка в поддоне картера, повреждены уплотнительные прокладки и наружные маслопроводы, износ сальников. Способы устранения: восстановление герметичности соединений, замена поврежденных деталей (т.е.изношенных прокладок и сальников). Низкое давление в системе смазки. Причина: недостаточное количество масла, некачественное масло, износ подшипников коленчатого вала или деталей масляного насоса. Способ устранения: проверьте уровень масла (если нужно, долейте), замените изношенные механизмы. При эксплуатации придерживайтесь рекомендациям завода-изготовителя по использованию определенной марки масла. СцеплениеСцепление – это одна из составляющих трансмиссии. Трансмиссия передает крутящий момент от двигателя на ведущие колеса и изменяет величину крутящего момента, в том числе и его направления. В зависимости от трансмиссии ведущими могут являться, как задние, так и передние колеса. На рисунке 9.1 представлен пример трансмиссии заднеприводного автомобиля. Рассмотрим первую составляющую трансмиссии – сцепление. Сцепление передает крутящий момент от маховика коленчатого вала двигателя к первичному валу коробки передач. Составляющими сцепления являются привод и самого механизма сцепления. Привод выключения сцепления. Каждый механизм в автомобиле начинает свою работу при помощи привода. Так и сцепление. Привод выключения сцепления относится к приводу гидравлического типа. Схема привода сцепления представлена на рисунке 9.2. Привод выключения сцепления состоит из следующих механизмов:
Когда водитель нажимает на педаль сцепления давление его ноги через шток и поршень передается жидкости, а жидкость передает давление от поршня главного цилиндра на поршень рабочего. При помощи штока рабочего цилиндра перемещается вилка выключения и нажимной подшипник. Подшипник передает усилие механизму сцепления. После того как водитель отпустит педаль, возвратные пружины вернут все детали в исходное положение. Механизм сцепления.За счет силы трения, в этом устройстве осуществляется передача крутящего момента на ведущие колеса. При помощи этого механизма двигатель и коробка передач разъединяются на короткое время, а затем вновь соединяются. Составляющие механизма сцепления:
Итак, для того, чтобы машина поехала, водитель должен включить сцепление. Это происходит в три этапа: 1. Отпуская немного педаль, водитель предоставляет возможность пружинам нажимного диска подвести ведомый диск к маховику до их соприкосновения. За счет возникших сил трения ведомый диск начинает вращаться. Автомобиль начинает трогаться. 2. Удерживая педаль, мы тем самым удерживаем ведомый диск. Это нужно для того, чтобы скорость вращения маховика и ведомого диска сравнялась. На этом этапе автомобиль начинает увеличивать скорость. 3. На этом этапе диск и маховик вращаются с одинаковой скоростью, передавая крутящий момент коробке передач, а затем на ведущие колеса. Сцепление полностью включено, и машина едет (рисунок 9.3). Для выключения сцепления необходимо нажать на его педаль. При этом нажимной диск отходит от маховика, ведомый диск освобождается, прерывая передачу крутящего момента от двигателя к коробке передач (рисунок 9.4) Основные неисправности сцепления.Сцепление выключается не полностью. Причина: большой свободный ход педали сцепления, перекос нажимного подшипника, повреждение ведомого диска, поломка пружин. Способ устранения: регулировка свободного хода педали, выпуск воздуха из гидропривода, замена неисправных дисков и пружин. Сцепление включается не полностью. Причина: малый свободный ход педали, замасливание (износ) фрикционных накладок ведомого диска, поломка пружин. Способ устранения: регулировка свободного хода, чистка или замена дисков, пружин. Сцепление включается резко. Причина: заедание в механизме привода, задира на рабочих поверхностях дисков или маховика, разрушение фрикционных накладок ведомого диска. Способ устранения: замена неисправных узлов привода, устранение задиры на поверхностях дисков, замена ведомого диска. Течь тормозной жидкости в приводе выключения сцепления. Причина: течь из главного или рабочего цилиндров, из соединительных трубок. Способ устранения: замена неисправных узлов, прокачка всего гидропривода (удаление воздуха). Коробка передачПри помощи коробки передач происходит изменение величины и направления крутящего момента, а также передача его от двигателя к ведущим колесам. Схема работы коробки передач представлена на рисунке 10.1. Рассмотрим составляющие механизмы, из которых состоит коробка передач подробнее. Картер. Здесь сосредоточены все основные узлы. Картер коробки передач присоединен к картеру сцепления, а картер сцепления – к двигателю. В картере наполовину объема залито масло для смазки шестерен. Валы коробки передач. У этих механизмов есть набор шестерен. Валы вращаются в подшипниках, находящихся в картере. Синхронизаторы. Чтобы передачи переключалась плавно и бесшумно необходимы синхронизаторы. Это достигается с помощью уравнивания угловых скоростей вращающихся шестерен. Механизм переключения передач. С его помощью водитель, управляя рычагом переключает передачи. Мы рассмотрели составляющие механизмы коробки передач. А теперь разберемся с тем, как происходит изменение величины крутящего момента. В этом нам поможет схема, представленная на рисунке 10.2. На ней изображены две шестеренки. Все дело в количестве зубьев на шестеренках. На первой 20 зубьев, на второй – 40. Когда шестерня с 20-ти зубьями делает 2 оборота, то шестерня с 40-ка зубьями один оборот. Передаточное число равно 2. То есть все дело в различных оборотах шестеренок. Основные неисправности коробки передач.Течь масла. Причина: повреждение уплотнительных прокладок, сальников, ослабление крепления крышек картера. Способ устранения: замена прокладок и сальников, усиление крепления крышек. Шум. Причина: неисправный синхронизатор, износ подшипников, шестерен, шлицевых соединений. Способ устранения: замена неисправных деталей. Тяжело включаются передачи. Причина: неисправность механизма переключения, износ синхронизаторов или шестерен. Способ устранения: замена неисправных деталей. Произвольное выключение передач. Причина: неисправность блокировочного устройства, сильный износ шестерен или синхронизаторов. Способ устранения: замена блокировочного устройства, синхронизатора, шестерен. Карданная передачаДля примера рассмотрим карданную передачу заднеприводного автомобиля. С ее помощью происходит передача крутящего момента от вторичного вала коробки к главной передачи изменяющимся углом. На представленной ниже схеме можно увидеть схему карданной передачи. Механизмы карданной передачи:
Шарниры с вилками и крестовинами. Эти элементы и позволяют осуществить передачу крутящего момента под изменяющимся углом. Задний вал карданной передачи имеет два шарнира. Они обеспечивают передачу крутящего момента от коробки передач к главной передаче, которая расположена в заднем мосту автомобиля независимо от движений кузова. Поясним. Когда автомобиль едет, то угол между передним валом карданной передачи и главной передачей меняется до 150оС. Это происходит из-за неровностей дороги. Поэтому задний вал закреплен не жестко, а двумя шарнирами. За счет этих шарниров и происходит бесперебойная передача крутящего момента. Шлицевое соединение обеспечивает компенсацию линейного перемещения карданной передачи по отношению к кузову авто, вследствие изменения угла передачи крутящего момента. Это необходимо для того, чтобы карданная передача удлинялась в момент перемещения кузова вверх, и укорачивалась, когда кузов идет вниз. Получается, что должно меняться расстояние от коробки передач до заднего моста. Эти процессы происходят именно в шлицевом соединении. Но меняются не сами жесткие трубы, а их суммарная длина. Эластичная муфта. Этот механизм держит ударную волну, которая может возникать при грубом включении (выключении) сцепления. Основные неисправности карданной передачи и валов с шаровыми шарнирамиШум, стуки и вибрация при движении. Причина: износ шарниров, подшипника промежуточной опоры, деформации валов. Способ устранения: замена поврежденных механизмов. Утечка смазки из шаровых шарниров. Причина: повреждение защитных чехлов. Способ устранения: замена чехлов, чистка шарниров, замена смазки шарниров. Главная передача и дифференциалГлавная передача и дифференциал На примере заднеприводных автомобилей расммотрим работу главной передачи и дифференциала. С помощью главной передачи происходит увеличение скорости крутящего момента и передачи его на полуоси колес под углом 90о. Схема работы представлена на рисунке 12.1. Главная передача состоит из двух механизмов: ведущей шестерни и ведомой шестерни. Крутящий момент проходит свой путь через сцепление, коробку передач и карданную передачу. В конце пути он передается на две косозубые шестерни, находящиеся в постоянном зацеплении. Если мы посмотрим на рисунок 37, то увидим, что ба колеса будут вращаться с одинаковой угловой скоростью. При таком полочении автомобиль невозможно будет повернуть. Для поворота необходимо, чтобы колеса проходили неодинаковое расстояние. Но в автомобиле есть механизм, который позволяет делать маневр поворота. Этот механизм – дифференциалом. Дифференциал предназначен. За счет этого механизма колеса вращаются с разной угловой скоростью. Это достигается путем разделения крутящего момента между ними. На рисунке 12.2 мы можем увидеть составляющие дифференциала. Он состоит из небольшого числа механизмов: двух шестерен и полуосей двух шестерен сателлитов. Основные неисправности главной передачи и дифференциалаШум главной передачи при движении на большой скорости. Причина: износ шестерен, неправильная регулировка шестерен, отсутствие масла в картере главной передачи. Способ устранения: регулировка зацепления шестерен, замена изношенных деталей, пополнение масла. Течь масла. Причина: неисправность сальников, неплотные соединения. Способы устранения: замена сальников, закрепить соединения. Подвеска автомобиляХодовая часть автомобиля выполняет функцию движения. Узлы ходовой части служат для связи колес с кузовом, а также гасят колебания кузова, воспринимают и передают силы, действующие на автомобиль. В состав ходовой части входят следующие механизмы: передняя и задняя подвески колес, колеса и шины. Подвеска колес автомобиляПодвеска смягчает колебания от неровностей дороги. Подвеска обеспечивает кузову вертикальные, продольные, угловые и поперечно-угловые колебания. Эти колебания обеспечивают плавность движения. Именно на рычагах и пружинах подвески крепятся колеса. Благодаря такой конструкции у кузова есть возможность перемещаться относительно колес. Подвеска может бывает двух типов: зависимая (рисунок 14.1) и независимая (рисунок 14.2). Зависимая подвеска представляет конструкцию, при помощи которой колеса связаны между собой жесткой балкой (задние колеса) и находятся на одной оси. Если автомобиль наедет на неровность одним колесом, то второе наклонится на тот же угол. Независимая подвеска. Эта конструкция прямо противоположна зависимой подвеске. Она подразумевает, что колеса одной оси автомобиля не связаны жестко между собой (передние колеса). Когда автомобиль наезжает на неровность одним колесом, то положение второго колеса остается неизменным. У подвески есть пружина (рессора), которая смягчает удары и колебания, передаваемые от дороги к кузову. Следующий механизм подвески - гасящий элемент подвески или амортизатор (рисунок 14.3). Амортизаторы гасят колебания (посредством сопротивления), которые возникают при перемещении жидкости через калиброванные отверстия из полости «А» в полость «В» и обратно. Это гидравлический амортизатор. Существуют и газовые амортизаторы. В них сопротивление возникает при сжатии газа. Стабилизатор поперечной устойчивости автомобиля. Когда автомобиль поворачивается, кузов одним боком прижимается к земле, а другим хочет подняться от земли. Благодаря стабилизатору этого не происходит. Если машина наезжает на препятствие, стержень стабилизатора начинает закручиваться и возвращает колесо на место. Стабилизатор можно увидеть на рисунке 14.4. Углы установки передних колес (развал-схождение) Что же такое углы установки передних колес? Водители называют его «развал-схождение». Для того, чтобы разобраться, что это означает, представим, как вы отошли на какое-то расстояние от автомобиля по ходу его движения. Если обернуть и присмотреться к колесам автомобиля, то можно заметить, что они установлены таким образом, что немного смотрят друг на друга. Это положение и называют углами установки передних колес. Схема представлена на рисунке 15.1. Углы регулируются с помощью предназначенных для этого шайб в подвеске передних колес. Регулировка происходит путем укорачивания или удлинения боковых тяг в рулевом приводе. Регулировка углов нужна для того, чтобы автомобиль ехал прямо, если водитель едет прямо. Ему остается только немного подкорректировать направление движения машины. Итак, перечислим все необходимые моменты, которые обеспечивают углы при движении автомобиля:
Для обеспечения правильной езды автомобиля углы необходимо поддерживать в соответствие с рекомендациями завода-изготовителя. Колеса и шиныКолеса являются принимающей стороной крутящего момента от двигателя. Путем сцепления с дорогой они способствуют движению автомобиля, принимают удары и толчки из-за неровностей, а затем сглаживают их. Торможение, разгон зависят также от колес. Устройство колес представлено на рисунке 16.1. Оно включает в себя диск с ободом и шины. Диск. К диску крепится обод, сам диск прикреплен к ступице колеса коническими болтами или гайками. Шина. Различают два типа шин: шина камерная и шина бескамерная. Если шина камерная, то ее камера заполняется воздухом. Бескамерная шина – это покрышка авто. В свою очередь сама покрышка состоит из каркаса, проектора, боковин и бортов. Каркас шины - силовая основа покрышка. Каркас состоит из нескольких слоев корда (специальный материал). Этот держит давление сжатого воздуха изнутри и нагрузку от дороги наружи. Протектор. Самый последний слой покрышки. Он непосредственно соприкасается с дорогой. На протекторе выдавлен определенный рисунок. Рисунки протектора также бывают разных типов: дорожный, универсальный и специальный. В зависимости от условий эксплуатации автомобиля (зима, лето), выбирают покрышки с разным рисунком. Тип шин также можно разделить в зависимости от корда. Нити корда могут быть расположены диагонально и радиально. Если нити имеют диагональное расположение, угол их наклона равен 35-38о. Такое расположение позволяет соединить боковины покрышек по диагонали. Если же нити расположены радиально, то угол их наклона почти прямой. Борта покрышки соединены прямыми нитями. Различное расположение нитей представлено на рисунке 16.2. Шины для автомобиля необходимо покупать в соответствие с рекомендациями завода-изготовителя. Основные неисправности подвески и колесШум и стуки в подвеске. Причина: ослабление болтов крепления, износ шарниров, поломка пружины, неисправность амортизатора. Способ устранения: подтянуть болты, заменить неисправные детали. Повышенный и неравномерный износ шин. Причина: износ шаровых шарниров подвески, дисбаланс колес, нарушение углов установки передних колес. Способ устранения: регулировка углов установки передних колес, замена изношенных деталей, восстановить баланс колес. Увод автомобиля в сторону от прямолинейного движения. Причина: нарушение углов установки передних колес, неодинаковое давление воздуха в шинах, деформация рычагов передней подвески, разная жесткость пружин, неисправность верхней опоры одной из телескопических стоек, поломка стабилизатора. Способ устранения: регулировка углов установки передних колес, давления воздуха в шинах, замена неисправных деталей. Повышенные вибрации при движении. Причина: дисбаланс колес, вздутие на боковине шины, повреждение дисков колес, износ подшипников ступиц колес, шаровых опор рычагов подвески. Способ устранения: восстановление баланса колес, замена неисправных механизмов. Рулевое управлениеРулевое управление обеспечивает движение автомобиля в заданном водителем направлении. Элементами рулевого управления являются рулевой механизм и рулевой привод. С помощью рулевого механизма происходит увеличение и передача на рулевой привод усилия, которое водитель прилагает к рулевому колесу, когда совершает поворот автомобиля. В России производят автомобили с механизмами червячного и реечного типа. На рисунке 17.1 представлена схема управления механизмом червячного типа. Элементами этого механизма являются:
Пара «червяк-ролик» располагается в картере и находится в постоянном взаимодействии друг с другом. По отдельности червяк представляет собой нижний конец рулевого вала, а ролик расположен на валу рулевой сошки. Когда рулевое колесо крутится, ролик скользит по зубьям червяка, и из-за этого рулевая сошка начинает поворот. Усилие следует по пути к рулевому приводу, а от него на управляемые колеса. С помощью рулевого привода происходит передача усилия от рулевого механизма на управляемые колеса. Управляемые колеса поворачиваются на неодинаковые углы. Это нужно для того, чтобы колеса не проскальзывали по дороге. При повороте колеса описывают разные окружность, центр поворота у них один, поэтому внешнее колесо должно быть повернуто на больший угол. Такой поворот достигается рулевой трапецией. Трапеция состоит из рулевых тяг с шарнирами и поворотных рычагов. Итак, рулевой привод – это механизм автомобиля, который состоит из:
Теперь перейдем к рассмотрению рулевого механизма реечного типа (рисунок 17.2). Отличие от червячного заключается в применении пары «шестерня–рейка». То есть, когда водитель поворачивает руль, то он поворачивает шестерню, а она перемещает рейку вправо/влево и передает усилие на рулевой привод. Рулевой привод в этом механизме более прост и состоит из двух тяг. Эти тяги служат для передачи усилия на поворотные рычаги и колеса вращаются вправо/влево. Основные неисправности рулевого управленияУвеличенный люфт рулевого колеса, стуки. Причина: ослабление крепления картера рулевого механизма, рулевой сошки или кронштейна маятникового рычага, износ шарниров рулевых тяг или втулок маятникового рычага, износ пары «червяк-ролик» или «шестерня-рейка», нарушение регулировки ее зацепления. Способ устранения: регулировка крепления и зацепления в передающей паре, замена изношенных деталей. Тугое вращение рулевого колеса. Причина: неправильная регулировка зацепления в передающей паре, отсутствие смазки в картере рулевого механизма, нарушение углов установки передних колес. Способ устранения: регулировка зацепления, наполнение смазкой картера, регулировка углов установки передних колес. Тормозная системаТормозная система (рисунок 18.1) используется в автомобиле для того, чтобы можно было его остановить, уменьшить скорость движения, удержать от самопроизвольного движения во время стоянки (стояночная тормозная система). Чтобы рабочая тормозная система начала выполнять свои функции водитель должен нажать на педаль тормоза. Сила нажатия передается тормозным механизмам. Тормозными механизмами являются тормозные привода и тормозные механизмы колес. Через привод тормозов передается усилие от педали тормоза к исполнительным тормозным механизмам колес автомобиля. Современные производители легковых автомобилей используют гидравлический привод, в котором применяется специальная жидкость. Устройство гидравлического привода: (рисунок 18.2):
При нажатии на педаль тормоза водитель передает свое усилие через шток на поршень главного тормозного цилиндра. Поршень давит на специальную жидкость. От нее давление идет по трубкам к тормозным цилиндрам, которые заставляют их выдвигать поршни. Эти поршни передают усилие на тормозные колодки. Они-то и заставляют автомобиль остановиться. Чтобы усилие, при котором нужно нажать на педаль тормоза не оказалось слишком большим и не утомляло водителя, в гидравлическом приводе применяется вакуумный усилитель. Он облегчает работу водителю с тормозной педалью. Тормозной механизм оказывает воздействие на скорость вращения колеса, уменьшая ее. Уменьшение скорости вращения происходит за счет сил трения между накладками тормозных колодок и тормозным барабаном (диском). В зависимости от применяемой конструкции тормоза бываю дисковые (применяются на передних колесах) и барабанные (применяются на задних колесах). Перейдем к рассмотрению стояночной тормозной системы. Она необходима для предотвращения возникновения произвольного движения автомобиля в момент его стоянки. Стояночная тормозная система также не допускает движение авто назад, когда он начинает стартовать на подъем. Управление этим тормозом происходит при помощи рычага, расположенного между передними сиденьями (так называемы «ручник»). При поднятии «ручника» происходит натяжение двух металлических тросов, один из которых прижимает тормозные колодки к барабанам. Поэтому автомобиль остается неподвижным до того момента, пока водитель не опустит рычаг тормоза и не начнет движение автомобиля. Основные неисправности тормозных системУвеличенный ход педали (ослабление педали тормоза). Причина: износ накладок тормозных колодок, попадание воздуха в системе гидропривода, утечка тормозной жидкости. Способ устранения: замена изношенных деталей, предотвращение утечки тормозной жидкости, прокачка гидропривода с целью удаления воздуха. Увод автомобиля в сторону (при торможении). Причина: выход из строя одного из колесных тормозных цилиндров, износ или замасливание накладок тормозных колодок. Способ устранения: замена несправных цилиндров или колодок, чистка загрязненных колодок. Шум при нажатии на педаль тормоза или вибрации. Причина: загрязнение тормозных механизмов, износ накладок тормозных колодок, ослабление или поломка стяжных пружин задних тормозных колодок, износ тормозных барабанов или дисков. Способ устранения: замена изношенных деталей, чистка тормозных механизмов. Источники тока Электрооборудование автомобиля делится на источники и потребители тока (рис. 19.1). Рассмотрим сначала источники тока: аккумуляторную батарею и генератор. Аккумуляторная батарея (рисунок 19.2), являясь источником тока питает потребителей тока, когда двигатель не работает или работает на малых оборотах. Батарея размещена в моторном отсеке на специально предназначенной полке. Минус батареи соединен с массой, плюс – с потребителями тока через проводники. Аккумуляторная батарея объединяет шесть аккумуляторов в одном корпусе. По сути это последовательная электрическая цепь. На полюсных окончаниях батарей возникат напряжение равное 12-ти вольтам. Генератор (рисунок 19.3) выполняет более широкие функции. Он питает все потребители тока и подзаряжает аккумулятор при работе двигателя на средних и больших оборотах, и располагается на кронштейне двигателя. Работать начинает под воздействием шкива через ременную передачу. Питает потребители и заряжает аккумуляторную батарею генератор только тогда, когда его напряжение превышает напряжение аккумуляторное. Это связано с тем, что генератор включен в электрическую цепь параллельно аккумулятору. Он включен в электрическую цепь автомобиля параллельно аккумуляторной батарее. Повышение напряжения происходит при начале работы двигателя на оборотах, превышающих холостые, так как напряжение генератора зависит от скорости, с которой вращается его ротор. Когда обороты ротора увеличиваются, может произойти превышение требуемого напряжения в генераторе. Чтобы этого не произошло, существует регулятор напряжения. Он поддерживает напряжение генератора равное 13,6 - 14,2 вольтам. Потребителями тока являются:
Система пуска двигателя Система пуска двигателя состоит из следующих механизмов (рисунок 20.1):
Стартер - мощный электрический двигатель постоянного тока. Именно с его помощью происходит запуск двигателя, путем поворота ключа в замке зажигания. Когда водитель повернул ключ, ток через реле пошел от аккумуляторной батареи на обмотки стартера, что заставляет работать двигатель. Стартер совершает работу в три этапа: 1. С помощью механизма привода стартера шестерня на валу якоря вступает в зацепление с зубчатым венцом маховика. 2. Вал и шестерня начинают вместе вращаться. Шестерня проворачивает коленчатый вал двигателя через маховик. Происходит запуск двигателя. 3. Как только двигатель начал работать, механизм привода выводит шестерню из зацепления с зубчатым венцом маховика. Все эти этапы повторяются каждый раз при повороте ключа в замке зажигания. Приборы освещения Приборы освещения и сигнализации относятся к потребителям тока. К ним подается ток с напряжением 12 вольт, когда водитель нажимает соответствующий переключатель в салоне автомобиля. Приборы освещения нужный для улучшения видимости водителю при движении в темное время суток. К приборам освещения относятся: - фары (блок-фары), - задние фонари, - лампы освещения номерного знака, - лампы освещения салона автомобиля, - лампа освещения подкапотного пространства, - лампа освещения багажника. Блок-фара (рисунок 61) состоит из трех элементов: корпуса, отражателя, рассеивателя. Внутри фары расположена лампа ближнего и дальнего освещения, лампа габаритного света, лампа указателя поворота. Переключателями в салоне автомобиля можно задействовать любую из этих ламп. Задние фонари (рисунок 62) это: лампы габаритного света, лампы стоп-сигналов, указатели поворота и заднего хода. С помощью приборов сигнализации водитель может информировать других водителей об изменениях в движении автомобиля. Приборы сигнализации это:
Контрольно-измерительные приборыВсе контрольно-измерительные приборы находятся в салоне автомобиля на приборной панели. Они показывают исправность (или неисправность) узлов автомобиля. Если какой-либо механизм неисправен, то соответствующая лампочка зажигается красным светом или стрелка, какого-либо прибора останавливается в красном секторе. Начинать движение при таком положении нельзя. Необходимо устранить неисправность самому или обратиться в автосервис. Контрольно-измерительные приборы представлены на рисунке 22.1. КузовКузов – это важный и сложный геометрический элемент автомобиля. К нему крепятся все механизмы, в нем находятся пассажиры. В то же время кузов – это минусовый проводник для электрооборудования. Составляющие металлической части кузова: днище, крыша, крылья, панели, двери, крышки капота и багажника и другие более малые составляющие. В кузове есть специальные проемы, куда вставлены стекла. Пластмассовые элементы в кузове также имеются, но перечислять их бессмысленно, вследствие их бесчисленного множества. В салоне установлены сиденья для водителя и пассажиров. Сиденья оборудованы ремнями безопасности. Внутри салона находятся все необходимы для водителя элементы управления автомобилем. |
Рис. 1.1 Одноцилиндровый карбюраторный двигатель внутреннего сгорания:а) «стакан» в «стакане»; б) поперечный разрез1 — головка цилиндра; 2 — цилиндр; 3 — поршень; 4 — поршневые кольца; 5 — поршневой палец; 6 — шатун; 7 — коленчатый вал; 8 — маховик; 9 — кривошип; 10 — распределительный вал; 11 — кулачок распределительного вала; 12 — рычаг; 13 — клапан; 14 — свеча зажигания
Рис. 1.2 Ход поршня и объемы цилиндра двигателяа) поршень в нижней мертвой точкеб) поршень в верхней мертвой точке
Рис. 1.3 Рабочий цикл четырехтактного карбюраторного двигателя а) впуск; б) сжатие; в) рабочий ход; г) выпуск
Рис. 1.4 Коленчатый вал двигателя с маховиком1 — коленчатый вал двигателя; 2 — маховик с зубчатым венцом; 3 — шатунная шейка; 4 — коренная (опорная) шейка; 5 — противовес

а) на примере двигателя автомобиля ВАЗ 2106 1 — звездочка привода распределительного вала; 2 — цепь; 3 — успокоитель цепи; 4 — звездочка привода маслянного насоса; 5 — звездочка коленчатого вала; 6 — башмак натяжителя цепи; 7 — натяжитель цепи б) на примере двигателя автомобиля ВАЗ 2108 1 — зубчатый шкив распределительного вала; 2 — зубчатый ремень; 3 — зубчатый шкив коленчатого вала; 4 — зубчатый шкив водяного насоса; 5 — натяжной ролик Рис. 3.1 Звездочка привода распределительного вала. Зубчатый шкив распределительного вала
Рис. 4.1 Схема расположения элементов системы питания 1 — заливная горловина с пробкой; 2 — топливный бак; 3 — датчик указателя уровня топлива с поплавком; 4 — топливозаборник с фильтром; 5 — топливопроводы; 6 — фильтр тонкой очистки топлива; 7 — топливный насос;8 — поплавковая камера карбюратора с поплавком; 9 — воздушный фильтр; 10 — смесительная камера карбюратора; 11 — впускной клапан; 12 — впускной трубопровод; 13 — камера сгорания
Рис. 4.2 Схема работы топливного насосаа) всасывание топлива, б) нагнетание топлива1 — нагнетательный патрубок; 2 — стяжной болт; 3 — крышка; 4 — всасывающий патрубок; 5 — впускной клапан с пружиной; 6 — корпус; 7 — диафрагма насоса; 8 — рычаг ручной подкачки; 9 — тяга; 10 — рычаг механической подкачки; 11 — пружина; 12 — шток; 13 — эксцентрик; 14 — нагнетательный клапан с пружиной;15 — фильтр для очистки топлива
Рис. 4.3 Воздушный фильтр1 — крышка; 2 — фильтрующий элемент; 3 — корпус; 4 — воздухозаборник
Рис. 4.4 Схема работы простейшего карбюратора1 — топливная трубка; 2 — поплавок с игольчатым клапаном; 3 — топливный жиклер; 4 — распылитель; 5 — корпус карабюратора; 6 — воздушная заслонка; 7 — диффузор; 8 — дроссельная заслонка
Рис. 5.1 Схема системы выпуска отработавших газов1 — выпускной клапан; 2 — выпускной трубопровод; 3 — приемная труба глушителя; 4 — дополнительный глушитель (резонатор); 5 — основной глушитель; 6 — соединительные хомуты
Рис. 6.1 Контактная система зажигания а) электрическая цепь низкого напряжения 1 - «масса» автомобиля; 2 - аккумуляторная батарея; 3 - контакты замка зажигания; 4 - катушка зажигания; 5 - первичная обмотка (низкого напряжения); 6 - конденсатор; 7 - подвижный контакт прерывателя; 8 - неподвижный контакт прерывателя; 9 - кулачек прерывателя; 10 - молоточек контактов
Рис. 6.1 Контактная система зажигания б) электрическая цепь высокого напряжения 1 - катушка зажигания; 2 - вторичная обмотка (высокого напряжения); 3 - высоковольтный провод катушки зажигания; 4 - крышка распределителя тока высокого напряжения; 5 - высоковольтные провода свечей зажигания; 6 - свечи зажигания; 7 - распределитель тока высокого напряжения («бегунок»); 8 - резистор; 9 - центральный контакт распределителя; 10 - боковые контакты крышки
Рис. 6.2 Прерыватель распределитель 1 - диафрагма вакуумного регулятора; 2 - корпус вакуумного регулятора; 3 - тяга; 4 - опорная пластина; 5 - ротор распределителя («бегунок»); 6 - боковой контакт крышки; 7 - центральный контакт крышки; 8 - контактный уголек; 9 - резистор; 10 - наружный контакт пластины ротора; 11 - крышка распределителя; 12 - пластина центробежного регулятора; 13 - кулачек прерывателя; 14 - грузик; 15 -контактная группа; 16 - подвижная пластина прерывателя; 17 - винт крепления контактной группы; 18 - паз для регулировки зазоров в контактах; 19 - конденсатор; 20 - корпус прерывателя-распределителя; 21 - приводной валик; 22 - фильц для смазки кулачка
Рис. 6.3. Схема работы центробежного регулятора угла опережения зажигания а) расположение деталей регулятора 1 - кулачок прерывателя; 2 - втулка кулачков; 3 - подвижная пластина; 4 - грузики; 5 - шипы грузиков; 6 - опорная пластина; 7 - приводной валик; 8 - стяжные пружины
Рис. 6.3. Схема работы центробежного регулятора угла опережения зажигания б) грузики вместе в) грузики разошлись
Рис. 6.4. Вакуумный регулятор угла опережения зажигания а) угол опережения зажигания - уменьшен б) угол опережения зажигания - увеличен
Рис. 6.5. Свеча зажигания 1 - контактная гайка; 2 - изолятор; 3 - корпус; 4 - уплотнительное кольцо; 5 - центральный электрод; 6 - боковой электрод
Рис. 6.6. Бесконтактная система зажигания а) схема электрической цепи низкого напряжения 1 - аккумуляторная батарея; 2 - контакты замка зажигания; 3 - транзисторный коммутатор; 4 - датчик распределитель (датчик Холла); 5 - катушка зажигания
Рис. 6.6. Бесконтактная система зажигания б) схема электрических соединений коммутатора и датчика-распределителя
Рис. 7.1. Схема системы охлаждения двигателя а) малый круг циркуляции б) большой круг циркуляции 1 - радиатор; 2 - патрубок для циркуляции охлаждающей жидкости; 3 - расширительный бачок; 4 - термостат; 5 - водяной насос; 6 - рубашка охлаждения блока цилиндров; 7 - рубашка охлаждения головки блока; 8 - радиатор отопителя с электровентилятором; 9 - кран радиатора отопителя; 10 - пробка для слива охлаждающей жидкости из блока; 11 - пробка для слива охлаждающей жидкости из радиатора; 12 - вентилятор
Рис. 8.1. Схема системы смазки двигателя 1 - канал подачи масла к газораспределительному механизму; 2 - главная масляная магистраль; 3 - канал подачи масла к подшипникам коленчатого вала; 4 - картер двигателя; 5 - фильтрующий элемент; 6 - корпус масляного фильтра; 7 - масляный насос; 8 - маслоприемник с сетчатым фильтром; 9 - поддон картера; 10 - пробка для слива масла
Рис. 8.2. Схема работы масляного насоса 1 - шестерни масляного насоса; 2 - редукционный клапан; 3 - пружина
Рис. 8.3. Схема вентиляции картера двигателя 1 - корпус воздушного фильтра; 2 - фильтрующий элемент; 3 - всасывающий коллектор вентиляции картера; 4 - карбюратор; 5 - впускной трубопровод; 6 - впускной клапан; 7 - шланг вентиляции картера; 8 - маслоотделитель; 9 - сливная трубка маслоотделителя; 10 - картер двигателя; 11 - поддон картера
Рис. 9.1. Схема трансмиссии заднеприводного автомобиля I - Двигатель; II - Сцепление; III - Коробка передач; IV - Карданная передача: 1 - эластичная муфта; 2 - шлицевое соединение; 3 - передний карданный вал; 4 - подвесной подшипник; 5 - передний карданный шарнир; 6 - задний карданный вал; 7 - задний карданный шарнир; V - Задний мост с главной передачей и дифференциалом: 8 - полуоси; 9 - ведущие (задние) колеса
Рис. 9.2. Схема гидравлического привода выключения сцепления и механизма сцепления 1 - коленчатый вал; 2 - маховик; 3 - ведомый диск; 4 - нажимной диск; 5 - кожух сцепления; 6 - нажимные пружины; 7 - отжимные рычаги; 8 - нажимной подшипник; 9 - вилка выключения сцепления; 10 - рабочий цилиндр; 11 - трубопровод; 12 - главный цилиндр; 13 - педаль сцепления; 14 - картер сцепления; 15 - шестерня первичного вала; 16 - картер коробки передач; 17 - первичный вал коробки передач
Рис. 9.3. Сцепление включено
Рис. 9.4. Сцепление выключено
Рис. 10.1. Схема работы коробки передач. 1 - первичный вал; 2 - рычаг переключения передач; 3 - механизм переключения передач; 4 - вторичный вал; 5 - сливная пробка; 6 - промежуточный вал; 7 - картер коробки передач
Рис. 10.2. Передаточное отношение 


Рис. 14.2. Схема работы независимой подвески колес автомобиля
Рис. 14.3. Схема амортизатора 1 - верхняя проушина; 2 - защитный кожух; 3 - шток; 4 - цилиндр; 5 - поршень с клапанами сжатия и «отбоя»; 6 - нижняя проушина; 7 - ось колеса; 8 - кузов автомобиля
Рис.14.4. Передняя подвеска, на примере автомобиля ВАЗ 2105 1 - подшипники ступицы переднего колеса; 2 - колпак ступицы; 3 - регулировочная гайка; 4 - шайба; 5 - цапфа поворотного пальца; 6 - ступица колеса; 7 - сальник; 8 - тормозной диск; 9 - поворотный кулак; 10 - верхний рычаг подвески; 11 - корпус подшипника верхней опоры; 12 - буфер хода сжатия; 13 - ось верхнего рычага подвески; 14 - кронштейн крепления штанги стабилизатора; 15 - подушка штанги стабилизатора; 16 - штанга стабилизатора; 17 - ось нижнего рычага; 18 - подушка штанги стабилизатора; 19 - пружина подвески; 20 - обойма крепления штанги амортизатора; 21 - амортизатор; 22 - корпус подшипника нижней опоры; 23 - нижний рычаг подвески
Рис. 15.1. Углы установки передних колес автомобиля а) схождение (вид сверху) б) развал (вид спереди) в) продольный наклон поворотной оси (кулака)
Рис. 16.1. Колесо легкового автомобиля a) устройство колеса б) уплотняющий буртик на ободе бескамерной шины 1 - диск колеса; 2 - обод; 3 - борт; 4 - камера; 5 - боковина; 6 - корд; 7 - протектор 
Рис. 16.2. Расположение нитей корда а) диагональное б) радиальное
Рис. 17.1. Схема рулевого управления с механизмом типа «червяк-ролик» 1 - рулевое колесо; 2 - рулевой вал с «червяком»; 3 – «ролик» с валом сошки; 4 - рулевая сошка; 5 - средняя тяга; 6 - боковые тяги; 7 - поворотные рычаги; 8 - передние колеса автомобиля; 9 - маятниковый рычаг; 10 - шарниры рулевых тяг
Рис. 17.2. Схема рулевого управления с механизмом типа «шестерня-рейка» 1 - рулевое колесо; 2 - вал с приводной шестерней; 3 - рейка рулевого механизма; 4 - правая и левая рулевые тяги; 5 - поворотные рычаги; 6 - направляющие колеса
Рис. 18.1. Общая схема тормозной системы 1 - передний тормоз; 2 - педаль тормоза; 3 - вакуумный усилитель; 4 - главный цилиндр гидропривода тормозов; 5 - трубопровод контура привода передних тормозов; 6 - защитный кожух переднего тормоза; 7 - суппорт переднего тормоза; 8 - вакуумный трубопровод; 9 - бачок главного цилиндра; 10 - кнопка рычага привода стояночного тормоза; 11 - рычаг привода стояночного тормоза; 12 - тяга защелки рычага; 13 - защелка рычага; 14 - кронштейн рычага привода стояночного тормоза; 15 - возвратный рычаг; 16 - трубопровод контура привода задних тормозов; 17 - фланец наконечника оболочки троса; 18 - задний тормоз; 19 - регулятор давления задних тормозов; 20 - рычаг привода регулятора давления; 21 - колодки заднего тормоза; 22 - рычаг ручного привода колодок; 23 - тяга рычага привода регулятора давления; 24 - кронштейн крепления наконечника оболочки троса; 25 - задний трос; 26 - контргайка; 27 - регулировочная гайка; 28 - втулка; 29 - направляющая заднего троса; 30 - направляющий ролик; 31 - передний трос; 32 - упор выключателя контрольной лампы стояночного тормоза; 33 - выключатель стоп-сигнала
Рис. 18.2. Схема гидропривода тормозов 1 - тормозные цилиндры передних колес; 2 - трубопровод передних тормозов; 3 - трубопровод задних тормозов; 4 - тормозные цилиндры задних колес; 5 - бачок главного тормозного цилиндра; 6 - главный тормозной цилиндр; 7 - поршень главного тормозного цилиндра; 8 - шток; 9 - педаль тормоза
Рис. 19.1. Источники и потребители электрического тока 1 - аккумуляторная батарея; 2 - генератор; 3 - выключатели потребителей
Рис. 19.2. Аккумуляторная батарея 1 - корпус; 2 - крышка; 3 - «плюсовая» клемма; 4 - один из шести аккумуляторов; 5 - «минусовая» клемма; 6 - пробка; 7 - заливное отверстие; 8 - пластины аккумулятора
Рис. 19.3. Генератор 1 - корпус генератора; 2 - обмотка статора; 3 - ротор; 4 - шкив привода генератора; 5 - ремень; 6 - кронштейн крепления; 7 - контактные кольца; 8 - щетки; 9 - регулятор напряжения; 10 - вывод «30» для подключения потребителей; 11 - вывод «61» для питания цепи амперметра и контрольных ламп на щитке приборов; 12 - выпрямитель
Рис. 20.1. Схема системы пуска двигателя а) стартер выключен 1 - корпус стартера; 2 - вал якоря стартера; 3 - шестерня привода с муфтой свободного хода; 4 - рычаг привода шестерни; 5 - обмотки тягового реле; 6 - якорь тягового реле; 7 - контактная пластина; 8 - контактные болты; 9 - обмотки стартера; 10 - якорь стартера; 11 - коленчатый вал двигателя; 12 - зубчатый венец маховика
Рис. 20.1. Схема системы пуска двигателя б) стартер включен
Рис. 20.1. Схема системы пуска двигателя в) схема электрической цепи стартера 1 - аккумуляторная батарея; 2 - предохранитель; 3 - замок зажигания; 4 - реле стартера
Рис. 61 Блок-фара 1 - корпус; 2 - отражатель; 3 - рассеиватель; 4 - лампа ближнего-дальнего света; 5 - лампа габаритного света; 6 - лампа указателя поворота
Рис. 62 Задний фонарь (правая сторона) 1 - стоп-сигнал; 2 - световозвращатель; 3 - фонарь заднего хода; 4 - габаритный фонарь; 5 - указатель поворота
Рис. 22.1. Щиток приборов 1- контрольные лампы; 2 - суточный счетчик пройденного пути; 3 - указатель температуры охлаждающей жидкости; 4 - вольтметр; 5 - счетчик пройденного пути; 6 - спидометр; 7 - эконометр; 8 - указатель уровня топлива