Курсовая работа: Обеспечение безопасности автомобильных перевозок
|
Название: Обеспечение безопасности автомобильных перевозок Раздел: Рефераты по транспорту Тип: курсовая работа | ||||||||||||||||||||||||||||||||||||||||||||||||||||||||||||||||||||||||||||||||||||||||||||||||||||||||||||||||||||||||||||||||||||||||||||||||||||||||||||||||||||||||||||||||||||||||||||||||||||||||||||||||||||||||||||||||||||||||||||||||||||||||||||||||||||||||||||||||||||||||||||||||||||||||||||||||||||||||||||||||||||||||||||||||||||||||||||||||||||||||||||||||||||||||||||||||||||||||||||||||||||||||||||||||||||||||||||||||||||||||||||||||||||||||||||||||||||||||||||||||||||||||||||||||||||||||||||||||||||||||||||||||||||||||||||||||||||||||||||||||||||||||||||||||||||||||||||||||||||||||||||||||||||||||||||||||||||||||||||||||||||||||||||||||||||||||||||||||||||||||||||||||||||||||||||||||||||||||||||||||||||||||||||||||||||||||||||||||||||||||||||||||||||||||||||||||||||||||||||||||||||||||||||||||||||||||||||||||||||||||||||||||||||||||||||||||||||||||||||||||||||||||||||||||||||||||||||||||||||||||||||||||||||||||||||||||||||
СодержаниеВведение 1 Задание на курсовую работу 2 Перевозка крупногабаритных и тяжеловесных грузов 3 Перевозка опасных грузов 3.1 Общие положения 3.2 Система информации об опасности 3.3 Организация перевозок 3.4 Движение транспортных средств 3.5 Техническое обеспечение перевозок 3.6 Требования к водителю, выполняющему перевозки 4 Пассажирские перевозки 4.1 Обследование маршрута и составление паспорта 4.2 Требования к техническому состоянию автобусов 4.3 Требования по обеспечению безопасности автобусных перевозок 4.4 Требования, предъявляемые к водителям 4.5 Организация перевозок пассажиров 4.6 Требования, предъявляемые к автомобильным дорогам и инженерным сооружениям на маршруте 4.6.1 Автомобильные дороги и улицы 4.6.2 Автобусные остановки 4.6.3 Паромная переправа 4.6.4 Ледовая переправа 4.6.5 Железнодорожный переезд Заключение Список использованных источников Приложения ВведениеТранспорт – одна из важнейших отраслей хозяйства, выполняющая функцию своеобразной кровеносной системы в сложном организме страны. Он не только обеспечивает потребности хозяйства и населения в перевозках, но вместе с городами образует «каркас» территории, является крупнейшей составной частью инфраструктуры, служит материально-технической базой формирования и развития территориального разделения труда, оказывает существенное влияние на динамичность и эффективность социально-экономического развития отдельных регионов и страны в целом. Одной из определяющих систем, обеспечивающих грузовые и пассажирские перевозки на территории России, является транспортная система, к которой в рыночных условиях предъявляются высокие требования в отношении качества, регулярности и надежности транспортных связей, сохранности грузов и безопасности перевозки пассажиров, сроков и стоимости доставки. В соответствии с этим состояние транспортной системы России должно отвечать требованиям нормативных документов и правила, регулирующих вопросы в этой области. Курсовая работа предусматривает разработку мероприятий, обеспечивающих безопасную перевозку грузов и пассажиров на заданном маршруте, выработку навыков работы с системой разрешительных документов и правилами перевозки тяжеловесных, крупногабаритных, опасных грузов и пассажиров. Цель курсовой работы - ознакомить студентов с нормативными документами и правилами обеспечения безопасности перевозок: - тяжеловесных и (или) крупногабаритных грузов; - опасных грузов (ОГ); - пассажиров. 1. Задание на курсовую работуВ соответствии с полученным заданием описать условия, при которых автотранспортное средство (АТС) – тягач МАЗ-64229 с полуприцепом ЧМЗАП-93853, может осуществлять перевозку тяжеловесных грузов по заданному маршруту (таблица 1.1), а также оформить необходимые документы. В соответствии с заданиями на организацию перевозки опасного груза (таблица 1.2) и пассажиров (таблица 1.3) разработать необходимые мероприятия по обеспечению безопасности движения и оформить необходимые документы. Таблица 1.1-Задание на организацию перевозки тяжеловесных грузов
Таблица 1.2-Задание на организацию перевозки опасного груза
Таблица 1.3-Характеристика автобусного маршрута
2 Перевозка крупногабаритных и тяжеловесных грузовАвтомобиль МАЗ-64229 совместно с полуприцепом ЧМЗАП-93853 предназначен для перевозки различных грузов в составе автопоезда. Для определения условий, при которых может осуществляться перевозка тяжеловесного груза, необходимо определить к какой категории относится транспортное средство. Для этого сравним технически характеристики автопоезда с параметрами, приведенными в Инструкции по перевозке крупногабаритных и тяжеловесных грузов. Таблица 2.1 – Технические характеристики автомобиля МАЗ-64229
Таблица 2.2 – Технические характеристики полуприцепа ЧМЗАП-93853
При полном использовании грузоподъемности полуприцепа нагрузка на седельное устройство тягача составляет 14,5 т (таблица 2.1), допустимая нагрузка на седельное устройство МАЗ-64229 составляет 14,7 т, поэтому в сочетании данные автомобиль и полуприцеп могут эксплуатироваться с полным использованием грузоподъемности полуприцепа. Комплексный чертеж МАЗ-64229 и полуприцепа ЧМЗАП-93853 показан в приложении А и Б соответственно. Полная масса автопоезда превышает величины, установленной Инструкцией по перевозке крупногабаритных и тяжеловесных грузов, нагрузка на заднюю ось превышает предельное значение для группы А, поэтому данное транспортное средство не относится к группам А и Б. Параметры АТС не соответствуют значениям категории II, т.к. проектная нормативная нагрузка на мостовое сооружение НГ-60, общая масса менее 60 т, следовательно, АТС относится к категории I. Перевозка по дорогам крупногабаритных и тяжеловесных грузов может осуществляться только на основании специальных разрешений. Заявление для получения разрешений на осуществление межрегиональных и местных перевозок по маршруту (Приложение В), проходящему целиком или частично по федеральным дорогам, для крупногабаритных и тяжеловесных грузов всех категорий подаются ближайшему к пункту, с которого начинается маршрут перевозки, органу управления федеральной автомобильной дорогой. В нашей области это Главное управление автодорог по Алтайскому краю. При выборе маршрута перевозки крупногабаритного или тяжеловесного груза должна быть оценена грузоподъемность транспортного средства и габариты инженерных сооружений на маршруте, чтобы обеспечить безопасность дороги и дорожных сооружений. Схема маршрута приведена в приложении Ж. Срок согласования маршрута перевозки для грузов категории I составляет 7 дней. После получения разрешения (Приложение Г) перевозчик согласовывает перевозку с ГИБДД УВД Алтайского края, т.к. маршрут начинается на территории Алтайского края. При согласовании выдается пропуск установленного образца (Приложение Д). Пропуск помещается в правом нижнем углу лобового стекла транспортного средства. Ширина транспортного средства составляет 2,5 м, длина автопоезда – 15.41 м, груз относится к категории I, поэтому автомобиль прикрытия не требуется. Скорость движения во время перевозки не должна превышать по дорогам -60 км/ч, а мостовым сооружениям – 15 км/ч. В целях обеспечения безопасности движения во время перевозки крупногабаритного и тяжеловесного груза запрещается: - отклоняться от установленного маршрута; - превышать указанную в разрешении скорость движения; - осуществлять движение во время гололеда, а также при метеорологической видимости менее 100 м; - двигаться по обочине дороги; - останавливаться вне специально обозначенных стоянок, расположенных за пределами дороги; - продолжать перевозку при возникновении технической неисправности АТС, угрожающей безопасности движения. При транспортировке тяжеловесных грузов масса полуприцепа должна соответствовать техническим нормативам, установленным заводом – изготовителем. Таким образом, масса полуприцепа ЧМЗАП-93853 должна быть не более 26,2 т. Тормозная система автопоезда должна работать от педали тормоза автомобиля - тягача. Полуприцеп ЧМЗАП-93853 должен быть оборудован стояночным тормозом и устройством, обеспечивающим автоматическую остановку в случае разрыва соединительных магистралей с автомобилем-тягачом. Каждый автопоезд должен быть снабжен не менее чем четырьмя противооткатными упорами. Кабина МАЗ-64229 должна быть оборудована, по меньшей мере, двумя наружными зеркалами заднего вида с обеих сторон. На автопоезд должны быть установлены опознавательные знаки «Автопоезд». Автопоезда должны быть оборудованы также проблесковыми маячками оранжевого или желтого цвета. 3. Перевозка опасных грузов3.1 Общие положенияК опасным грузам относятся любые вещества, материалы, изделия, отходы производственной и иной деятельности, которые, в силу присущих им свойств и особенностей, могут при их перевозке создавать угрозу для жизни и здоровья людей, нанести вред окружающей природной среде, привести к повреждению или уничтожению материальных ценностей. Опасные грузы, по требованиям ГОСТ 19433-88 "Грузы опасные. Классификация и маркировка" и ДОПОГ, распределяются на следующие классы: 1 – взрывчатые материалы (ВМ); 2 – газы сжатые, сжиженные и растворенные под давлением; 3 – легковоспламеняющиеся жидкости (ЛВЖ); 4 – легковоспламеняющиеся твердые вещества (ЛВТ), самовозгорающиеся вещества (СВ); вещества, выделяющие воспламеняющиеся газы при взаимодействии с водой; 5 – окисляющие вещества (ОК) и органические пероксиды (ОП); 6 – ядовитые вещества (ЯВ) и инфекционные вещества (ИВ); 7 – радиоактивные материалы (РМ); 8 – едкие и (или) коррозионные вещества (ЕК); 9 – прочие опасные вещества. Опасные грузы каждого класса в соответствии с их физико-химическими свойствами, видами и степенью опасности при транспортировании разделяются на подклассы, категории и группы по ГОСТ 19433-88. Транспортные документы, необходимые при перевозке опасных грузов: - путевой лист с пометкой "Опасный груз" либо другой транспортный документ (Правила п.5.1.9, ДОПОГ Марго №2002); - свидетельство о допуске водителя к перевозке ОГ (Правила п.5.1.9, ДОПОГ Марго №10315); - аварийная карточка информации об опасности (Правила п.5.1.9, ДОПОГ Марго №10385); - свидетельство о допуске транспортного средства к перевозке ОГ (Правила п.2.2.2, ДОПОГ Марго №230000, 10282, 10283); - разрешение органов МВД на перевозку "особо опасных грузов" (Правила п.2.3); - специальное разрешение при перевозке ОГ в международном сообщении (Правила п.2.2.1); - копия текста отступления от правил (ДОПОГ Марго №2010, 10602); - упаковочный сертификат на контейнер, предназначенный для перегрузки на морской или речной транспорт (ДОПОГ Марго №2008). 3.2 Система информации об опасности Система информации об опасности (СИО) при перевозке опасных грузов включает в себя следующие основные элементы: - информационные таблицы для обозначения транспортных средств; - аварийную карточку для определения мероприятий по ликвидации последствий; - информационную карточку для расшифровки кода экстренных мер, указанных на информационной таблице; - специальную окраску и надписи на транспортных средствах. Аварийная карточка системы информации об опасности заполняется организацией-изготовителем опасного груза по единой форме (Приложение Ж) и прилагается в дополнение к путевому листу. Аварийная карточка СИО должна находиться у ответственного лица – представитель грузоотправителя (грузополучателя) транспортного средства, перевозящего опасные грузы. Кузов автомобиля должен быть окрашен в оранжевый цвет и иметь надпись «огнеопасно» черного цвета, при этом буквы должны быть высотой не менее 150мм. 3.3 Организация перевозокСвидетельство о допуске АТС к перевозке опасных грузов (Приложение И) выдается ГИБДД Алтайского края после его технического осмотра. Тротил относится к первому классу – взрывчатые материалы, грузоотправитель (грузополучатель) должен получить разрешение на перевозку в ГИБДД УВД Алтайского края. Перевозка опасных грузов осуществляется на основании договора перевозки. Разработка маршрута транспортировки опасных грузов осуществляется автотранспортной организацией, выполняющей эту перевозку. Выбранный маршрут подлежит обязательному согласованию с ГИБДД УВД Алтайского края. Схема маршрута приведена в приложении М 3.4 Движение транспортных средствПеревозка взрывчатых веществ осуществляется в соответствии с требованиями "Правил перевозки опасных грузов автомобильным транспортом" утвержденных Госкомоборонпромом РФ 21.07.94 и согласованных с Минтрансом России, МВД России, МЧС России и Минприроды России. Скорость движения устанавливается согласно Правилам дорожного движения составляет 60 км /ч. При перевозке опасных грузов колонной автомобилей должны соблюдаться следующие требования: - при движении по ровной дороге дистанция между соседними транспортными средствами должна быть не менее 50 м; - в горных условиях - при подъемах и спусках - не менее 300 м; - при видимости менее 300 м (туман, дождь, снегопад и т.п.) перевозка некоторых опасных грузов может быть запрещена. Об этом должно быть указано в условиях безопасности перевозки опасных грузов. При остановке или стоянке транспортного средства должен быть обязательно включен стояночный тормоз, а на уклоне дополнительно установлен противооткатный упор. Порядок остановок и стоянок (в том числе и в случае ночлега) транспортных средств, перевозящих опасные грузы, указывается в условиях безопасной перевозки. Застигнутое грозой в пути транспортное средство с опасными грузами должно быть остановлено на расстоянии не менее 200 м от жилых строений или леса и не менее 50 м от других стоящих транспортных средств. В этих случаях обслуживающий персонал, кроме охраны, должен быть удален от транспортного средства на расстояние не менее 200 м. 3.5 Техническое обеспечение перевозокОпасные грузы должны перевозиться только специальными и (или) специально приспособленными для этих целей транспортными средствами, которые должны быть изготовлены в соответствии с действующими нормативными документами (тех. заданием, тех. условиями на изготовление, испытания и приемку) для полнокомплектных специальных транспортных средств и технической документацией на переоборудование (дооборудование) транспортных средств, используемых в народном хозяйстве. Автомобили, систематически используемые для перевозки опасных и легковоспламеняющихся веществ, должны оборудоваться выпускной трубой глушителя с выносом ее в сторону перед радиатором с наклоном. Если расположение двигателя не позволяет произвести такое переоборудование, то допустимо выводить выпускную трубу в правую сторону вне зоны кузова и зоны топливной коммуникации. Топливный бак должен быть удален от аккумуляторной батареи или отделен от нее непроницаемой перегородкой, а также удален от двигателя, электрических проводов и выпускной трубы и расположен таким образом, чтобы в случае утечки из него горючего оно выливалось непосредственно на землю, не попадая на перевозимый груз. Бак, кроме того, должен иметь защиту (кожух) со стороны днища и боков. Топливо не должно подаваться в двигатель самотеком. В случае разового использования автомобиля для перевозки опасных грузов классов 1, 2, 3, 4 и 5 допускается установка на выходное отверстие выпускной трубы глушителя искрогасительной сетки. Электрическое оборудование транспортных средств, перевозящих опасные грузы классов 1, 2, 3, 4 и 5, должно удовлетворять следующим требованиям: - номинальное напряжение электрооборудования не должно превышать 24 В; - электропроводка должна состоять из проводов, предохраняемых бесшовной оболочкой, не подвергаемой коррозии, и должна быть рассчитана таким образом, чтобы полностью предотвратить ее нагревания; - электросеть должна предохраняться от повышенных нагрузок при помощи плавких предохранителей (заводского изготовления) или автоматических выключателей; - электропроводка должна иметь надежную изоляцию, прочно крепиться и располагаться таким образом, чтобы она не могла пострадать от ударов и трения о конструктивные части автомобиля и была защищена от тепла, выделяемого системой охлаждения и отвода отработавших газов; - если аккумуляторы расположены не под капотом двигателя, то они должны находиться в вентилируемом отсеке из металла или другого материала эквивалентной прочности с изолирующими внутренними стенками; - автомобиль должен иметь приспособление для отключения аккумулятора от электрической цепи с помощью двухполюсного выключателя (или другого средства), который должен быть расположен как можно ближе к аккумулятору. Привод управления выключателем -прямого или дистанционного - должен находиться как в кабине водителя, так и снаружи транспортного средства. Он должен быть легкодоступным и обозначаться отличительным знаком. Выключатель должен быть таким, чтобы его контакты могли размыкаться при работающем двигателе, не вызывая при этом опасных перегрузок электрической цепи; - запрещается пользоваться лампами, имеющими цоколи с резьбой. Внутри кузовов транспортных средств не должно быть наружных электропроводок, а электролампы освещения, находящиеся внутри кузова, должны иметь прочную оградительную сетку или решетку. Автомобили, используемые для перевозки опасных грузов, должны быть оборудованы металлической заземлительной цепочкой с касанием земли на длине 200 мм и металлическим штырем для защиты от статических и атмосферных электрических зарядов на стоянке. У автомобиля с кузовом типа фургон кузов должен быть полностью закрытым, прочным, не иметь щелей и оборудоваться соответствующей системой вентиляции в зависимости от свойств перевозимого опасного груза. Для внутренней обивки используются материалы, не вызывающие искр, деревянные материалы должны иметь огнестойкую пропитку. Двери или дверь должны оборудоваться замками. Конструкция двери или дверей не должна снижать жесткость кузова. В тех случаях, когда в качестве покрытия открытых кузовов используется брезент, он должен изготовляться из трудно воспламеняющейся и непромокаемой ткани и прикрывать борта на 200 мм ниже их уровня и должен прикрепляться металлическими рейками или цепями с запорным приспособлением. Автомобили, предназначенные для перевозки опасных грузов, должны иметь следующий исправный инструмент и оборудование: - набор ручного инструмента для аварийного ремонта транспортного средства; - огнетушители, лопату и необходимый запас песка для тушения пожара; - не менее одного противооткатного упора на каждое транспортное средство, размеры упора должны соответствовать типу транспортного средства и диаметру его колес; - два фонаря автономного питания с мигающими (или постоянными) огнями оранжевого цвета и должны быть сконструированы таким образом, чтобы их использование не могло вызвать воспламенение перевозимых грузов; в случае стоянки ночью или при плохой видимости, если огни транспортного средства неисправны, на дороге должны устанавливаться фонари оранжевого цвета:- один перед транспортным средством на расстоянии примерно 10 м;- другой позади транспортного средства на расстоянии примерно 10 м; - аптечку и средства нейтрализации перевозимых опасных веществ. В случаях, предусмотренных в условиях безопасной перевозки и в аварийной карточке, транспортное средство комплектуется средствами нейтрализации перевозимого опасного вещества и средствами индивидуальной защиты водителя и сопровождающего персонала. Крепление таблиц системы информации об опасности на транспортных средствах должно производиться с помощью специальных устройств, обеспечивающих их надежную фиксацию. Таблицы системы информации об опасности должны располагаться спереди (на бампере) и сзади автомобиля, перпендикулярно его продольной оси, не закрывая номерных знаков и внешних световых приборов, а также не выступая за габариты транспортного средства. Транспортные средства, перевозящие опасные грузы, ни в коем случае не должны включать более одного прицепа или полуприцепа. Запас хода автомобилей, перевозящих опасный груз, без дозаправки топливом в пути должен быть не менее 500 км. Так как длина маршрута составляет 400 км, то дозаправка в пути не требуется. 3.6 Требования к водителю, выполняющему перевозкиВодитель, выделяемый для перевозки опасных грузов, обязан пройти специальную подготовку (при постоянном выполнении таких перевозок) или инструктаж (временно занятый на этих перевозках). Специальная подготовка водителей АТС включает: - изучение СИО (обозначения транспортных средств и упаковок); - изучение свойств перевозимых опасных грузов; - обучение приемам оказания первой медицинской помощи пострадавшим при инцидентах; - обучение действиям в случае инцидента (порядок действия, пожаротушение, первичные дегазация, дезактивация и дезинфекция); - подготовку и передачу донесений (докладов) соответствующим должностным лицам о происшедшем инциденте. Водители, занятые на перевозках опасных грузов, обязаны проходить медицинский осмотр при поступлении на работу и предрейсовый медицинский контроль перед каждым рейсом по перевозке опасных грузов, а постоянно занятые на таких перевозках, кроме того, – регулярные медицинские осмотры в соответствии с установленным графиком, но не реже одного раза в 3 года (Приказ Минздрава СССР №555 от 29.09.89). В транспортных документах должна быть отметка о прохождении водителем, назначаемым на перевозку опасных грузов, специальной подготовки или инструктажа и медицинского контроля. К перевозке опасных грузов допускаются водители, имеющие непрерывный стаж работы в качестве водителя транспортного средства данной категории не менее трех лет и свидетельство о прохождении специальной подготовки по утвержденным программам для водителей, осуществляющих перевозку опасных грузов (Постановление Правительства Российской Федерации №372 от 23.04.94). Водитель, осуществляющий перевозку опасного груза, должен иметь при себе следующие транспортные документы: - лицензионную карточку на транспортное средство с отметкой "Перевозка ОГ"; - путевой лист с указанием маршрута перевозки, с отметкой "Опасный груз" в верхнем левом углу, выполненной красным цветом, и указанием в графе "Особые отметки" номера опасного груза по списку ООН; - свидетельство о допуске водителя к перевозке опасных грузов (Приложение Д); - аварийную карточку СИО (Приложение Ж); - товарно-транспортную накладную; - адреса и телефоны должностных лиц автотранспортной организации, грузоотправителя, грузополучателя, ответственных за перевозку дежурных частей органов ГИБДД МВД РФ, расположенных по маршруту движения. При перевозке опасных грузов водителю запрещается отклоняться от установленного и согласованного с ГИБДД МВД РФ маршрута и мест стоянок, а также превышать установленную скорость движения. В случае возникновения инцидента водитель обязан: - не допускать посторонних лиц к месту инцидента; - сообщить о случившемся инциденте в ближайший орган ГИБДД МВД РФ и при необходимости вызвать скорую медицинскую помощь; - вызывать аварийную бригаду; - оказать первую медицинскую помощь пострадавшим; - в соответствии с указанием аварийной карточки принять меры по первичной ликвидации последствий инцидента; - по прибытии на место происшедшего инцидента представителей органов ГИБДД МВД РФ и здравоохранения проинформировать их об опасности и принятых мерах и предъявить транспортные документы на перевозимый груз. Водителям транспортных средств, перевозящих опасные грузы, запрещается осуществлять заправку автомобилей топливом на автозаправочных станциях общего пользования. При управлении АТС с опасным грузом водителю запрещается: - резко трогать транспортное средство с места; - резко тормозить; - производить обгон транспорта, двигающегося со скоростью более 30 км/час; - двигаться с выключенным сцеплением и двигателем; - курить в транспортном средстве и пользоваться открытым огнем; - оставлять транспортное средство без надзора. В случае вынужденной остановки водитель обязан обозначить место стоянки знаком аварийной остановки или мигающим красным фонарем согласно Правилам дорожного движения и знаками, запрещающими остановку, предусмотренными Правилами перевозки опасных грузов автотранспортом. При поломке автомобиля в пути следования и невозможности устранения на месте силами водителя технической неисправности водитель должен вызвать машину технического обеспечения перевозок и сообщить о месте своей вынужденной стоянки в ближайшие органы ГАИ МВД России. За время движения по маршруту перевозки водитель обязан периодически осуществлять контроль за техническим состоянием транспортного средства, а экспедитор - за креплением груза в кузове и за сохранностью маркировки и пломб. Запрещается на транспортном средстве, перевозящем опасный груз, одновременно перевозить другой груз, не указанный в товарно-транспортной документации, а также посторонних лиц. 4. Пассажирские перевозки4.1 Обследование маршрута и составление паспортаПорядок формирования сети регулярных автобусных маршрутов между субъектами Российской Федерации разработан в целях обеспечения безопасности перевозок, повышения культуры и качества обслуживания пассажиров, создания цивилизованного рынка транспортных услуг и предназначен для упорядочения процедуры открытия регулярных автобусных маршрутов между субъектами Российской Федерации (межобластных, межкраевых, межреспубликанских), установления единых подходов, процедур взаимодействия, последовательности и сроков выполнения работ, связанных с открытием этих маршрутов.Работа по формированию сети регулярных автобусных маршрутов между субъектами Российской Федерации осуществляется Министерством транспорта Российской Федерации с привлечением Российского автотранспортного союза и других организаций. Открытие маршрутов производится по согласованию с заинтересованными органами исполнительной власти субъектов Российской Федерации.Инициаторами открытия регулярных автобусных маршрутов между субъектами Российской Федерации могут выступать юридические и физические лица.К перевозкам пассажиров по регулярным маршрутам между субъектами Российской Федерации допускаются юридические лица и индивидуальные предприниматели, имеющие соответствующие лицензии.Для решения вопросов по открытию регулярного маршрута перевозчик разрабатывает:- схему маршрута в виде графического условного изображения, с указанием остановочных пунктов, расстояний между ними, а также характерных ориентиров (развилок дорог, перекрестков, железнодорожных переездов, мостов, тоннелей и т.д.);- расписание движения автобусов на маршруте в виде таблицы с указанием местного времени прибытия и отправления автобусов по каждому остановочному пункту;- размер платы за проезд и провоз багажа;- график работы водителей на маршруте с указанием времени и пунктов внутрисменного и межсменного отдыха.После получения согласия на открытие маршрута от органа исполнительной власти субъекта Российской Федерации оформляется паспорт маршрута (Приложение Л), после чего паспорт маршрута, расписание движения автобуса и ходатайство о согласовании открытия маршрута направляются в субъекты Российской Федерации, по территории которых будет проходить или заканчиваться вновь открываемый маршрут. Схема маршрута приведена в приложении М.Обследование автобусных маршрутов производится на основании пункта 4.15 Положения об обеспечении безопасности перевозок пассажиров автобусами, утвержденного Приказом Министерства транспорта Российской Федерации от 8 января 1997г. №2 (зарегистрирован Минюстом России 14 мая 1997 г., регистрационный № 1302). 4.2 Требования к техническому состоянию автобусовТехническое состояние и оборудование автобусов, работающих на маршрутах, должно отвечать инструкциям заводов-изготовителей, требованиям соответствующих стандартов, Правил дорожного движения, Правил технической эксплуатации подвижного состава автомобильного транспорта. На автомобильных дорогах III категорий, в соответствии со СНиП 2.05.02-85, разрешается работа автобусов всех типов и моделей, которые по осевым нагрузкам не превышают 10 т. Не допускается выпуск на линию автобусов с неисправными устройствами аварийного открывания люков, дверей, окон в салоне автобусов, не обеспеченных необходимым исправным противопожарным оборудованием, медицинскими аптечками, знаками аварийной остановки, противооткатными упорами. 4.3 Требования по обеспечению безопасности автобусных перевозокБезопасность автобусных перевозок непосредственно на маршрутах обеспечивается: - водителями автобусов; - автотранспортными, иными предприятиями (предпринимателями), осуществляющими автобусные перевозки; - дорожно-эксплуатационными, коммунальными, другими организациями, предпринимателями, в ведении которых наводятся автомобильные дороги, улицы, искусственные сооружения, железнодорожные переезды, паромные и ледовые переправы, технические средства регулирования дорожного движения; - подразделениями ГИБДД и Ространсинспекции. Основными задачами автотранспортных, иных предприятий, предпринимателей, осуществляющих автобусные перевозки, в обеспечении их безопасности являются: - укомплектование автобусов дисциплинированными водителями, имеющими соответствующую квалификацию; - проведение в установленные сроки занятий по повышению профессионального мастерства водителей; - организация контроля за своевременностью прохождения водителями медицинского переосвидетельствования и регулярного медицинского осмотра; - своевременное проведение стажировки и инструктажа водителей; - обеспечение водителей схемами автобусных маршрутов с указанием на них опасных участков и специфики движения, а также информацией о погодных условиях на маршруте, изменении состояния дорог и организации дорожного движения; - контроль за соблюдением водителями допустимой продолжительности рабочего времени, а также организацией их отдыха и питания; - содержание автобусов в технически исправном состоянии; - рациональная организация перевозок; - проведение нормирования скоростей и состояние расписаний движения с учетом обеспечения его безопасности, требований к режиму труда и отдыха водителей; - контроль за использованием автобусов, соблюдением водителями графиков движения по маршруту и правил дорожного движения. Основными задачами дорожно-эксплуатационных, коммунальных, других организаций (предприятий) в обеспечении безопасности автобусных перевозок являются: - содержание находящихся в их ведении автомобильных дорог, улиц, искусственных сооружений, железнодорожных переездов, паромных и ледовых переправ, дорожных знаков, других средств регулирования движения в технически исправном состоянии, обеспечивающем беспрепятственное и безопасное движение; - своевременное информирование предприятий (организаций), осуществляющих автобусные перевозки, об изменении дорожных условий; - оперативное выявление опасных участков дорог, принятие мер к устранению в установленные сроки источников опасности или, в случае невозможности этого, к закрытию автобусного движения; - своевременное выполнение мероприятий по устранению недостатков в оборудовании и содержании автомобильных дорог, улиц, искусственных сооружений, железнодорожных переездов, паромных и ледовых переправ, установленных комиссиями по обследованию автобусных маршрутов. Основной задачей подразделений ГИБДД по обеспечению безопасности автобусных перевозок является осуществление государственного контроля за соблюдением предприятиями (организациями), должностными лицами, водителями и другими участниками движения нормативов и правил, регламентирующих: - поведение и взаимоотношения участников дорожного движения; - квалификацию водителей автобусов; - техническое состояние автобусов; - содержание автомобильных дорог, улиц, дорожных сооружений и железнодорожных переездов; - порядок установки и содержания дорожных знаков, других технических средств регулирования дорожного движения; - порядок оперативного выявления и устранения опасных участков на автомобильных дорогах, улицах; - установление причин ДТП, принятие мер к их ликвидации. 4.4 Требования, предъявляемые к водителямДопуск водителей к управлению автобусами осуществляется в соответствии с положением о порядке допуска водителей к управлению транспортными средствами, при наличии водительских удостоверений соответствующих категорий. На заданный маршрут, который является междугородным, могут быть допущены водители, имеющие непрерывный стаж работы в качестве водителя автобуса не менее трех лет. К управлению автобусами водители могут допускаться только при условии: - обязательного прохождения предварительной стажировки на таких маршрутах; - регулярного прохождения предрейсового и послерейсового медицинского контроля; - выполнения требований положения о рабочем времени и времени отдыха водителей автомобилей, других документов, регламентирующих режим труда и отдыха водителей; - обязательного прохождения предрейсового инструктажа, обеспечения водителя схемой маршрута с указанием опасных участков, пунктов медицинской помощи, больниц, телефонов автохозяйства, где водителям может быть оказана техническая помощь. Продолжительность, объемы и содержание стажировки водителей автобусов устанавливаются в зависимости от их общего водительского стажа, стажа работы на автобусе, категории и сложности маршрута. Предприятия, осуществляющие автобусные перевозки, должны иметь соответствующие документы, определяющие порядок проведения: - стажировки водителей автобусов; - занятий по повышению профессионального мастерства водителей автобусов; - периодической оценки деловых и моральных качеств водителей автобусов; - предрейсовых и послерейсовых медицинских осмотров водителей; - линейного контроля на маршрутах. 4.5 Организация перевозок пассажировВодитель автобуса во всех случаях несет личную ответственность за отклонение от указанного в путевом листе маршрута и установленного графика движения. При перевозке количество пассажиров в автобусе не должно превышать числа мест для сидения. На междугородных маршрутах багаж пассажиров при наличии багажных отсеков размещается только в них. Допустимая протяженность автобусных маршрутов определяется исходя из положения о рабочем времени и времени отдыха водителей с учетом расчетных нормативов скорости движения и установленной технологии перевозок. Запрещается организация автобусных перевозок одним водителем на маршрутах протяженностью более 500 км, а также выполнение ночных рейсов междугородных автобусов. Расписания (графики) движения при осуществлении всех видов автобусных перевозок должны составляться службой эксплуатации АТП на основе нормативных значений скорости движения на отдельных этапах маршрута при условии, что эти значения соответствуют разрешенным правилами движения или знаками. Водители автобусов при работе на линии должны иметь график движения с указанием в нем времени прохождения остановок, времени и места обеда, отдыха, а также схему маршрута с обозначением на ней опасных участков. В графике движения указывается место и время ночлега, а также время прохождения населенных пунктов и других ориентиров. Водитель автобуса обязан на контрольных пунктах (автостанциях, автовокзалах) в случае, если они предусмотрены графиком движения, делать отметки в путевом листе о времени прибытия и убытия, а по прибытии в конечный пункт - сообщать об этом по месту работы. При возникновении неисправностей, угрожающих безопасности движения, а также при ухудшении самочувствия водителя движение автобуса должно быть немедленно прекращено. Информация об этом передается диспетчеру ближайшего автовокзала (автостанции), который обязан принять меры к замене автобуса или водителя, обеспечению выполнения перевозки. 4.6 Требования, предъявляемые к автомобильным дорогам и инженерным сооружениям на маршруте4.6.1 Автомобильные дороги и улицыТехническое состояние автомобильных дорог, по которым проходят автобусные маршруты, а также соответствующее их инженерное обустройство должны удовлетворять требованиям безопасности движения, установленным строительными нормами и правилами, ГОСТ Р 50597-93, СНиП-2.05.02-85, ВСН-24-88 и другими действующими нормами, а также правилами их содержания. Проезжая часть улиц городов, поселков и автомобильных дорог, по которым организуется регулярное движение автобусов, в зависимости от технической категории, может иметь усовершенствованный капитальный, усовершенствованный облегченный или переходный тип покрытия. На участках дорог в пределах населенных пунктов и на подходах к ним должны быть предусмотрены тротуары за пределами земляного полотна. Обстановка автомобильных дорог и участков, по которым проходят автобусные маршруты, должна соответствовать СНиПам, ГОСТам и иным нормативным документам. Установка дорожных знаков должна производиться в соответствии с требованиями ГОСТ 10807-71, разметка проезжей части - в соответствии с требованиями ГОСТ 13508-74, установка ограждений и направляющих устройств в соответствии с требованиями ГОСТ 23457-86 и других нормативных документов. 4.6.2 Автобусные остановкиВыбор местоположения автобусных остановок производится автотранспортными предприятиями исходя из правил организации пассажирских перевозок и требований СНиП. При этом должны быть соблюдены условия обеспечения необходимой видимости автобусных остановок и безопасности движения транспортных средств и пешеходов в их зоне. Местоположение автобусных остановок согласовывается с дорожными, коммунальными организациями, ГИБДД и утверждается в органах местного самоуправления. Коммунальные и дорожные органы должны обеспечивать освещение автобусных остановок и подходов к ним в городах и населенных пунктах в темное время суток. 4.6.3 Ледовая переправаЛедовая переправа находится на 600 км от начала маршрута. Так как перевозки по этому маршруту осуществляются, круглый год то ледовая переправа работает в зимнее время года. Перевозка пассажиров автобусами по ледовым переправам не допускается. В порядке исключения может допускаться движение автобусов малого класса с высадкой пассажиров. Ледовая переправа устраивается и содержится согласно требованиям техническим правилам содержания и ремонта дорог ВСН – 24-88. 4.6.4 Железнодорожный переездНа 510 км маршрута находится железнодорожный переезд. Переезд должны быть оборудованы, и содержаться в соответствии с инструкцией по устройству и обслуживанию железнодорожных переездов, утвержденной Министерством путей сообщения РФ. МПС РФ, министерства и ведомства, в ведении которых находятся железные дороги, должны заранее информировать другие министерства и ведомства, осуществляющие автобусные перевозки, а также ГИБДД о плановых мероприятиях по реконструкции и ремонту железнодорожных переездов или пути, по которым нарушается или затрудняется пропуск транспортных средств на маршрутах автобусных перевозок. Размещение остановочных пунктов в зоне железнодорожных переездов не должно ухудшать условия видимости водителями приближающегося поезда, а их техническое решение должно обеспечивать беспрепятственное движение транспорта по основным полосам движения в случае остановки автобуса. ЗаключениеВ ходе выполнения курсовой работы разработаны мероприятия, обеспечивающие безопасную перевозку грузов и пассажиров на заданном маршруте, выработан навык работы с системой разрешительных документов и правилами перевозки тяжеловесных, крупногабаритных, опасных грузов и пассажиров. Список использованных источников1. А.С. Баймиструк, В.З. Гибадуллин. Спецглавы по обеспечению безопасности автомобильных перевозок. Методические указания к выполнению курсовой работы для студентов специальности 240400. Издательство курганского государственного университета, 2003. 2. Инструкция по перевозке крупногабаритных и тяжеловесных грузов автомобильным транспортом по дорогам РФ.Утверждена министром транспорта Российской Федерации 27.05.96. 3.Положение об обеспечении безопасности перевозок пассажиров автобусами. Утверждено Приказом Министра транспорта Российской Федерации от 8 января 1997 г. N 2. 4. Порядок формирования сети регулярных автобусных маршрутов между субъектами РФ. Утвержден Приказом Минтранса России от 14 августа 2003 г. N 178 5. Постановление Правительства РФ от 23 апреля 1994 г. N 372 "О мерах по обеспечению безопасности при перевозке опасных грузов автомобильным транспортом" (с изменениями от 16 марта 1997 г.) 6. ГОСТ 10807-78. Знаки дорожные. Общие технические условия. 7. ГОСТ 19433-88.Грузы опасные. Классификация и маркировка. Приложение А |
||||||||||||||||||||||||||||||||||||||||||||||||||||||||||||||||||||||||||||||||||||||||||||||||||||||||||||||||||||||||||||||||||||||||||||||||||||||||||||||||||||||||||||||||||||||||||||||||||||||||||||||||||||||||||||||||||||||||||||||||||||||||||||||||||||||||||||||||||||||||||||||||||||||||||||||||||||||||||||||||||||||||||||||||||||||||||||||||||||||||||||||||||||||||||||||||||||||||||||||||||||||||||||||||||||||||||||||||||||||||||||||||||||||||||||||||||||||||||||||||||||||||||||||||||||||||||||||||||||||||||||||||||||||||||||||||||||||||||||||||||||||||||||||||||||||||||||||||||||||||||||||||||||||||||||||||||||||||||||||||||||||||||||||||||||||||||||||||||||||||||||||||||||||||||||||||||||||||||||||||||||||||||||||||||||||||||||||||||||||||||||||||||||||||||||||||||||||||||||||||||||||||||||||||||||||||||||||||||||||||||||||||||||||||||||||||||||||||||||||||||||||||||||||||||||||||||||||||||||||||||||||||||||||||||||||||||||
| РОССИЙСКОЕ ДОРОЖНОЕ АГЕНТСТВО | |||||||||||||||||
| Центр по организации дорожного сервиса | |||||||||||||||||
| "ЦЕНТРДОРСЕРВИС" /ЦДС/ | |||||||||||||||||
| 101496 г. Москва, Институтский пер. 2/1 | |||||||||||||||||
| тел. 207-56-27, 288-95-61, 207-52-71 факс 971-64-88 | |||||||||||||||||
| поступило в ЦДС | |||||||||||||||||
| Дата 03.12.2004 № 2475 | |||||||||||||||||
| ЗАЯВЛЕНИЕ | |||||||||||||||||
| на получение разрешения для перевозки крупногабаритного и (или) тяжеловесного груза по дорогам | |||||||||||||||||
| общего пользования Российской Федерации | |||||||||||||||||
| Наименование, адрес и телефон перевозчика груза | Авто колона 12-32, ул. Советская 21, 75-19-21 | ||||||||||||||||
| Наименование, адрес и телефон получателя груза | Антей, ул. Почтовая 54, 22-31-24 | ||||||||||||||||
| Маршрут движения | г Бийск ул Сибирская; п. Кырлык ул. Почтовая | ||||||||||||||||
| ( начальный и конечный пункты с указанием улицы в городе) | |||||||||||||||||
| Вид перевозки -межрегиональная | |||||||||||||||||
| ( международная, межрегиональная) | |||||||||||||||||
| Вид необходимого разрешения: | |||||||||||||||||
| 1 | Разовое на одну поездку на срок с по | ||||||||||||||||
| 2 | На срок с 9.12.2009 по 9.01.2010 на количество поездок 7 | ||||||||||||||||
| Характеристика груза: наименование | 3 | Строительные материалы (стеновые панели) | |||||||||||||||
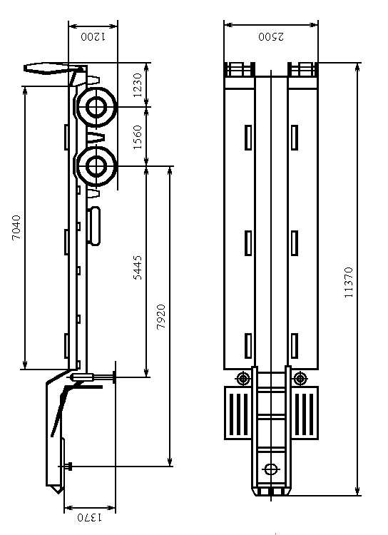
| габариты | 4 | 7040*2500*3170 | вес | 5 | 26200 | ||||||||||||
| Количество автопоездов 3 | |||||||||||||||||
| Параметры автопоезда : | |||||||||||||||||
| Марка (и) тягача (ей) | 6 | МАЗ-64229 | № | 7 | х577км 22 | ||||||||||||
| Марка (и) прицепа (ов) | 8 | ЧМЗАП-93853 | № | 9 | 5421ор 22 | ||||||||||||
| 10 | Расстояние между осями | 1 | 2900 2 | 1400 3 | 69204 | 1560 5 | 6 | 7 | 8м | ||||||||
| нагрузки на оси (т) | 11 | 6000 | 9000 | 9000 | 9000 | 9000 | |||||||||||
| количество осей | 5 | полная масса | 12 | 42000 | т, в том числе | ||||||||||||
| тягача | 13 | 9.3 | порожнего прицепа | 14 | 6,5 | ||||||||||||
| габариты автопоезда: длина | 15 | 15410 | ширина | 16 | 2500 | высота | 17 | 3650 | |||||||||
| радиус поворота с грузом, м. 10,1 | |||||||||||||||||
| Вид сопровождения | |||||||||||||||||
| ( марка автомобиля, модель, номерной знак) | |||||||||||||||||
| Предполагаемая скорость движения автопоезда 60 км/час | |||||||||||||||||
| Оплату гарантируем: ( Банковские реквизиты) _________________________________________________ | |||||||||||||||||
| _________________________________________________ | |||||||||||||||||
| _________________________________________________ | |||||||||||||||||
| Перевозчик груза, | Авто колона 12-32 | ||||||||||||||||
| подавший заявление: | |||||||||||||||||
| (должность) | (подпись) | (фамилия) | |||||||||||||||
| м.п. | |||||||||||||||||
| P.S. (настоящий бланк заполнять только машинописным текстом) | |||||||||||||||||
Приложение Г
Форма разрешения на перевозку крупногабаритного и (или) тяжеловесного груза
Разрешение №2578
на перевозку крупногабаритного и (или) тяжеловесного груза по дорогам общего пользования Российской Федерации
Вид перевозки (международная, межрегиональная, местная) межрегиональная
Вид разрешения (разовая, на срок) на срок
Разрешено выполнить 7 поездок в период с 9.12.2009 по 9.01.2010
по маршруту: г Бийск ул Сибирская; п. Кырлык ул. Почтовая
Категория грузаI
Транспортное средство (марка, модель, номерной знак тягача и прицепа)
тягач МАЗ-64229, х577км **; полуприцеп ЧМЗАП-93853 , 5421ор**
Наименование, адрес и телефон перевозчика груза:
Авто колона 12-32, ул. Советская 21, 75-19-21
Наименование, адрес и телефон получателя груза:
Антей, ул. Почтовая 54, 22-31-24
Характеристика груза (наименование, габариты, масса):строительные материалы (стеновые панели);
7040*2500*3170; 26200кг
Параметры транспортного средства:
полная масса с грузом 42 т, в т.ч.: масса тягача 9.3 т
масса прицепа (полуприцепа) 6.5 т
расстояние между осями 1 2,9 2 1,4 3 6,9 4 1,56 5 6___7___8 и т.д. м
нагрузка на оси 6000 9000 9000 9000 9000 ___ ___ ___ , т
габариты: длина 15.410 м, ширина 2,5 м, высота 3,65 м
Вид сопровождения: (марка автомобиля, модель, номерной знак)
_____________________________________________________________
Особые условия движения __________________________________
_____________________________________________________________
Разрешение выдано____________________________________________
(наименование организации)
_____________________________________________________________
(должность)
_____________________________________________________________
(фамилия, И.О.) (подпись)
М.П. «___»_____________200_ г.
Организации, согласовавшие перевозку (указать организации, с которыми орган, выдавший разрешение, согласовал перевозку, и рекомендованный согласователем режим движения):
1. ГИБДД УВД Алтайского края
_____________________________________________________________
2. ___________________________________________________________
3. ___________________________________________________________
4. ___________________________________________________________
А. С основными положениями и требованиями Инструкции по перевозке крупногабаритных и тяжеловесных грузов автомобильным транспортом по дорогам Российской Федерации и настоящего разрешения ознакомились:
водитель(и) основного тягача ____Синицин Е.А. __________________
лицо, сопровождающее груз Петров Е.В. ____________________
(фамилия, инициалы, подпись)
Б. Транспортное средство осмотрено представителем перевозчика груза, который удостоверяет, что оно соответствует требованиям Правил дорожного движения и Инструкции по перевозке крупногабаритных и тяжеловесных грузов автомобильным транспортом по дорогам Российской Федерации.
Контролёр ____________________Сазонов И.С.
(должность) (подпись) (фамилия, И.О.)
М.П. «_9 _»_декабря __________2009г.
Без пропуска, выданного Госавтоинспекцией, и без заполнения пунктов А и Б разрешение не действительно!
Приложение Д
Образец пропуска ГАИ
Лицевая сторона пропуска
МИНИСТЕРСТВО ВНУТРЕННИХ ДЕЛ РОССИЙСКОЙ ФЕДЕРАЦИИ ГЛАВНОЕ УПРАВЛЕНИЕ ГОСАВТОИНСПЕКЦИИ ПРОПУСК СЕРИЯ 22 № 7581 |
|||||||||||
| I кв. | II кв. | III кв. | IV кв. | ||||||||
2009 ТЯГАЧ____МАЗ-64229 ___ НОМЕРНОЙ ЗНАК__х577км _____ (МАРКА) ПРИЦЕП__ЧМЗАП-93853 НОМЕРНОЙ ЗНАК__5421ор _____ (МАРКА) |
|||||||||||
Оборотная сторона пропуска
Маршрут движения: г Бийск ул Сибирская; п. Кырлык ул. Почтовая_______________ Грузоперевозчик: Авто колона 12-32, ул. Советская 21__________________________ Время перевозки: _______10 часов____________________________________________ Максимальная разрешенная скорость движения ___________60_______________км/ч, По мостам и путепроводам __________________15_________________________км/ч. Ограничения по погодным условиям: запрещается осуществлять движение при_____ метеорологической видимости менее 100 м____________________________________ _________________________________________________________________________ Сопровождение: ______________без сопровождения ____________________________ (без сопровождения, автомобиль прикрытия, ________________________________________________________________________________ патрульный автомобиль ГАИ) Вид связи: ________Автомобильная радиостанция ______________________________ Оперативное или временное изменение организации движения:___________________ Должность и фамилия сотрудника ГАИ, согласовавшего перевозку: капитан Воробьев В.А._____________________________________________ Телефон __32-32-23___________ Подпись ______________________ М.П. |
Приложение Ж
Аварийная карточка системы информации об опасности
Наименование груза 2,4,6-тринитрометилбензол |
Класс опасного груза |
Код экстренных мер | № по списку ООН | |||
Синонимы Тротил |
1 | П 12345 |
0209 | |||
| Физические свойства | Знаки опасности
|
|||||
| Температура кипения, 0 С | ||||||
| Температура плавления, 0 С | ||||||
| Летучесть (упругость пара) | ||||||
| Плотность паров (по воздуху) | ||||||
| Плотность (по воде) 1,6 | ||||||
| Растворимость в воде - | ||||||
| Пожаро- и взрывоопасность | ||||||
| Температура вспышки (воспламенения), 0 С | Температура самовоспламенения, 0 С | Область воспламенения паров |
Пределы воспламенения, 0 С | |||
| нижний | верхний | |||||
| 290 | - | - | 3,5% | 10,5% | ||
| Опасность для человека | ||||||
| ПДК, мг/м3 | ЛД50 . мг/кг (при попадании внутрь) |
ЛД50 . мг/м3 (через кожу) |
ЛБ50 . мл/м3 |
|||
| Пути поступления в организм | При вдыхании | |||||
| Токсическое действие | Токсичны продукты взрыва | |||||
| Воздействие на кожу и слизистые оболочки | Вызывает головную боль | |||||
| Экологическая безопасность | Обеспечивается герметичностью упаковки | |||||
Аварийная карточка системы информации об опасности (оборотная сторона)
| Огнегасительные средства | ||
| Рекомендуемые | Запрещаемые | |
| при пожаре | при загорании | _______ |
| любые средства пожаротушения | любые средства пожаротушения | |
| Меры первой помощи | ||
| При вдыхании | Вывести на свежий воздух | |
| При остановке дыхания | Реанимационные мероприятия | |
| При попадании в глаза, на кожу | _______ | |
| При проглатывании | _______ | |
| Органов дыхания | Респираторы, противогазы | |
| Глаз | - | |
| Кожи | - | |
| Собрать в упаковки | ||
Приложение И
Форма свидетельства о допуске транспортных средств к перевозке опасных грузов
СВИДЕТЕЛЬСТВО О ДОПУСКЕ К ПЕРЕВОЗКЕ ТРАНСПОРТНЫХ СРЕДСТВ, ПЕРЕВОЗЯЩИХ ОПАСНЫЕ ГРУЗЫ
I. СВИДЕТЕЛЬСТВО № 1124
удостоверяющее, что указанное ниже транспортное средство отвечает условиям,предписанным Европейским соглашением о международной дорожной перевозке опасных грузов (ДОПОГ), для допущения его к международной дорожной перевозке опасных грузов.
2. Завод-изготовитель и тип транспортного средства
МАЗ; тягач МАЗ-64229; полуприцеп ЧМЗАП-93853,
3. Регистрационный номер и номер шасси
тягач –х577км** полуприцеп–5421ор**
4. Наименование автотранспортной организации, перевозчика или владельца и его адрес Авто колона 12-32
5. Описанное выше транспортное средство было подвергнуто осмотру, предписанному в маргинальном номере 10 282 приложения В к ДОПОГ, и отвечает требованиям, предъявленным для допущения его к международной дорожной перевозке опасных грузов, предусмотренных в следующих классах, пунктах, подпунктах 1 класс опасного вещества (Тротил)
6. Замечания
| Действительно по 09.12.2009 | Печать выдавшего свидетельство учреждения Подпись Дата |
| Срок действительности продлен до 09.01.2010 | Печать выдавшего свидетельство учреждения Подпись Дата |
ПРИМЕЧАНИЕ 1: На каждое транспортное средство должно выдаваться отдельное свидетельство, если только не предусмотрено иного, например, для класса 1.
ПРИМЕЧАНИЕ 2: Настоящее свидетельство должно быть возвращено выдавшему его учреждению после прекращения эксплуатации транспортного средства.
Приложение К
Форма свидетельства о допуске водителей к перевозке опасных грузов
ДОПОГ - СВИДЕТЕЛЬСТВО О ПОДГОТОВКЕ ВОДИТЕЛЕЙ ТРАНСПОРТНЫХ СРЕДСТВ, ИСПОЛЬЗУЕМЫХ ДЛЯ ПЕРЕВОЗКИ ОПАСНЫХ ГРУЗОВ Свидетельство № 13245 Отличительный знак страны, выдавшей свидетельство Действительно в отношении веществ класса (классов)* 1 2 4.1, 4.2, 4.3 5.1, 5.2 6.1, 6.2 7 8 9 До (дата) 05.06.2010 _____________________ *- ненужное вычеркнуть |
Фамилия Левин Имя (Имена) Сергей Дата рождения 02.02.1973 Гражданство Россия Подпись владельца Выдано 05.12.2007 Дата Подпись** Продлено до 05.06.2010 Кем Дата Подпись** ________________ **- и / или печать (или штамп) органа, выдавшего удостоверение |
| ДЕЙСТВИТЕЛЬНОСТЬ В ОТНОШЕНИИ ДРУГИХ КЛАССОВ* | Только для национальных правил | |
| 1, 2, 3, 4.1, 4.2, 4.3, 5.1, 5.2, 6.1, 6.2, 7, 8, 9 | Дата 05.06.2010 Подпись и / или штамп |
|
| 1, 2, 3, 4.1, 4.2, 4.3, 5.1, 5.2, 6.1, 6.2, 7, 8, 9 | Дата Подпись и / или штамп |
|
| 1, 2, 3, 4.1, 4.2, 4.3, 5.1, 5.2, 6.1, 6.2, 7, 8, 9 | Дата Подпись и / или штамп |
|
* - Вычеркнуть ненужные классы |
||
Приложение Л
Паспорт маршрута
ПАСПОРТ АВТОБУСНОГО МАРШРУТА №517 г. Горно-Алтайск-г.Омск (наименование маршрута)Вид маршрута: межрегиональныйСоставлен по состоянию на 09.12 2009 год ПАСПОРТ МАРШРУТА Протяженность ____800 км Сезонность работы (период работы) _круглый год Дата открытия и основание 13.04.2007 Дата закрытия и основание _______________________________________________________________Расстояния между промежуточными остановками составили:------------------------------T-----T----------------------------¬¦ ТУДА ¦Оста-¦ ОБРАТНО ¦+---------T----------T--------+но- +--------T----------T--------+¦Показания¦Расстояние¦Расстоя-¦воч- ¦Показа- ¦Расстояние¦Расстоя-¦¦спидомет-¦между ос- ¦ние от ¦ные ¦ния спи-¦между ос- ¦ние от ¦¦ра ¦тановочны-¦началь- ¦пунк-¦дометра ¦тановочны-¦началь- ¦¦ ¦ми пункта-¦ного ¦ты ¦ ¦ми пункта-¦ного ¦¦ ¦ми ¦пункта ¦ ¦ ¦ми ¦пункта ¦+---------+----------+--------+-----+--------+----------+--------+¦ ¦ ¦ ¦ ¦ ¦ ¦ ¦+---------+----------+--------+-----+--------+----------+--------+¦ ¦ ¦ ¦ ¦ ¦ ¦ ¦+---------+----------+--------+-----+--------+----------+--------+¦ ¦ ¦ ¦ ¦ ¦ ¦ ¦+---------+----------+--------+-----+--------+----------+--------+¦ ¦ ¦ ¦ ¦ ¦ ¦ ¦+---------+----------+--------+-----+--------+----------+--------+¦ ¦ ¦ ¦ ¦ ¦ ¦ ¦L---------+----------+--------+-----+--------+----------+--------- Председатель комиссии ___________(подпись)Члены комиссии ___________(подпись) ХАРАКТЕРИСТИКА ДОРОГИ НА МАРШРУТЕ трасса Горно-Алтайск-Омск _____________I категория ____(название дороги, категория)Ширина проезжей части, тип покрытия (по участкам, с указанием ихпротяженности)Асфальтобетон,11 Метров _______________________ СВЕДЕНИЯ О ТРАССЕ МАРШРУТА /-----------------T----------------------------------------------\¦Кем обслуживается¦ КГУ Алтайавтодор - ДЭУ Омскавтодо𠦦дорога +----------------------------------------------+¦ ¦ ¦¦ +----------------------------------------------+¦ ¦ ¦¦ +----------------------------------------------+¦ ¦ ¦¦ +----------------------------------------------+¦ ¦ ¦+-----------------+----------------------------------------------+¦Наличие мостов ¦ ¦¦(между какими +----------------------------------------------+¦пунктами или на ¦ ¦¦каком километре) +----------------------------------------------+¦и их грузоподъем-¦ ¦¦ность +----------------------------------------------+¦ ¦ ¦¦ +----------------------------------------------+¦ ¦ ¦+-----------------+----------------------------------------------+¦Наличие железно- ¦между Городом Б и конечным пунктом ¦¦дорожных переез- +----------------------------------------------+¦дов (между какими¦ на 730 километре ¦¦пунктами или на +----------------------------------------------+¦каком километре) ¦ охраняемый ¦¦и их вид (охраня-+----------------------------------------------+¦емые, неохраняе- ¦ ¦¦мые) +----------------------------------------------+¦ ¦ ¦+-----------------+----------------------------------------------+¦На каких остано- ¦ город А, город Б, санаторий, ¦¦вочных пунктах +----------------------------------------------+¦имеются съездные ¦ ¦¦площадки +----------------------------------------------+¦ ¦ ¦¦ +----------------------------------------------+¦ ¦ ¦¦ +----------------------------------------------+¦ ¦ ¦+-----------------+----------------------------------------------+¦Наличие разворот-¦начальный и конечный пункты ¦¦ных площадок на +----------------------------------------------+¦конечных пунктах ¦ ¦¦ +----------------------------------------------+¦ ¦ ¦¦ +----------------------------------------------+¦ ¦ ¦¦ +----------------------------------------------+¦ ¦ ¦\-----------------+----------------------------------------------/ Дата заполнения _____09,12,2009 ______________

