Курсовая работа: Разработка рациональных режимов резания при эксплуатации пил круглых
|
Название: Разработка рациональных режимов резания при эксплуатации пил круглых Раздел: Промышленность, производство Тип: курсовая работа | ||||||||||||||||||||||||||||||||||||||||||||||||||||||||||||||||||||||||||||||||||||||||||||||
| Учреждение образования «БЕЛОРУССКИЙ ГОСУДАРСТВЕННЫЙ ТЕХНОЛОГИЧЕСКИЙ УНИВЕРСИТЕТ» Факультет Технологии и техники лесной промышленности Кафедра Деревообрабатывающих станков и инструментов Специальность «Технология деревообрабатывающих производств» Специализация «Технология и дизайн мебели»
ПОЯСНИТЕЛЬНАЯ ЗАПИСКА КУРСОВОЙ РАБОТЫ по дисциплине «Резание древесины и дереворежущий инструмент» Тема «Разработка рациональных режимов резания при эксплуатации пил круглых» Минск 2009 Реферат Пояснительная записка 32 с., 2 рис., 3 табл., 6 источников информации, 4 прил. ПИЛА, ДРЕВЕСИНА, РЕЗАНИЕ, СТАНОК, ДЕТАЛЬ, ИНСТРУМЕНТ, МОЩНОСТЬ, СИЛА. В данной курсовой работе рассматриваются вопросы: о рациональном использовании режимов резания при эксплуатации пил круглых для поперечной распиловки сосны, о факторах, влияющих на процесс обработки резанием, о методах улучшения качества обработки и увеличения производительности. В работе проведен расчет наиболее рациональных режимов резания и работы оборудования (скорости подачи, требуемой мощности резания, фактических сил резания), вопросы связанные с технической эксплуатацией инструмента (подготовка инструмента к работе и уход за ним, правка, вальцевание и т. д.), контроль точности подготовки инструмента. К курсовой работе прилагается: функциональная схема, кинематическая схема, гидравлическая схема, общий вид станка и чертеж режущего инструмента. Результатом курсовой работы является разработка рационального метода получения необходимой детали выбором наиболее подходящего оборудования для обработки, выбор типового инструмента и определение его основных параметров, а также определение режимов обработки, обеспечивающих наибольшую производительность и хорошее качество получаемого материала. Графическая часть включает: ¾ общий вид станка – 1 лист А3; ¾ функциональная схема станка – 1 лист А4; ¾ кинематическая схема станка – 1 лист А4; ¾ чертёж режущего инструмента – 1 лист А4; Введение Обработка древесины и древесных материалов резанием занимает ведущее место в деревообрабатывающей промышленности. Она является наиболее сложной и дорогостоящей частью процесса производства изделий из древесины и древесных материалов. При обработке на деревообрабатывающих станках изменяется форма и размеры заготовок путем снятия с них стружки режущими инструментами. Современные деревообрабатывающие станки являются сложными технологическими машинами. В их состав входят механизмы резания, подачи, базирования, настройки и регулирования, загрузки и разгрузки деталей. Приводы станков включают механические, электрические, пневматические, гидравлические, вакуумные, электромагнитные устройства для обеспечения заданного закона движения рабочих органов. Мощность приводов колеблется в широких пределах. Оборудование деревообрабатывающих производств быстро обновляется в связи с непрерывным совершенствованием технологических процессов. За последние годы претерпели изменения универсальные и специальные станки, автоматы и автоматические линии. Повысились надежность оборудования в работе, точность обработки деталей, долговечность механизмов и безопасность работы, улучшились эксплуатационные свойства дереворежущих инструментов. В результате улучшились условия эксплуатации дереворежущего оборудования, расширились его технологические возможности. В соответствии с заданием предусматривается разработка рациональных режимов резания при эксплуатации круглопильных станков. В технологии механической обработки круглопильные станки осуществляют продольное, поперечное, и под углом к волокнам распиливание древесины и древесных плит. По технологическому назначению круглопильные станки можно разделить на три основные группы: для продольного, поперечного и форматного распиливания. Круглопильные станки подходят в качестве головного оборудования для промышленного лесопиления, но при наличии дешёвого сырья и квалифицированных заточников. Торцовочный станок с тремя (двумя) пилами модель UDK-06/3
1. Технологическая часть
1.1 Последовательность технологических операций получения готовой детали Загружаем данную заготовку в станок. Выставляем заготовку на заданный размер и производим рез (отрезали первую деталь от заготовки) путем нажатия на педаль (в этот момент пила двигается на нас). И так распиливаем все заготовку.
Рис. 1. Эскиз получаемой продукции 1.2 Выбор оборудования для заданного процесса обработки и его обоснование В массовых производствах для поперечного раскроя досок целесообразно применять станки с механизированной подачей, т.к. они обладают большой производительностью и обеспечивают высокое качество пиления. Станок ЦПА-40 относится к этой группе и удовлетворят заданным первоначальным условиям, что мы увидим в следующем подразделе. ЦТ15-5 недостаток этого станка ручной привод инструмента, потребляемая мощность 4,5 кВт. UDK-06/3 преимущество позволяет выпиливать одновременно две заготовки. Но большая потребляемая мощность 11 кВт. К недостатком можно отнести тот факт, если нам нужно выпилить не две ,а восемь деталей, то нам придется возвращать заготовку в исходную позицию.1.3 Технические данные станка Станок торцовочный модели ЦПА-40 с прямолинейным движением суппорта предназначен для поперечной распиловки досок, брусьев и щитов, а также может быть использован для вырезки пазов. Основные технические данные станка изложены в табл. 1 [1, с. 9]. Таблица 1.
1.4 Технологические операции, выполняемые на станке В технологии механической обработки древесины круглопильные станки осуществляют продольное, поперечное и под углом к волокнам распиливание древесины, а также древесных плит. При этом в качестве исходного материала служат бревна, брусья, бруски, доски обрезные и необрезные, горбыли и рейки, а также листовые материалы (фанера и плиты). В данном курсовом проекте я рассматриваю торцовочный станок с прямолинейным перемещением пилы ЦПА40, который предназначен для поперечной распиловки досок, брусьев и щитов, а также для выработки пазов. 1.5 Функциональная схема станка
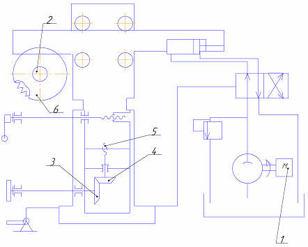
Рис. 1. Описание функциональной схемы станка: 1-стол; 2- заготовка; 3- пила. 1.6 Кинематическая схема (пневмо-, гидро схемы) и ее описание Кинематическая схема станка модели ЦПА40 представлена на рис. 2. На станине полой чугунной отливке смонтирован опорный корпус суппорта. Корпус совместно с суппортом может подниматься и поворачиваться на определенную величину. Суппорт опирается на подшипники качения и посредством гидропривода совершает возвратно-поступательные движения. В головной части суппорта крепится электродвигатель 2 с режущим инструментом 6 на валу. Управляется станок дистанционно, посредством педали. Длина хода суппорта устанавливается по шкале при помощи ограничителя рабочего хода, закрепленного в пазу хвостовой части суппорта. Установка суппорта на определенную высоту пропила производится подъемным механизмом 3, 4, 5 по шкале, закрепленной на станине. Регулировка скорости рабочего хода суппорта осуществляется лимбовым устройством, расположенным на корпусе золотника. По мере поворота лимба по часовой стрелке скорость движения суппорта уменьшается.
Рис. 2. Кинематическая схема станка ЦПА40 Гидравлическая схема привода подачи суппорта показана на рис. 3. Масло от насоса Н поступает к предохранительному клапану КП и распределителю Р, управляющему гидроцилиндром Ц. При нажатии на педаль электромагнит ЭМ переключает распределитель в левое крайнее положение и обе полости цилиндра соединяются с насосом одновременно. Вследствие разности создаваемых усилий от давления масла слева и справа поршень движется в сторону штоковой полости и суппорт совершает рабочий ход. В конце рабочего хода упор 5 со скошенным концом воздействует на рычаг 3 и переключает распределитель вправо. В момент переключения бесштоковая полость цилиндра соединяется с баком Б и суппорт совершает обратный ход. В конце хода ограничитель 1 нажимает на упор 6, который переключает рычаг 4 и распределитель в исходное правое положение. Суппорт останавливается. Для повторения цикла необходимо вновь нажать на педаль. Скорость рабочего хода регулируют дросселем ДР, ручка 2 которого расположена на распределителе. 1.7 Краткое описание конструкции станка Станок торцовочный модели ЦПА40 прост по устройству и надежен в эксплуатации при условии выполнения всех требований. На станине – полой чугунной отливке, являющейся одновременно масляным резервуаром, смонтирован опорный корпус суппорта. Корпус совместно с суппортом, при надобности, может подниматься и поворачиваться на определенную величину. Суппорт опирается на подшипниках качения и посредством гидропривода совершает возвратно-поступательные движения. В головной части суппорта крепится электродвигатель с режущим инструментом на валу. Управляется станок дистанционно посредством педали. 1.8 Требования к качеству обработанной поверхности, факторы, влияющие на качество обработки Влияние породы древесины. На обрабатываемость, т. е. на силовые и качественные показатели процесса резания, влияют структура и механические свойства, которые различны у древесины разных пород. Влияние влажности. При увеличении влажности до предела гигроскопичности снижаются показатели механической прочности древесины и ,следовательно, уменьшается сила резания. При открытом резании древесины, имеющей влажность выше предела гигроскопичности, свободная влага попадает на поверхности лезвия и действует как смазка. При этом уменьшается коэффициент трения и дополнительная сила резания. При закрытом резании, когда с древесиной активно взаимодействуют задние поверхности вспомогательных лезвий (боковые поверхности зубьев) и даже поверхности корпуса инструмента, влияние влажности древесины проявляется по-другому: при увеличении влажности повышаются упругие свойства древесины, усиливается «защемление» лезвия в пропиле, увеличивается сила резания. Влияние температуры. Прочность древесины, особенно влажной, при нагревании древесины уменьшается. Это вызывает уменьшение силы резания. Влияние толщины срезаемого слоя. Известно, что сила резания и ее составляющие – касательная и нормальная – складываются из сил, действующих со стороны отдельных элементов лезвия: режущей кромки, передней и задней поверхностей. Для расчетов процесса резания необходимы численные значения касательной и нормальной сил резания, удельной работы резания, а также параметров шероховатости для различных толщин срезаемого слоя. Влияние вида резания. Сила резания для трех главных видов различна: наименьшая требуется для поперечного резания, для продольного резания в тех же условиях она больше примерно в 2 раза, для торцового – в 5-6 раз. Влияние угла резания. Угол резания Влияние заднего угла. Влияние заднего угла на силовые характеристики интенсивно проявляются при Увеличение Влияние остроты лезвия. Сила резания увеличивается по мере затупления режущей кромки. Затупление лезвия приводит к увеличению неровностей на поверхности резания. Анализ показывает, что наибольшее влияние на качество обработанной поверхности оказывает угол встречи резца с волокнами. Влияние скорости резания. Эксперименты показывают, что увеличение скорости с 40-50 до 100 м/с вызывает рост силы резания на 30-40%. Качество обработки с увеличением скорости резания повышается. Это объясняется появлением добавочного подпора от силы инерции, который получают перерезаемые волокна древесины в дополнение к естественному сцеплению между ними. С появлением такого подпора волокна не успевают податься или отклониться под давлением резца и перерезаются им раньше, чем нарушиться связь их с соседними волокнами. В результате уменьшаются неровности разрушения на обработанной поверхности. Не рекомендуется допускать следующие недостатки обработанной поверхности: ворсистость, мшистость, неровности разрушения(выколы, вырывы), обработочные риски, повторяющиеся впадины, выступы. 1.9 Обоснование линейных и угловых параметров режущего инструмента. Выбор типового инструмента (графическая часть), подготовка его к работе (балансировка, правка, вальцевание, заточка, доводка, и т.д.) При поперечной распиловке перерезание волокон производится внешней боковой режущей кромкой. Действие короткой режущей кромки сводится лишь к сниманию (отрыву) и удалению стружек, перерезаемых боковыми кромками. Боковая кромка в этом случае должна быть наклонена не назад, как в зубьях при продольной распиловке, а вперёд, так как при таком положении создаётся необходимый подпор волокнам. В противном случае вследствие малой сопротивляемости древесины в направлении, нормальном к длине волокон, последние, поднимаясь под воздействием лезвия зуба, будут рваться и вызывать далеко идущие от зоны резания деформации (мшистый рваный распил). Для лучшего угла резания передняя режущая и задняя грани должны иметь косую заточку под углом φ (заднюю грань можно затачивать под углом, меньшим φ), вследствие чего угол резания боковой режущей кромки становится меньше 90° (рис. 3).
Рис. 3. Геометрия зуба для поперечной распиловки древесины. Стружкообразование при поперечной распиловке происходит следующим образом. Выступающие вперёд боковые режущие кромки последовательно разведённых зубьев перерезают волокна древесины, и по мере углубления в толщину древесины короткая режущая кромка (с углом наклона к боковой поверхности ε), односторонне действуя частью своей длины на подрезанный с обеих сторон элемент древесины, отрывает его от основного слоя. Короткая режущая кромка не прорезает волокна мягкой древесины, так как не имеет соответствующих этой цели углов резания, а отрывает их в силу малой сопротивляемости волокон отрыву в поперечном направлении. Боковое лезвие зуба при подрезании волокон вызывает деформацию последних, распространяющуюся на определенную длину в зоне ширины стружки. Величина этой деформации (надрыва стружки) от воздействия бокового лезвия зависит от величины подачи па зуб, соотношения между шириной пропила и толщиной пилы и угла ε - угла наклона короткой режущей кромки к плоскости пилы (см. рис. 3). В частности, при малых величинах подачи эта деформация сравнительно мала. На величину расхода мощности на резание влияет глубина подреза древесины, при которой воздействие короткой режущей кромки на подрезанный массив древесины приводит к отделению стружки. Несомненно, данное обстоятельство зависит от угла наклона ε короткой кромки. Так, в случае бóльшего угла ε при малых подачах и распиловке твёрдых пород короткая режущая кромка при внедрении в древесину будет отрывать волокна в зоне пропила при меньшей глубине подреза, что облегчает стружкообразование и приводит к уменьшению сил трения и к общему уменьшению сил резания. При резании мягких пород и больших подачах на зуб, наоборот, следует уменьшать воздействие короткой режущей кромки на волокна древесины в зоне пропила (т. е. уменьшать угол ε), так как в этом случае деформация древесины при подрезании боковыми кромками облегчает работу стружкообразования короткой режущей кромкой. Таким образом, при проектировании зуба следует стремиться к улучшению условий резания боковой режущей кромкой путём придания зубу формы с соответствующими углами δ и φ (в зависимости от технологических свойств распиливаемой древесины) и стараться соблюдать необходимый угол ε за счёт значения углов δ и φ. Углы косых заточек граней зубьев колеблются в пределах: для мягких пород 25÷30°, для твёрдых 10÷15°. При этом косая заточка задней грани выполняется с меньшим углом наклона. По данным ЦНИИМОД (канд. техн. наук П. П. Есипова) для нашего оборудования угол косой заточки зубьев должен быть увеличен до 45° [2, с. 99-101]. По ГОСТ 980—69 на дисковые пилы для поперечной распиловки рекомендуются (для нашего случая) профиль зуба (см. рис. 4) со следующими угловыми параметрами: γ=-25°; β=50°; α=60°; δ=115° [4, с. 150]. Минимальный диаметр пилы рассчитаем по [3] (27): Dmin =2*(h+r+10), (1.1) где h – высота пропила; r – радиус шпиндельной насадки. Dmin =2*(70+50+10)=260 мм. Начальный диаметр дисковой пилы определяем по [2] (25): D=Dmin +2∆, (1.2) где ∆=25 мм - запас на износ по радиусу. D =260+2*25=310 мм. Толщину диска пилы найдём по [2] (26): S=(0,08÷0,12) По ГОСТ 980-80 принимаем пилу 3421-0321 исполнения II с диаметром D=400 мм, толщиной диска S=2,0 мм, диаметром внутреннего отверстия d=50 мм, числом зубьев z=72. Величина развода зубьев 0,4 мм по [8] с. 179. Из всего выше сказанного выбираем следующие угловые параметры инструмента: косая заточка φ=45° по передней грани, задний угол α=60°, угол заострения β=50°, передний γ=-25°, угол резания δ=115°. Шаг, высоту зубьев и радиус кривизны впадины определяем по практическим формулам [3, с. 72]: t=Dsin h=(0,45÷0,50)t=0,475*17,4=6,5 мм; (1.5) r=(0,15÷0,20)t=0,175*17,4=2,4 мм. (1.6)
Рис. 4. Профиль IV пилы для поперечной распиловки Подготовка полотна пилы. Подготовка включает следующие операции: оценку плоскостности и напряжённого состояния полотна; правку полотна; проковку и вальцевание диска пилы. Плоскостность полотна оцениваем по двум показателям: по прямолинейности диска в различных сечениях и по торцевому (осевому) биению. Предельно допустимые отклонения от плоскостности для нашего инструмента 0,14 мм [6, с. 180]. Отклонения от плоскостности центральной части пилы в зоне фланцев не должны превышать 0,05 мм [5, с. 154]. Для определения торцевого биения пилу устанавливаем на горизонтальный вал приспособления. Биение измеряем индикатором, расположенным перпендикулярно полотну пилы на расстоянии 5 мм от окружности впадин зубьев, при медленном вращении пилы с валом (рис. 5).
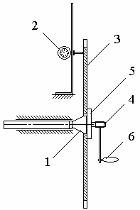
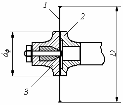
Рис. 5. Приспособление для выявления дефектов полотна пилы Перед началом измерений индикатор 2 ориентируем относительно плоскости, проходящей через торцовую поверхность коренной шайбы 1. Для этого на поверхность коренной шайбы и ножку индикатора накладываем поверочную линейку. Нулевую отметку циферблата подводим к большой стрелке индикатора. При определении неплоскостности пилу 3 устанавливаем на вал 4, зажимаем шайбой 5 и медленно вращаем за рукоятку 6. Величина допустимого торцевого биения для нашего инструмента составляет до 0,19 мм. Превышение нормативных значений неплоскостности свидетельствует о наличии дефектов полотна, которые делят на общие (тарельчатость, крылонатость, изгиб по окружности) и местные (слабое место, тугое место, выпучина, изгиб). Все дефекты исправляем посредством правки полотна. Способ правки зависит от типа дефекта. Слабые места С исправляем ударами проковочного молотка с круглым бойком вокруг дефектного места, постепенно ослабляя удары по мере удаления от него. Удары наносим с обеих сторон пилы. Тугие места Т исправляем ударами проковочного молотка внутри зоны дефекта от границ к середине. Удары наносим с обеих сторон пилы. Выпучину В исправляем ударами проковочного молотка со стороны выпучины. Чтобы не изменить общего натяжения полотна, между пилой, положенной выпучиной вверх, и наковальней помещаем картонную или кожаную прокладку. Изгиб пилы И (складки у зубчатой кромки, отогнутые участки кромки, горбатость и одностороннюю крыловатость диска) исправляем ударами правильного молотка (с продолговатым бойком) либо по самому хребту изгиба, либо, если размеры дефекта значительны, от краев изгиба к хребту со стороны выпуклости. Ось бойка должна совпадать с направлением оси изгиба. Оценку напряженного состояния диска пилы производим по величине прогиба пилы под действием собственной массы. Пилу устанавливаем сначала одной стороной вверх, а затем другой в горизонтальное положение на три опоры, отстоящие на равном расстоянии друг от друга и на расстоянии 5 мм от окружности впадин зубьев. Прогиб пилы измеряем индикатором часового типа (или поверочной линейкой и набором щупов) в трех точках на окружности радиусом 50 мм и подсчитываем среднюю величину прогиба. Если эта величина не соответствует 0,2 мм по [3] табл. 20, диск пилы проковываем или вальцуем (только после правки). Вальцевать пилу будем по одной окружности радиусом 0,8R (где R - радиус пилы без зубьев) в течение трех-четырех оборотов пилы под действием роликов [6, с. 180-181]. Сила прижима роликов при вальцевании по одной окружности с радиусом 0,8R составляет 17 кН по [2] табл. 28 Правильно провальцованная пила должна приобретать равномерную вогнутость (тарельчатость). Величины вогнутости провальцованности нашей пилы, измеренные с обеих сторон на расстоянии 15 мм от края центрального отверстия пилы, должны соответствовать 0,2 мм. После вальцевания проверяем плоскостность и правим полотно пилы. Оборудование, приборы и инструменты для вальцевания нашей пилы: станок ПВ-20 с приставкой; прибор для контроля степени проковки и вальцованной пилы с часовым индикатором; поверочные линейки, набор щупов [6, с. 180]. Проковка пил не механизирована и требует высокой квалификации. Она заключается в нанесении ударов проковочным молотком по центральной части пилы, лежащей на наковальне. Перед проковкой пилу размечаем для определения точек нанесения ударов, проводим 12...16 радиусов, равномерно делящих диск, и 6.. .8 концентрических окружностей на равном расстоянии друг от друга, причем наружная окружность отстоит на 20...30 мм от окружности впадин зубьев, а внутренняя - на 30...40 мм от окружности диаметра зажимных фланцев. Удары молотком наносим с одинаковой силой на всей поверхности пилы по радиусам от периферии к центру в точках их пересечения с окружностями. В том же порядке и по тем же точкам пилу проковывают с другой стороны. Степень ослабления средней части пилы проверяют так же, как и при вальцевании [5, с. 154]. Установка и эксплуатация круглых пил. 1. Плоскость пилы 1 должна быть строго перпендикулярна оси вала, а торцовое биение коренного фланца 2 не должно превышать 0,03 мм на радиусе 50 мм (рис. 6).
Рис. 6. Конструкция самоцентрирующихся фланцев 2. Ось вращения пилы должна совпадать с осью вала. Для этого применим фланец 3 с центрирующим конусом (рис. 6). 3. Для обеспечения надежного зажима пилы фланцы контактируют с пилой только наружными ободками шириной 20-25 мм. Для предотвращения самопроизвольного отворачивания гайки в процессе работы применим гайку с обратным направлением резьбы по отношению вращения вала. 4. Выход зубьев под распиливаемым материалом для нашего станка не должен превышать высоты зуба. 5. Устанавливать в станок неуравновешенные диски не допускается, так как это может вызвать сильное биение вала, потерю устойчивости пильным диском во время работы, неудовлетворительное качество распиливания, быстрый износ подшипников пильного вала. Неуравновешенность дисков вследствие неравномерной их толщины выявляют с помощью специального приспособления для статической балансировки. Устраняют неуравновешенность (дисбаланс) диска перешлифовкой поверхностей диска. Подготовка зубьев пил к работе. В подготовку зубьев пил к работе входят насечка зубьев, уширение зубчатого венца, заточка и фуговка зубьев. Насечка зубьев выполняем, когда необходимо изменить профиль зуба, если на пиле сломаны три (всего) или два зуба подряд. Для насечки применяем механически пилоштамп ПШП-2. В штампуемом контуре зубьев следует предусматривать припуск 1-1,5 мм относительно требуемого профиля. Окончательную форма зубьев достигаем заточкой их на пилоточных станках. При этом стачиваем слой металла с дефектами, образовавшимися при штамповке. Широко применяется нарезка зубьев и посадочных отверстий лазером, имеющая ряд преимуществ: отсутствуют изгибы полотна или диска, исключается образование неравномерного по толщине слоя наклепанного металла и необходимость односторонней правки полотен и дисков, геометрическая точность каждого и копирования всех зубьев повышается, не образуются микротрещины по контуру зубьев, увеличивается срок службы пил, снижается шум при изготовлении и работе пил. Уширение зубчатого венца. Развод зубьев - наиболее универсальный метод, применяемый для пил поперечного пиления с косой заточкой. Развод заключается в отгибании кончиков зубьев поочередно в правую и левую стороны на 1/3-1/2 высоты зуба от его вершины. Разводить зубья пил можно как до заточки, так и после нее. Оборудование, приспособления и инструменты для развода зубьев нашей пил: станок РАП8 (диаметр пил до 800 мм), ручные разводки ПИ-39, тиски для зажима пилы при разводе, индикаторный разводомер для контроля точности развода. Точность развода контролируем индикаторным разводомером. Допускаемые отклонения величины развода отдельных зубьев пилы - ±0,05 мм [6, с. 183-184]. Для заточки зубьев применим станок ТчПК8, со шлифовальными кругами ЭБ25СТ2Б5 и ЭБ40СТВ. Подача на один ход круга не должна превышать 0,06 мм. Подшлифовываем зубья точильным кругом ЭБ40СТВ. При этом делаем два-три легких прохода с величиной врезания на один ход круга не более 0,02 мм. Заусенцы с боковых граней снимаем мелкозернистым шлифовальным бруском. Прифуговку выполняем по высоте зубьев и по ширине режущей кромки (с боков) на заточных станках. Прифуговку на валу осуществляем мелкозернистым оселком (зернистость 5...10) при вращении пилы в направлении, обратном рабочему, и малой частоте вращения [5, с. 155]. 1.10 Последовательность наладки и настройки станка Устанавливают и закрепляют пилу на шпинделе торцовочного станка так же, как на станках для продольной распиловки. Пильный суппорт регулируют по высоте так, чтобы зубья пилы располагались в пазу стола на 5…6 мм ниже его рабочей поверхности. Настроечное перемещение осуществляют маховичком путем подъема или опускания колонки совместно с суппортом. После настройки по высоте колонку следует зафиксировать стопорным устройством. Рабочий ход пильного суппорта регулируют перестановкой упоров–ограничителей. Ограничители устанавливают в зависимости от ширины торцуемой доски так, чтобы при подаче холостой пробег пилы был минимальным. Это позволяет эффективнее использовать станок. При регулировке упоров пользуются шкалой, укрепленной на суппорте или станине станка. Далее осуществляют размерную настройку торцовочного станка. Различают торцовку по предварительной разметке и с установкой заготовки по шкале (меткам), нанесенной на направляющей линейке, или по упору. Установка заготовки на позиции по меткам не обеспечивает точного получения размера и может применяться только для предварительной грубой торцовки досок. Базирование заготовок по упору позволяет торцевать детали с большой точностью. Для повышения производительности при торцовке деталей разной длины используют несколько упоров с ручным или автоматическим управлением. Для повышения производительности при торцовке деталей разной длины используют несколько упоров с ручным или автоматическим управлением (рис. 8). Упоры 1 обычно укреплены на штанге 2, и каждый из них может переставляться на заданную длину L отпиливаемой детали. Для точного перемещения упоров пользуются шкалой 3, прикрепленной к направляющей линейке 4 или штанге 2. Расстановку упоров проверяют путем контроля длины деталей, полученных при пробной распиловке. При необходимости расположение упоров корректируют. Скорость подачи в станках с гидроприводом регулируют путем изменения числа ходов суппорта в минуту. Число ходов ус Закончив подготовку и наладку станка и убедившись в свободном вращении пилы, приступают к пробной распиловке. Выпиленные детали должны удовлетворять следующим требованиям: отклонение от перпендикулярности торца к пласту и кромке детали допускается не более 0/2 мм на длине 100 мм; шероховатость поверхности резания Rmмах должна быть не более 320…500 мкм. Наладка концеравнительных станков имеет некоторые особенности в размерной настройке, которая заключается в следующем. Подвижную колонку, несущую конвейерную цепь и пильный суппорт, перемещают на расстояние, приблизительно равное длине детали; регулируют по высоте пильные суппорты и прижимные устройства а зависимости от толщины заготовки, а затем положение пил на требуемую длину детали. После этого нужно оторцевать пробные заготовки, замерить их длину и при необходимости поднастроить станок. 1.11 Требования техники безопасности работы на станке, экологические требования Общие условия безопасности и промсанитарии. Деревообрабатывающие станки принадлежат к опасным рабочим машинам в связи с высокими скоростями движения режущих инструментов и большой скоростью подачи обрабатываемых заготовок. Травмирование рабочего может произойти в процессе работы на станке и во время его наладки или технического обслуживания. Основные виды травм при работе на станке происходят вследствие: непосредственного воздействия режущего инструмента; воздействия вращающихся и возвратно-поступательно движущихся механизмов станка; выброса обрабатываемой заготовки или ее части; выброса инструмента, частей разорвавшегося режущего инструмента или рабочей части передаточных механизмов; падения плохо закрепленных частей машины; ушибов при падении рабочего у станка; действия недопустимых вибраций и шума; действия электрического тока. При настройке, смене инструментов и техническом обслуживании станков возможны следующие травмы: порезы о неподвижный режущий инструмент; защемление пальцев и ушибы рук; серьезные травмы при случайном включении станка в процессе его наладки или технического обслуживания. Для предупреждения несчастных случаев при работе на дереворежущем станке и создания санитарных и эргономических условий необходимо следующее: - надежное и полное ограждение режущих инструментов в процессе работы; - механизация подачи, чтобы рабочему не приближать рук к режущим инструментам; - полное и надежное ограждение вращающихся элементов, а также ограждение быстроходных поступательно-движущихся частей станка; - предотвращение выброса обрабатываемой детали или её части из станка с помощью специальных приспособлений; - применение прочных, надежных ограждений скоростных режущих инструментов для предохранения от вылета их частей при разрыве, использование надежных инструментов, прочность которых должна проверяться на центробежно-разрывной машине, применение составных инструментов с центробежно-клиновым креплением резцов; - автоматическое блокирование механизмов резания и подачи, чтобы при случайном отключении механизма резания отключалась и подача, а при пуске станка невозможно было бы включение подачи ранее включения механизма резания и при выключении станка блокировка исключала бы возможность выключения только одного механизма резания без выключения механизма подачи; - гарантированное закрепление частей станка, которые могут при падении нанести травму обслуживающему рабочему; - снижение возможностей травматизма при падении рабочего путем придания станку обтекаемой формы, без выступающих острых частей, а также путем устройства ковриков и фрикционных позиций на полу и частях станка, где возможно скольжение; - заземление электродвигателей и станин станков и применение закрытой электроаппаратуры для предохранения от электрических травм; - снижение вибраций и шума станка посредством тщательного уравновешивания вращающихся частей, в том числе и режущего инструмента; исключения биения вращающихся частей от геометрической неточности и наличия зазоров в сопряжениях; повышения жесткости элементов станка; надежного устройства фундамента под станок; применения вибропрокладок; применения малошумных режущих инструментов, приближающихся по форме к телу вращения, без больших выступов. Желательно также устройство звукоизоляционных ограждений зоны режущего инструмента, малошумных шевронных и косозубых зубчатых колес, роликовых передаточных цепей и бесшовных ременных передач. Шумовые характеристики у некоторых станков превышают санитарную норму (80 дб), что свидетельствует о необходимости дальнейшего санитарно-гигиенического совершенствования дереворежущих станков. Средствами снижения травматизма в процессе наладки или технического обслуживания станка служат: - фиксаторы неподвижного состояния рабочих шпинделей и валов и подающих органов во время смены инструментов; - рационально устроенные головки и рукоятки крепежных гаек и болтов взамен гаечных ключей, срыв которых при работе служит главной причиной ушиба рук; - блокированные пусковые устройства, исключающие включение станка в процессе настройки или технического обслуживания (пусковые устройства в этом случае блокируются с тем органом станка, который должен быть открыт при обслуживании. Обеспечение рабочего комфорта на станках связано с рациональным размещением органов управления и рабочих зон, а также с соответствием их антропометрическим критериям. Существенным фактором био- и психокомфорта является цветность и освещенность станка и рабочих зон. Техническая эстетика рекомендует следующие цвета для окраски станков: бледно-зеленый - для общей окраски; оранжевый, повышающий внимание, - для окраски органов управления, смазки и др.; красный - для обозначения опасных зон [7, с. 54-56]. Перед началом работы необходимо: • изучить паспорт станка и руководство по его эксплуатации; • осмотреть ограждение пилы (должно быть опущено и закреплено), блокировочное устройство и сигнализацию. Горение на корпусе электрошкафа сигнальной лампы свидетельствует, что схема станка находится под напряжением; • проверить исправность заземления станка и подключение его к общей цепи; • отрегулировать тепловые реле пускателей, регулятора и времени. Обгоревшие контакты аппаратуры зачищать мелким надфилем. 3 а п р е щ а е т с я зачистка наждачной бумагой; • проверить уровень масла в гидроприводе и насосе по рискам маслоуказателя, при отсутствии долить. П о м н и т е! Насос, запущенный без масла, выйдет из строя в течение нескольких секунд; • настроить на малое давление предохранительный клапан, несколько вывинчивая регулировочный винт; • запустить станок, постепенно доведя давление до 15 кгс/см. Гидросистема должна работать устойчиво, бесшумно и после этого отключи манометр; • убедиться в исправности стружкоприемника и аспирационной системы; • проверить освещение рабочего места. Во время работы необходимо: • обкатать станок на холостом ходу; • после 2-х часовой работы станка проверить нагрев подшипников (не более 80°С); • подачу материала производить плавно без рывков. Надвигать материал без резких толчков. На педаль нажимать плавно, без ударов; • отрезать детали длиной менее 300 мм только с помощью шаблонов с зажимными устройствами; • следить за тем, чтобы в станок не поступал пиломатериал с металлическими предметами (гвозди, осколки металла и др.); • не обрабатывать мерзлую и обледеневшую древесину; • передвигать доски по столу станка при помощи крючков; • не тормозить пильный диск нажатием детали; • не стоять в плоскости вращения пильного диска. 3. После окончания работы необходимо: • остановить станок и обесточить от электросети; • произвести очистку станка от опилок, пыли и грязи; • убрать рабочее место, инструмент и приспособления, сложить готовые детали и оставшийся материал; • выполнить правила личной гигиены и доложить руководителю работ о её завершении. 1.12 Выводы по разделу В данном разделе мы рассмотрели технологию получения готовой детали, выбрали оборудование и описали его основные технические данные, обосновали и рассчитали параметры режущего инструмента, в соответствии с которыми выбрали типовой инструмент по ГОСТ 980-80. В данном разделе мы выбрали оборудование для заданного процесса обработки, учитывая оптимальные критерии качества и точность обработки. Изучили технические данные станка и его основные технологические операции. Разработали и описали функциональную и технологическую схемы, привели краткое описание конструкции станка Unimat 23 E. Обосновали выбор режущего инструмента и его параметры. 2. Расчетная часть2 .1 Кинематический расчет механизмов резания и подачи (Vр , Un )Скорость главного движения V, м/с:
Определим наибольшую скорость подачи по мощности резания. Pдв. =3,2 кВт; Pрез = Pдв. ∙ηп.п = 3,2. ∙0,99=3,168 кВт 2 .2 Расчет полезной мощности механизма резания и подачи, исходя из технических характеристик привода станка, построение ручьевой диаграммыМощность двигателя привода пильного вала: Pдв. =3,2 кВт Полезная мощность двигателя привода пильного вала: P= Pдв ∙ηп.п. P= 3,168 кВт где ηп.п − КПД одной пары подшипников, 0,99. P1 = Pдв ∙ηм. =3,2∙0,99=3,168 кВт Δ= Pдв - P1 =3,2-3,168=0,032 кВт Ручьевая диаграмма
2 .3 Расчет и анализ предельных режимов обработки (использование полной полезной мощности) из условия качества поверхности и производительности инструментаОптимальные режимы резания должны обеспечивать высокую производительность, необходимую точность и класс шероховатости поверхности обработки при наименьших затратах древесины, труда и энергопотреблении. 1) определяем кинематический угол встречи θ и sinθ: sinθ = 57 h/[R(arcsin(a + h)/R – arcsin a/R)], где: а – подъем стола над центром вала, мм; а = R – 70 – 10 = 200 – 70 – 10 = 120 мм. sinθ = 57*70/[200(arcsin(120+70)/200 – arcsin120/200)] = 0.57 θ = arcsin0.57 = 35° 2) приращение затупления резца за время его работы: ∆ ρ = ε * n * h * T/(1000 * sinθ), где, ε – коэффициент затупления резца на пути резания 1 м, для сосны – ε = 0.001 мкм/м ∆ρ = 0.001 * 3000 * 70 * 480/(1000 * 0.57) = 176 мкм. ∆ρ = 176 что слишком велико. При 40-60 мкм образуется ворсистость стенок пропила. Найдем оптимальное время пилы до переточки с условием, чтобы
Коэффициент, учитывающий затупление резца:
3) подача на резец: Uz = 1000 * U/(z * n), где: U – скорость подачи (U = 5÷33 м/мин). Uzmax = 1000 * 33/(72 * 3000) = 0.15 мм, Uzmin = 1000 * 5/(72 * 3000) = 0.02 мм 4) удельное сопротивление резанию по передней поверхности резца: к = 62 – 14 * b + (0.42 – 0.006 * γ)* β1 , где:γ – передний угол; γ = 90° – δ = 90° – 115° = – 25°; b – ширина пропила (b = S + 2 * S’ = 2.5 + 2 * 0.5 = 3.5 мм); β1 – угол заточки боковой кромки резца, β1 = 45°. к = 62 – 14 * 3.5 + (0.42 – 0.006 * (–25°))* 45° = 38.65 Н/мм2 . Удельная сила резца по задней поверхности резца p = 1 Н/мм 5) среднее условное давление резания: К = к + аρ * p/Uz = 38.65 + 1.5 * 1/0.15 = 48,5 Н/мм2 6) мощность резания: Pрез = Pдв. ∙ηп.п = 3,2. ∙0,99=3,168 кВт 7) сила резания Fк = 1000 * Pрез /V = 1000 *3,168/62.8 = 50 Н 8) сила сопротивления подаче: Q = 0.5 * Fк = 0.5 * 64 = 25 Н 9) определим скорость подачи по шероховатости. Для обеспечения шероховатости Rzmax = 315-500 мкм(класс шероховатости 3-4) для пил с разведенными зубьями подачу на зуб по шероховатости принимаем Uz = 0.2 мм U( Rzmax ) = Uz * z * n/(60 * 1000) = 0.2 * 72 * 3000/(60 * 1000) =0,72 м/мин Построим график скоростей подачи при полном использовании мощности механизма резания. Подача на резец определяется по следующей формуле: Uz = [6*107 * Ррез /(b * h * n * z) – аρ * p]/к, мм. Uz = [6*107 * 3,168/(3,5 *70 * 3000 * 72) – 1,5 * 1]/38,65=0,05мм UN = Uz * z * n/1000 UN =0,05*72*3000/1000=12 м/мин Все расчеты сведем в таблицу. Таблица
По данным таблицы построим график UN = f (h):
График показывает как должна изменяться скорость подачи при поперечной распиловке на круглопильном станке с высотой пропила, изменяющейся в пределах 10÷70 мм при полном использовании мощности привода механизма резания. 2.6 Расчет потребного количества дереворежущего и абразивного инструмента на годРазличают три вида исчисления потребности в режущем инструменте: годовую потребность; переходящий запас инструмента на складе предприятия; оперативный фонд инструмента в работе и заточке. Годовой расходный фонд (в шт.), можно вычислить из количества и длительности работы основного технологического оборудования по формуле:
где Т – время работы инструмента в году, ч; z=4 – число одинаковых инструментов в комплекте на один станок; a=7 мм – величина допускаемого стачивания рабочей части режущего инструмента; b=0.22 мм – величина уменьшения рабочей части инструмента за одну переточку; а/b= 29 – возможное число переточек за срок службы инструмента; t=2 ч – продолжительность работы инструмента между двумя переточками; k=0.15 – коэффициент, учитывающий поломку и непредвиденные расходы инструмента (по данным из [2] таблица 11.1). Для определения длительности работы инструмента на планируемый период времени необходимо установить календарный фонд времени в соответствии с принятым режимом работы предприятия и учитывать время не только на технологические операции, но и на техническое обслуживание станка: Т= l ∙ m ∙ Tсм ∙ η ; l= 252 – число рабочих дней в году, m= 2 – число смен, Tсм =7 ч – продолжительность смены, η= 0.8 – коэффициент загрузки, тогда: Т=252∙2 ∙ 7 ∙ 0,8=2822,4 ч; В итоге получим:
Потребное число абразивных инструментов в год для заточки данного вида дереворежущего инструмента определяется по формуле:
где ba =0,110 шт. (по данным [2] таблица 11.2) – расход абразивного инструмента на одну заточку (круги алмазные): Аа =2822,4∙4∙0,110∕ [30∙(1-0,15)]= 51 шт. Основной резерв уменьшения расхода пил – сокращение коэффициента случайной (аварийной) убыли, что требует правильной подготовки инструмента и эксплуатации. 2.7 Выводы по разделу В этом разделе была получена скорость подачи, позволяющая получить поверхность заданного класса шероховатости. Произведены расчеты силовых показателей, а также получены количество дереворежущего (А=12 шт) и абразивного инструмента, нужного для заточки (Аа =51 шт). Список использованной литературы 1. Ф.М. Манжос. Дереворежущие станки. 2. А.Э. Грубе, В.И. Санев. Основы теории и расчета деревообрабатывающих станков, машин и автоматических линий. 3. А.Л. Бершадский, Н.И. Цветков. Резание древесины. 4. И.З. Винников, М.И. Френкель. Устройство сверлильных станков и работа на них. 5. П.С. Афанасьев. Конструкции деревообрабатывающих станков. 6. М.Д. Бавельский. Гидропневмоавтоматика деревообрабатывающего оборудования. 7. В.В. Амалицкий, В.В. Амалицкий. Оборудование отрасли. 8. Кузнецов. Атлас конструкций деревообрабатывающего оборудования. 9. Зотов. Подготовка и эксплуатация дереворежущего инструмента. 10. Н.В. Маковский. Теория и конструкции деревообрабатывающих машин. 11. Паспорт станка.
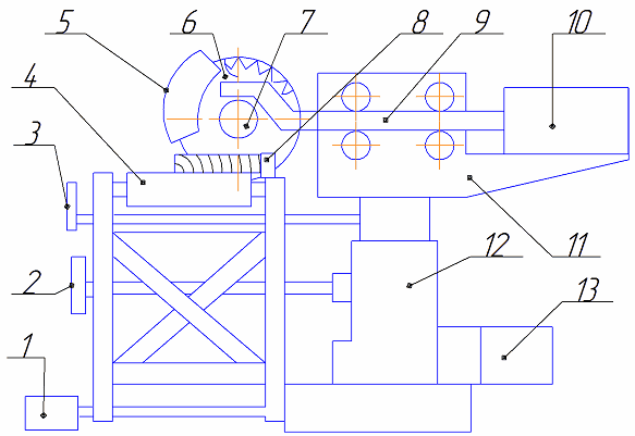
1 – педаль, 2 – маховичок подъема колонки, 3 – рукоятка зажима колонки, 4 – стол с роликами, 5 – ограждение, 6 – пила, 7 – электродвигатель, 8 – направляющая линейка, 9 – суппорт, 10 – гидроцилиндр, 11 – колонка, 12 – станина, 13 – электродвигатель гидропривода подачи
|
||||||||||||||||||||||||||||||||||||||||||||||||||||||||||||||||||||||||||||||||||||||||||||||











