Курсовая работа: Проектирование автоматизированной системы малого предприятия
|
Название: Проектирование автоматизированной системы малого предприятия Раздел: Рефераты по информатике Тип: курсовая работа | |||||||||||||||||||||||||||||||||||||||||||||||||||||||||||||||||||||||||||||||||||||||||||||||||||||||||||||||||||||||||||||||||||||||||||
| Введение В данной курсовой работе рассматриваются аспекты проектирования автоматизированной информационной системы малого предприятия, специализирующегося на предоставлении услуг в сфере торговли.Мною была спроектирована информационная система частного магазина одежды «Сибирь». История гласит, что элементы одежды появились примерно 40 тыс. лет тому назад, еще на ранних этапах развития цивилизации. А вот появление обуви знаменуется меньшим распространением, поскольку предпочиталось ходить босиком. Мы знаем, что одежда согласовывается с 2 главными функциями: эстетической и, конечно же, практической. Практическая реализуется в том, что человек стремится защитить свое тело от погодных воздействий. А вот эстетическая расшифровывается, как украшение своего тела. Вот так с практической целью древние люди обмазывали себя глиной либо жиром, чтобы уберечься от непогоды. А тот факт, что к этим защитным слоям в последствие добавлялись сажа, известь, говорит об эстетизме. Поскольку с помощью этих растительных красок они пытались украсить свое тело. Затем такие раскраски заменяют татуировки и появляются символические элементы костюма, к примеру, перья, кости, зубы. Древние люди придумывают различные способы, чтобы прикрепить такие безделушки к телу. К примеру, они пробивали дырки в ушах и носу, что становилось прекрасным местом для подвесок. Историки утверждают, что именно окраска тела и символические тату были древними предками современной одежды. Позже тело предпочиталось прикрывать с помощью волокнистых материалов. Очень часто были в обиходе звериные шкуры либо же просто растительные материалы. К примеру, огромные листья вокруг талии или же сплетенная трава считались неплохими элементами древней одежды. В древности одежда также как и сегодня показывала принадлежность человека к особой касте людей. Бытует интересное предположение, что одежда возникла тогда, когда появились платяные вши. Название этих насекомых говорит само за себя, оно походит от слова «платья». То есть ученые полагают, что головная вошь эволюционировала в платяную с появлением одежды. Современная мода быстротечна, тренды сменяют друг друга. Несмотря на то, что сегодняшние понятия «мужская и женская мода», «красота», «стильная одежда», «модная обувь» не деспотичны, быть в курсе последних новинок желает любой. Но далеко не у каждого есть время для магазинов, на посещение которых уходит множество времени. Досуг и выходные не всегда хочется тратить на покупки. Выход из этого положения – интернет магазин модной одежды. Насколько проще становится жизнь, когда для того, чтобы купить платье, тренчкот, сумку, обувь или аксессуары, или все вместе, не надо выкраивать время из обеденного перерыва или вечернего досуга. Деятельность экономического объекта, предоставляющего услуги в сфере торговли, имеет ряд особенностей. В частности, необходимо: · постоянно совершенствовать технологию обработки информации и внедрять новую технику для её обработки; · работать с поставщиками разных производителей; · четко реагировать на все складывающиеся на рынке тенденции; · эффективно работать с клиентами и поставщиками одежды. 1. Обследование предметной области 1.1 Стенограмма интервью с руководителем предприятия Каковы должны быть цели создания автоматизированной информационной системы на Вашем предприятии? Автоматизированная информационная система необходима для улучшения качества и скорости обслуживания клиентов, упорядочивания данных, поступающих на предприятие. Перечислите приоритетные направления деятельности Вашего предприятия? Приоритетными направлениями деятельности нашего предприятия являются продажа одежды, покупка её по максимально низким (оптимальным) ценам, а также рекламная деятельность компании и заключение договоров с поставщиками. На основе чего приобретается та или иная одежда? Мы проводим анализ потребительского рынка, в котором выявляем спрос на отдельные товары нашего профиля. Необходимо также следовать тренду последней моды, проводить активную финансовую политику в процессе поиска поставщиков. С кем взаимодействует Ваше предприятие? Круг лиц, взаимодействующих с нами, не ограничивается только поставщиками и покупателями, помимо них мы активно взаимодействуем с банками, транспортными компаниями, рекламными компаниями и др.. Сеть наших магазинов располагается на территории города Омска, но в перспективе мы планируем расширять свои границы. Каким образом поступает в компанию информация от поставщиков? Вся необходимая нам информации поступает в наше распоряжение благодаря анализу рынка поставщиков посредством запросов от имени нашей компании. Имеется ли в наличии в Вашем магазине система скидок? Безусловно. Система скидок имеет разные цели. Это и привлечение покупателей, создание выгодного плацдарма для борьбы с конкурентами, а так же продажа сезонной продукции в преддверии нового сезона продаж. Каким образом ведется учет операций с поставщиками и покупателями? Все сделки находят своё отражение в соответствующих документах организации. Каким образом производится доставка товаров от поставщиков? Наша компания пользуется силами транспортных компаний, иногда прибегая к услугам железнодорожного транспорта. Где хранятся товары компании? В нашем распоряжении склад готовой продукции, в котором и временно хранится одежда. В последствии, по мере надобности, она поступает в торговые точки. Каким образом хранится информация об операциях? Большая часть информации хранится и передается в виде бумажных документов (бухгалтерская и налоговая отчетность, договоры, технические задания и т. д.). Некоторые из них дублируются в электронном виде. Каково время хранения информации? Время хранения информации определяется ее характером. Какова организационно- штатная структура и квалификация кадров? Штат сотрудников состоит из директора, 2-х бухгалтеров, кассиров, специалиста по связям с общественностью, продавцов-консультантов, грузчиков, водителя, уборщиц, заведующего складом, инженера по проверке качества продукции. Какова компьютерная оснащённость в Вашей компании? На предприятии имеются следующие компьютеры: 3-Pentium 4, 1-CORE 2 DUO E670; принтеры HP DeskJet F2280 и МФУ HP Color CM1312, факс Panasonic KX – TCD296RUT, обычные телефоны. Какими программными продуктами Вы пользуетесь? На предприятии используются программные продукты Microsoft Windows XP SP3, Microsoft Office. Вы пользуетесь лицензионными программными продуктами? Безусловно. 1.2 Краткая характеристика предприятия «Сибирь» - это общество с ограниченной ответственностью (ООО), созданное в 1997 г. Имущество предприятия образуется за счет доходов от финансово-хозяйственной деятельности. Предприятие является юридическим лицом, имеющим самостоятельный баланс, расчетный и другие счета в банке, печать со своим наименованием, необходимые штампы. Предметом деятельности «Сибири» являются: 1. Продажа одежды оптом: · поиск новых клиентов; · постоянные клиенты. 2. Продажа одежды в розницу: · привлечение новых клиентов; · сотрудничество с постоянными клиентами. 3. Рекламная деятельность компании: · интернет-магазины; · пиар посредством газетных изданий. 4. Приобретение одежды у поставщиков: · заграничные поставщики; · отечественные поставщики; 5. Осуществление индивидуальных заказов. Исполнительным органом предприятия является администрация, возглавляемая директором. Организационно-производственная структура «Сибири» приведена на рис. 1. Все работники действуют на основании положений об отделах и должностных инструкций, согласно которым определяются место, роль в системе управления предприятием, основные задачи, обязанности, права и ответственность за выполняемую работу. Дадим их краткую характеристику.
Рис.1. Директор – является непосредственным лицом, отвечающим перед государством своим имуществом. Организует и контролирует обеспечение участков рабочими кадрами, изучает, подбирает и размещает служащих; организует планово-экономическую работу предприятия, составляет и анализирует статистическую отчетность, ценообразование, отвечает за внедрение перспективных стратегических направлений. Занимается поисками клиентов и контрактов в лучших условиях для получения прибыли с минимальными рисками. Занимается поиском оптимального решения. Специалист по связям с общественностью - выполняет работу по реализации политики организации в области связей с общественностью и отдельных ее этапов. Участвует в разработке конкретных планов внутренней и внешней политики организации в области связей с общественностью. Осуществляет постоянное взаимодействие и поддерживает контакты с представителями средств массовой информации и общественности, знакомит их с официальными решениями и приказами руководства организации, подготавливает ответы на официальные запросы, следит за своевременным распространением информационных материалов о деятельности организации. Участвует в подготовке и проведении брифингов, пресс-конференций, других мероприятий и акций информационно-рекламного характера, проводимых с участием представителей средств массовой информации и общественности, обеспечивает их комплексное информационное и организационное сопровождение. Инженер по проверке качества – выполняет проверяющую функцию: при поступлении товаров от поставщиков выявляет бракованные изделия, составляет специальный акт. Бухгалтер - выполняет работу по ведению бухгалтерского учета имущества, обязательств и хозяйственных операций (учет основных средств, товарно-материальных ценностей, затрат на производство, реализации продукции, результатов хозяйственно-финансовой деятельности, расчеты с поставщиками и заказчиками, а также за предоставленные услуги и т.п.). Участвует в разработке и осуществлении мероприятий, направленных на соблюдение финансовой дисциплины и рациональное использование ресурсов. Осуществляет прием и контроль первичной документации по соответствующим участкам бухгалтерского учета и подготавливает их к счетной обработке. Отражает на счетах бухгалтерского учета операции, связанные с движением основных средств, товарно-материальных ценностей и денежных средств. Составляет отчетные калькуляции себестоимости продукции (работ, услуг), выявляет источники образования потерь и непроизводительных затрат, подготавливает предложения по их предупреждению. Администратор - осуществляет работу по эффективному и культурному обслуживанию посетителей, созданию для них комфортных условий. Обеспечивает контроль за сохранностью материальных ценностей. Консультирует посетителей по вопросам, касающимся оказываемых услуг. Принимает меры по предотвращению и ликвидации конфликтных ситуаций. Рассматривает претензии, связанные с неудовлетворительным обслуживанием посетителей, проводит необходимые организационно-технические мероприятия. Осуществляет контроль за соответствующим оформлением помещений, следит за размещением, обновлением и состоянием рекламы внутри помещения и на здании. Заведующий складом - руководит работой склада по приему, хранению и отпуску товарно-материальных ценностей, по их размещению с учетом наиболее рационального использования складских площадей, облегчения и ускорения поиска необходимых материалов, инвентаря и т.п. Обеспечивает сохранность складируемых товарно-материальных ценностей, соблюдение режимов хранения, правил оформления и сдачи приходно-расходных документов. Кассир - осуществляет операции по приему, учету, выдаче и хранению денежных средств и ценных бумаг с обязательным соблюдением правил, обеспечивающих их сохранность. Получает по оформленным в соответствии с установленным порядком документам денежные средства и ценные бумаги в учреждениях банка для выплаты рабочим и служащим заработной платы, премий, оплаты командировочных и других расходов. Ведет на основе приходных и расходных документов кассовую книгу, сверяет фактическое наличие денежных сумм и ценных бумаг с книжным остатком. Продавец-консультант – подсказывает клиенту всю необходимую информацию, проводит рекламную политику. Водитель, грузчик, уборщик – обслуживающий персонал, необходимый для осуществления повседневных хозяйственных работ. Автоматизации подлежат функции, выполняемые директором, бухгалтером и заведующего складом. 1.2 Описание деятельности предприятия ООО «Сибирь» предоставляет свои услуги как физическим, так и юридическим лицам. Они являются клиентами магазина. Перечислим основные функции, выполняемые в компании:· работа с клиентами; · работа с поставщиками товаров; · закупка товаров; · хранение товаров на складе; · проведение рекламных акций: - интернет-пиар; - газетный пиар; - использование средств телевидения; · учетная деятельность: -бухгалтерский учет; - налоговый учет; - кадровый учет. Работа с клиентами. Эта функция является если не самой важной, то уж одной из самых важных из всех функций, составляющих деятельность магазина. Именно исполняя эту функцию магазин получает прибыль, осуществляя тем самым свою цель. Достигается эта цель за счёт грамотной ценовой политики, системы скидок, известности магазина и др. На этой стадии клиент осуществляет свой выбор. После того как на складе найден необходимый товар, составляется накладная. В накладной указывается наименование товара, его количество, цена и другие параметры. После согласования накладной с клиентом осуществляется торговая сделка. Выполнение торговой сделки. После составления накладной, обозначенные в нем товары выдаются клиенту в пункте, указанным продавцом. После выполнения торговой сделки составляется карточка складского учёта товаров, в которой указывается характер произведенных операций, наименование и количество израсходованных товаров. Накладная и карточка складского учёта товаров составляются в двух экземплярах, один из которых остается в магазине, а второй передается клиенту. Расчеты с клиентами осуществляются, как правило, в наличной форме. Работа с поставщиками товаров и закупка товаров. Ведётся диаметрально противоположная деятельность: теперь магазин выступает в роли покупателя, а поставщик в роли продавца. Порядок составления и приведения в действие всех документов является аналогичным. По запросу магазина составляется накладная с теми же параметрами, что и в первом случае, после составления товар доставляется получателю (магазину), который размещается на складе. Так же, как и в первом случае заполняется карточка складного учёта, только теперь со знаком плюс: товар не ушёл со склада, а, наоборот, пришёл на склад. Стоит отметить лишь то, что магазин является не рядовым покупателем и соответственно масштаб его деятельности и анализа при совершении покупки значительно выше. Денежные расчеты. Так как основная масса всех расчетов производится в безналичной форме, большинство финансовых операций проводит банк, согласно договору на банковское обслуживание. В случае продажи товаров рядовому клиенту, большая часть денежных операций производится в наличной форме, после чего выручка сдаётся в банк и перечисляется на расчётный счёт компании. При поступлении счета на оплату (от поставщиков, транспортных организаций, за рекламные услуги, за услуги связи и т. д.) оформляется платежное поручение (стандартная форма ЦБ РФ) в двух экземплярах. В соответствии с платежным поручением банк переводит средства с расчетного счета магазина на расчетный счет организации, выставившей счет. На следующий день после этого, на предприятие поступает банковская выписка, содержащая информацию о проведенных операциях. Работа с персоналом. При приёме на работу претендент должен написать заявление на имя директора. После этого подписывается приказ о приеме на работу, и составляется трудовой договор согласно ТК РФ. На каждого работника заводится индивидуальная карточка с его личными данными: Ф.И.О., дата рождения, должность, образование, состав семьи и т. д. 1.3 Основные документы Товарный отчёт:
Требование – накладная:
Карточка складского учёта:
Договор с клиентом: Договор № Дата______________ «Продавец»___________________________________________________ «Покупатель»______________________________________________________, вместе именуемые «Стороны», заключили договор о нижеследующем: 1. ПРЕДМЕТ И СУММА ДОГОВОРА 1.1. Продавец обязуется предоставить, а Покупатель принять и оплатить следующую продукцию:
1.2. Сумма договора на дату его заключения составляет _____ (Сумма прописью) рублей, включая НДС. 2. ЦЕНА ПРОДУКЦИИ. ПОРЯДОК РАСЧЕТОВ. 2.1. Цены, указанные в п.1.1. Договора, могут быть изменены по согласованию сторон. Цены на предварительно оплаченную Покупателем продукцию изменению не подлежат. 2.2. Расчеты за поставляемую продукцию осуществляются ПОКУПАТЕЛЕМ путем предварительного перечисления денежных средств на расчетный счет Продавца. 3. ДРУГИЕ УСЛОВИЯ. 3.1. Право собственности на продукцию, доставляемую автотранспортом, переходит к Покупателю в момент получения продукции от Продавца. 3.2. Ни одна из сторон не вправе уступать свои требования по Договору третьим лицам без письменного согласования на то другой стороны. 3.3. Во всем остальном, не предусмотренным Договором, стороны руководствуются действующим законодательством РФ. 3.4. Все разногласия и споры, которые могут возникнуть между сторонами из настоящего Договора и в связи с ним, будут по возможности, разрешаться последними путем переговоров. 3.5. В случае, когда возникшие разногласия не будут урегулированы путем переговоров, все споры между сторонами разрешаются в соответствии с законодательством Российской Федерации в Арбитражном суде по месту нахождения истца (ответчика). 3.6. Договор действует со дня его подписания сторонами по ….. года включительно, а в части расчетов — до полного выполнения сторонами своих обязательств. Счёт-фактура: Счет-фактура № ___ Продавец Адрес ИНН продавца Грузоотправитель и его адрес Грузополучатель и его адрес К платежно-расчетному документу № Покупатель Адрес ИНН покупателя
Руководитель организации Главный бухгалтер Выдал Подпись ответственного лица 2. Построение модели деятельности «как есть» (AS-IS)На основе анализа деятельности ОАО «Сибирь» построена функциональная модель, описывающая существующую организацию работы. Модель включает: · структурную функциональную модель деятельности в соответствии со стандартом IDEF0 и IDEF3 (иерархия SADT-диаграмм); · функциональную модель в виде иерархии потоков данных (DFD).
2.1 Структурная функциональная модель в IDEF0 Диаграммы модели в стандарте IDEF0, IDEF3 показаны на рис. 2 - 10. Они отображают производимые объектом действия и связи между этими действиями. SADT-модель представляет систему в виде контекстной диаграммы. 2.2 Функциональная модель в виде DFDДиаграммы функциональной модели в виде иерархии потоков данных (DFD)показаны на рис. 11-13. Модель потоков данных, в отличие от SADT-модели, ориентирована на раскрытие особенностей документооборота.
Рис.2. IDEF0.
Рис.3. IDEF0.
Рис.4.IDEF0.
Рис.5.IDEF0.
Рис.6.IDEF0.
Рис.7.IDEF0.
Рис.8.IDEF0.
Рис.9.IDEF0.
Рис.10.IDEF3.
Рис.11.DFD.
Рис.12.DFD.
Рис.13.DFD. 3. Построение модели деятельности «как должно быть» ( TO-BE)
3.1 Смешанная модель в стандартах IDEF0, DFD и IDEF3 В результате изучения функциональной структуры и системы документооборота организации были выявлены и устранены следующие недостатки в организации его работы: · Директор занимается той работой, которую могли бы выполнить другие работники (Заключение договоров, работа с поставщиками и др.). Подбор производится по данным различных поставщиков. Клиенту предлагается ассортимент товаров. В настоящее время эта процедура выполняется вручную, тогда как применение средств автоматизации позволит ее ускорить. Возрастет качество и скорость обслуживания заказчиков. · Неэффективно осуществляется ведение учета операций. Произведенные в модели изменения отражены в таблице 1. Модель деятельности предприятия «как должно быть» отражена на рисунках 13 — 18. Таблица 1.
Рис.14.IDEF0.
Рис.15.IDEF0.
Рис.16.IDEF0.
Рис.17.IDEF0.
Рис.18.IDEF0.
Рис.19.IDEF0.
Рис.20.IDEF0.
Рис.21.IDEF3. Диаграмма функциональной модели в виде иерархии потоков данных (DFD) показана на рис. 19. Изменения, внесенные в модель, отражены в таблице 2. Таблица 2.
Рис.22.DFD.
Рис.23.DFD.
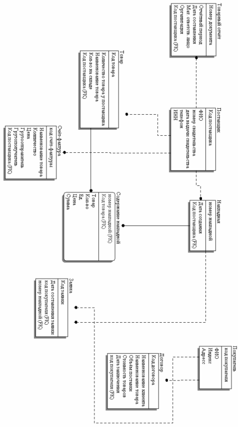
Рис.24.DFD. 3.2 Построение модели данных в стандарте IDEF1X Построение информационной модели (модели данных) предметной области предполагает выделение сущностей, их атрибутов и первичных ключей, идентификацию связей между сущностями и разрешение связей многие-ко-многим, нетипичных для реляционной модели данных. В рамках курсовой работы построить полную информационную модель не представляется возможным, поэтому ограничимся наиболее важными сущностями, атрибутами и связями. Выделить сущности можно на основе подхода, основанного на анализе функциональных зависимостей реквизитов документов предметной области. Функциональные зависимости реквизитов представлены в табл. 3 – 7. Таблица 3.
Таблица 4.
Таблица 6.
Таблица 7.
Рис.25. 4. Формирование технического задания на создание автоматизированной информационной системы 1. Общие сведения Полное наименование системы: АИС «Сибирь». Условное обозначение системы: АИС СБ. Шифр темы или шифр (номер) договора: CASE/0001. Наименование предприятий (объединений) разработчика и заказчика (пользователя) системы и их реквизиты: Заказчик: ОАО «Сибирь» филиал «Омский» адрес - Россия, 644521 г. Омск ул. 22 Партсъезда, 53., тел. 33-69-84, факс 33-69-84. Разработчик: Омский государственный технический университет, адрес – Россия, 644050, г. Омск, пр. Мира, 11, тел. 65-64-92, факс – 65-26-98. Основание для создания: Договор о создании Автоматизированной системы управления деятельностью ОАО «Сибирь». Утвержден 01.02.2009 г. директором «Сибирь» Е. А. Кулагиной. Плановые сроки начала и окончания работы по созданию системы: Начало: 01.02.2009 г. Окончание: 01.05.2009 г. Сведения об источниках и порядке финансирования работ: Источник финансирования: ОАО «Сибирь». Объем финансирования: 1000000 рублей. 2. Назначение и цели создания системы Назначение системы: Разрабатываемая АИС предназначена для обеспечения эффективной работы хозяйственного отдела на основе новых технологий и оборудования, отвечающих современным требованиям, действующим нормативным документам, техническим требованиям и условиям органов государственного надзора. Управляемый процесс является бизнес-процессом, направленным на получение максимальной прибыли от деятельности отдела, обеспечивающего работу всего банка. Объект автоматизации – ОАО «Сибирь». Автоматизации подлежат следующие системы: · система работы с поставщиками; · система ведения закупок; · система ведения складского учета; · система работы с клиентами. 2.2. Цели создания системы: Основные показатели, которые должны быть достигнуты в условиях автоматизированного управления: · повышение оперативности управления процессом на 50 %; · повышение производительности труда на 25 %; · обеспечение устойчивости функционирования объекта; · повышение отказоустойчивости системы хранения информации. Критерии оценки достижения цели создания системы – повышение качества работы отдела, уменьшение затрат времени. 3. Характеристики объекта автоматизации: <отсутствуют> 4. Требования к системе 4.1. Требования к системе в целом 4.1.1. Перечень подсистем, их назначение и основные характеристики, требования к числу уровней иерархии и степени централизации системы: АИС «Сибирь» Уровень 1. Подсистема работы с поставщиками. Подсистема работы с клиентами. Подсистема ведения закупок. Подсистема организации хранения товаров. 4.1.2. Требования к способам и средствам связи для информационного обмена между компонентами системы. Данные договора. Источник - подсистема ведения закупок. Приемник - подсистема работы с поставщиками, подсистема организации хранения товаров, подсистема работы с клиентами. Карточка складского учёта. Источник - подсистема ведения закупок. Приемник - подсистема организации хранения товаров. Товарный отчёт Источник - подсистема ведения закупок. Приемник - подсистема организации хранения товаров. 4.1.3. Требования к характеристикам взаимосвязей создаваемой системы со смежными системами, требования к совместимости, способы обмена информацией. Внешняя сущность – Банк. Принимает информацию от АИС «Сибирь». через поток Платежное поручение. Направляет информацию к АИС «Сибирь» через поток Банковская выписка. Внешняя сущность – Клиент. Принимает информацию от АИС «Сибирь» через поток Договор через поток Счет клиенту через поток Накладная. Направляет информацию к АИС «Сибирь» через поток Заказ через поток Информация о клиенте. Внешняя сущность – Поставщик. Принимает информацию от АИС «Сибирь» через поток Заявка поставщику. Направляет информацию к АИС «Сибирь» через поток Счет поставщика через поток Счет-фактура. 4.1.4. Требования к численности и квалификации персонала системы и режиму его работы: <отсутствуют> 4.1.5. Требования к показателям назначения: <отсутствуют> 4.1.6. Требования к надежности: <отсутствуют> 4.1.7. Требования к безопасности: <отсутствуют> 4.1.8. Требования к эргономике и технической эстетике: <отсутствуют> 4.1.9. Требования к транспортабельности для подвижных АИС: <отсутствуют> 4.1.10. Требования к эксплуатации, техническому обслуживанию, ремонту и хранению комплектов системы: <отсутствуют> 4.1.11. Требования к защите информации от несанкционированного доступа: <отсутствуют> 4.1.12. Требования к сохранности информации: <отсутствуют> 4.1.13. Требования к средствам защиты от внешних воздействий: <отсутствуют> 4.1.14. Требования к патентной чистоте: <отсутствуют> 4.1.15. Требования к стандартизации и унификации: <отсутствуют> 4.1.16. Дополнительные требования: <отсутствуют> 4.2. Требования к функциям. Подсистема работы с клиентами. Уровень 2. Внести данные о клиенте. Имеет функцию - Ведение БД «Клиенты» с алгоритмом: 1) получить информацию о клиенте; 2) внести данные в БД. Учесть требуемые параметры товара. Имеет функцию - Подбор товара по заказу с алгоритмом: 1) получить список необходимых товаров; 2) получить данные от поставщиков; 3) сформировать список товаров, входящих в договор. Составить договор. Имеет функцию - Составление проекта договора на поставку с алгоритмом: 1) получить данные клиента; 2) получить рекомендуемые условия оплаты; 3) получить форму договора; 4) составить договор на поставку; 5) внести данные договора в БД «Договоры». Анализировать выполнение клиентом обязательств по договору. Имеет функцию – Составление характеристики для каждого клиента с алгоритмом: 1) проверить надежность клиента по БД «Клиенты»; 2) формировать запрос по клиенту в БД «Договоры»; 3) получить отчет о выполнении клиентом обязательств по ранее заключенным договорам; 4) формировать рекомендации. Подсистема ведения закупок. Уровень 2. Проверить наличие товаров на складе. Имеет функцию - Проверка наличия указанного в договоре товара с алгоритмом: 1) сверить наличие товара по БД «Товары на складе»; 2) составить перечень недостающего оборудования. Составить заявку. Имеет функцию – Выбор надежного поставщика с алгоритмом: 1) получить данные поставщиков из БД «Поставщики»; 2) выбрать поставщика на основании данных об операциях, произведенных с ним ранее; 3) получить данные об ассортименте товаров у поставщика; 4) составить заявку; 5) внести данные заявки в БД «Заявки». Составить платежное поручение. Имеет функцию – Формирование платежного поручения поставщику с алгоритмом: 1) получить счет от поставщика; 2) выбрать данные заявки из БД «Заявки»; 3) сформировать платежное поручение. Получить товар. Имеет функцию - Учет поступившего товара с алгоритмом: 1) получить товар; 2) внести данные счета-фактуры поставщика в БД «Счета-фактуры»; 3) добавить изменения в карточку складского учёта; 4) внести отметку о надежности поставщика в БД «Поставщики». Подсистема организации хранения товаров. Уровень 2. Вести учет прихода товаров. Имеет функцию - Ведение учета прихода на склад товаров с алгоритмом: 1) внести изменения в карточку складского учёта; 2) внести запись о поступивших товарах в БД «Товары на складе». Вести учет выбытия товаров. Имеет функцию - Учет выбытия товаров с алгоритмом: 1) получить требование на отпуск товаров; 2) внести данные о выбытии товаров в БД «Товары на складе». Составлять отчет о наличии товаров на складе. Имеет функцию – Получение оперативной информации о наличии на складе товаров с алгоритмом: 1) получить данные об остатках на складе из БД «Товары на складе»; 2) сформировать отчет. 4.3. Требования к видам обеспечения. 4.3.1. Требования к математическому обеспечению: <отсутствуют> 4.3.2. Требования к информационному обеспечению. Внешняя сущность – Банк. Перечень входных потоков: Платежное поручение. Перечень выходных потоков: Банковская выписка. Внешняя сущность – Клиент. Перечень входных потоков: Договор, Накладная, Счет клиенту. Перечень выходных потоков: Заказ, Информация о клиенте. Внешняя сущность – Поставщик. Перечень входных потоков: Заявка поставщику. Перечень выходных потоков: Счет поставщика, Счет-фактура. 4.3.3. Требования к лингвистическому обеспечению: <отсутствуют> 4.3.4. Требования к программному обеспечению: <отсутствуют> 4.3.5. Требования к техническому обеспечению: <отсутствуют> 4.3.6. Требования к метрологическому обеспечению: <отсутствуют> 4.3.7. Требования к организационному обеспечению: <отсутствуют> 5. Состав и содержание работ по созданию (развитию) системы. Номер и наименование этапа: 1. Проведение обследования: начало этапа - 1.02.2009 г., конец - 15.02.2009 г. 2. Создание модели АИС - начало этапа: 16.02.2009 г., конец этапа: 10.05.2009 г. 6. Порядок контроля и приемки системы: <отсутствует> 7. Требования к составу и содержанию работ по подготовке объекта автоматизации к вводу в действие: <отсутствуют> 8. Требования к документированию: <отсутствуют> 9. Источники разработки Документ: ТЗ-1 Полное наименование: Техническое задание на проектирование АИС от 10.05.2009 г. НИР: не определены. Библиографический список1. Малков О.Б. Проектирование экономических информационных систем: Учебное пособие для выполнения курсовой работы. Омск: Изд-во ОмГТУ, 2003. 88 с. 2. Калянов Г.Н. CASE-технологии. Консалтинг в автоматизации бизнес-процессов. – 3-е изд. – М.: Горячая линия – Телеком, 2002. - 320 с. 3. Проектирование экономических информационных систем: Учебник / Г.Н. Смирнова, А.А. Сорокин, Ю.Ф. Тельнов; Под ред. Ю.Ф. Тельнова. – М.: Финансы и статистика, 2001. – 512 с. 4. Вендров А.М. Проектирование программного обеспечения экономических информационных систем: Учебник. - М.: Финансы и статистика, 2000. - 352 с. 5. Малков О.Б., Белимова Е.В. Проектирование баз данных с использованием CASE-технологии: Методические указания. Омск, 2003. 6. Маклаков С. В. BPwin и ERwin. CASE-средства разработки информационных систем. – М.: Диалог-МИФИ, 2001. 7. Маклаков С.В. Моделирование бизнес-процессов с BPwin 4.0.– М.: Диалог-МИФИ, 2002. |
|||||||||||||||||||||||||||||||||||||||||||||||||||||||||||||||||||||||||||||||||||||||||||||||||||||||||||||||||||||||||||||||||||||||||||
































