Реферат: Магистральный транспорт газа
|
Название: Магистральный транспорт газа Раздел: Промышленность, производство Тип: реферат | |||||||||||||||||||||||||
| Федеральное агенство по образованию ГОУ ВПО Уральский государственный технический университет – УПИ Кафедра “Турбины и двигатели” Реферат по дисциплине “Магистральный транспорт газа” Назначение основных объектов МГ и их устройство Преподаватель Артемова Т.Г. Студент гр. Кириченко А.Н. Екатеринбург 2009 Содержание
1. Магистральный газопровод 2. Головные сооружения 3. Подземные хранилища газа (ПХГ) 4. Газораспределительные станции 5. Блок очистки газа 6. Блок подогрева газа 7. Список используемой литературы 1. Магистральный газопровод Магистральный газопровод — это сложная система сооружений, предназначенных для транспортировки газа из районов его добычи или производства в районы потребления. Магистральный газопровод характеризуют высокое давление (до 55—75 кгс/см2 ), поддерживаемое в системе, большой диаметр труб (1020, 1220, 1420 мм) и значительная протяженность (сотни и тысячи километров). По характеру линейной части различают следующие магистральные газопроводы: 1) простые, с постоянным диаметром труб от головных сооружений до конечной ГРС, без отводов к попутным потребителям и без дополнительного приема газа по пути следования; их протяженность, как правило, незначительна, газ перекачивается за счет пластового давления без дополнительного компримирования; 2) телескопические, с различным диаметром труб по трассе; их сооружают при использовании пластового давления или одной головной компрессорной станции, причем на начальном участке укладывают трубы меньшего диаметра, чем на последующих; быстрое падение давления на головном участке даст возможность большей части газопровода работать под меньшим давлением; 3) многониточные, когда параллельно основной проложены дополнительно одна, две или три нитки газопровода того же или иного диаметра; с учетом перемычек образуется система газопровода; если параллельные нитки сооружают на отдельных участках, их называют лупингами (обводами); 4) кольцевые, создаваемые вокруг крупных городов для увеличения надежности газоснабжения и равномерной подачи газа, а также для объединения магистральных газопроводов в единую газотранспортную систему В соответствии со СНиП магистральные газопроводы в зависимости от рабочего давления подразделяются на два класса (табл. 1). Классификация газопроводов Таблица 1
Объекты магистрального газопровода подразделяют на следующие группы: 1) головные сооружения; 2) линейная часть, или собственно газопровод; 3) компрессорные станции (КС); 4) газораспределительные станции (ГРС) в конце газопровода; 5) подземные хранилища газа (ПХГ) — резервные естественные емкости газа; 6) объекты ремонтно-эксплуатационной службы (РЭП); 7) устройства линейной и станционной связи (высокочастотной и селекторной), а также системы автоматизации и телемеханизации; 8) система электрозащиты сооружений газопровода от почвенной коррозии; 9) вспомогательные сооружения, обеспечивающие бесперебойную работу системы газопровода (ЛЭП для электроснабжения объектов и электрификации отключающих устройств, водозаборы, коммуникации водоснабжения и канализации и др.), 10) управленческий и жилищно-бытовой комплекс для эксплуатационного персонала. Управление магистральными газопроводами осуществляется по производственно-территориальному принципу. Все газопроводы распределены между газотранспортными предприятиями, подчиненными непосредственно Газотранспортные предприятия через диспетчерские службы обеспечивают заданные режимы работы компрессорных станций и оптимальное регулирование потоков газа в системе в соответствии с указаниями центрального диспетчерского управления единой системы газоснабжения (ЕСГ) страны. 2. Головные сооружения Головными сооружениями магистрального газопровода называют производственный комплекс, размещающийся на стыке газового промысла и газопровода и осуществляющий всестороннюю подготовку газа к дальней Комплекс головных сооружений зависит от состава газа, добываемого на промысле и поступающего из газосборного пункта. Как правило, в этот комплекс входят установки по очистке газа от пыли и механических примесей, осушке и одоризации. В необходимых случаях включаются также установки по отделению от газа серы и высокоценных компонентов (гелия и др.). К головным сооружениям относят и компрессорную станцию, подключаемую на начальном участке газопровода. На территории этой станции, как правило, и размещается весь комплекс установок по подготовке газа. По магистральным газопроводам транспортируют следующие группы газов: · газ с чисто газовых месторождений, не содержащий тяжелых углеводородов; такой газ состоит в основном из метана СН4 (до 98%), остальную часть представляют предельные углеводороды (этан, пропан, бутан и пентан) и примеси азота, углекислого газа, иногда сероводорода, водорода, гелия и др.; · газ газоконденсатных месторождений; · попутный нефтяной газ, отделяемый при добыче нефти; · искусственный газ, получаемый путем сжигания горючих сланцев и пр. Газ, попадающий на головные сооружения магистрального газопровода со сборных пунктов промысла, содержит механические примеси (песок, пыль. металлическую окалину и др.) и жидкости (пластовую воду, конденсат, масло). Перед подачей в газопровод его очищают и осушают, так как без предварительной подготовки он будет засорять трубопровод, вызывать преждевременный износ запорной и регулирующей арматуры, нарушать работу контрольно-измерительных приборов. Твердые частицы, попадая в компрессорные установки, ускоряют износ поршневых колец, клапанов и цилиндров. В центробежных нагнетателях они ускоряют износ рабочих колес и самого корпуса нагнетателя. Жидкие примеси, скапливаясь в пониженных местах газопровода, будут сужать его сечение, способствовать образованию гидратных и гидравлических пробок. Для очистки газа от механических примесей используют горизонтальные и вертикальные сепараторы, цилиндрические масляные и циклонные пылеуловители. В сепараторах производится отделение примесей от газа. По принципу действия сепараторы делятся на объемные (гравитационные) и циклонные. В гравитационных аппаратах примеси оседают вследствие резкого изменения направления потока газа при одновременном уменьшении скорости его движения. В циклонных установках используются центробежные силы инерции, возникающие в камере при входе газа по тангенциальному вводу. Масляные цилиндрические пылеуловители представляют собой вертикальные цилиндрические сосуды со сферическими днищами. На головных сооружениях магистральных газопроводов их устанавливают группами в зависимости от необходимой пропускной способности. Размеры пылеуловителей по диаметру от 1000 до 2400 мм, по высоте от 5.8 до 8,8 м. В пылеуловителе имеются устройства, обеспечивающие контактирование газа с маслом и отделение твердых и жидких частиц от газа. Оседающий в пылеуловителе шлам периодически удаляют, загрязненное масло заменяют. Осушку газа на головных сооружениях осуществляют двумя способами: абсорбционным (с жидкими поглотителями) и адсорбционным (с твердыми поглотителями). Газ после пылеуловителей попадает в абсорберы, где очищается от взвешенных капель жидкости и водяных паров путем активного контакта с абсорбентом, чаще всего диэтиленгликолем. В последнее время определенное значение приобретает осушка газа твердыми поглотителями. В качестве адсорбентов применяют активированную окись алюминия, флюорит, боксит, силикагель или другие реагенты. Установка такой осушки состоит из группы адсорберов (не менее двух), подогревателя газа и теплообменников. Влажный газ после очистки от пыли поступает в адсорбер, где проходит через один или несколько слоев адсорбента. Периодически часть адсорберов отключают от системы для регенерации адсорбента. Для отделения от газа конденсата и воды с успехом используют низкотемпературную сепарацию, особенно при отборе газа из месторождений с высоким пластовым давлением. Газ из скважин без дросселирования подводят к установке и направляют во влагосборник для предварительной очистки. Затем в теплообменнике происходит его охлаждение холодным газом из сепаратора и Наиболее перспективной в настоящее время считается низкотемпературная сепарация с впрыском ингибитора гидратообразования непосредственно в поток газа. Недостатком этой схемы является использование в ней громоздких и металлоемких теплообменников типа «труба в трубе». Более эффективны кожухотрубчатые теплообменники с впрыском диэтиленгликоля. Для улавливания жидкости и твердых примесей, остающихся в газе после очистных устройств, на головном участке магистрального газопровода врезают конденсатосборники и предусматривают дренажные устройства. Практика показала, что наиболее эффективно это делать на восходящих участках газопровода. Чтобы обнаруживать и предотвращать возможные утечки газа, перед подачей в магистральный газопровод ему придают специфический запах с помощью одорантов — веществ, обладающих резким запахом (этилмеркаптан, сульфан, метилмеркантан, пропилмеркаптан и др.). Примерная среднегодовая норма расхода одоранта — 16 г на 1000 м3 газа. Одорированный газ достаточно длительное время сохраняет приобретенное качество и доходит к потребителям почти с начальной степенью одоризации. Применяют одоризационные установки барботажные, с капельным одоризатором и др. В последнее время широко используются автоматические одоризационные установки. Учитывая, что одоранты — легкоиспаряющиеся горючие жидкости, при обращении с ними требуется строго соблюдать меры безопасности. Головная компрессорная станция или установка комплексной подготовки газа (УКПГ) отличается от линейной тем, что на ее территории размещены все установки но подготовке газа к дальнему транспорту. 3. Подземные хранилища газа (ПХГ) Важнейшая задача любой системы газопроводных магистралей — обеспечить надежное снабжение газом потребителей с учетом сезонной неравномерности потребления газа крупными промышленными центрами при максимальном использовании возможностей газовых промыслов и пропускной способности газопровода. Решается эта задача путем создания подземных газохранилищ большой вместимости. Наиболее экономичными являются газохранилища, создаваемые в выработанных газовых и нефтяных месторождениях. Если нет вблизи таких месторождений, газохранилища создают в благоприятных структурах с пригодными для хранения газа водоносными пористыми пластами. Вместимость газохранилища с учетом буферного (первоначально закачанного и впоследствии не отбираемого газа, составляющего обычно до 50% общей вместимости хранилища) планируется не менее 500—1000 млн. м3 . Принципиальная схема газохранилища в водоносном пласте показана на рис. 3-1. В настоящее время подобные газохранилища эксплуатируются на системах газопроводов, снабжающих газом Москву (Калужское, Щелковское и др.), С.-Петербург (Гатчинское, Колпинское, Невское), Киев
Рис. 3-1. Схема подземного хранилища газа в водоносном пласте: 1 — компрессорная станция; 2 — установка по подготовке газа (к закачке или после отбора); 3 — эксплуатационная скважина; 4 — наблюдательная скважина; 5 — комплекс горных пород; 6 — верхний газоводоупор; 7 — пласт-коллектор, заполненный газом; 8 — часть пласта-коллектора, заполненная водой; 9 — нижний газоводоупор (Олениевское,Червонопартизанское), Ригу и Прибалтику (Инчукалнское), Ташкент (Полторацкое, Майкопское и др.). Принципиально работа газохранилища заключается в накапливании излишков транспортируемого газа в летне-осенний период и подаче его в систему для выравнивания резко возрастающего потребления в зимний период. В комплекс объектов подземного газохранилища входят: · эксплуатационные газовые скважины с наземным их обустройством; · контрольные и наблюдательные скважины; трубопроводные шлейфы от скважин до сборно-распределительных пунктов;
Размещение объектов подземного газохранилища зависит от расположения скважин, схем сбора и распределения газа, технологической целесообразности, норм безопасности производства, санитарных норм, требований СНиП и других директивных документов. Технологическая схема работы хранилищ в истощенных месторождениях и вновь создаваемых в водоносных горизонтах практически одинакова. При закачке газа в пласт на хранение операции выполняют в следующем порядке: 1) очистка газа, поступающего по магистральному газопроводу, перед подачей на компримирование; 2) компримирование газа; в зависимости от глубины пласта-коллектора и, следовательно, величины первоначального пластового давления на КС предусматривают одноступенчатое либо двухступенчатое сжатие газа; 3) охлаждение газа; 4) очистка газа от масла после КС во избежание замасливания и кольматирования приемной части скважины и прифильтровой зоны; 5) измерение общего объема закачиваемого газа; 6) распределение газа через коллекторы и шлейфы по нагнетательным скважинам. При отборе газа технологическая последовательность операций иная: 1) измерение и регулирование отбора газа по скважинам; 2) очистка газа от механических примесей и капельной влаги; 3) осушка газа; 4) предотвращение гидратообразования; 5) измерение общего расхода газа; 6) компримирование (в случае необходимости) и подготовка газа к дальней транспортировке. 4. Газораспределительные станции Газораспределительные станции (ГРС) предназначены для снабжения газом от магистральных и промысловых газопроводов следующих потребителей: 1) на собственные нужды объектов газонефтяных месторождений; 2) на собственные нужды объектов газокомпрессорных станций (ГКО; 3) объекты малых и средних населенных пунктов; 4) электростанции; 5) промышленные, коммунально-бытовые предприятия и населенные пункты крупных городов. ГРС обеспечивают: 1) очистку газа от механических примесей и от конденсата; 2) редуцирование до заданного давления и поддержание его с определенной точностью; 3) измерение расхода газа с многосуточной регистрацией; 4) Одоризацию газа пропорционально его расходу перед подачей потребителю; 5) подачу газа потребителю минуя ГРС в соответствии с требованием ГОСТ 5542—87. По конструкции все ГРС подразделяются на: 1) станции индивидуального проектирования; 2) автоматические (АГРС): АГРС-1/3, АГРС-1. АГРС-3, АГРС-10, «Энергия-1М», «Энергия-2», «Энергия-3», «Ташкент-1 и -2». 3) блочно-комплектные (БК-ГРС) — с одним (БК-ГРС-1-30, БК-ГРС-1-80, БКТРС-1-150) и двумя выходами на потребителя (БК-ГРС-П-70. БК-ГРС-П-130, БК-ГРС-П-160). Все ГРС предназначены для эксплуатации на открытом воздухе в районах с сейсмичностью до 7 баллов по шкале Рихтера, с умеренным климатом (в условиях, нормализованных до исполнения V, категории размещения I по ГОСТ 15150—69*), с температурой окружающего воздуха от -40 до 50° С, с относительной влажностью 95% при 35° С. Газораспределительные станции (ГРС) являются конечными объектами магистралей или отводов от них и головными для разводящих газовых сетей потребителей. Основные функции ГРС — снижать и поддерживать выходное давление газа на уровне, отвечающем требованиям (технологическим и бытовым) потребителя, учитывать и регулировать расход отпускаемого газа. Кроме того, на ГРС осуществляется дополнительная очистка газа от механических примесей и, если степень одоризации недостаточна, дополнительное введение одоранта. Давление газа в магистрали предусматривается в широком диапазоне — от 10 до 55 кгс/см 2 , на выходе — от 3 до 12 кгс/см2 , иногда (при промышленном потреблении и разводящей сети среднего давления) до 25 кгс/см2 . В зависимости от производительности газораспределительные станции подразделяются на две группы: первая группа рассчитана на малых и средних газопотребителей с расходом газа менее 250 тыс. м 3
/ч, вторая группа При размещении на местности газораспределительных станций следует выдерживать безопасные расстояния от населенных мест, промышленных предприятий и отдельных зданий и сооружений, указанные в СНиП На ГРС имеются следующие комплексы оборудования: узлы очистки поступающего газа от пыли и жидкости, оборудуемые висциновыми фильтрами, масляными пылеуловителями или газовыми сепараторами; узлы редуцирования, где давление газа снижается и автоматически поддерживается на заданном уровне с помощью регуляторов давления РД различной мощности; узлы учета количества газа с камерными диафрагмами на выходных газопроводах и расходомерами-дифманометрами: узлы переключения с запорными устройствами для направления потоков газа непосредственно в выходные газопроводы по базисным линиям, минуя ГРС в аварийных ситуациях либо при ремонте установок; на выходных линиях устанавливают пружинные предохранительные клапаны, через которые в случае непредвиденного повышения давления в системе газ автоматически сбрасывается в атмосферу; установки подогрева газа, чтобы предотвратить образование гидратных пробок; обычно для этого используются водогрейные котлы «Нерис» или ВНИИСТО с теплообменниками, которые служат одновременно для ото- установки одорирования газа с одоризационными колонками и емкостями для одоранта; внешние входные и выходные трубопроводы — гребенка с большим числом запорной арматуры; устройства КИП и автоматики; электрооборудование и регулирующие устройства электрохимической защиты примыкающей линейной части газопровода. Все ГРС оборудуют автоматически действующими регулирующими клапанами в комплекте с регуляторами давления или пневмореле, расходомерными и другими установками.
Рис. 4-1 Общий вид ГРС в блочно-комплектном исполнении Благодаря принятым в проекте мультициклонным пылеуловителям сокращаются металловложения в блок очистки. Степень очистки газа высокая. Регуляторы прямого действия обеспечивают автоматическое регулирование давления при колебаниях расхода газа в пределах 1:100 и более. В зависимости от конкретных условий ГРС можно компоновать из различных узлов, собранных в блоки отключения, очистки, редуцирования первого потребителя и редуцирования второго потребителя. ГРС в блочно-комплектном исполнении выпускают шести типоразмеров, три из них — для одного потребителя и три — для двух потребителей. Такие ГРС отличаются простотой схемы, надежностью в эксплуатации, низкой стоимостью строительства и малой металлоемкостью. Как указывалось, максимальная производительность ГРС этих типов при давлении газа на выходе 20 кгс/см2 составляет 100 — 150 тыс. м3 /ч, при повышении давления производительность может быть доведена до 200 —тыс. м3 /ч. Транспортабельные блоки имеют ширину до 3350 мм, высоту до 2800 мм. Схема работы ГРС в блочно-комплектном исполнении заключается в следующем (рис. 4-2). Через узел подключения газ поступает в установку очистки, затем — на редуцирование и после этого — в расходомерные нитки. Пройдя через отключающую арматуру, газ по мере необходимости одорируется и поступает в газопровод потребителя. В случае надобности к входной нитке после очистки газа подключаются блоки подогрева.
Системы КИП и автоматики ГРС обеспечивают сжижение давления газа, автоматическое поддержание его на выходе в заданных пределах при широком колебании газопотребления, автоматическую защиту и бесперебойное газоснабжение потребителей. Рис. 4 - 2 Технологическая схема автоматизированной ГРС в блочно-комплектном исполнении для двух по требителей:
1 - Блок отключающих устройств в комплекте с расходомерной ниткой и свечой; 2 - блок очистки в комплекте с входной ниткой; 3-блок редуцирования первого потребителя: 4-блок редуцирования второго потребителя; 5 - строительный блок, 6 — одоризационная установка Очистка газа производится в батарейных циклонных пылеуловителях конструкции института «Гипрогаз», редуцирование — регуляторами прямого действия РД. Здание ГРС монтируют из комплектных блоков, в состав которых входят строительный блок КИП и А, а также комплект строительных элементов, позволяющих собирать блоки редуцирования и отключающих устройств, фундаменты — щебеночная подготовка под опорные плиты, стены и покрытия из панелей ВНИИСТ со стальным каркасом. Отопление помещений только строительного блока КИП и А—водяное от установки АГВ-120, а в варианте с обогревом редуцирующих клапанов — водяное от газифицированного котла ВНИИСТО-М. Вентиляция помещений ГРС — приточно-вытяжная с естественным побуждением. Электроснабжение — от сетей напряжением 380/220 с кабельным вводом. На ГРС, как правило, устанавливают промежуточный пункт диспетчерской избирательной связи с тональным вызовом. Генеральный план ГРС в блочно-комплектном исполнении приводится на рис. 4-3 Для редуцирования газа при газоснабжении набольших промышленных, бытовых и сельскохозяйственных объектов применяют автоматические газораспределительные станции АГРС в шкафном исполнении, изготавливаемые полностью в заводских условиях. АГРС обеспечивают подачу газа от магистрального газопровода потребителю под заданным давлением и с нормальной одоризацией. Они оборудованы контролирующими датчиками с электрическим выводом, позволяющими осуществлять дистанционный контроль за их работой с диспетчерского пункта. Масса шкафной АГРС 1/3 немногим более 2 т. Промышленностью разработано несколько типоразмеров блочных АГРС, выпускаемых с комплектными заготовками узлов оборудования, опорными конструкциями, системами отопления, вентиляции, КИП и автоматики. Так, например, АГРС-3 и АГРС-10 (институт ВНИПИГаздобыча») отличаются транспортабельностью простотой установки на железобетонных Рис. 4-3. Генеральный план блочной ГРС: 1 — емкость для конденсата; 2 — бензораздаточная колонка; 3 — емкость для плитах, надежностью в работе. Для снабжения газом мелких попутных бытовых и технологических потребителей, в частности термоэлектронагревателей радиорелейных пунктов и станций катодной защиты, применяют шкафные автоматические редуцирующие пункты РП, разработанные институтом «ВНИПИГаздобыча». При редуцировании влажного газа на ГРС могут происходить гидратообразование и обмерзание регуляторов и регулирующих клапанов. Чтобы предупредить эти нежелательные явления, в настоящее время широко применяют общий подогрев газа перед узлами редуцирования на ГРС с помощью кожухотрубных теплообменников. По форме обслуживания ГРС подразделяются: 1) с вахтовым обслуживанием — ГРС производительностью более 250 тыс. м3 /ч и ГРС, снабжающие предприятия, на которых газ является технологическим сырьем; 2) с надомным и кустовым обслуживанием операторами — ГРС производительностью до 250 тыс. м3 /ч. Вахтовое обслуживание, применяемое на практике весьма редко, предусматривает постоянное нахождение на ГРС дежурного персонала численностью 5—9 человек. В обязанности обслуживающего персонала, помимо обеспечения заданного режима подачи газа потребителям, входит производство текущего ремонта технологического оборудования, непосредственное участие в производстве средних и капитальных ремонтов оборудования и коммуникаций ГРС, а также обслуживание контрольно-измерительных и регулирующих приборов и установок по очитке и одоризации газа. Безвахтовое, или, как принято называть, надомное, обслуживание предусматривается на автоматизированных ГРС, обеспечивающих без постоянного присутствия персонала бесперебойное снабжение потребителей газом при заданных параметрах давления и с необходимой степенью одоризации. Такие ГРС обслуживают два оператора с дежурством на дому. В квартиры операторов в случае неисправности передаются световой и звуковой нерасшифрованные сигналы, при получении которых дежурный оператор должен явиться на ГРС и устранить неполадки. В последние годы получило распространение кустовое обслуживание, при котором два оператора обслуживают 5—6 близлежащих ГРС. 5. Блок очистки газа Блок очистки газа на ГРС позволяет предотвратить попадание механических примесей и конденсата в оборудование, в технологические трубопроводы, в приборы контроля и автоматики станции и потребителей газа. Импульсный и командный газ автоматического регулирования и управления должен быть осушен и дополнительно очищен в соответствии с ОСТ 51.40—83. Для очистки газа на ГРС применяют пылевлагоулавливающие устройства различной конструкции, обеспечивающие подготовку газа в соответствии с действующими нормативными документами по эксплуатации. Главное требование к блоку очистки газа — автоматическое удаление конденсата в сборные емкости, откуда он по мере накопления вывозится с территории ГРС Этот блок должен обеспечить такую степень очистки газа, когда концентрация примеси твердых частиц размером 10 мкм не должна превышать 0,3 мг/кг, а содержание влаги должно быть не больше величин, соответствующих состоянию насыщения газа. Наибольшая трудность при очистке газа - образование гидратов углеводородных газов: белых кристаллов, напоминающих снегообразную кристаллическую массу. Твердые гидраты образуют метан (их формула 8СН4 •46Н2 О или СН2 •5,75Н2 О) и этан (8С2 Н6 •46Н2 О) или С2 Н6 •5,75Н2 О); пропан образует жидкие гидраты (8C3 H8 •136H2 O или С3 Н8 17Н2 О). При наличии в газе сероводорода формируются как твердые, так и жидкие гидраты. Гидраты — нестабильные соединения, которые при понижении давления и повышении температуры легко разлагаются на газ и воду. Они выпадают при редуцировании газа, обволакивая клапаны регуляторов давления газа и нарушая их работу. Кристаллогидраты откладываются и на стенках измерительных трубопроводов, особенно в местах сужающих устройств, приводя тем самым к погрешности измерения расхода газа. Кроме того, они забивают импульсные трубки, выводя из строя контрольно-измерительные приборы (КИП). На ГРС предусмотрена одноступенчатая очистка газа. От механических примесей и конденсата природный газ очищают с помощью газосепараторов по ОСТ 26—02645—72 (с полыми скрубберами или с насадками) типа ГС-11-64, ГСР-64, ГЖ-64. Насадки в скрубберах применяют сетчатые, жалюзийные и из колец Рашига. На монтажной площадке ГРС устанавливают не менее двух газосепараторов, работающих параллельно. Скорость движения газа в них не должна быть более 0,5—0.6 м/с. Газосепараторы подбирают с таким расчетом, чтобы при остановке одного из них, скорость газа в работающем не превышала 1 м/с. Газосепараторы должны быть теплоизолированы и установлены на отдельных фундаментах. Расстояние между ними — не менее их диаметра с теплоизоляцией. Очистка газа от механических примесей и конденсата в газосепараторе происходит за счет: 1) изменения направления движения газа на 180°; 2) снижения скорости движения газа до 0,5—0,6 м/с. В этом случае VB < V0 (где VB — скорость витания механических частиц в газосепараторе; V0 — скорость оседания механических частиц в газосепараторе); 3) движения газа в насадке, где отбиваются (выделяются) механические примеси и капли конденсата, которые падают на коническое дно газосепаратора. Как показывает практика, наименьший каплеунос конденсата происходит в газосепараторах с сетчатыми насадками. Газовый конденсат и механические примеси скапливаются на дне газосепаратора. По мере накопления происходит автоматический сброс конденсата в подземную емкость при помощи дифференциального уровнемера жидкостного пневматического (ДУЖП), установленного на газосепараторе, и регулирующего клапана непрямого действия типа Кр-50-64-ВО, где Кр — тип клапана, 50 — условный диаметр клапана, мм; 64 — условное давление, кгс/см; ВО — газ (воздух) открывает. В отапливаемом помещении устанавливают два регулирующих клапана типа Кр, один из которых является рабочим, а другой — резервным. Основные узлы клапана — мембранно-пружинный привод и двухседельное дроссельное устройство. Мембранно-пружинный привод клапана питает газ давлением 1 — 1.2 кгс/см, расход газа 0,5 — 0,6 м /ч. Когда уровень газового конденсата в газосепараторе поднимается до верхнего допустимого уровня, срабатывает ДУЖП и через реле мембранно-пружинный привод под действием давления газа перемещается вниз, открывая клапан для прохода конденсата и подземную емкость. Уровень газового конденсата в газосепараторе опускается до нижнего допустимого. При этом через реле подается сигнал на прекращение подачи газа на клапан Кр-50-64-ВО и мембранно-пружинный привод под действием пружины перемещается вверх, закрывая клапан для пропуска конденсата из газосе-паратора в подземную емкость. По мере накопления конденсата в подземной емкости он перекачивается насосом топливозаправочной колонки в автомобильную цистерну и вывозится для дальнейшего использования. Кроме газосепараторов ОСТ 26—02645—72 для очистки газа применяют пылеуловители мультициклонные (рис. 5-1 и 5-2) Эффективность очистки в них зависит от дисперсного состава механических примесей в газе, скорости газа в циклонах, прилипаемости и влажности механических частиц и ряда других величин. Мультициклонный пылеуловитель представляет собой сосуд, внутренняя полость которого разделена на три части: верхнюю, свободную от каких-либо устройств; среднюю, где находятся циклонные элементы; и нижнюю, где собираются конденсат и механические примеси.
Рис. 5- I . Пылеуловитель мультициклонный. 1-муфта; 2 - люк для чистки: 3. 4 — дренажи: 5 — штуцер автоматического сброса конденсата; 6 - штуцер датчика уровня жидкости: 7 — циклонный элемент: 8 — переливная
труба Ø18x2.
Очищаемый газ поступает в среднюю часть мультициклона. Через вихревые устройства циклонов газ поступает в нижнюю часть мультициклона, где происходит оседание всех примесей. Газ, освобожденный от частиц пыли и жидкости, проходит по внутренним трубкам циклонов, попадает в верхнюю часть и далее направляется в газопроводы. Мультициклоны можно оборудовать установкой автоматического сброса конденсата в подземную сборную емкость. Мультициклоны эффективно очищают газы, содержащие сухие механические примеси. Очистка в мультициклонах природных газов от механических примесей и конденсата малоэффективна, так как они быстро забивают конусную часть циклонных элементов, при этом образуя наросты и даже пробки. Циклонные элементы выходят из строя, нарушая аэродинамику мультициклона. Поэтому мультициклоны приходится часто останавливать для чистки и промывки циклонных элементов. Эта работа трудоемкая и требует больших эксплуатационных затрат. На ГРС малой пропускной способности для очистки газа от механических примесей применяют висциновые фильтры (рис. 5-3).Такой фильтр состоит из корпуса, внутри которого смонтирована кассета (насадка), заполненная кольцами Рашига. Эти кольца бывают металлические и керамические. В основном применяют металлические размером 15x15x0,5 мм. Кольца Рашига смазывают висциновым маслом по ГОСТ 7611—55 (60% цилиндрового масла плюс 40 солярового). Принцип работы висцинового фильтра следующий: частички механических примесей, попадая с потоком газа в фильтр, проходят через смоченные висциновым маслом кольца Рашига. меняя свое направление, и прилипают к поверхности колец.
Рис. 5-3. Висциновый фильтр D у 700 ( D уЗОО). 1 — патрубок входной; 2 — корпус фильтра; 3 — перфорированная сетка: 4 - люк эагрузоч- ный. 5— засыпка (мелкие металлические или керамические кольца 15x15 мм): 6 — штуцер: 7 — патрубок выходной: 8 — люк разгрузочный: 9 — отбойный лист. Как только перепад давления газа на входе в фильтр и на выходе из него возрастает, что свидетельствует о загрязненности насадки, кольца фильтра очищают паром, промывают содовым раствором, после чего их смазывают чистым висциновым маслом. Процесс очистки и восстановления работоспособности висцинового фильтра весьма трудоемок, так как осуществляется вручную. Частые очистка и восстановление работоспособности фильтра oбyc-ловлены тем. что масляная активная пленка с колец Рашига быстро растворяется и смывается конденсатом, находящимся в природном газом. Висциновые фильтры предназначены для очистки газа только от механических примесей, так как их конструкция не позволяет оборудовать фильтры автоматическим сбросом конденсата в подземную емкость. На некоторых ГРС для очистки газа используют пылеуловители масляные (рис. 5-4) с внутренними диаметрами 1000, 1200, 1400, 1600 мм. Число устанавливаемых на ГРС пылеуловителей зависит от расхода газа, но их должно быть не менее двух. Пылеуловители масляные состоят из трех секций: нижней, промывочной, в которой все время поддерживается постоянный уровень солярового масла. Средней, осадительной, где газ освобождается от взвешенных частиц солярового масла. Верхней, отбойной, или скрубберной, где и происходит окончательная очистка газа. В нижней секции размещена насадка из пучка трубок, верхние концы которых закреплены в решетке. Нижние концы трубок открыты и имеют 16 продольных прорезей-щелей. Расстояние между концами трубок и поверхностью солярового масла 25—30 мм. Средняя секция пылеуловителя свободна от элементов конструкции, В верхней секции расположена скрубберная насадка, состоящая из жалюзийных листов с волнообразным профилем или металлической сетки, которые образуют лабиринт для прохода газа. Газ через газоподводящий патрубок поступает в нижнюю секцию, ударяется об отбойный козырек и изменяет направление движения. Наиболее крупные взвешенные механические частицы падают в нижнюю часть пылеуловителя, заполненную маслом. Затем газ проходит над поверхностью масла, далее через пучок труб и через открытые нижние концы их, а также через прорези. Далее по контактным трубкам газ поступает в среднюю, осадительную, секцию, где его скорость резко снижается. В результате чего механические частицы и капельки масла оседают на разделительную сетку в виде шлама и по дренажным трубкам стекают в нижнюю секцию. Средняя скорость газа в свободном сечении средней секции 0,5—0,6, в контактных трубках 2,5—3,0 м/с. Из средней секции газ поступает в верхнюю, отбойную, где за счет изменения направления своего движения на 90° и наличия скрубберной насадки происходит дальнейшая очистка газа. Капельки солярового масла и мелкие механические частицы по специальным дренажным трубкам стекают в нижнюю секцию. Очищенный газ из пылеуловителя через выходной патрубок направляется или в блок подогрева, или в блок редуцирования. Загрязненное масло из нижней секции продувкой периодически удаляется по трубке для слива грязного масла в сборную емкость. Свежая порция масла заливается в пылеуловитель по специальной трубе для заполнения. Дли очистки газа используют соляровое масло марки Л, имеющее следующие показатели: температура, ° С: застывания —20°. вспышки — не ниже 125; кинематическая вязкость по Энглеру 1,39— 1.76 о ВУ. Для очистки и осушки командного газа для редуктора ВР-1 до остаточной относительной влажности 2—3% при температуре ок-ружающего воздуха 16—20° С применяют фильтр-осушитель (рис. 5-5). Он состоит из корпуса (трубы диаметром 500 или 700 мм), 3/4 объема которого заполнены влагопоглотителем (цеолитом или силикагелем), размещенным в верхней части, между двумя сетками и двумя решетками. Нижняя часть незаполненного объема фильтра предназначена для сбора конденсата, который периодически сливается через дренажный штуцер. Принцип действия фильтра-осушителя основан на способности влагопоглотителя поглощать большое количество влаги при малом объеме. Для автоматического сброса из газосепаратора в подземную емкость уловленного конденсата применяют регулирующие клапаны непрямого действия типов К (рис. 5-6) 25с48нж. 25с50нж вида ВО (воздух открывает). При подаче командного давления (газа) на мембрану исполнительного механизма клапан открывается.
Регулирующие клапаны состоят из регулирующего органа (клапана) и мембранно-исполнительного механизма (МИМ). Перемещение золотника относительно седла клапана осуществляется под действием командного газа на мембрану исполнительного механизма, который соединен с золотником посредством штока. Если давление
Рис 5-4 Масляный пылеуловитель . 1 - трубки для слива грязного масла; 2 — люк. 3 — трубка для слива грязного масла в сборную емкость: 4 —трубка для налива масла. 5 — уровнемер; б — на-садка из пучка труб: 7 — разделительная сетка. 8 - предохранительный клапан: V — скрубберная насадка: 10 - трубки для стока загрязненного масла в нижнюю часть пылеуловителя. 11 — отбойный козырек Рис. 5-5. Фильтр-осушитель. 1 — корпус: 2 — сетки: 3 — крышка: 4 — решетки; 5 — прокладка уплотнительная: 6 — распорное кольцо: 7 — штуцер слива конденсата .
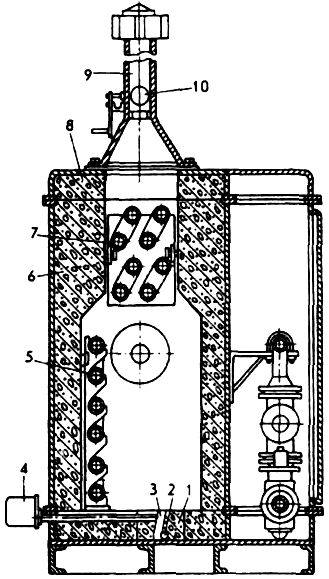
командного газа на МИМ увеличивается, мембрана опускается, пружина сжимается и шток с золотником опускается, открывая проходное сечение седла клапана для сброса конденсата из газосепаратора в подземную емкость. Из подземной емкости конденсат перекачивается в передвижную надземную емкость для дальнейшей транспортировки. 6. Блок подогрева газа Наибольшие трудности при редуцировании газа возникают из-за образования гидратов, которые в виде твердых кристаллов оседают на стенках трубопроводов в местах установки сужающих устройств, на клапанах регуляторов давления газа, в импульсных линиях контрольно-измерительных приборов (КИП). Наиболее благоприятны для образования гидратов падение температуры и давления, что влечет за собой уменьшение как упругости водяных паров, так и влагоемкости газа, в результате чего происходит образование гидратов. В качестве методов по предотвращению гидратообразования применяют общий или частичный подогрев газа; местный обогрев корпусов регуляторов давления и ввод метанола в коммуникации газопровода. Наиболее широко применим первый метод, второй — менее аффективен, третий — очень дорогостоящий. Для общего подогрева газа применяют огневые (ПГА-5, ИГА-10, ПГА-100, ПГА-200 и ПТА-1) и водяные [ПГ-3, ПГ-10, 9ПГ64-2М (ЗМ), ПТПГ-30 и ПТГ-15] подогреватели. Для эксплуатации ПГ-3 и 9ПГ64-2М(ЗМ) необходимы мощные котельные установки, стационарные или передвижные, а также постоянные инженерные коммуникации по водоснабжению, канализации и электроснабжению. Поскольку химическая подготовка и очистка воды отсутствует, происходит быстрое нарастание накипи на внутренних стенках водопроводных труб, уменьшающих проходное сечение последних, что приводит к плохому теплообмену между горячей
Рис. 6-1. Схема водяного подогревателя газа ПГ-3 водой и газом, к утрате эффективности подогрева газа теплообменниками. Водяные подогреватели ПГ-3 и 9ПГ64-2М (ЗМ) представляют собой теплобменные аппараты кожухотрубного типа (рис. 6-1). Огневые подогреватели одинаковы по конструкции (рис. 6-2), отличаются техническими данными. Основные -элементы этих подогревателей: огневая камера (состоит из основания, боковых и торцевых стенок, крышки), змеевик, горелка, байпасная линия, установка термобаллонов, контрольно-запальное устройство, дымовая труба, блок автоматики контрольно-запального устройства и автоматика регулирования (включает в себя отсекатель, фильтр, регулятор давления, регулятор температуры, сбросной и электромагнитный клапаны, терморегулятор В керамзито-бетонном основании (рис. 6-2) огневой камеры находится наклонная горелочная щель, служащая стабилизатором горения газа. Подощелевая горелка, расположенная под основанием огневой камеры в горелочной щели, представляет собой трубу с огневыми отверстиями по ее образующей. Пламя направляется на боковую радиационную стену, которая, раскалившись, излучает тепло, нагревающее змеевик. Часть змеевика, расположенная в верхней части огневой камеры, нагревается теплом отходящих газов. Краны служат для отключения змеевика подогревателя на летний период или для ремонтных работ. Газ в этом случае, минуя змеевик, проходит по байпасному газопроводу. Автоматика регулирования и защиты размещена на сварной раме и закрыта кожухом. В дымовой трубе расположен шибер, с помощью которого можно регулировать тягу в разные периоды года.
Температуру газа на выходе из подогревателя в заданных пределах от 5 до 60° С поддерживают с помощью терморегулятора. Терморегулятор (рис. 6-3). Термометрическая система его состоит из баллона и сильфона, заполненных жидкостью с большим коэффициентом теплового расширения. Изменение температуры газа на выходе из подогревателя ведет к изменению в термосистеме объема и давления жидкости. При этом сильфон сжимается или разжимается, перемещая шток, который связан с большим и малым фигурными рычагами отсекателя Малый фигурный рычаг поднимает или опускает клапан терморегулятора. Если температура газа выше заданной на выходе из подогревателя, жидкость в термосистеме расширяется и сжимает сильфон. Вследствие этого шток, преодолевая усилие пружины, поднимается вверх, освобождая конец большого фигурного рычага. что в свою очередь ведет к освобождению клапана, который садится на седло и закрывает проход топливного газа к горелкам. Датчик (рис. 6-4). Предназначен для подачи сигнала на диспетчерский пункт линейно-производственного управления (ДП ЛПУ) или в дом оператора (ДО) в случае погасания пламени запальника подогревателя газа. При горении запальника мембрана находится в нижнем положении и удерживает
Рис. 6-4. Датчик. / — мембранная головка: 2 — мембрана: 3 — шток: 4 — коробка: 5 — микропереключатель: 6 — рычаг: 7 — пружина: 8 — штуцер: НЗ — нормально закрыто. HP — нормально открыто.
контакт микропереключателя в разомкнутом состоянии. При погасании запальника электромагнитный клапан закрывает подачу газа на газопроводе запальника. При этом давление газа в газопроводе запальника и в датчике падает. Мембрана под действием пружины перемешается вверх. Контакты микропереключателя замыкаются и на ДП ЛПУ или в ДО подается сигнал «Авария». Электромагнитный клапан (рис. 6-5). Перекрывает подачу топливного газа к горелке в случае погасания пламени запальника, фиксируя три положения: 1) закрытое, когда газ через клапан не проходит; 2) промежуточное, когда газ через клапан запальника проходит; 3) рабочее, когда газ через клапан поступает и на запальник, и на горелку. До начала работы подогревателя электромагнитный клапан закрыт. Чтобы включить запальник, необходимо нажать на пусковую кнопку. В этом случае подвижная система штоков и клапанов переместятся вниз. Клапан займет нижнее положение, а верхний сядет на седло. При этом топливный газ будет поступать через отверстие к запальнику, но не к горелке. В течение 1 мин пламя запальника нагреет спай термопары, в ней возникнет электродвижущая сила (ЭДС), образующая в электромагните магнитное поле, которое притягивает якорь к торцам электромагнита до тех пор, пока на запальнике будет гореть газ. Под действием нижней пружины подвижная система из штоков. клапанов и кнопки поднимется вверх. При этом верхний клапан отойдет от своего седла на 2.5 мм и откроет доступ топливному газу к горелке. Нижний клапан не дойдет до своего седла на 2,5 мм, и газ будет продолжать поступать к запальнику.
Рис. 6-5. Клапан электромагнитный. 1. 14 — штоки: 2 — кнопка: 3. 16 — пружины: 4 — кожух. 5 — якорь; 6 — электромагнит: 7 — обмотка электромагнита; 8 — основание: 9 — прижимное кольцо: 10 — корпус: 11 — мембрана: 12. 15 — клапаны (12 — верхний. 15 — нижний): 13 — отверстие. 17 — пробка При погасании пламени на запальнике якорь под действием усилии пружины 16 вместе со всей подвижной системой поднимается вверх Клапан сядет на седло и прекратит поступление газа к горелке и к запальнику. Термопара. Выполнена из двух сплавов: хромеля (никель + хром) и копеля (никель + медь) — и представляет собой хромелевую трубку, в которую вставлен копелевый стержень. Принцип работы термопары заключается в том, что при ее нагревании тепловая энергия преобразуется в электрическую. Подача топливного газа в подогреватели осуществляется после блок» редуцирования. Топливный газ высокого или среднего давления (6 или 3 кгс/см2 ) редуцируют до низкого (500 мм вод. ст) в регуляторах давления газа РД-32, РД-50М, которые устанавливают у каждого подогревателя или в отдельной газорегуляторной установке (ГРУ). Эти установки монтируют в помещениях редуцирования или в котельной. ГРУ снабжает газом низкого давления не только газопотребляюшие установки ГРС (котлы, подогреватели), но и газовые водонагревательные и отопительные аппараты ДО (водонагреватели, 4-конфорочные плиты, газовые холодильники и пр.). СПИСОК ИСПОЛЬЗОВАННОЙ ЛИТЕРАТУРЫ 1. Суринович В.К., Борщенко Л.И. «Машинист технологических компрессоров», - М.: Недра, 1986.-280 с. 2. Волков М.М. и др., «Справочник работника газовой промышленности», -М.: Недра, 1989.-286с. 3. Правила технической эксплуатации магистральных газопроводов, М.: Недра, 1989. 4. Правила технической эксплуатации компрессорных цехов с газотурбинным приводом. М. 1976. 5. Сборник типовых эксплуатационных формуляров и инструкций по эксплуатации и техническому обслуживанию систем и оборудования компрессорных станций с газотурбинным приводом, ч. 1,2. Приложение к «ПТЭ компрессорных цехов с ГТУ», М.: 1976. 6. Козаченко А.Н. «Эксплуатация компрессорных станций магистральных газопроводов», - М.: Нефть и газ, 1999-459 с. 7. Андреев Г.С. «Запорная арматура», - М.: Недра, 1974. 8. Фриман Р. Э., Иванов С. А., Бородавкин П. П., «Магистральные газопроводы. Основные сведения». М.: Недра, 1976. 9. Тихомиров Е.Н. «Монтаж, наладка и эксплуатация устройств электрохимической защиты», М.: Недра, 1976. 10. Данилов А.А., Петров А.И. «Газораспределительные станции». С-П.: Недра, 1997. 11. Положение по технической эксплуатации газораспределительных станций магистральных газопроводов. М.: Недра, 1990. 12. Беззубов А.В., Козобков А.А., Шварц А.И. «Устройство и монтаж технологических компрессоров», М.: Недра, 1985. 13. СНиП 2.05.06-85. Магистральные трубопроводы. М., ЦИТП Госстроя СССР, 1985. 14. СНиП III-42-80. Магистральные трубопроводы. Госстой СССР. М., Стройиздат. 1981. |














