Дипломная работа: Модернизация лабораторных стендов и наладка новых лабораторных комплексов лаборатории измерительной
|
Название: Модернизация лабораторных стендов и наладка новых лабораторных комплексов лаборатории измерительной Раздел: Промышленность, производство Тип: дипломная работа | ||||||||||||||||||||||||||||||||||||||||||||||||||||||||||||||||||||||||||||||||||||||||||||||||||||||||||||||||||||||||||||||||||||||||||||||||||||||||||||||||
ФГОУ СПО «Салаватский индустриальный колледж»Модернизация лабораторных стендов и наладка новых лабораторных комплексов лаборатории измерительной техники Пояснительная запискаДП 140613.09зо.14 ПЗ Дипломники Алтынбаев И.И. Пантелеев Е.В., Первов Р.Г., Сидоров А.П. Руководитель проекта Колеганов М.ЕСт. консультант Кобякова Ф.А. 2009 Содержание Введение 1.1 Общая (технологическая) часть 1.1.1 Методы, средства и погрешности измерений 1.2 Расчётно-конструкторская часть 1.2.1 Разработка конструкции лабораторного стенда 1.2.2 Выбор и комплектация электрооборудования и материалов лабораторного стенда 1.2.3 Монтаж лабораторного стенда 1.2.4 Монтаж концевых заделок 1.2.5 Назначение, устройство и прицеп работы мегаомметра 1.2.6 Ремонта мегаомметров 1.2.7 Разработка методического пособия для выполнения лабораторной работы «Измерение сопротивления изоляции» 1.2.8 Назначение, устройство и прицеп работы поверочной установки УППУ –МЭ-3.1К 1.2.9 Назначение, устройство энергомонитора прибора ЭМ-3.1К 1.2.10 Наладка поверочной установки УППУ-МЭ-3.1К 1.2.11 Наладка прибора ЭМ-3.1К 1.2.12 Разработка методического пособия для выполнения лабораторной работы «Поверка вольтметра» 1.3 Мероприятия по охране труда (окружающей среды) 1.3.1 Техника безопасности при проведение лабораторных работ 1.3.2 Меры безопасности при работе с переносимыми электроизмерительными приборами. 1.4 Организационная часть 1.4.1 Организационные и методические указания к проведению лабораторных работ 1.4.2 Организация наладочных работ 1.5 Экономическая часть 1.5.1 Составление сметы спецификации на электрооборудование лабораторного стенда Заключение Список литературы Введение Развитие науки и техники всегда было тесно связано с прогрессом в области измерений. В физике, механике и других науках именно измерения позволили точно устанавливать зависимости, выражающие обьективные законы природы, по этому эти науки именуются точными. Измерения являются одним из основных способов познания природы, ее явлений и законов. Каждому новому открытию в области естественных и технических наук предшествует большое число различных измерений. Важную роль играют измерения в создании новых машин, сооружений, повышения качества продукции и эффективности производства. Проблема повышения качества продукции и эффективности производства решается путем автоматизации технологических процессов, и здесь успех дела во многом определяется достоверностью и своевременностью получения измерительной информации о ходе технологического процесса. Качество многих технологических процессов зависит от состояния электроустановок, обслуживающих эти процессы. Каждая электроустановка должна удовлетворять определенным техническим требованиям. Проверка выполнения указанных требований производится посредством электроизмерительных приборов. Эта проверка осуществляется на всех стадиях создания монтажа и поспедующей эксплуатации электроустановки. Первоначально под электрическими измерениями понимались методы и средства измерений параметров, связанных с производством, передачей и использованием электрической энергии. Позднее электрические измерения стали применяться в целях получения измерительной информации о протекании различных регулируемых или управляемых технологических процессов. В настоящее время электрические методы измерений могут применяться для практически любых физических величин или процессов. Прогресс в развитии средств электроизмерительной техники в последние годы обеспечен в результате развитии теории измерений и разработки на ее основе новых методов измерения, широкого применения в конструкциях средств измерений последних достижений микроэлектроники, автоматики, вычислительной техники, а также успешного решения ряда технологических гада. Аналоговые приборы непосредственной оценки выпускается промышленностью уже десятки лет. Последние годы в конструкции были сделаны серьезные измерения: так, от опор на кернах перешли к растяжкам, что позволила существенна повысить точность, снизить цену деления, а в ряде случаев изменить весь внешний вид прибора. Было освоено производство ряд серийных аналоговых приборов (оммерметров, вольтметров, ваттметров, частота- меров, фазометров) с высокими технико-экономи- ческими характеристиками. Важным шагом в развитии электроприборо- строения явилась разработка и освоение серийного производства новых методов изготовления резисторов на основе печатном технологии и литого микропривода в сплошной стеклянной изоляции, отличающихся компактностью и высокой стабильностью сопротивления. В результате разработки технологии производства литого микропривида в сплошной стеклянной изоляции была решена проблема производства высокоомных резисторов и приборов на их основе. Новым шагом в развитии электроизмерительной технике стали разработка и освоение серийного производства цифровых измерительных приборов (ЦИП). Высокая точность, быстродействие, помехоустойчивость, малый отбор мощности от объекта измерения, удобство визуального отсчета, возможность выдачи результата измерения в виде кода во внешние устройства и ряд других ценных признаков характерны для ЦИП наряду с полной автоматизацией процесса измерения. При ЦИП сочетаются последние достижения теории электрических измерений с современной микроэлектронной элементной базой, автоматикой и вычислительной техникой. 1.2 Расчетно-конструктивная часть 1.2.1 Разработка конструкции лабораторного стенда Корпус лабораторного стенда изготовлен из стальных рам с толщиной стенок 2мм и выкрашен в белый цвет. Детали корпуса скреплены болтами (винтами) М6х16 и М4х16, для упругости конструкции в местах соединения установлены уголки мебельные выполненные из этого же материала. Столешница лабораторного стенда крепится на четырех шурупах (болтах). Лицевая часть стенда выполнена из полистирола, на ней находятся клеммы и концевые муфты. Вся конструкция выполнена на стальных ножках в форме круга. 1.2.2 Выбор и комплектация электрооборудования и материалов лабораторного стенда Лабораторный стенд по поверки испытание изоляции входет оборудование: мегомметр, кабель, концевые заделки. Мегомметры Ф4102/1, Ф4102/2 предназначены для измерения сопротивления изоляции различных электроустройств, не находящихся под напряжением и могут использоваться во всех отраслях промышленности и сельского хозяйства, за исключением шахт, рудников и других производств, опасных по взрыву газа и пыли. Конструктивное исполнение. Мегаомметр выполнен в пластмасовом корпусе. На передней панели расположены: отсчетные устройство, индикатор уменьшения напряжения химических источников питания, зажимы для подключения измеряемого объекта, органы управления. На задней панели расположен отсек размещения сухих элементов, на боковой панели расположена розетка для подключения шнура питания к сети. Концевые муфты состоят из: наконечника болтового, манжета концевая, трубка жильная, перчатка высоковольтная, лента-регулятор, детали непаянного заземления, манжета поясная. Таблица 1.2.2.1 Комплект муфт 10КВТп- для кабелей сечением мм2
Таблица 1.2.2.2Комплект муфты 10КВТц- с болтовым наконечником
1.2.3Монтаж лабораторного стенда На готовый каркас лабораторного стенда в лицевой части закрепим лист полистирола. Лист крепим на металлический каркас лабораторного стенда соединительными болтами 6мм. Распределяем аппаратуру, отмечаем место расположения каждого из них. Устанавливаем автоматический, трехполюсный выключатель выводим клемные зажимы питания, на 380u – 220вольт. Записываем автомат 4-х жильным кабелем сечением 6мм2 . Ниже устанавливаем 4-ре клемных зажима, к ним присоединяем кабель 4-х жильным сечением 16мм2 Устанавливаем две розетки на 220вольт. Устанавливаем канцевую муфту. Отходящие концы обоих сторон кабеля сечением 35мм2 от муфты снабжены алюминевыми наканечниками которые присоединены на соответствующие установленные клеммы, а именно А, В, С, N. (начало кабеля и конец кабеля) 1.2.4 Монтаж концевых заделок 1. Снимите с кабелей наружный покров, броню, металлическую оболочку, черную полупроводящую бумагу и поясную изоляцию по размерам. 2. Наденьте на кабель поясную манжету. 3. Разведите жилы кабелей, удалите жгуты бумаги межфазного заполнения. 4.Наденьте жильные трубки соответствующей длины на жилы. 5. Усадите жильные трубки, начиная прогрев от корешка разделки к концам жил. 6. Отрежьте от рулона ленты-регулятора кусок длиной 40мм-для кабелей сечением 16 и 25мм2 60мм-для кабелей сечением 35 и 50 мм2 80мм-для кабелей сечением 70-240мм2 7. Отделите отрезок ленты от подложки, сверните виде цилиндра с конусовидным концом и вставьте его в корешок разделки кабеля. Раздвигая жилы, вдавите ленту-регулятор между жилами до размера 50мм. 8. Отделите оставшуюся ленту – регулятора от подложки и намотайте ее на корешок разделки кабеля с заходом на оболочку 10мм. Окончание намотки должно быть на уровне торца конуса, вдавленного между жилами. 9. Прогрейте оболочку кабеля, включая намотку ленты до температуры 60…70 °С «на выдержку руки». Очистите и обезжирьте поверхность оболочки от возможных натеков пропиточного состава. 10. Наденьте, не давая оболочке остыть, перчатку и, раздвигая жилы, максимально подвиньте ее до упора. Усадите перчатку, начиная прогрев от середины широкой части до ее торца, затем продолжайте усадку перчатки от середины юбки до торцов пальцев. 11. Наденьте на жилы цветные концевые манжеты, распределив их цвета в соответствии с принятым обозначением фаз. 12. Отрежьте и снимите с концов жил часть жильной трубки на длину равную глубине отверстия в болтовом наконечнике. 13. Зачистите концы жил от окиси до металлического блеска, вставьте их в отверстия наконечника до упора и зафиксируйте, подтянув болт. Закрутите болт наконечника торцевым ключом до скручивания головки. Для исключения разворота наконечника и изгиба жилы необходимо использовать кондуктор. 14. Прогрейте цилиндрическую часть наконечника до температуры 60 - 70°С (на выдержку руки), надвиньте до контактной части наконечника концевую манжету и усадите её, начиная прогрев от контактной части. Усадите коняевые манжеты на другие жилы аналогичным образом. 15. Зачистите до "металлического блеска"на оболочке (на расстояния 5мм от торца перчатки) площадку шириной 30 -35мм 16. Установите на площадку тёрку и разместите на ней конец провода заземления, направив другой его конец в сторону конца разделки. 17. Перегните провод в обратную сторону и прижмите его оставшимися витками пружины. 18. Подсоедините провод заземления к броне с использованием пайки. 19.Налвиньте на юбку перчатки (на 40-50мм) поясную манжету и усадите её начиная прогрев от перчатки. 1.2.5Назначение, устройства и принцип работы мегомметра. Мегомметры Ф4102/1, Ф4102/2 предназначены для измерения сопротивления изоляции различных электроустройств, не находящихся под напряжением и могут использоваться во всех отраслях промышленности и сельского хозяйства, за исключением шахт, рудников и других производств, опасных по взрыву газа и пыли. Конструктивное исполнение. Мегаомметр выполнен в пластмасовом корпусе. На передней панели расположены: отсчетные устройство, индикатор уменьшения напряжения химических источников питания, зажимы для подключения измеряемого объекта, органы управления. На задней панели расположен отсек размещения сухих элементов, на боковой панели расположена розетка для подключения шнура питания к сети. Принцип действия. Мегаомметры построены по последовательной схеме измерений. Приборы комбинированные по питанию, по номинальным значениям измерительных напряжений (Ф4102/1 - 100, 500 и 1000V, Ф4102/2 - 1000 и 2500V. Шкалы мегаомметра проградуированы непосредственно в единицах сопротивления. Преобразователь. Преобразователь предназначен для преобразование напряжения питания в постоянное напряжение нужной величины. Снимаемое с выходных обмоток трансформатора напряжение тора приведены в выпрямляется и поступает на клемму "2". Полученное напряжение (в зависимости от положения переключателя) стабилизируется компенсационным стабилизатором последовательного типа. На плате преобразователя размещена схема индикации уменьшения напряжения химических источников тока. При уменьшении напряжения химических источников тока ниже 10V загорается индикатор КНТ ПТН, Усилитель измерительный. Усилитель измерительный (логарифмический усилитель) предназначен для осуществления компрессии входного сигнала и состоит из операционного усилителя, в обратную связь которого включен транзистор в диодном включении. Для уменьшения температурной погрешности логарифмического усилителя, температура транзистора обратной связи поддерживается постоянной путем активного термостатирования. 1.2.6 Ремонт мегаомметров Таблица1.2.6.1 Перечень наиболее часто встречающихся или возможных неисправностей
1.2.6.1При ремонте прибора необходимо соблюдать мерыбезопасности, изложенные в разделе 8 ТО. 1.2.6.2Для доступа внутрь прибора необходимо отвинтить четыре винта нижней панели прибора, после чего ее снять. 1.2.6.3Отвинтить четыре винта, крепящие плату, на которой смонтированы преобразователь и умножитель, и повернуть плату. Для снятия платы с переключателем поддиапазонов необходимо снять ручки УСТАНОВКА НУЛЯ и переключателя поддиапазонов, отвинтить винты и снять две фальшпанелн. Отвинтить четыре винта, находящиеся под фальшпанелями, и снять плату с переключателем поддиапазонов. 1.2.6.4Печатная плата покрыта лаком. После замены элементов места соединений, подвергавшиеся, пайке, необходимо, покрыть лаком, крепежные винты законтрить эмалью. 1.2.6.5В приложении 4 приведены типовые режимы полу проводниковых приборов, что облегчает отыскание неисправностей в приборе. 1.2.6.6Отремонтированный прибор необходимо отрегулировать. 1.2.6.7Регулировка должна проводиться в условиях, перечисленных в п. 13.3, при этом напряжение питания должнобыть 2,8 V. 1.2.6.8Все элементы электрической схемы прибора можно заменить в соответствии со спецификацией. При замене некоторых элементов требуется дополнительная регулировкаприбора. 1.2.6.9При замене транзисторов Т1, Т2, диодов Д1—Д5 и трансформатора необходимо проверить напряжения на конденсаторах С2, СЗ и С5. Проверка производится вольтметром В7-15. На конденсаторе С5 должно быть напряжение (120—160) V, на конденсаторах С2 и СЗ напряжение должно быть (300—360) V. 1.2.6.10При замене резисторов R7, R13, R14, R19 необходима регулировка на первом поддиапазоне. Для этого необходимо установить нуль в соответствии с пп. 9.5 и 9.6, затем подключить образцовый резистор. Щупы прибора подключить к магазину сопротивлений Р-33, на котором установить значение сопротивления 30Ω. Нажать на кнопку щупа ИЗМЕРЕНИЕ и потенциометром R19 установить указатель прибора на числовую отметку 30 шкалы Б. Эти операции.зависимые, поэтому их следует повторить до практически полного совпадения указателя прибора как с отметкой шкалы нуль,так и с отметкой 30. 1.2.6.11При замене резисторов R6, R12, R18 необходима регулировка на втором поддиапазоне. Регулировка производится аналогично п. 1.2.6.10. На магазине сопротивлений Р-33 устанавливается значение сопротивления.образцового -.резистора 1 кΩ. Регулировка производится потенциометром R18. Указатель прибора устанавливается на отметку 10 шкалы А. 1.2.6.12При замене резисторов R5, R11, R17 необходима регулировка на третьем под диапазоне. Регулировка производится аналогично п. 1.2.6.10. На магазине сопротивлений Р-33 устанавливается значение сопротивления образцового резистора 30Ω. Регулировка производится потенциометром R17. Указатель прибора устанавливается на числовую отметку 30 шкалы Б. 1.2.6.13При замене резисторов R4, R10, R16 необходима регулировка на четвертом поддиапазоне. Регулировка производится аналогично п. 1.2.6.10. Используется магазин сопротивлений Р-4002, на котором устанавливается значение сопротивления образцового резистора 1 MΩ. Регулировка производится потенциометром R16. Указатель прибора устанавливается на отметку 10 шкалы А. 1.2.6.14При замене резисторов R8, R9, R15 необходима регулировка на пятом под диапазоне. Регулировка производится аналогично п. 1.2.6.10. Используется магазин сопротивлений Р-4002, на котором устанавливается значение сопротивления образцового резистора 10 МΩ. Регулировка производится потенциометром К15. Указатель прибора устанавливается на отметку 10 шкалы А. 1.2.6.15. При замене резисторов R1, R2, RЗ и элементов питания необходимо проверить возможность установки нуля на первом и пятом поддиапазонах по методике. 1.2.6.16. После ремонта прибор поверить в соответствии с указаниями по поверке. 1.2.7 Разработка методического пособия для выполнения лабораторной работы “Измерения сопротивления изоляции” Тема: "Измерение сопротивления изоляции" Цель работы Ознакомиться с методами измерения сопротивления изоляции. Теоретическое обоснование. Для создания электрической изоляции, которая окружает токопроводящие части электрических устройств и разделяет их друг от друга, находящиеся под напряжением используются электроизоляционные материалы. Назначение электрической изоляции- не допускать прохождения электрического тока по каким-либо нежелательным путям, помимо того тех, которые предусмотрены схемы донного устройства. Кроме того электроизоляционные материалы используются в качестве рабочих диэлектриков 8 электрических конденсаторах, кабелях и т.п. К электроизоляционным материалам предъявляются самые разнообразные требования, помимо электроизоляционных свойств они должны обладать необходимыми механическими, тепловыми, физико-химическими свойствами.электроизоляционные материалы подразделяются на- газообразные воздух, элегаз), жидкие (трансформаторное масло, конденсаторное масло, кабельное масло) твердые (резина, электротехническая бумага и картон, пластмассы, слюда, керамика, стекло, эластометры и т.д. При работе напряжении электроустроиств изоляция надежно выполняет свои функции,но в процессе эксплуатации в результате естественного старения и под действием окружающей среды она утрачивает свои свойства в результате может наступить ее пробой, что приводит к аварии. С целью предотвращения непредвиденного пробоя, не обходимо периодически производить измерение сопротивления изоляции электрических устройств (кабелей, электродви- гателей, трансформаторов, электроапаратов и т.д). Сопротивление изоляции является основным показателем состояния изоляции, и измерение сопротивление изоляции является неотъемлемой частью любых испытании всех видов электрооборудования и электрических цепей. Сопротивление изоляции практически во всех случаях измеряется мегомметром - прибором, состоящим из источника напряжения- генератора постоянного тока чаще всего с ручным приводом, магнитоэлектрического логометра и добавочных резисторов. Наиболее широкое распространение получили мегомметр типов М 1101 на напряжение 100-500-1000 В и МС-0.5, мСО6 на напряжение 2500 В. При измерении сопротивления изоляции относительно земли зажим "Л" должен быть подключен к тока ведущей части испытываемой установки а зажим "3" к ее заземленному корпусу. При измерении сопротивления изоляции электрической цепи не соединенных с землей, подключение зажимов мегомметра может быть любым. Нормальная скорость вращения рукоятки мегомметра 120об/мин. За сопротивление изоляции принимается 60-секундное значение сопротивления К60 зафиксировано по шкале мегомметра через 60 с при устойчивом положении стрелки прибора. Для присоединения мегомметра к испытуемому объекту используются гибкие провода. Перед началом измерения необходимо измерить сопротивление изоляции соединительных проводов, которое должно быть не менее верхнего предела измерения мегомметра.
Рисунок 1.2.7.1 Принципиальная схема мегомметра типа М-1101 Таблица 1. Перечень электроизмерительных приборов и оборудования. Таблица 1.2.7.1
Порядок выполнения работы. 1.2.7.1Изучить методическое пособие, ознакомится с электрооборудованием и измерительными приборами, технические данные последних занести 5 отчет. 1.2.7.2 Подготовить мегомметр к работе и с разрешения преподавателя приступить к измерениям. 1.2.7.2.1Измерить сопротивление кабеля согласно схем рис 1,2.7.1 Результаты измерений занести в таблицу 1,сделать выводы. Лабораторную работу оформить в виде отчета в соответствии требованием ГОСТ. Таблица 1.2.7.2
Содержание отчета. 1 Номер, тема, цель лабораторной работы. 2 Перечень электроизмерительных приборов используемых при выполнении лабораторной роботы. 3 Принципиальная схема схемы мегомметра и схемы экспериментов. 4 Таблица с результатами измерений. 5 Виды и предложения. Отчет оформить согласно требованиям ГОСТ ЕСКД. Контрольные допросы. 1 В чем назначение изоляции? 2 Каким требованиям должна отвечать изоляция? 3 Какие разновидности изоляционных материалов используют на практике? 4 Почему Возможен пробой изоляции и что нужно делать для 5 предотвращения пробоя ? 5 Что такое мегомметр и для чего он служит? 6 Кок производится измерение сопротивления изоляции мегомметра? 7 Какой Вывод можно сделать на основании измерения сопротивления изоляции кабеля и его обоснования ? Какой Вывод можно сделать на основании измерения сопротивления изоляции асинхронного двигателя и его обоснования? Литература: 1 Малиновский В.Н. "электрическое измерение" М: Энергоиздат 1983 г. 2Мегомметры М 100/1-5- техническое описание и инструкция по его применению. 1.2.8 Назначение, устройство и прицеп работы поверочной установки УППУ-МЭ 3.1К Назначение Установка поверочная универсальная «УППУ-МЭ 3.1» (далее - установка) предназначена для калибровки и поверки эталонных и рабочих средств измерений электроэнергетических величин, в том числе: -однофазных и трехфазных СИ активной, реактивной, полной мощности и энергии, СИ промышленной частоты, действующих значений напряжения и тока, фазовых углов и коэффициента мощности: -однофазных и трехфазных счетчиков активной и реактивной электрической энергии, -однофазных и трехфазных ваттметров, варметров и измерительных преобразователей активной и реактивной мощности, -энергетических фазометров, частотомеров и измерителей коэффициента мощности, -вольтметров, амперметров и измерительных преобразователей напряжения и тока в промышленной области частот; -приборов для измерения показателей качества электрической энергии. Установка применяется для комплектация поверочных (испытательных) лабораторий. Устройство и работа Установка выполнена в виде функционально законченного рабочего места поверителя, состоящего из стенда модульного для подключения приборов и приборной стойки, в которой установлены: блок генератора-синтезатора «Энергоформа-3.1», блок прибора электроизмерительного эталонного многофункционального «Энергомонитор-З.1 10», блок коммутации «БК-3.1», три блока усилителей тока и напряжения «УТН-3.1». В приложении А показаны межблочные соединения приборок входящих в состав Установки. Принцип работы Установки основан на сравнении показаний эталонного прибора «Энергомонитор-3.1 10» и поверяемого прибора. В качестве источника испытательных сигналов в Установке используются приборы: Онергоформа-3.1» и «УТН-З.1». Подключение эталонного и поверяемого приборов к источнику испытательных сигналов осуществляется черезстенд модульный для подключения приборов и «Устройство сопряжения» из состава «Энергомонитор-3.1». Задание цифровой модели сигнала осуществляется блоком генератора-синтезатора «Энергоформа-З.1» с выходов которого сигналы поступают на блоки усилителей тока и напряжения «УТН-З.1» (для сигналов каждой из трех фаз используется отдельный блок «УТН-3.1»), Блоки усилителей имеют два под диапазона напряжений и четыре под диапазона токов переключение которых осуществляется генератором «Энергоформа-3.1» по шине управления. С помощью блока коммутации «БК-3.1» осуществляется коммутация питания генератора-синтезатора «Знергоформа-3.1» и усилителей тока и напряжения «УТН-3.1». Сигналы с выходов усилителей тока и напряжения «УТН-З.1» полаются на эталонный прибор «Энергомонитор-3.1 10» и на стенд модульный для подключения приборов к которому подключается поверяемый прибор. При поверке приборов имеющих частотные входы и выходы их подключение к эталонному прибору «Энергомонитор-3.1 10» осуществляется через «Устройство сопряжения» из состава Энергомонитора-3.1. Основой генератора-синтезатора «Энергоформа-З.1» является плата центрального процессора в состав которой входит сигнальный процессор производства фирмы "TexasInstr.", ПЛИС-матрица производства фирмы "xilinx" и энергонезависимая flash-память. Такое решение позволяет гибко и оперативно менять программное обеспечение Прибора, не затрагивая его аппаратной части. Структурная схема генератора-синтезатора «Энергоформа-3.1» представлены на рисунке 1.2.8.1
Рисунок 1.2.8.1 Структурная схема генератора-синтезатора «Энергоформа-3.1» Работа генератора-синтезатора основана на использовании принципа цифро-аналогового преобразования (ЦАП). Плата ЦАП представляет собой 6 идентичных независимых каналов преобразования входного цифрового 16-разрядного сигнала в аналоговый сигнал. Обсчет производится на основании 2048 точек за период 20 мс. т.е. при частоте 50 Гц на один период приходится 2048 отсчетов. Плата ЦАП вырабатывает 6-ть аналоговых сигналов3 тока и 3 напряжения, причем токовые сигналы гальваническиразвязаны от всех остальных цепей генератора-синтезатора и друг от друга, а сигналы напряжений развязаны от других цепей, но связаны между собой единым общим проводом. Плата процессора обеспечивает управление работой Прибора: выработка массивов сигналов для платы ЦАП (для каждой точки 6-ти периодических кривых), сохранение результатов в энергонезависимой памяти, счет времени, обмен с внешними устройствами (компьютерами), вывод результатов на индикатор, прием команд и данных от клавиатуры. Клавиатура мембранная установлена на переднюю панель и соединена с платой процессора. С помощью клавиатуры осуществляется управление видом отображаемых на жидкокристаллическом дисплее данных, ввод требуемых значений (форма, размах, фазовые сдвиги кривых токов и напряжений), программирование контроллера и выполнение других сервисных и технологических операций. Микропроцессор управляющих сигналов служит для управления блоками усилителей тока и напряжения «УТН-3.1» - переключения пределов в зависимости от амплитуды заданных сигналов токов и напряжений. Управляющие сигналы проходят через платы оптронных развязок, служащие для полной гальванической развязки усилителей тока и напряжения «УТН-3.1» между собой. Источник питания служит для выработки необходимых напряжений для плат входящих в состав генератора-синтезатора, также на плате источника питания расположена схема синхронизации с сетью питания (сигнал синхронизации поступает на плату центрального процессора и представляет собой меандр с частотой 50x2048 Гц). Блок усилителей тока и напряжения «УТН-3.1» состоит из двух независимых усилителей: усилителя тока и усилителя напряжения. Сигналы каналов тока и напряжения с выходов генератора-синтезатора «Энергоформа-3.1» поступают на входы каналов услителей тока и напряжения соответственно. Управление блоками усилителей тока и напряжения «УТН-3.1» осуществляется командами от блока генератора-синтезатора «Энергоформа-3.1» по шине управления. По командам управления происходит переключение под диапазонов работы усилителей. С помощью блока коммутаций «БК-3.1» осуществляется включение питания генератора - синтезатор «Энергоформа-3.1» и усилителей тока и напряжения «УТН-3.1». Структурная схема блока коммутаций представлена на рисунке Входное напряжение переменного тока коммутируется на ‘ВЫХОД ~ 220V’ для питания генератора-синтезатора «Энергоформа-3.1» через электромагнитный пускатель с помощью кнопки ‘ВКЛ’. Напряжение для питания усилителей тока и напряжения «УТН-3.1» коммутируется через электромагнитные пускатели с помощью кнопок ‘фаза А’, ‘фаза В’ и ‘фаза C’.
Рисунок 1.2.8.2 Структурная схема блока коммутации «БК - 3.1» При нажатии кнопки 'ВКЛ’ на лицевой панели блока коммутации «БК-3.1» происходит подача питания на блок генератора-синтезатора «Энергоформа-3.3» и на электромагнитные пускатели коммутирующие питание блоков усилителей тока и напряжения «УТН-3.1» расположенные в стойке. При нажатии кнопки 'СТОП' происходит снятие питания с блока генератора-синтезатора «Энергоформа-3.1» и с блоков усилителей тока и напряжения «УТН-З.1» Наличие напряжения питания на усилителях тока и напряжения «УТН-3.1» индицируется индикаторами расположенными на лицевой панели блока коммутации «БК-3.1». 1.2.9 Назначение, устройство и энергомонитора пробора ЭМ- 3.1К Назначение Прибор ЭМ-3.1К предназначен для калибровки и поверки следующих эталонных и рабочих средств измерений электроэнергетических величин; -однофазных и трехфазных счетчиков активной и реактивной электрической энергии; -однофазных и трехфазных ваттметров, варметров и измерительных преобразователей активной и реактивной мощности; -энергетических фазометров и частотомеров; -вольтметров, амперметров и измерительных преобразователей напряжения и тока в промышленной области частот; -средств измерения и регистрации показателей качества электроэнергии (ПО); -средств измерения и регистрации параметров электрической энергии в однофазных и трехфазных электрических сетях. Прибор ЭМ-3.1К может быть использован автономно, в сочетании с компьютером, расширяющим его функциональные возможности, а так же в составе специализированных и универсальных поверочных установок. Прибор ЭМ-3.1К может быть применен в метрологических лабораториях крупных промышленных предприятий, энергосистем и ЦСМ. Прибор ЭМ-3.1К имеет сертификат об утверждении типа средства измерений RU._.__.___._ №____, зарегистрирован в Государственном реестре средств измерений под №___ -__, сертификат соответствия РОСС RU.МЕ48.В02192. Устройство и работа Структурная схема Прибора ЭМ-3.1 К представлена на рисунке 1.2.9.1
БМП - блок масштабных преобразователей напряжения (МПU ) и тока (МПI ). БЛЦП - блок АЦП напряжения (АЦПU ) а тока (АЦПI ): БОИ - блок обработки информации: МФМU , МФМI , - модули формирования массивов мгновенных значений: МUд МIд - модули вычисления действующих значений: МР,Q,S - модуль вычисления активной, реактивной и полной мощностей; МБПФU , МБПФI - модули быстрого преобразования Фурье; Д - блок отображения информации (графический дисплей и клавиатура); ЗУ - запоминающее устройство; БС-ЭВМ - блок связи с ПЭВМ Рисунок 1.2.9.1 структурная схема Прибора ЭМ-3.1К. Работа Прибора ЭМ-3.1 К основана на использовании принципа аналого-цифрового преобразования (АЦП) с использованием "метода выборок". В БМП трехфазные напряжения и токи подвергаются масштабному преобразованию до уровня 1В, соответствующего значению диапазона измерения U и I. Мгновенные значения сигналов преобразуются в цифровые коды шестью АЦП и передаются в БОИ, где формируются массивы мгновенных значений сигналов напряжения UUj и тока U³j (j-номер выборки). Результаты вычисленных значений измеряемых величин, полученные с помощью программных модулей, отображаются на дисплее Д. сохраняются в памяти и выводятся при необходимости на внешнюю ЭВМ. В основу алгоритмов вычислений каждой из измеряемых величин положен метод обработки массива мгновенных значений, не требующий синхронизации частот измеряемых сигналов и квантования (метод некогерентной выборки). Такая организация измерений дает возможность видеть на дисплее одновременно значения измеряемых величин по всем трем фазам. Прибор ЭМ-3.1К одновременно может производить измерения всех параметров цепи переменного тока: ток, напряжение, частота, углы, коэффициенты гармоник, активная, реактивная и полная мощность. Обеспечивает все виды схем соединений, которые применяются при измерении в трехфазных и однофазных сетях электрической энергии. БМП включает в себя три измерительных трансформатора тока калиброванных индивидуально с соответствующим измерительным каналом, и три измерительных трансформатора напряжения. Реле БМП управляются командами от платы процессора. Он выдает девять команд для переключения диапазона входного тока, и три команды для переключения диапазонов напряжения. Контроллер выводит текущее значение предела измерения на вспомогательный буквенно-цифровой дисплей пределов измерений. Реле служат для переключения пределов входных токов и напряжений для входных преобразователей. Плата АЦП представляет собой 6 идентичных независимых каналов преобразования входного аналогового сигнала ± 1.5В в 16-разрядное представление (1 знаковый -15 значащих бит) мгновенного значения на входе. Канал построен на элементной базе фирмы "AnalogDevice" и содержит три микросхемы: входной усилитель, источник опорного напряжения и собственно АЦП. В качестве входного усилителя используется микросхема АD707, имеющая малое смещение выходного напряжения, малый температурный дрейф и ультрамалые входные токи, что необходимо для согласования с масштабными преобразователями. Входное сопротивление каната более 50 МОм. Сигнал с выхода усилителя поступает на вход собственно АЦП. в качестве которого используется микросхема АD977, обеспечивающая полное 16-разрядное преобразование "без потерь кода" и выдающая информацию в последовательном коде контроллеру по его запросу. Внутреннее время преобразования (т.н. "апертурное время") составляет 40 нс. Плата измерительная обеспечивает отцифровку уровней напряжений, поданных на измерительные входы и вывод результатов в плату процессоров. Плата процессора обеспечивает управление работой Прибора ЭМ-3.1К. проведение расчетов но массивам оцифрованных выборок от измерительной платы, сохранение результатов в энергонезависимой памяти, счет времени, обмен с внешними устройствами (компьютерами), вывод результатов на индикатор, прием команд и данных то клавиатуры. Плата контроллера является центральной платой, отвечающей за работоспособность Прибора ЭМ-З.Ж в целом, Основу контроллера составляют сигнальный процессор производства фирмы "TexasInstr." и ПЛИС-матрица производства фирмы "Xilinx". Такое решениепозволяет гибко и оперативно менять программное обеспечение Прибора ЭМ-3.1К. не затрагивая его аппаратной части. Резульаты полученных от АЦП данных обрабатываются в соответствии с заложенной программой и отображаются на графическом дисплее. Обсчет производится на основании 4096 измерений АЦП за 0,32 с, т.е. при частоте 50 Гц на один период приходится 256 измерений. Текущие значения рассчитываются каждые 0.16 с. При этом берется 2048 измерений от предыдущего отсчета и 2048 новых. -Запоминающее устройство служит для хранения данных, полученных в результате измерения. -Блок питания служит для выработки необходимых напряжений для платы процессора и измерительной платы. -Дисплей графический жидкокристаллический устанавливается на переднюю панель. -Клавиатура мембранная устанавливается на переднюю панель. Соединяется с платой процессора. С помощью клавиатуры можно управлять видом отображаемых данных, вводить требуемые значения, программировать контроллер и выполнять другие сервисные и технологические операции. 1.2.10 Наладка поверочной установки УППУ-МЭ 3.1к Подготовка к работе поверочной установки состоит из следующих этапов: обеспечить питание установки; обеспечить заземление; произвести все межблочные соединения установки; произвести подключение к установке модульных стендов и «Устройства сопряжения» для подключения приборов; произвести подключение поверяемого оборудование к клеммам, расположенным на стенде модульном для подключения приборов, и, при необходимости, к «Устройству сопряжения» из состава «Энергомонитора-3.1К»; при наличии в комплекте с установкой персонального компьютера установить на него необходимое программное обеспечение и выполнить подключение к нему необходимых блоков установки; произвести включение установки. Питание установки. Питание Установки «УППУ-МЭ 3.1К» осуществляется от однофазной сети переменного тока, напряжением (220 ± 10%) В. частотой (50 ± 5%) Гц при коэффициенте несинусоидальности не более 5%. Потребляемая мощность от сети питания, не более 1500 ВА. Схема подключения к питающей сети показана на рисунке 1.2.10.1. Заземление установки. Блоки, входящие в состав Установки «УППУ-МЭ 3.1К», должны быть подключены к шине защитного заземления до подключения установки к сети питания. Перед поверкой средства измерений, которые подлежат заземлению, должны быть надежно заземлены. Подсоединение зажимов защитного заземления к контуру заземления должно производиться ранее других соединений, а отсоединение - после всех отсоединений. Выполнение межблочных соединений. Все межблочные соединения выполняются проводами только из комплекта поставки и в соответствии со схемой подключения приборов.
Рисунок 1.2.10.4 Схема подключения выходных сигналов усилителей тока и напряжения «УТН-3.1» к прибору электроизмерительному эталонному многофункциональному «Энергомонитор-3.1К» и к стенду модульному для подключения приборов. Стенд модульный для подключения приборов состоит из двух модулей. Модуль «Устройство подключения U» стенда для подключения приборов имеет четыре клеммы для подключения к цепям фазных напряжений (Ua, Ub, Uc) и “нейтрали”. Модуль «Устройство подключения I» стенда для подключения приборов имеет шесть клемм для подключения к цепям фазных токов (Ia, Ib, Ic). Цепи тока гальванически развязаны между собой. Цепи напряжения выполнены симметрично и имеют общую точку (нейтраль). Токоподводящие кабели должны использоваться только из комплекта поставки. Соединения должны быть и надежно закреплены во избежание перегрева мест контакта и возрастания переходного сопротивления. Подключение устройства сопряжения и дополнительных к нему устройств (фотосчитывающие устройства, пульт формирования импульсов) рассмотрено в пункте по наладке прибора МЭ-3.1К. Подключение поверяемого оборудования к клеммам, расположенным на стенде модульном для подключения приборов, выполняется согласно схеме, представленной в графической части (схема подключения прибора МЭ-3.1К). Не допускается включать усилители тока и напряжения без нагрузки в токовых цепях, с разомкнутыми токовыми выходами на стенде модульном. При включении Установки «УППУ-МЭ 3.1 К» к клеммам IA *,IA °, IB *,IB °, IC *,IC ° стенда модульного должен быть подключен поверяемый прибор. В случае если токовые цепи не используются, клеммы IA *,IA °, IB *,IB °, IC *,IC ° стенда модульного для подключения приборов должны быть попарно замкнуты. Установка «УППУ-МЭ 3.1К» может работать в двух режимах: при управлении ПК по интерфейсам RS-232 с помощью программного обеспечения “Энергоформа”; в автономном режиме при управлении от плёночных клавиатур и графических жидкокристаллических индикаторов (ЖКИ), расположенных на лицевых панелях приборов «Энергомонитор-3.1К» и «Энергоформа-3.1». При управлении Установкой «УППУ-МЭ 3.1К» от ПК необходимо установить на ПК программу “Энергоформа”. Программа “Энергоформа” работает под операционными системами MS Windows 98, 2000, XP Порядок установки программного обеспечения описан в соответствующем руководстве «Программа ЭНЕРГОФОРМА. Руководство пользователя.» Программа “Энергоформа” предназначена для работы в составе поверочной установки УППУ 3-1 и УППУ 3-3 с Приборами для измерения электроэнергетических величин и показателей качества электрической энергии “Энергомонитор 3.1”, “Энергомонитор 3.3”, “Энергомонитор 3.1К”, “Энергомонитор 3.3Т” и генератором электрических сигналов “Энергоформа 3-1” и “Энергоформа 3-3”. Программа “Энергоформа” позволяет: 1. считывать результаты измерений из приборов по последовательному порту; 2. отображать считанные измерения приборов на ПК; 3. проводить поверку измерительных приборов (цифрового и стрелочного типов) в ручном режиме; 4. формировать протоколы поверки измерительных приборов; 5. выполнять установку нужных пределов приборов по команде пользователя; 6. задавать требуемые сигналы на генераторе; 7. сохранять в файл на жестком диске ПК испытательные сигналы. Для одновременной работы с прибором для измерения электроэнергетических величин и показателей качества электрической энергии “Энергомонитор 3.1К” и генератором электрических сигналов “Энергоформа 3-1”на компьютере требуется наличие не менее двух свободных COM-портов (RS-232). Для управления Установкой «УППУ-МЭ 3.1К», разъемы RS-232 приборов «Энергомонитор-3.1К» и «Энергоформа-3.1», расположенные на задних панелях, необходимо подключить к последовательным портам компьютера. Дальнейшая настройка COM-портов, необходимая для корректной работы программы, выполняется в самой программе. Включении Установки «УППУ-МЭ 3.1 К» производится только после проверки правильности выполнения всех межблочных соединений, наличии заземления. При работе с Установкой «УППУ-МЭ 3.1К» необходимо соблюдать требования безопасности, установленные «Межведомственными Правилами охраны труда (ТБ) при эксплуатации электроустановок», М, “Энергоатомиздат”, 2001 г. Установка обеспечивает защиту от поражения электрическим током по ГОСТ Р52319-2005, категория измерений II, степень загрязнения 1. Степень защиты оболочек по ГОСТ 14254 IP20. Если Установка «УППУ-МЭ 3.1К» внесена в помещение после пребывания при температуре окружающей среды ниже минус 20° С, она должна быть выдержан в нормальных условиях в выключенном состоянии не менее 4 часов. При попадании воды или иных жидкостей внутрь корпуса использование Установки «УППУ-МЭ 3.1К» не допускается. Для включения установки необходимо подать питание на прибор электроизмерительный эталонный многофункциональный «Энергомонитор-3.1К» и на генератор-синтезатор электрических сигналов «Энергоформа-3.1. Перевести тумблеры питания всех блоков (входные), расположенные на задней панели, в положение «включено». После этого происходит включение прибора электроизмерительного эталонного многофункционального «Энергомонитор-3.1К». Дальнейшие действия по подготовке его к работе описаны в пункте пояснительной записки «Наладка прибора МЭ-3.1К». Далее, кнопкой ‘ПУСК’ расположенной на лицевой панели блока коммутации «БК-3.1» подать питание на блок коммутации «БК-3.1» и на генератор-синтезатор «Энергоформа-3.1». Кнопками ‘фаза А’, ‘фаза В’, ‘фаза С’, расположенными на лицевой панели блока коммутации «БК-3.1», подать питание на усилители тока и напряжения. После этого, если необходимо, включить питание поверяемого оборудования. При включении питания Установки «УППУ-МЭ 3.1К» производится самотестирование и начальная инициализация генератора-синтезатора «Энергоформа-3.1» и прибора электроизмерительного эталонного многофункционального «Энергомонитор-3.1К». Прибор «Энергоформа-3.1» автоматически переходит в режим управления от компьютера при его подключении к ПК и запуске программы “Энергоформа”. На ЖКИ генератора-синтезатора «Энергоформа-3.1» после завершения инициализации индицируются главное меню, состоящее из четырех пунктов: ‘Стандартный сигнал’, ‘Специальные сигналы’, ‘Установки’и ‘Библиотека сигналов’, как показано на рисунке 1.2.10.5.
Рисунок 1.2.10.5 Главное меню генератора-синтезатора «Энергоформа-3.1» после завершения инициализации. Интерфейс оператора генератора-синтезатора «Энергоформа-3.1» представляет собой иерархическую структуру вложенных меню. Назначение органов управления и структура меню приведены в соответствующем руководстве «Установка поверочная универсальная «УППУ-МЭ 3.1К». Руководство по эксплуатации». При управлении Установкой «УППУ-МЭ 3.1К» от ПК необходимо в программе “Энергоформа” произвести настройку СОМ портов. По умолчанию параметры портов принимаются: COM1 - генератор, COM2 - эталон, COM3 – поверяемый прибор, скорости обмена принимаются 115200 бит/сек для каждого порта. Программа начинает опрос выбранных портов для поиска подключенных к ПК приборов. Для каждого порта (прибора) в главном окне выводятся сообщения о результатах обмена: “НОРМА” – если обмен прошел успешно и без ошибок, “НЕ НОРМА” – если обмена не было или при обмене возникла ошибка (рисунок 1.2.10.6). Опрос каждого порта выполняется до тех пор, пока программа не обнаружит подключенный к нему прибор или пока пользователь не приостановит опрос в меню “Настройки”.
Рисунок 1.2.10.6 Главное окно программы «Энергоформа» при успешном подключении ПК к генератору – синтезатору «Энергоформа 3.1». Если при подключении возникла ошибка. то необходимо вручную установить соответствие портов подключаемому оборудованию. Для этого в пункте меню «Настройки» главного окна программы «Энергоформа» необходимо выбрать команду «СОМ-порты». В появившемся диалоговом окне (рисунок 1.2.10.7) установить соответствие подключенного оборудования номерам СОМ-портов.
Рисунок 1.2.10.7 Окно программы «Энергоформа» для настройки соответствия СОМ-портов программы подключаемому оборудованию. В списках необходимо выбрать непосредственно порт для обмена с соответствующим прибором и скорость обмена. Программа поддерживает выбор портов с COM1 по COM12 и четыре скорости: - 115200 бит/сек; - 38400 бит/сек; - 19200 бит/сек; - 9600 бит/сек. Новые параметры активируются по нажатию кнопки “OK” диалогового окна. Нажатие кнопки “Отмена” сохраняет предыдущие настройки портов. Для установки скорости обмена по СОМ-порту на генераторе-синтезаторе «Энергоформа 3.1» необходимо в интерфейсе оператора выбрать меню «Установки». Данное меню содержит один пункт ‘Скорость по RS-232’. Активация данного пункта предоставляется возможность выбора значения скорости обмена с ПК по последовательному интерфейсу RS-232 (рисунок 1.2.10.8).
Рисунок 1.2.10.8 Интерфейс оператора для настройки скорости подключения по СОМ-порту для генератора-синтезатора «Энергоформа 3.1». Возможна установка следующих значений скорости: 115200, 38400, 19200,9600 бит/с. Выбор нужного значения осуществляется с помощью клавиш управления перемещением курсора и «ENT».Выбранное значение скорости отображается в верхней строке. При выборе последовательных портов следует выбрать разные порты для приборов даже, если какой-либо прибор не подключен. В противном случае возможен некорректный обмен с подключенными приборами. После выполнения всех подключений и настроек, указанных в данном пункте, а также настроек, указанных в пункте «Наладка прибора МЭ-3.1К» пояснительной записки, можно приступать к выполнению работ по поверке средств измерений, предварительно ознакомившись с методиками поверок из приложения к руководству пользователя программы «Энергоформа.» 1.2.11 Наладка прибора МЭ-3.1К Подготовка к работе прибора МЭ-3.1К в составе поверочной установки состоит из следующих этапов: обеспечить питание прибора; обеспечить заземление; произвести подключение прибора в состав поверочной установки; произвести подключение к прибору «Устройства сопряжения» и дополнительных внешних устройств (фотосчитывающих и др.); при наличии в комплекте с установкой персонального компьютера установить на него необходимое программное обеспечение и выполнить подключение к нему прибора; произвести включение прибора. Питание прибора. Электропитание прибора ЭМ-3.1К осуществляется от сети переменного тока (230±10%)В. (50 ± 5%) Гц. при коэффициенте несинусоидальности не более 5%. Полная потребляемая Прибором ЭМ 3.1 от питающей сети 220 В. 50 Гц мощность не превышает 70 ВА. Схема подключения прибора к питающей сети в составе поверочной установки показана на рисунке 1.2.10.1. Заземление прибора. Для надежной работы прибора и предупреждения повреждения прибор должен быть подключен к шине защитного заземления до подключения прибора к сети питания. Схема подключения прибора к шине защитного заземления в составе поверочной установки приведена на рисунке 1.2.10.2. Подключение прибора. Прибор ЭМ-3.1К имеет три соединителя (Ua, Ub, Uc) для подключения фазных напряжений и три соединителя (Ia, Ib, Ic) для подключения фазных токов. Цепи тока и напряжения гальванически развязаны между собой. Все точки подключения измерительных входов расположены на задней панели прибора ЭМ-3.1К. Необходимо следить за тем. чтобы соединения были правильно и надежно закреплены во избежание перегрева мест контакта и возрастания переходного сопротивления. Схема подключения цепей прибора ЭМ-3.1К к источнику сигналов и поверяемому прибору приведена в графической части пояснительной записки. Схема подключения выходных сигналов усилителей тока и напряжения «УТН-3.1» к прибору электроизмерительному эталонному многофункциональному «Энергомонитор-3.1К» и к стенду модульному для подключения приборов приведена на рисунке 1.2.10.4. Подключение дополнительных внешних устройств. В состав прибора ЭМ-3.1К может входить Устройство сопряжения ЭМ-3.1К, предназначенное для сопряжения прибора с внешними устройствами и обеспечивающее гальваническую развязку частотного входа «Fвход» и частотного выхода «Fвыход» прибора с внешними устройствами и защищающее прибор от перегрузок при неисправных подключаемых устройствах (поверяемых приборах). Схема подключения Устройства сопряжения ЭМ-3.1К к Прибору ЭМ-3.1К приведена на рисунке 1.2.11.1
Рисунок 1.2.11.1 Подключение Устройства сопряжения ЭМ-3.1К к прибору ЭМ-3.1К 1 - Прибор «Энергомонитор-3.1К»; 2 - Устройство сопряжения ЭМ-3.1К; 3 - Кабель «Fвx»: 4 - Кабель «Fвых»; 5 - Адаптер сетевой 220V/9V. Схема подключения фотосчитывающих устройств УФС-И или УФС-Э или пульта формирования импульсов ПФИ к Устройству сопряжения ЭМ-3.1К к приведена на рисунке 1.2.11.2 Для обеспечения работы прибора ЭМ-3.1К с ПК необходимо установить на ПК программу “Энергоформа” и подключить разъем RS-232 прибора к последовательному порту компьютера. Порядок установки программного обеспечения описан в соответствующем руководстве «Программа ЭНЕРГОФОРМА. Руководство пользователя.» Дальнейшая настройка COM-порта, необходимая для корректной работы программы, выполняется в самой программе. Процесс настройки СОМ-портов в программе описан в пункте 1.2.10 пояснительной записки Включении прибора «МЭ 3.1 К» производится после проверки правильности выполнения всех соединений, наличии заземления. При работе с прибором «МЭ 3.1К» необходимо соблюдать требования безопасности, установленные «Межведомственными Правилами охраны труда (ТБ) при эксплуатации электроустановок», М, “Энергоатомиздат”, 2001 г По безопасности Прибор ЭМ-3.1К соответствует ГОСТ 22261 -94. Прибор ЭМ-3.1К обеспечивает защиту от поражения электрическим током по классу 1по ГОСТ Р 51350. Степень защиты оболочек по ГОСТ 14254 IP20. Категория монтажа I, степень загрязнения 1. Если Прибор ЭМ-3.1К внесен в помещение после пребывания при температуре окружающей среды ниже минус 5° С., он должен быть выдержан в нормальных условиях в выключенном состоянии не менее 4 ч.При попадании воды или иных жидкостей внутрь корпуса использование прибора ЭМ-3.1К не допускается. Для включения прибора необходимо подать на него питание и перевести тумблер питания блока прибора, расположенный на задней панели, в положение «включено». Через несколько секунд после включения Прибора ЭМ-3.1К завершаются процедуры самотестирования и инициализации. Прибор ЭМ-3.1К переходит в режим первоначальной установки. Во время инициализации проверяется правильность работы составных частей системы, а также загружаются программы, относящиеся к обработке сигналов и вычислению их параметров. На дисплее индицируются товарный знак, наименование изготовителя, тип Прибора ЭМ-3.1К и версия программного обеспечения (рисунок 1.2.11.3). при этом включены диапазоны 50 А по току и 240 В по напряжению. После нажатия клавиши 'ENT появляется запрос пароля. Для входа в систему необходимо нажать клавишу 'ENT. После ввода пароля прибор ЭМ-3.1К переходит в режим выбора схемы подключения меню 'Настройки' (рисунок 1.2.11.4). Выбор типа схемы подключения необходим для всех дальнейших вычислений. Прибор ЭМ-3.1К может быть подключен к электросетям трех типов: трехфазная четырехпроводная, трехфазная трехпроводная, однофазная двухпроводная. Для установления рабочего режима необходимо выдержать прибор ЭМ-3.1К в течение 1 часа во включенном состоянии. При подключении Прибора ЭМ-3.1К по трехфазной четырехпроводной схеме измеряются все необходимые для дальнейших вычислений значения напряжений и токов (Ua, Ub, Uc, Ia, Ib, Ic). При подключении Прибора ЭМ-3.1K по трехфазной трехпроводной схеме измеряются все необходимые для дальнейших вычислений значения напряжений и значения двух фазных токов (Ua, Ub, Uc, Ia, Ic). значение третьего фазного тока Ib рассчитывается. При подключении прибора ЭМ-3.1К по однофазной двухпроводной схеме измеряются только значения напряжения и тока по фазе А, которые необходимы для дальнейших вычислений (Ua, Ia). Интерфейс оператора Прибора ЭМ-3.1К представляет собой набор вложенных меню. Главное меню состоит из пяти пунктов реализующих различные режимы работы прибора ЭМ-3.1К и установку его настроек (рисунок 1.2.11.5). Для получения подробного описания пунктов меню прибора ЭМ-3.1К необходимо обратиться к руководству по эксплуатации. Для связи Прибора ЭМ-3.1К с компьютером ПК используется последовательный интерфейс RS-232. Выбор интерфейса осуществляется с помощью пункта Обмен с ПЭВМ' главного меню (рисунок 1.2.11.6). Для установки скорости соединения необходимо в меню «Настройки» выбрать подменю «Скорость по RS-232» и установить необходимую скорость обмена. Если установлена связь прибора с ПК, то при запуске программа выполняет опрос последовательного порта для обнаружения прибора МЭ-3.1К. Прибор используется для считывания измеренных им значений и отображает эту информацию на ПК. При обнаружении прибора программа отображает информацию об обнаруженном приборе (рисунок 1.2.11.7): - наименование прибора: - заводской номер: - версия встроенного ПО: Разработка методического пособия для выполнения лабораторный работы “Поверка вольтметра” Тема: Поверка вольтметров. Цель работы: Ознакомиться методикой поверки вольтметров. Задание: Выполнить поверку вольтметра: либо типа Э59 по данной методике, либо другого типа (по указанию преподавателя). При выполнении поверки необходимо точно следовать методике выполнения работ, указанному в разделе 3. Теоретическое обоснование 1Задачи и порядок поверки Для обеспечение необходимой точности измерений и поддержания в исправном состоянии измерительной аппаратуры на предприятиях организуются службы надзора и создаются электроизмерительные лаборатории. В промышленных центрах имеются также межведомственные специализированные лаборатории и мастерские по ремонту измерительной аппаратуры и ее поверке. Профилактические осмотры, поверки и регулировки, своевременное устранение обнаруженных дефектов и неисправностей значительно удлиняют срок службы измерительных приборов и обеспечивают нужную точность измерений. Электроизмерительные приборы подвергают обязательной периодической поверке, а также поверке после ремонта. Сроки периодических поверок регламентируются органами Государственного комитета стандартов, мер и измерительных приборов. Поверки электроизмерительных приборов должны проводиться по инструкциям этого Комитета. Прибор не может быть допущен к поверке и эксплуатации, если он имеет дефекты, которые могут привести к погрешностям измерений или дальнейшим его повреждениям, как то: -в корпусе, кожухе или местах их соединения образовались щели, через которые может проникнуть пыль; -стекло непрочно укреплено или имеет трещины; -на шкале или видимой части механизма появилась грязь; -потускнела или разбита зеркальная полоска шкалы; -отсутствуют или расшатаны зажимы; -внутри прибора находятся посторонние предметы или отсоединившиеся детали прибора; -шкала покороблена или отклеилась; корректор испорчен или не допускает регулировки и установки стрелки в нулевое положение; -Поверка прибора состоит из внешнего осмотра, проверки уравновешенности подвижной части, испытания электрической прочности изоляции, определение времени успокоения и определение погрешностей. 2.Внешний осмотр и проверка механической и электрической исправности прибора. Внешний осмотр сводится к проверке состояния корпуса, стекла, уплотнений, шкалы, стрелки, корректора. Стрелка не должна иметь искривлений, а корректор должен обеспечивать точную установку стрелки в нулевое положение. Исправность измерительной схемы устанавливают с помощью мультиметра Ц 4317 или другого подобного ампервольтомметра. При исправной электрической цепи прибор должен показать значение сопротивления соответствующего участка цепи. Если цепь неисправна, прибор покажет бесконечность (обрыв) или приступают к определению его основной погрешности. 3. Способы и правила поверки. Существуют различные способы поверки электроизмерительных приборов. Поверка может быть осуществлена путем сопоставления показаний поверяемого и образцового приборов. Например показания поверяемого вольтметра сверяют с показаниями более точного вольтметра, принятого за образцовый; показания образцового прибора принимают за действительные значения измеряемой величины. Приборы могут быть проверены и путем сравнения их показаний с мерами данной величины. Например, показания поверяемого вольтметра сравнивают при помощи потенциометра с образцовой мерой ЭДС - нормальном элементом. Прежде чем приступить непосредственно к поверке, выбирают образцовые приборы, измерительные и регулирующие устройства. Образцовые приборы желательно брать той же системы, что и поверяемые, а в случае невозможности система образцового прибора должна отличаться лучшими метрологическими качествами от системы поверяемого прибора. Магнитоэлектрические приборы, например, надо поверять по магнитоэлектрическим. Нельзя приборы с лучшими метрологическими данными поверять по приборам с худшими показателями. При поверках на постоянном токе всегда надо выбирать образцовые приборы магнитоэлектрической системы- самые точные и чувствительные из всех электроизмерительных приборов. Приборы переменного тока следует поверять по образцовым приборам электродинамической системы - самым точным из всех приборов переменного тока. Верхний предел измерения образцового прибора должен быть таким же как и поверяемого, во всяком случае он не должен превышать предел измерения поверяемого прибора более чем на 25%, в противном случае абсолютная погрешность образцового прибора оказаться больше чем у поверяемого. Класс точности образцового прибора, как правило, должен быть не менее чем в три раза, а желательно в 5 раз выше класса точности поверяемого прибора. Так например для прибора класса 2,5 в качестве образцового не следует применять прибор класса 1,0 так как в этом случае отношение точности образцового и поверяемого прибора меньше 3. В качестве образцового прибора для поверки прибора класса 2,5 нужно взять прибор не ниже класса 0,5 могут поверяться только на потенциометрах компенсационным методом. Источником питания для цепей поверки должны выбираться не только по роду тока, но и по величине напряжения, а также и его стабильности. От стабильности напряжения источника питания во многом зависит и точность поверки, особенно для компенсационного метода. Регулирующие устройства должны обеспечивать в первую очередь плавную регулировку. Выбрав метод, подобрав нужные образцовые приборы, источники питания и регулирующие устройства, приступают к сборке схемы поверки. В специализированных лабораториях имеются поверочные установки, выпускаемые промышленностью. Поверяемый прибор включают в схему соответствующей поверочной установки. Прибор должен поверяться на всех оцифрованных делениях рабочей части шкалы при нормальном положении нуль (короткое замыкание). После осмотра проверяют уравновешенность подвижной части прибора. В нормально отрегулированном измерительном механизме центр тяжести подвижной части совпадает с осью её вращения. В этом случае погрешности, связанные с расположением прибора, исключаются, так как при любом положении прибора сумма моментов сил тяжести равна нулю. В процессе эксплуатации или после ремонта в силу разных причин центр тяжести подвижной части может сместиться относительно оси вращения. Показателем уравновешенности служит величина смещения указателя с нулевого положения при наклонах прибора в разные стороны от нормального для него положения. Изменение показаний прибора при отклонении его от указанного на шкале рабочего положения в любом направлении на 5" (для приборов с подвижной частью на растяжках) и на 10° (для всех остальных приборов) не должно превышать значения основной погрешности для данного класса точности. При поверках уравновешенность контролируется простым наклоном прибора в руках при условии, чтобы ось подвижной части прибора сохраняла примерно горизонтальное положение. При этом стрелка не должна смещаться с нулевого положения более чем на 3-5мм. Испытание электрической прочности изоляции повышенным напряжением при периодической поверке можно заменить измерением сопротивления изоляции с помощью мегомметра с номинальным напряжением не ниже 500В. Сопротивление должно быть не менее 20-40 Мом. Приборы, имеющие сопротивление изоляции токоведущих частей относительно корпуса менее 20 Мом, считаются неисправными. При выпуске прибора из ремонта нужно проверить время успокоения его подвижной части. Под временем успокоения понимают промежуток времени, прошедший с момента включения прибора, до момента, когда отклонение указателя от положения установившегося равновесия не будет превышать 0,01 от длины шкалы. Показывающие электроизмерительные приборы должны иметь время успокоения не более 4 сек или не более 6 сек в зависимости от системы и конструкции. Для определения времени успокоения нужно предварительно ориентировочно измерить (в мм) длину шкалы поверяемого прибора. Затем, собрав электрическую схему для определения основной погрешности и подключив её к источнику питания, устанавливают значение измеряемой величины, соответствующее отклонению подвижной части поверяемого прибора до геометрической середины его шкалы. Оставляя неизменным положение движков регулирующих устройств, несколько раз выключают и включают прибор. Одновременно с включением цепи пускают секундомер и останавливают его по достижении указателем положения, не отличающегося от замеченного деления (геометрической середины) более чем на 0,01 всей длины шкалы. Время успокоения определяется как среднее арифметическое результатов нескольких таких определений. Если в результате внешнего осмотра, проверки уравновешенности и испытания изоляции не выявлено дефектов, препятствующих нормальной эксплуатации прибора, при отсутствии внешних магнитных и электрических полей, а также близко расположенных ферромагнитных масс и при температуре окружающего воздуха в пределах 18-25°С. Приборы классов 1,0; 1,5; 2,5; 4,0 поверяют после предварительного прогрева в течение 15мин номинальным током (напряжением). Поправки для приборов классов 0,05; 0,1; 0,2; 0,5 магнитоэлектрической, электромагнитной и электродинамической систем определяются как среднее арифметическое из четырёх измерений: первого — при уменьшении измеряемой величины от наибольшего значения до нуля; второго — при увеличении её от нуля до наибольшего значения; третьего и четвёртого — в том же порядке, но при обратном направлении тока в измерительной схеме прибора. Основная погрешность приборов классов 1,0; 1,5; 2,5; 4,0 определяется как наибольшая из всех погрешностей, найденных при плавном уменьшении и увеличении измеряемой величины. Одновременно с определением основной погрешности находят вариацию показаний прибора. Под вариацией, как уже указывалось, понимают наибольшую разность между отдельными повторными показаниями прибора, соответствующими одному и тому же действительному значению измеряемой величины при неизменных внешних условиях. Вариации показаний прибора выражаются в процентах от верхнего предела измерений. Для приборов электромагнитной и ферродинамической систем наибольшая вариация показаний не должна превышать двойного абсолютного значения основной погрешности; для приборов других систем она не должна превышать абсолютного значения основной погрешности. Вариация показаний определяется по формуле:
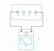
где Ау — показания образцового прибора при убывающих значениях; Ав — показания образцового прибора при возрастающих значениях измеряемой величины; Ан - верхний предел измерения поверяемого прибора. Вариация показаний определяется по наибольшей из всех полученных при поверке разностей Ав - Ау При поверке стрелку поверяемого прибора устанавливают на целых оцифрованных делениях, а по образцовому отсчитывают действительное значение измеряемой величины. Стрелку относительно делений на шкале поверяемого прибора следует устанавливать плавно, регулируя измеряемую величину от нуля до верхнего предела шкалы и затем плавно уменьшая до нуля. Если стрелка случайно прошла нужную отметку на шкале, то её передвигают назад и снова плавно подводят к этой отметке. Поверка каждого прибора должна обязательно производиться при возрастании (от нуля до верхнего предела) и убывании (от верхнего предела до нуля) измеряемой величины на одних и тех же отметках шкалы. Каждая точка шкалы должна быть поверена не менее двух раз. 2. Пример выполнения поверки вольтметра В данном случае осуществим поверку стрелочного вольтметра Э59 №72415 с классом точности 0,5. Порядок выполнения работы: 1.2.12.1 Убедитесь что стенд не находится под напряжением, нет на стенде собранных схем, а на компьютере (если он включен) не запущена программа «Энергоформа». 1.2.12.2 Подключите переносной заземляющий шнур к заземлителю. 1.2.12.3Подготовить вольтметр, для этого: 1) С помощью регулятора установить стрелку на значении 0; 2)Установить предел измерения поверяемого вольтметра 30 В; 3) Собрать схему поверки вольтметра: один зажим вольтметра подключаем к зажиму Uа, а другой - к Un (см. рисунок 3.2). Прибор ЭМ 3.1 имеет три соединителя (Ua, Ub, Uc) для подключения фазных напряжений и три соединителя (Ia, Ib, Ic) для подключения фазных токов. Цепи тока и напряжения гальванически развязаны между собой. Необходимо следить за тем чтобы соединения были правильно и надежно закреплены во избежание перегрева мест контакта и возрастания переходного сопротивления.
1 - элемент модульного стенда (см. рис. 2.1 обозначение 6); 2 - соединительные шнуры; 3 - поверяемый стрелочный вольтметр Э59 Рисунок 1.2.12.2 - Схема подключения поверяемого вольтметра к поверочной установке 1.2.12.4 Подключите к сетевому фильтру шнуры питания от компьютера, монитора, и от поверочной установки, если они не подключены 1.2.12.5 Включите компьютер. 6 Включите все модули поверочной установки, кнопка включения для подачи питания каждого модуля находится на задней стенке соответствующего модуля с левой стороны. 1.2.12.6 Подать напряжение на все модули поверочной установки, нажав на кнопку ‘ВКЛ’ подачи питания на блок генератора «Энергоформа-3.1» (см. рисунок 2.2 обозначение 3), а также подать питание на усилитель тока фазы А, нажав только на одну кнопку фазы А!!! (т.к. вольтметр одним зажимом подключен к фазе А) (см. рисунок 2.2 обозначение 1). 1.2.12.7 Через несколько секунд после включения Прибора ЭМ 3.1 завершаются процедуры самотестирования и инициализации. Прибор ЭМ 3.1 переходит в режим первоначальной установки. Во время инициализации проверяется правильность работы составных частей системы, а также загружаются программы, относящиеся к обработке сигналов и вычислению их параметров. На дисплее индицируются товарный знак, наименование изготовителя, тип Прибора ЭМ 3.1 и версия программного обеспечения (рисунок 3.3). при этом включены диапазоны 50 А по току и 220 В по напряжению 1.2.12.8 Запустите программу "Энергоформа". Программа должна в главном окне отображать панель проведения поверки измерительных приборов: На панели кнопок видим надпись: "НЕ НОРМА": Данная запись обозначает о том, что нет связи между поверочным стендом и персональным компьютером. Для установки связи необходимо выполнить следующее: 1.2.12.8.1. Нажать на клавишу 'ЕNТ' на лицевой панели прибора «Энергомонитор-3.1 (см. рисунок 2.4), после чего появится запрос пароля (см. рисунок 3.4). Для входа в систему необходимо нажать клавишу 'ЕNТ' (т.е. пароль вводить не надо): 1.2.12.8.2. После этого Прибор ЭМ 3.1 переходит в режим выбора схемы подключения меню 'Настройки' (рисунок 3.5). Выбор типа схемы подключения необходим для всех дальнейших вычислений. Прибор ЭМ 3.1 может быть подключен к электросетям трех типов: -трехфазная четырехпроводная, -трехфазная трехпроводная, -однофазная двухпроводная. Нам же нужно выбрать электросеть однофазную двухпроводную. Перемещение по пунктам главного меню осуществляется с помощью клавиш. Для входа в выбранный пункт меню необходимо нажать клавишу 'ENT' 1.2.12.8.3. Далее появляется главное меню, которое состоит из четырех пунктов реализующих различные режимы работы Прибора ЭМ 3.1 (см. рисунок 3.5) 1.2.12.8.4. Для связи Прибора ЭМ 3.1 с компьютером ПК используется последовательный интерфейс КЗ-232. Выбор интерфейса осуществляется с помощью пункта «Обмен с ПЭВМ» главного меню, при этом на дисплее отображается одна строка (рисунок 3.6): 1.2.12.8.5. Для того чтобы произошел обмен с ПК необходимо нажать на клавишу необходимо нажать клавишу 'ЕNT’ после чего на панели кнопок должна появиться надпись"НОРМА" 1.2.12.9 Убедитесь, что на источники отключена генерация: Иконка на панели инструментов должна отсутствовать. Если генерация включена, отключите ее нажатием кнопки. 1.2.12.10. Перед проведением поверки убедитесь, что общие параметры методики выбраны правильно: - задайте частоту электросети для данной поверочной точки: - тип прибора (вольтметр стрелочный): -тип погрешности, по которой поверяется прибор: -для стрелочного прибора сверьте количество делений на шкале прибора: -Для цифрового прибора данный параметр не указывается и не отображается. -проверьте правильное значение фазного номинального напряжения, указанного на приборе: коэффициент перегрузки по напряжению: -эталонный параметр, -соответствующий той фазе, к которой подключен поверяемый вольтметр: -в главном окне программы с помощью элемента ^ отключите 3 фазы токов и неподключенные 2 фазы напряжений: -задайте расчет погрешности автоматически - задайте класс точности прибора (в нашем случае он составляет 0,5): - введите Предел ДОПУСТИМОЙ погрешности: - установить предел напряжения 60 В, и нажать на Пределы кнопку «УСТАНОВИТЬ» 1.2.12.11. В нашем случае поверка стрелочного вольтметра будет состоять из подачи на вольтметр двух уровней напряжения; 1) уровень напряжения 10 В; 2) уровень напряжения 20 В. 1.2.12.12.Добавьте две поверочные точки в методику командой "Новый профиль" в меню "Файл -* Правка СИ": 1.2.12.13 установите курсор на первый профиль в таблица для редактирования первой поверочной точки (профеля) 1.2.12.14 задайте действующие значение напряжения в поле ввода фаз А напряжение в 10В 1.2.12.15Аналогично установите курсор на второй профиль в таблице для редактирования второйповерочной точки (профиля), а также задайте действующее значение напряжения в поле вводафазы А напряжение 20 В: 1.2.12.16 В общем панель проведения поверки измерительных приборов программы "Энергоформа" должна выглядеть аналогично рисунку 1.2.12.17 По окончания составления методики сохраните ее в файл командой "Сохранить методику СИ" в меню "Файл" под своим именем. 1.2.12.18 Выбираем первый профиль, соответствующий уровню подаваемого напряжения 10 В: 1.2.12.19 нажмите кнопку пуск; при этом по истечение нескольких секунд стрелка вольтметра отклонится на некоторое значение, соответствующее данному напряжению (10 В). При этом необходимо учитывать цену деления поверяемого вольтметра. 1.2.12.20 Необходимо удостовериться, что стрелка остановилась на определенном делении, и снять показания: В нашем случае стрелка вольтметра точно остановилась на значении деления 49, заносим данное значение в графу «Номер деления»: 1.2.12.21Для стрелочного прибора необходимо выполнить процедуру регулировки для точного выставления стрелки прибора на шкалу. Регулировка показаний прибора: Установите курсор в поле ввода значения напряжения, задаваемого для генератора: Позиция курсора задает возможный шаг регулировки (позиция до запятой или после запятой): 100В; 10В; 1В; 0.1В; 0.01В; 0.001В. С помощью кнопок клавиатуры PageUpи PageDown соответственно увеличивайте или уменьшайте с выбранным шагом значение напряжения, до тех пор, пока стрелка прибора не будет показывать ровно на введенном в п. 20 делении. В нашем случае процедура регулировки не потребовалась, т.к. стрелка точно остановилась на значении 49. 1.2.12.22 Значение погрешности отображается красным цветом, если ее значение больше предельно допустимого значения: Если значение погрешности не превышает предельно допустимого, она отображается зеленым цветом. 1.2.12.23 Необходимо сохранить рассчитанную погрешность в таблицу результатов нажатием кнопки Сахранить. 1.2.12.24. По окончанию выполнения поверки по первому профилю, необходимо нажать на кнопку Выбираем второй профиль, соответствующий уровню подаваемого напряжения 20 В. 1.2.12.25Выполняем аналогичные действия, согласно пунктам 18-23 данной методики. 1.2.12.26По окончанию проведенных испытаний получаем следующие результаты: Создаем протокол нажимаем кнопку сохранить При этом выведется следующее окно:
Рисунок 1.2.12.11 В соответствующих полях вводятся название протокола, указывается тип поверяемого прибора, а также Фамилии и инициалы студентов, проводивших поверку. При нажатии на клавишу ОК выведется протокол: Поверка вольтметра Э59 Поверяемый прибор: Вольтметр стрелочный Э59 Класс точности: 0-5 Номинальное напряжение. В: 30 Вывод: Поскольку в нашем случае погрешность (-1,325 %) значительно превышает пределов погрешности (0,2 %), то такой прибор можно считать непригодным для измерений. 1.2.12.27. По окончанию работы необходимо: 1) Снять напряжение с модуля усилителя тока поверочной установки, нажав на кнопку выключения питания усилителя фазы А 2) Снять питание с блока генератора, нажав на кнопку «ВЫКЛ» снятия питания с блока генератора «Энергоформа-3.1 1.2.12.28 Выключите все модули поверочной установки, нажав на кнопки каждого модуля, ко торые находится на задней стенке соответствующего модуля с левой стороны. 1.2.12.29 Выключить компьютер. 1.2.12.30 Отключить сетевой фильтр. 1.2.12.31 Отключить переносной заземляющий шнур. 1.2.12.32 по окончанию работы проверить рабочее место. СОДЕРЖАНИЕ ОТЧЁТА 1 Номер, тема, цель лабораторной работы. 2Перечень используемых модулей и аппаратов. 3 Схема подключения поверяемого вольтметра к поверочной установке 4 Краткий порядок выполнения работы. 5 Результаты поверки. 6.Протокол. 7. Вывод. Отчет оформить согласно требований ГОСТЕСКД. КОНТРОЛЬНЫЕ ВОПРОСЫ 1Назовите задачи и порядок поверки. 2В каких случаях прибор не может быть допущен к поверке и эксплуатации? 3Из чего состоит поверка? 4Опишите внешний осмотр и проверка механической и электрической исправности прибора при поверке. 5Расскажите способы и правила поверки. 6Что служит Показателем уравновешенности, что называют вариацией показаний прибора? 1Руководство пользователя поверочной установкой «Энергомонитор 3.1». 2Малиновский В.Н. Электрические измерения М.: Энергоатомиздат, 1982 1.3 Мероприятия по охране труда 1.3.1 Техника безопасности при выполнении лабораторных работ Согласно Правилам устройств электроустановок (ПУЭ) для помещений без повышенной опасности поражения током, к которым относятся лаборатории теоретических основ электротехники, безопасным считается напряжение до 42 В. Сопротивление тела человека определяется главным образом сопротивлением кожного покрова и равно 200-500 кОм. Увлажнение или повреждение кожи снижает сопротивление до 0,6-0,8 кОм; большое влияние оказывает также общее состояние организма и нервной системы. Таким образом, при указанном напряжении через человека, находящегося в нормальном состоянии, протекает ток в 0,1-0,3 мА. Сила тока в 50 мА может привести к травме, а в 100 мА - к смертельному исходу. Следует иметь в виду, что при токе менее 50 мА мышцы кистей рук непроизвольно сокращаются и токоведущая часть может оказаться зажатой в кулаке и тогда не удастся разжать руку и прервать ток через тело. В некоторых лабораторных работах используется напряжение 127 или даже 220 В, поэтому меры предосторожности имеют особо важное значение. Основные правила по технике безопасности следующие. I. Перед началом сборки цепи следует убедиться в том, что выключательнаходится в выключенном состоянии. 2. Не допускается использование приборов и аппаратов с неисправными клеммами, проводов с поврежденной изоляцией, неисправных резисторов (реостатов), патронов ламп, тумблеров и др. 3.Перед тем, как присоединить конденсатор, его необходимо предварительно разрядить, замкнув выводы накоротко проводником. 4.Собранную цепь проверяет преподаватель и ее можно включать только по его разрешению. 5. Перед включением цепи следует убедиться, что никто не прикасается к оголенным токов ведущим частям 6. Все необходимые переключения нужно производить только при выключенном напряжении. Любое изменение в цепи должно быть проверено преподавателем. 7. Студентам не разрешается самостоятельно производить какие-либо переключения на блоке питания. 8. Во время работы с электродвигателем необходимо постоянно следить за тем, чтобы волосы и части одежды не попали на вращающиеся части. 9.Если во время работы возникнет какое-либо повреждение, в результате чего появится дым, специфический запах или накалятся проводники, то надо быстро выключить напряжение и сообщить преподавателю о случившемся. 10.Если кто-либо попадает под напряжение и не сможет сам оторваться от токоведущих частей, то не пытайтесь оттащить его - вы сами будете поражены током. Быстро выключите напряжение. Сообщайте преподавателю о случившемся. II. Студенты допускаются к выполнению лабораторных работ после изучения настоящих правил, что должно быть зафиксировано в специальном журнале, форма которого приводится ниже (таблица 1.3.1.1) Таблица1.3.1.1 Журнала по технике безопасности при выполнении лабораторных работ студентами
Инструктаж провел(а)________ 1.3.2 Меры безопасности при работе с переносными электроизмерительными приборами В процессе эксплуатации электроустановок в соответствии с ПТЭ выполняются различные измерения переносными электроизмерительными приборами. Сопротивление изоляции электрических машин, трансформаторов и электропроводок измеряют переносным прибором — мегаомметром, генератор которого развивает напряжение 1000— 5000 В. Вследствие очень большого внутреннего сопротивления генератора при включении в его цепь человека проходящий через человека ток будет очень мал и неопасен. Однако при проверке изоляции таких объектов, как кабель и конденсатор, вследствие их значительной электрической емкости от генератора образуется значительный электростатический заряд, который при разряде может представлять опасность для человека. Хотя разрядный ток протекает короткое время, но под его воздействием человек может совершить непроизвольное движение и получить механическую травму. Работу с мегаомметром можно поручать только обученному работнику с квалификационной группой не ниже III. Перед началом измерения мегаомметром необходимо убедиться в отсутствии людей на испытуемой электроустановке, запретить им прикасаться к токоведущим частям, которые, безусловно, должны быть отключены от сети. Измерение нагрузки электроизмерительными клещами является опасной операцией, поскольку оператор находится в непосредственной близости от не огражденных токоведущих частей. В электроустановках напряжением до 1000 В работа с токоизмерительными клещами разрешается одному лицу, имеющему квалификационную группу не ниже III, в электроустановках выше 3000 В эта работа должна выполняться двумя лицами, одно из которых должно иметь квалификационную группу не ниже IV, а второе — не ниже III. Особую предосторожность надо соблюдать при измерении электроизмерительными клещами значений активной мощности, что допускается в электроустановках напряжением до 1000 В, поскольку при этом помимо охвата разъемным сердечником токоведущих проводников (фаз) приходится подключать вольтметровую обмотку измерительного прибора переносными проводами еще к двум фазам в измеряемой цепи. Гибкие провода для временного подключения измерительного прибора к сети необходимо применять с надежной изоляцией (например, ПГВ) — со стороны сети они; снабжаются наконечниками в виде ручек из пластмассы. Наиболее удобные места для подключения вольтметровой обмотки ваттметра (а также вольтметра) — шины распределительных щитов, шкафов, сборок, а также гнезда штепсельных разъемов. Измерение мощности клещами (например, типа Д-90) следует выполнять вдвоем. 1.4 Организационная часть 1.4.1 Организационные и методические указания к проведению лабораторных работ Лабораторные работы являются одним из видов практического обучения. Их цель— закрепление теоретических знаний, проверка на опыте некоторых положений теории и законов электротехники, приобретение практических навыков при сборке электрических цепей, проведении эксперимента, использовании простейших электроизмерительных приборов и аппаратов. Вдумчивое отношение к лабораторной работе позволит учащемуся сделать правильные выводы, проанализировать результаты опытов, научиться самостоятельно решать некоторые несложные задачи исследовательского характера. Задание на работу выдаётся за несколько дней до её выполнения. Для качественного выполнения лабораторных работ учащимся необходимо: 1.4.1Повторить теоретический материал по конспекту и учебнику, параграфы которого указаны в начале каждого описания лабораторной работы. 1.4.2.Ознакомиться с описанием лабораторной работы; в специальной рабочей тетради записать название и номер работы, вычертить таблицы для записи показаний приборов и результатов расчета, подготовить миллиметровую бумагу, если требуется графическое построение. 1.4.3.Выяснив цель работы, четко представить себе поставленную задачу и способы ее достижения, продумать ожидаемые результаты опытов, Сделать предварительный домашний расчет, если требуется в задании. Ответить устно или письменно на контрольные вопросы. Время, отведенное для лабораторных работ невелико, поэтому оно должно быть использовано рационально. Конечно, студент не сможет за два часа подготовиться к работе, провести эксперимент, сделать расчет, оформить отчет и защитить работу. С другой стороны, нужно стремиться перенести максимум работы студентов на занятия в лаборатории: здесь студент имеет больше возможностей для консультаций с преподавателями и сокурсниками. Иногда у студентов возникают трудности при составлении отчета. Это вызвано неумением быстро и правильно обрабатывать полученные результаты поэтому в описании каждой лабораторной работы настоящего руководства приводятся формулы, необходимые для расчета. В более сложных случаях указывается порядок расчета. Последовательность столбцов в таблице также соответствуют очередности измеряемых и рассчитываемых величин. Однако студент должен выбрать из раздела «Теоретическое обоснование» те формулы, которые необходимы. С целью сокращения объема письменной работы при составлении отчета, следует программу работы записывать в отчет в сокращенном виде, а однотипные расчеты представлять только одним примером. Лабораторные работы должны развивать творческое мышление студентов, самостоятельность в решении практических задач, уверенность в своих силах. Поэтому детальная программа некоторых работ не указана, а сформулирована только цель и общая задача опытов. Студенты должны самостоятельно составить схему, разделить опыт на отдельные этапы, сформулировать вопросы программы, составить таблицы для записи результатов опытов. Некоторые схемы можно рассчитать предварительно, а затем на опыте проверить токи, напряжения, мощности по известным параметрам. Два часа, которые группа проводит в лаборатории, должны быть полностью насыщены дидактической деятельностью. Роль преподавателя в лаборатории не ограничивается наблюдением за работой студентов и проверкой схем, она заключается в методическом руководстве практическим обучением, Студенты должны уметь: быстро и правильно собирать цепь; устранять влияние внешних факторов на точность измерения; применять правильную методику опыта; контролировать ход эксперимента; пользоваться приборами и т.д. Преподаватель должен обеспечивать бесперебойную работы аппаратуры, поэтому каждый стенд после установки необходимо налаживать, систематически устранять мелкие неполадки, проводить профилактический осмотр и ремонт. Преподавателем должны быть полностью проделаны все лабораторные работы и по каждой составлен контрольный отчет. В руководящих материалах для преподавателя должно быть указано напряжение испытания, значения сопротивлений, емкостей, используемые катушки, номинальные значения приборов и т.д. Студентам эти сведения могут быть даны преподавателем в начале занятия устно или письменно. Только при тщательной обработке каждого опыта, подгонки параметров цепи можно получить стабильные результаты. По окончании экспериментов и наличии свободного времени студенты могут рассчитывать одну - две точки и показать результаты преподавателю, который отмечает выполнение студентом лабораторной работы и ставит оценку за активность на уроке. Для выполнения лабораторных работ группа делится на подгруппы. Одна подгруппа выполняет лабораторные работы по расписанию занятий другая вне расписания (нулевыми или четвертыми парами). Подгруппы делятся на бригады по 2-3 человека. Бригады выполняют в течения занятия одну лабораторную работу. Изучение методических пособий по выполнению лабораторных работ, выполнив все требования программы работ, ознакомившись с приборами и аппаратами лабораторного стенда, студенты с разрешения преподавателя приступают к сборке электрической цепи. Собирать схему должен только один человек, другие подают нужные провода, выполняют мелкие поручения. Необходимо, чтобы обязанности студентов менялись. Для основной цели используют провода одного цвета, для включения вольтметра и параллельной обмотки ваттметра - другого. Можно использовать цвет проводов и по другому принципу, но выбранная система должна быть наглядной, позволяющей легче и по другому принципу, но выбранная система должна быть наглядной, позволяющей быстрее, легче и без ошибок собрать цепь. Возьмём за правило всегда при подключении кого бы то ни было элемента, не имеющего обозначения полярности, входом его считать левую (верхнюю) клемму, а равную (нижнюю). Если же имеется обозначение зажимов"плюс"и"минус",то входом считаются положение зажимов. Это правело в значительной мере предупредить от ошибок и упростить проверку цепи. Итак, начнём с правой клеммы источника питания, соединяем по очереди один элемент за другим, как бы прокладывая путь электрическому току, и возвращаемся к левой клемме источника. Положительный зажим источника постоянного тока следует соединить с положительным зажимом, а подключаем параллельные ветви, если они имеются в схеме Соблюдения ветви, состоящие из вольтметров, параллельных обмоток ваттметров и т.д., собираем в последнюю очередь. Наличие ошибок в цепи можно привести к порче приборов или несчастному случаю, поэтому каждый раз собранную цепь нужно показать преподавателю для проверки. Для обеспечения минимальной силы тока в цепи перед её включением движки регулируемых резисторов (реостат)следует установить в покое положение, чтобы сопротивление было максимальным, катушку, если она имеется в цепи переменного тока, нужно полностью надеть на сердечник. Переключатели многопредельных приборов надо поставить на большой предел; проверить, чтобы указатель рукоятки регулятора напряжения, если он предусмотрен схемой, находился на нулевой отметке. С помощью корректора установить все стрелки приборов на нуль. После этого схему включают и, наблюдая за показаниями приборов, медленно регулятором (если он есть) увеличивают напряжение на входе схемы до нужного значения. Если при этом стрелка амперметра не отклоняется, то это означает, что в неразветвленной цепи имеется обрыв или неправильно подключен прибор. Если стрелка амперметра даже при малом напряжении отклоняется до конца шкалы, это указывает на короткое замыкание в цепи. Стрелки приборов магнитоэлектрической системы и ваттметров могут отклоняться влево от нулевой отметки, если перепутаны местами концы присоединенных проводов. В этих случаях источники питания нужно выключать и еще раз проверить цепи или нужно обратиться за помощью к преподавателю. Иногда даже при правильно собранной цепи ток отсутствует во всей цепи или в одной ее части. В этом случае нужно найти обрыв, который может быть на контактах, в соединительных проводах, амперметре или потребителе. Если цепь исправлена, то можно приступать к проведению опыта. Во время проведения эксперимента обязанности в бригаде лучше разделить. Один человек измеряет напряжение, сопротивление и т.д. и наблюдает за приборами, другой записывает результаты в таблицу, вычерченную в рабочей тетради. В последующих работах обязанности должны быть перераспределены. Показания приборов нужно снимать внимательно и одновременно по команде старшего в бригаде, записывать их в тетрадь аккуратно без исправлений. Если трудно сразу определить измеряемое значение в соответствующих единицах измерения, то можно зафиксировать сначала количество делений, а после окончания данного опыта пересчитать его в размерных единицах, учитывая цену деления. Не торопитесь разбирать цепи, покажите сначала свои результаты преподавателю для проверки, так как, может быть, вам придется делать всю работу заново. Отчёт по лабораторной работе является техническим документом о выполненном эксперименте, поэтому он должен иметь все необходимые сведения для проверки результатов опыта и расчёта. Составление отчёта - индивидуальная домашняя работа каждого члена бригады. Отчёт выполняют на стандартном листе формата «А4», имеющего размеры сторон 210*297 мм. Отчёт выполняется согласно требованиям ГОСТ ЕСКД чёрной тушью, чертёжным шрифтом с высотой букв и цифр не менее 2,5мм. Иллюстрации выполняются тем же инструментом, что и текст. При начертании схем должны соблюдаться стандартные условные графические и буквенно-цифровые обозначения. Отчёт должен содержать: названия учебного заведения, шифр группы, фамилию студента, название и номер лабораторной работы, дату её выполнения, цель работы, приборы и аппараты, схему, программу работы, расчётные формулы и расчёты, таблицы результатов, графики и выводы. Математическую обработку экспериментальных данных приводят в отчёте полностью или частично, нов любом случае обязательно указывают расчётные формулы и порядок расчёта. Не исключено, что опытные и расчётные данные не совпадут на 5-10%. Это возможно из-за колебаний напряжения в сети, погрешностей при измерениях, нестабильности параметров цепи, поэтому такие отклонения следует считать допустимыми. В заключение своей работы делают вывод о выполнении поставленной задачи, подтверждении опытным путём тех законов, правил и формул, которые изучались на теоретических уроках. Пример оформления отчёта смотри приложение 1. После каждой лабораторной работы проводится зачёт. Студент должен знать теорию по данной теме, уметь собрать цепь и рассказать ход лабораторной работы, пояснить, как проводится расчёт, уметь проанализировать полученные результаты и объяснить причины расхождения расчётных опытных данных. Такая защита лабораторных работ проводится систематически, как правило, на следующем лабораторном занятии. 1.4.2 Организация наладочных работ По действующим правилам несложные электротехнические установки, наладка которых не требует подачи напряжения, сложных измерений и настройки режимов работы аппаратов, налаживаются электромонтажниками. К таким операциям относятся проверка фазировки, измерение сопротивления изоляции токопроводов и электропроводок сетей напряжением до 1000 В жилых домов и коммунальных сооружений, а также асинхронных двигателей с короткозамкнутыми роторами и местным управлением. Более сложные установки проверяют и испытывают работники пуско-наладочных организаций. Подготовка к производству наладочных работ начинается с получения и изучения технической документации. По цеховому электрооборудованию необходимы: пояснительная записка, план цеха с расположением электрооборудования и механизмов, схема электроснабжения цеха; перечень приводов и характеристики технологических механизмов; спецификации с техническими параметрами электрооборудования; принципиальные схемы электроприводов, схемы автоматики и схемы внешних соединений; информационные материалы по электрооборудованию и аппаратам; инструкции заводов-изготовителей. Оформляются программа и графики наладки. При составлении программы руководствуются требованиями ПУЭ и методическими указаниями по наладке различных видов электроустановок. Графиком уточняется последовательность проверок и испытаний по комплексу строящегося объекта, по отдельным его узлам, а иногда по сложным элементам электрооборудования (крупным электрическим машинам, мощным трансформаторам, сложным схемам управления). График наладки составляется с участием представителей электромонтажников и эксплуатационников, а по приводам — механомонтажников. Комплектуется техническое оснащение для наладочных работ: электроизмерительные приборы и инструмент, защитные средства по технике безопасности. Приборы должны быть проверены и иметь пломбы, подтверждающие сроки проверки. К точным приборам класса 0,2 и 0,5 должны быть приложены таблицы погрешностей. На защитных средствах должны иметься клейма с датой последней проверки. Наладочный персонал (инженеры и техники) объединяются в бригады, возглавляемые высококвалифицированными инженерами. Бригады разделяются на звенья по 2—3 чел., каждому из которых поручается наладка целого небольшого комплекса или агрегата. При подборе персонала наладочных бригад исходят из объема и профиля работ, сложности объекта и сроков наладки. Учитывая специфику различных электроустановок, наряду с инженерами и техниками широкого профиля в наладочных организациях имеются специалисты по крупным машинам и мощным трансформаторам, распределительным и преобразовательным установкам, релейной защите и электроприводам со сложной автоматикой. Наладка технически сложных объектов, в особенности новых схем электроприводов, осуществляется с участием представителя проектной организации — автора проекта. В состав бригад включаются только лица, прошедшие медосмотр и проверку знаний по технике безопасности, получившие удостоверение о присвоении квалификационной группы. Важное значение имеет организационная подготовка к работам на •месте их производства. После ознакомления с готовностью объекта к наладке составляется календарный график работ вне монтажной зоны и в пределах ее. Звенья наладчиков распределяются по объектам монтажа. Каждое звено знакомится с проектной документацией по налаживаемому им объекту: ему передаются методические инструкции по наладке, комплект измерительных приборов и аппаратов, инструмент и защитные средства по технике безопасности — резиновые перчатки, очки, индикаторы напряжения, диэлектрические галоши (в высоковольтных установках— боты) и комплекты предупреждающих плакатов, справочные материалы и бланки протоколов. Хорошая подготовка рабочего места содействует выполнению наладки в сжатые сроки и безопасности этих работ. Нужен прочный деревянный стол для аппаратуры и сборки испытательной схемы, а около стола — резиновый коврик или деревянная решет ка. Аппаратура на столе не заземляется, так как в противном случае возрастает опасность поражения током при случайном одновременном касании заземленного корпуса прибора и неизолированных токоведущих частей. Рабочее место хорошо освещается и ограждается. Наладчики не только выявляют и регистрируют обнаруженные дефекты, но непосредственно участвуют в их устранении. При этом контролируется правильность выполняемых работ, что ускоряет наладку, а следовательно, и ввод объекта в эксплуатацию. Не меньшее значение имеет налаживание четких взаимоотношении со всеми организациями, участвующими в строительстве. Это в первую очередь электромонтажная организация; как правило, электромонтажники и наладчики входят в одну организацию. Электромонтажники организуют совмещение монтажа и наладки, передают наладчикам протоколы пред монтажной ревизии и проверки электрооборудования. Они участвуют в проверке электроустановки перед подачей напряжения, в пробных включениях и пусках оборудования. Монтажники должны в кратчайшие сроки устранять обнаруженные при наладке дефекты монтажа. Заказчик (служба эксплуатации) несет ответственность за общие условия безопасности во время наладочных работ, передает наладчикам проектную документацию. Будущие эксплуатационники участвуют в наладочных работах. С ними устанавливается порядок подачи напряжения на налаживаемый объект и согласовываются установки аппаратов защиты. Представители заказчика участвуют в осмотре и передаче в эксплуатацию законченных наладкой электроустановок, оформлении приемосдаточного акта. В период пробных испытаний механизмов необходима согласованная работа с механомонтажной организацией; пуск механизмов без ее представителей может привести к аварии. С энергосистемой, питающей электроустановку, через заказчика согласовываются: программа специальных испытаний селективности релейной защиты, проверки готовности линий электропередачи и их фазировки, а также устанавливается порядок подачи высокого напряжения. 1.5 Экономическая часть 1.5.1 Составление системы – спецификации на электрооборудование лабораторного стенда Таблица 1.5.1.1 Смета – спецификация на электрооборудования лабораторного стенда
Заключение В результате данного дипломного проекта на тему «Модернизация лабораторных стендов и наладка новых лабораторных комплексов лаборатории измерительной техники» мы изучили методы, средства и погрешности измерений, разработали конструкцию лабораторного стенда. Выбрал материал и электрооборудование для лабораторного стенда. Произвели монтаж электрооборудования и кабеля. Рассмотрел устройство и прицеп работы мегаомметра. Изучил методику ремонта мегаомметров. Разработал методическое пособие для выполнения лабораторной работы «измерение сопротивления изоляции». Произвел наладку поверочной установки УППУ МЭ-3.1К и прибора МЭ-3.1К, а изучили их устройство и прицеп работы. Научились производить поверку электрооборудования на установки УППУ МЭ-3.1К. Разработали методическое пособие для выполнения лабораторной работы « поверка вольтметра» Соблюдали технику безопасности при проведение монтажных работ а также при работе с переносными электроизмерительными приборами. Организовали методические указания к проведению лабораторных работ. Произвели организацию наладочных работ. В результате экономического расчета получили следующие результаты: на закупку электрооборудования и материалов для монтаж лабораторного стенда было затрачено 2346рублей. Измерения являются одним из основных способов познания природы, ее явлений и законов. Каждому новому открытию в области естественных и технических наук предшествует большое число различных измерений. Важную роль играют измерения в создании новых машин, сооружений, повышения качества продукции и эффективности производства. Проблема повышения качества продукции и эффективности производства решается путем автоматизации технологических процессов, и здесь успех дела во многом определяется достоверностью и своевременностью получения измерительной информации о ходе технологического процесса. Качество многих технологических процессов зависит от состояния электроустановок, обслуживающих эти процессы. Каждая электроустановка должна удовлетворять определенным техническим требованиям. Проверка выполнения указанных требований производится посредством электроизмерительных приборов. Эта проверка осуществляется на всех стадиях создания монтажа и поспедующей эксплуатации электроустановки. Первоначально под электрическими измерениями понимались методы и средства измерений параметров, связанных с производством, передачей и использованием электрической энергии. Позднее электрические измерения стали применяться в целях получения измерительной информации о протекании различных регулируемых или управляемых технологических процессов. В настоящее время электрические методы измерений могут применяться для практически любых физических величин или процессов. Прогресс в развитии средств электроизмерительной техники в последние годы обеспечен в результате развитии теории измерений и разработки на ее основе новых методов измерения, широкого применения в конструкциях средств измерений последних достижений микроэлектроники, автоматики, вычислительной техники, а также успешного решения ряда технологических гада. Аналоговые приборы непосредственной оценки выпускается промышленностью уже десятки лет. Последние годы в конструкции были сделаны серьезные измерения: так, от опор на кернах перешли к растяжкам, что позволила существенна повысить точность, снизить цену деления, а в ряде случаев изменить весь внешний вид прибора. Было освоено производство ряд серийных аналоговых приборов (оммерметров, вольтметров, ваттметров, частотамеров, фазометров) с высокими технико-экономическими характеристиками. Список литературы 1 Зюзин А.Ф., Поконов Н.З., Антонов М.В., Монтаж, эксплуатация и ремонт электрооборудования промышленных предприятий и установок. М.; «Высшая школа» 2 Акимова Н.А., Котелец Н.Ф., Сенторихин Н.И. Монтаж, техническая эксплуатация и ремонт электрического и электромеханического оборудования. М.; Мастерство 3 Сибикин Ю.Д., Сибикин М.Ю. Монтаж, эксплуатация и ремонт эл. оборудования промышленных предприятий и установок. М.: Высшая школа. 4 Сибикин Ю.Д., Сибикин М.Ю. Технология электромонтажных работ. М.: высшая школа. 5 Справочник по наладке электрооборудования промышленных предприятий. Под ред. М.Г. Зименкова, Г.В. Розенберга, Е.М. Феськова-3-е изд. Перераб И доп.- М.: Энергоатомиздат. 6 Охрана труда в. Электроустановках: Учебник для Вузов/ Под. Ред. Б.А. Князевского, -3-е изд. Перераб. И. доп. – М.: Энергоиздат. 7 М.С. Лившиц., А.В. Шокунь. Монтаж и наладка электрического оборудования промышленных предприятий. М.: Стройиздат. 8 Паспорт Мегаомметра Ф4102.1 и Ф4102.2 9 Лабораторный практикум по учебной дисциплине «Измерительная техника» 10 Инструкция по эксплуатации МС2.702.001 ИЭ Установка поверочная универсальная УППУ-МЭ 3.1 11 Руководство по эксплуатации МС3.055.026 ЗЭ Энергомонитор 3.1К |
||||||||||||||||||||||||||||||||||||||||||||||||||||||||||||||||||||||||||||||||||||||||||||||||||||||||||||||||||||||||||||||||||||||||||||||||||||||||||||||||









