Курсовая работа: Моделирование многокаскадного транзисторного усилителя
|
Название: Моделирование многокаскадного транзисторного усилителя Раздел: Рефераты по коммуникации и связи Тип: курсовая работа |
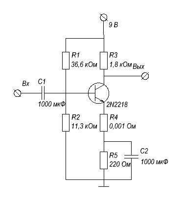
КАЗАНСКИЙ ГОСУДАРСТВЕННЫЙ ТЕХНИЧЕСКИЙ УНИВЕРСИТЕТ имени А.Н. ТУПОЛЕВА Кафедра КиПМЭА КУРСОВАЯ РАБОТА «МОДЕЛИРОВАНИЕ МНОГОКАСКАДНОГО ТРАНЗИСТОРНОГО УСИЛИТЕЛЯ» Выполнил: Валеев Ильдар Исмагилович Казань 2010 Оглавление Задание Введение Основная часть Расчет первого каскада Расчет второго каскада Расчет третьего каскада Расчет устройства Вывод Приложения Список литературы Задание Смоделировать трехкаскадный транзисторный усилитель по схеме с ОЭ в системе PSPICE-AD. Вид сигнала экспоненциальный, напряжение питания 9в, коэффициент усиления 1000000. Введение Моделирование в среде PSPICE-AD позволяет производить анализ статического режима, анализ переходных процессов, анализ рабочих точек, Фурье-анализ, анализ чувствительности и допусковый анализ, производить расчет температурной стабильности, анализ рабочих точек активных схем; большой объем библиотек электрорадиоэлементов позволяет моделировать работу схем как на отечественной, так и на зарубежной элементной базе. Основная часть В качестве транзистора для всех трех каскадов выберем 2N2218. Величину входного сигнала примем равной 2 мкВ. Система PSPICEAD позволяет провести температурный анализ схемы. Воспользовавшись этой возможностью, проанализируем работу схемы при трех различных температурах: 0, 25, 100 C. Расчет первого каскада Схема:
Описаниев PSPICE AD: *1 kaskad* r1 3 4 36600 r2 4 0 11253 r3 3 5 1800 r4 6 7 1e-3 r5 7 0 220 c1 1 4 1e-3 c2 7 0 1e-3 c3 5 8 1e-3 q1 5 4 6 q2n2218 Расчет второго каскада Схема:
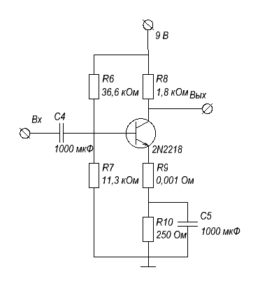
Описаниев PSPICE AD: *2 kaskad* r6 3 8 36600 r7 8 0 11253 r8 3 9 1800 r9 10 11 1e-3 r10 11 0 250 c4 11 0 1e-3 c5 9 12 1e-3 q2 9 8 10 q2n2218 Расчет третьего каскада Схема:
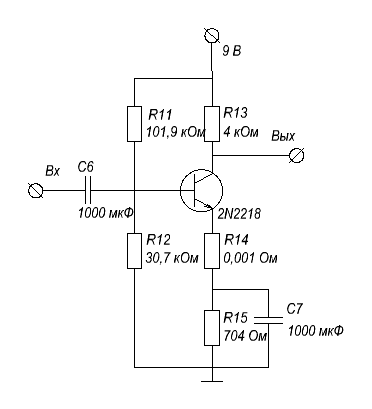
Описаниев PSPICE AD: *3 kaskad* r11 3 12 101900 r12 12 0 30740 r13 3 13 4000 r14 14 15 1e-3 r15 15 0 704 rl 2 0 20000 c6 15 0 1e-3 c7 13 2 1e-3 q3 13 12 14 q2n2218 Расчет устройства Описание в PSPICEAD: ***cxema Valeev Ildar 5309*** **** CIRCUIT DESCRIPTION ***************************************************************************** *1 kaskad* r1 3 4 36600 r2 4 0 11253 r3 3 5 1800 r4 6 7 1e-3 r5 7 0 220 c1 1 4 1e-3 c2 7 0 1e-3 c3 5 8 1e-3 q1 5 4 6 q2n2218 *2 kaskad* r6 3 8 36600 r7 8 0 11253 r8 3 9 1800 r9 10 11 1e-3 r10 11 0 250 c4 11 0 1e-3 c5 9 12 1e-3 q2 9 8 10 q2n2218 *3 kaskad* r11 3 12 101900 r12 12 0 30740 r13 3 13 4000 r14 14 15 1e-3 r15 15 0 704 rl 2 0 20000 c6 15 0 1e-3 c7 13 2 1e-3 q3 13 12 14 q2n2218 v1 3 0 9 v2 1 0 exp(0 -2e-6 0 1e-8 1e-8) .tran 5e-6 1e-4 .print tran v(1) v(2) .plot tran v(2) .probe v(1) v(2) .temp 0 25 100 .model q2n2218 npn .lib c:/bipolar.lib .end Схема:
Вывод Мной был смоделирован трехкаскадный усилитель по схеме с ОЭ. Был получен коэффициент усиления – 1350000. Все графики и таблицы приведены в приложениях. **** 04/27/10 23:16:56 *********** Evaluation PSpice (Nov 1999) ************** ***cxema Valeev Ildar 5309*** **** CIRCUIT DESCRIPTION ****************************************************************************** *1 kaskad* r1 3 4 36600 r2 4 0 11253 r3 3 5 1800 r4 6 7 1e-3 r5 7 0 220 c1 1 4 1e-3 c2 7 0 1e-3 c3 5 8 1e-3 q1 5 4 6 q2n2218 *2 kaskad* r6 3 8 36600 r7 8 0 11253 r8 3 9 1800 r9 10 11 1e-3 r10 11 0 250 c4 11 0 1e-3 c5 9 12 1e-3 q2 9 8 10 q2n2218 *3 kaskad* r11 3 12 101900 r12 12 0 30740 r13 3 13 4000 r14 14 15 1e-3 r15 15 0 704 rl 2 0 20000 c6 15 0 1e-3 c7 13 2 1e-3 q3 13 12 14 q2n2218 v1 3 0 9 v2 1 0 exp(0 -2e-6 0 1e-8 1e-8) .tran 5e-6 1e-4 .print tran v(1) v(2) .plot tran v(2) .probe v(1) v(2) .temp 0 25 100 .model q2n2218 npn .lib c:/bipolar.lib .end **** 04/27/10 23:16:56 *********** Evaluation PSpice (Nov 1999) ************** ***cxema Valeev Ildar 5309*** **** BJT MODEL PARAMETERS ****************************************************************************** q2n2218 NPN IS 100.000000E-18 BF 100 NF 1 BR 1 NR 1 CN 2.42 в .87 **** 04/27/10 23:16:56 *********** Evaluation PSpice (Nov 1999) ************** ***cxema Valeev Ildar 5309*** **** TEMPERATURE-ADJUSTED VALUES TEMPERATURE = 0.000 DEG C ****************************************************************************** **** BJT MODEL PARAMETERS NAME BF ISE VJE CJE RE RB BR ISC VJC CJC RC RBM IS ISS VJS CJS GAMMA RCO VO q2n2218 1.000E+02 0.000E+00 7.965E-01 0.000E+00 0.000E+00 0.000E+00 1.000E+00 0.000E+00 7.965E-01 0.000E+00 0.000E+00 0.000E+00 1.084E-18 0.000E+00 7.965E-01 0.000E+00 1.000E-11 0.000E+00 1.000E+01 **** 04/27/10 23:16:56 *********** Evaluation PSpice (Nov 1999) ************** ***cxema Valeev Ildar 5309*** **** INITIAL TRANSIENT SOLUTION TEMPERATURE = 0.000 DEG C ****************************************************************************** NODE VOLTAGE NODE VOLTAGE NODE VOLTAGE NODE VOLTAGE ( 1) 0.0000 ( 2) 0.0000 ( 3) 9.0000 ( 4) 1.7613 ( 5) 1.5728 ( 6) .9169 ( 7) .9168 ( 8) 1.7925 ( 9) 2.2260 ( 10) .9503 ( 11) .9502 ( 12) 1.7697 ( 13) 3.6458 ( 14) .9518 ( 15) .9518 VOLTAGE SOURCE CURRENTS NAME CURRENT v1 -9.694E-03 v2 0.000E+00 TOTAL POWER DISSIPATION 8.72E-02 WATTS **** 04/27/10 23:16:56 *********** Evaluation PSpice (Nov 1999) ************** ***cxema Valeev Ildar 5309*** **** TRANSIENT ANALYSIS TEMPERATURE = 0.000 DEG C ****************************************************************************** TIME V(1) V(2) 0.000E+00 0.000E+00 0.000E+00 5.000E-06 -7.454E-07 1.355E+00 1.000E-05 -2.762E-07 5.309E-01 1.500E-05 -1.009E-07 1.950E-01 2.000E-05 -3.737E-08 6.950E-02 2.500E-05 -1.365E-08 2.214E-02 3.000E-05 -5.058E-09 4.912E-03 3.500E-05 -1.848E-09 -1.528E-03 4.000E-05 -6.845E-10 -3.858E-03 4.500E-05 -2.501E-10 -4.726E-03 5.000E-05 -9.264E-11 -5.037E-03 5.500E-05 -3.384E-11 -5.150E-03 6.000E-05 -1.254E-11 -5.187E-03 6.500E-05 -4.580E-12 -5.198E-03 7.000E-05 -1.697E-12 -5.198E-03 7.500E-05 -6.198E-13 -5.195E-03 8.000E-05 -2.296E-13 -5.190E-03 8.500E-05 -8.388E-14 -5.185E-03 9.000E-05 -3.108E-14 -5.180E-03 9.500E-05 -1.135E-14 -5.175E-03 1.000E-04 -4.131E-15 -5.166E-03 **** 04/27/10 23:16:56 *********** Evaluation PSpice (Nov 1999) ************** ***cxema Valeev Ildar 5309*** **** TRANSIENT ANALYSIS TEMPERATURE = 0.000 DEG C ****************************************************************************** TIME V(2) (*)---------- -1.0000E+00 0.0000E+00 1.0000E+00 2.0000E+00 3.0000E+00 _ _ _ _ _ _ _ _ _ _ _ _ _ _ _ _ _ _ _ _ _ _ _ _ _ _ _ 0.000E+00 0.000E+00 . * . . . 5.000E-06 1.355E+00 . . . * . . 1.000E-05 5.309E-01 . . * . . . 1.500E-05 1.950E-01 . . * . . . 2.000E-05 6.950E-02 . .* . . . 2.500E-05 2.214E-02 . * . . . 3.000E-05 4.912E-03 . * . . . 3.500E-05 -1.528E-03 . * . . . 4.000E-05 -3.858E-03 . * . . . 4.500E-05 -4.726E-03 . * . . . 5.000E-05 -5.037E-03 . * . . . 5.500E-05 -5.150E-03 . * . . . 6.000E-05 -5.187E-03 . * . . . 6.500E-05 -5.198E-03 . * . . . 7.000E-05 -5.198E-03 . * . . . 7.500E-05 -5.195E-03 . * . . . 8.000E-05 -5.190E-03 . * . . . 8.500E-05 -5.185E-03 . * . . . 9.000E-05 -5.180E-03 . * . . . 9.500E-05 -5.175E-03 . * . . . 1.000E-04 -5.166E-03 . * . . . - - - - - - - - - - - - - - - - - - - - - - - - - - - **** 04/27/10 23:16:56 *********** Evaluation PSpice (Nov 1999) ************** ***cxema Valeev Ildar 5309*** **** TEMPERATURE-ADJUSTED VALUES TEMPERATURE = 25.000 DEG C ****************************************************************************** **** BJT MODEL PARAMETERS NAME BF ISE VJE CJE RE RB BR ISC VJC CJC RC RBM IS ISS VJS CJS GAMMA RCO VO q2n2218 1.000E+02 0.000E+00 7.535E-01 0.000E+00 0.000E+00 0.000E+00 1.000E+00 0.000E+00 7.535E-01 0.000E+00 0.000E+00 0.000E+00 7.350E-17 0.000E+00 7.535E-01 0.000E+00 1.000E-11 0.000E+00 1.000E+01 **** 04/27/10 23:16:56 *********** Evaluation PSpice (Nov 1999) ************** ***cxema Valeev Ildar 5309*** **** INITIAL TRANSIENT SOLUTION TEMPERATURE = 25.000 DEG C ****************************************************************************** NODE VOLTAGE NODE VOLTAGE NODE VOLTAGE NODE VOLTAGE ( 1) 0.0000 ( 2) 0.0000 ( 3) 9.0000 ( 4) 1.7528 ( 5) 1.3950 ( 6) .9388 ( 7) .9388 ( 8) 1.7847 ( 9) 2.0630 ( 10) .9731 ( 11) .9731 ( 12) 1.7615 ( 13) 3.5072 ( 14) .9764 ( 15) .9764 VOLTAGE SOURCE CURRENTS NAME CURRENT v1 -9.918E-03 v2 0.000E+00 TOTAL POWER DISSIPATION 8.93E-02 WATTS **** 04/27/10 23:16:56 *********** Evaluation PSpice (Nov 1999) ************** ***cxema Valeev Ildar 5309*** **** TRANSIENT ANALYSIS TEMPERATURE = 25.000 DEG C ****************************************************************************** TIME V(1) V(2) 0.000E+00 0.000E+00 0.000E+00 5.000E-06 -7.454E-07 7.645E-01 1.000E-05 -2.762E-07 -3.491E-02 1.500E-05 -1.009E-07 -3.541E-01 2.000E-05 -3.737E-08 -4.721E-01 2.500E-05 -1.365E-08 -5.162E-01 3.000E-05 -5.058E-09 -5.317E-01 3.500E-05 -1.848E-09 -5.371E-01 4.000E-05 -6.845E-10 -5.387E-01 4.500E-05 -2.501E-10 -5.388E-01 5.000E-05 -9.264E-11 -5.384E-01 5.500E-05 -3.384E-11 -5.378E-01 6.000E-05 -1.254E-11 -5.372E-01 6.500E-05 -4.580E-12 -5.365E-01 7.000E-05 -1.697E-12 -5.359E-01 7.500E-05 -6.198E-13 -5.352E-01 8.000E-05 -2.296E-13 -5.345E-01 8.500E-05 -8.388E-14 -5.338E-01 9.000E-05 -3.108E-14 -5.332E-01 9.500E-05 -1.135E-14 -5.325E-01 1.000E-04 -4.131E-15 -5.318E-01 **** 04/27/10 23:16:56 *********** Evaluation PSpice (Nov 1999) ************** ***cxema Valeev Ildar 5309*** **** TRANSIENT ANALYSIS TEMPERATURE = 25.000 DEG C ****************************************************************************** TIME V(2) (*)---------- -1.0000E+00 0.0000E+00 1.0000E+00 2.0000E+00 3.0000E+00 _ _ _ _ _ _ _ _ _ _ _ _ _ _ _ _ _ _ _ _ _ _ _ _ _ _ _ 0.000E+00 0.000E+00 . * . . . 5.000E-06 7.645E-01 . . * . . . 1.000E-05 -3.491E-02 . * . . . 1.500E-05 -3.541E-01 . * . . . . 2.000E-05 -4.721E-01 . * . . . . 2.500E-05 -5.162E-01 . * . . . . 3.000E-05 -5.317E-01 . * . . . . 3.500E-05 -5.371E-01 . * . . . . 4.000E-05 -5.387E-01 . * . . . . 4.500E-05 -5.388E-01 . * . . . . 5.000E-05 -5.384E-01 . * . . . . 5.500E-05 -5.378E-01 . * . . . . 6.000E-05 -5.372E-01 . * . . . . 6.500E-05 -5.365E-01 . * . . . . 7.000E-05 -5.359E-01 . * . . . . 7.500E-05 -5.352E-01 . * . . . . 8.000E-05 -5.345E-01 . * . . . . 8.500E-05 -5.338E-01 . * . . . . 9.000E-05 -5.332E-01 . * . . . . 9.500E-05 -5.325E-01 . * . . . . 1.000E-04 -5.318E-01 . * . . . . - - - - - - - - - - - - - - - - - - - - - - - - - - - **** 04/27/10 23:16:56 *********** Evaluation PSpice (Nov 1999) ************** ***cxema Valeev Ildar 5309*** **** TEMPERATURE-ADJUSTED VALUES TEMPERATURE = 100.000 DEG C ****************************************************************************** **** BJT MODEL PARAMETERS NAME BF ISE VJE CJE RE RB BR ISC VJC CJC RC RBM IS ISS VJS CJS GAMMA RCO VO q2n2218 1.000E+02 0.000E+00 6.191E-01 0.000E+00 0.000E+00 0.000E+00 1.000E+00 0.000E+00 6.191E-01 0.000E+00 0.000E+00 0.000E+00 8.509E-13 0.000E+00 6.191E-01 0.000E+00 1.000E-11 0.000E+00 1.000E+01 **** 04/27/10 23:16:56 *********** Evaluation PSpice (Nov 1999) ************** ***cxema Valeev Ildar 5309*** **** INITIAL TRANSIENT SOLUTION TEMPERATURE = 100.000 DEG C ****************************************************************************** NODE VOLTAGE NODE VOLTAGE NODE VOLTAGE NODE VOLTAGE ( 1) 0.0000 ( 2) 0.0000 ( 3) 9.0000 ( 4) 1.6860 ( 5) 1.1769 ( 6) .9672 ( 7) .9672 ( 8) 1.7607 ( 9) 1.5609 ( 10) 1.0435 ( 11) 1.0435 ( 12) 1.7363 ( 13) 3.0809 ( 14) 1.0522 ( 15) 1.0522 VOLTAGE SOURCE CURRENTS NAME CURRENT v1 -1.043E-02 v2 0.000E+00 TOTAL POWER DISSIPATION 9.39E-02 WATTS **** 04/27/10 23:16:56 *********** Evaluation PSpice (Nov 1999) ************** ***cxema Valeev Ildar 5309*** **** TRANSIENT ANALYSIS TEMPERATURE = 100.000 DEG C ****************************************************************************** TIME V(1) V(2) 0.000E+00 0.000E+00 0.000E+00 5.000E-06 -7.454E-07 5.114E-01 1.000E-05 -2.762E-07 2.652E-02 1.500E-05 -1.009E-07 -1.618E-01 2.000E-05 -3.737E-08 -2.309E-01 2.500E-05 -1.365E-08 -2.566E-01 3.000E-05 -5.058E-09 -2.658E-01 3.500E-05 -1.848E-09 -2.690E-01 4.000E-05 -6.845E-10 -2.700E-01 4.500E-05 -2.501E-10 -2.702E-01 5.000E-05 -9.264E-11 -2.700E-01 5.500E-05 -3.384E-11 -2.698E-01 6.000E-05 -1.254E-11 -2.695E-01 6.500E-05 -4.580E-12 -2.692E-01 7.000E-05 -1.697E-12 -2.689E-01 7.500E-05 -6.198E-13 -2.686E-01 8.000E-05 -2.296E-13 -2.683E-01 8.500E-05 -8.388E-14 -2.680E-01 9.000E-05 -3.108E-14 -2.677E-01 9.500E-05 -1.135E-14 -2.673E-01 1.000E-04 -4.131E-15 -2.670E-01 **** 04/27/10 23:16:56 *********** Evaluation PSpice (Nov 1999) ************** ***cxema Valeev Ildar 5309*** **** TRANSIENT ANALYSIS TEMPERATURE = 100.000 DEG C ****************************************************************************** TIME V(2) (*)---------- -1.0000E+00 0.0000E+00 1.0000E+00 2.0000E+00 3.0000E+00 _ _ _ _ _ _ _ _ _ _ _ _ _ _ _ _ _ _ _ _ _ _ _ _ _ _ _ 0.000E+00 0.000E+00 . * . . . 5.000E-06 5.114E-01 . . * . . . 1.000E-05 2.652E-02 . * . . . 1.500E-05 -1.618E-01 . * . . . . 2.000E-05 -2.309E-01 . * . . . . 2.500E-05 -2.566E-01 . * . . . . 3.000E-05 -2.658E-01 . * . . . . 3.500E-05 -2.690E-01 . * . . . . 4.000E-05 -2.700E-01 . * . . . . 4.500E-05 -2.702E-01 . * . . . . 5.000E-05 -2.700E-01 . * . . . . 5.500E-05 -2.698E-01 . * . . . . 6.000E-05 -2.695E-01 . * . . . . 6.500E-05 -2.692E-01 . * . . . . 7.000E-05 -2.689E-01 . * . . . . 7.500E-05 -2.686E-01 . * . . . . 8.000E-05 -2.683E-01 . * . . . . 8.500E-05 -2.680E-01 . * . . . . 9.000E-05 -2.677E-01 . * . . . . 9.500E-05 -2.673E-01 . * . . . . 1.000E-04 -2.670E-01 . * . . . . - - - - - - - - - - - - - - - - - - - - - - - - - - - JOB CONCLUDED TOTAL JOB TIME .03 Список литературы Аксенов И.Б., Кузнецов Д.И., Русяев Н.Н., Тюхтит М.Ф. Моделирование объектов РЭС в системе PSPICEAD: Учебное пособие/ Казань: Изд-во Казан. гос. техн. ун-та, 2006. 52 с. |



