Курсовая работа: Металлические конструкции рабочей площадки
|
Название: Металлические конструкции рабочей площадки Раздел: Промышленность, производство Тип: курсовая работа | |||||||||||||||||||||||||||||||||||||||||||||||||||||||||||||||||||||||||||||||||||||||||||||||||||||||||||||||||||||||||||||||||||||||||||||||||||||||||||||||||||||||||||||||||||||||||||||||||||||||||||||||||||||||||||||||||||||||||||||||||||||||||||||||||||||||||||||||||||||||||||||||||||||||||||||||||||||||||||||||||||||||||||||||||||||||||||||||||||||||||||||||||||||||||||||||||||||||||||||||||||||||||||||||||||||||||||||||||||||||||||||||||||||||||||||||||||||||||||||||||||||||||||||||||||||||||||||||||||||||||||||||||||||||||||||||||||||||||||||||||||||||||||||||||||||||||||||||||||||||||||||||||||||||||||||||||||||||||||||||||||||||||||||||||||||||||||||||||||||||||||||||||||||||||||||||||||||||||||||||||||||||||||||||||||||||||||||||||||||||||||||||||||||||||||||||||||||||||||||||||||||||||||||||||||||||||||||||||||||||||||||||||||||||||||||||||||||||||||||||||||||||||||||||||||||||||||||||||||||||||||||||||||||||||||||||||||||||||||||||||||||||||||||||||||||||||||||||||||||||
| МОСКОВСКИЙ ГОСУДАРСТВЕННЫЙ УНИВЕРСИТЕТ ПУТЕЙ СООБЩЕНИЯ (МИИТ) Кафедра «Строительные конструкции, здания и сооружения» РАСЧЁТНО-КОНСТРУКТИВНАЯ РАБОТА по дисциплине Металлические конструкции и сварка Металлические конструкции рабочей площадки Выполнил: ст.гр. СГС-311 Козырев Ю.А. МОСКВА – 2010 Исходные данные
1. Сбор нагрузок на элементы рабочей площадки· Нормативное значение рабочей (технологической) нагрузки на перекрытие: vn = 26 кН/м2 (по заданию). · Нормативная линейная нагрузка на балку настила: qn = vn × a × a = 26 × 1 × 1,05 = 27,3 кН/м = 0,273 кН/см, где a – шаг балок настила; принимаем a = 1 м (рис. 2); a – коэффициент, учитывающий собственный вес настила и балок настила; a = 1,05. · Расчётная линейная нагрузка на балку настила: q = qn × gf × gn = 27,3 × 1,2 × 0,95 = 31,122 кН/м, где gf – коэффициент надёжности по нагрузке; для временной нагрузки gf = 1,2; gn – коэффициент надёжности по назначению сооружения; для сооружений обычного уровня ответственности gn = 0,95. · Расчётная линейная нагрузка на главную балку: g = vn × l × a × gf × gn = 26 × 4 × 1,05 × 1,2 × 0,95 = 124,488 кН/м, где l – шаг главных балок; l = 6 м (по заданию); a – коэффициент, учитывающий собственный вес конструкций; a = 1,05. · Расчётное значение опорной реакции главной балки: V = g × L / 2 =124,488 × 12 / 2 = 746,928 кН, где L – пролёт главных балок; L = 12 м (по заданию). · Расчётная сосредоточенная нагрузка на колонну: N = 2V = 2 × 746,928 = 1493,856 кН. ·
2. Подбор и проверка сечения балки настила· Балка настила выполняется из прокатного двутавра, марка стали определяется непосредственно в процессе расчёта. = · В расчётной схеме балка настила рассматривается как статически определимая шарнирно опёртая пролётом l = 6 м (рис. 3).
· Максимальные значения внутренних усилий в балке настила от расчётной нагрузки:
· Сечение балки подберём из условия жёсткости (прогибов). Предельно допустимый прогиб балки для пролёта l = 6 м (по прил. 4 ):
· Требуемый момент инерции сечения при действии нормативной нагрузки:
где E – модуль упругости стали; Е = 2,06 × 104 кН/см2 (независимо от марки стали). · Принимаем по сортаменту (прил. 7) наименьший двутавровый профиль, у которого момент инерции Jx будет выше требуемого. Назначаем сечение и выписываем его основные геометрические характеристики (рис. 4).
· Марку стали назначаем из условия прочности балки по нормальным напряжениям:
где с – коэффициент, учитывающий возможность ограниченного развития пластических деформаций; для прокатных балок с = 1,12; Ry – расчётное сопротивление стали по пределу текучести; gс – коэффициент условий работы; во всех случаях, кроме специально оговоренных, gс = 1,0.
· Принимаем по таблице (прил. 1) наименьшую марку стали, для которой расчётное сопротивление Ry будет выше требуемого (расчётное сопротивление зависит от толщины полки t; в данном случае t = 8,7 мм). · Назначаем для балки настила сталь марки С245, у которой расчётное сопротивление изгибу Ry = 240 МПа = 24,0 кН/см2 (при толщ. 2…20 мм); расчётное сопротивление срезу Rs = 0,58Ry = 0,58 × 24 = 13,92 кН/см2 . · Проверка прочности по касательным напряжениям:
· Проверка общей устойчивости балки настила не требуется, так как сжатая полка закреплена от горизонтальных перемещений приваренными к ней листами настила. · Проверка местной устойчивости поясов и стенки прокатной балки не требуется, так как она обеспечена их толщинами, принятыми из условий проката. 3. Подбор и проверка сечения главной бал ки
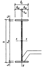
· В расчётной схеме главная балка рассматривается как разрезная свободно опёртая, нагруженная равномерно распределенной нагрузкой (рис. 5, а-б). Сечение главной балки – двутавровое, сварное из трёх листов (рис. 5, в). Марка стали – по заданию.
Рис. 5. Главная балка: а – конструктивная схема; б – расчётная схема; в – поперечное сечение · Максимальные значения внутренних усилий в главной балке от расчётной нагрузки:
· Требуемый момент сопротивления сечения балки:
где Ry – расчётное сопротивление стали по пределу текучести; по прил. 1 принимаем Ry = 300 МПа = 30,0 кН/см2 (марка стали С345 – по заданию; предполагаемая толщина листового проката 20…40 мм). · Оптимальная высота балки – высота, при которой вес поясов будет равен весу стенки, а общий расход материала на балку – минимальным:
где k – конструктивный коэффициент; для сварной балки переменного по длине сечения k = 1,1; tw – толщина стенки балки; предварительно принимаем tw = 1,2 см. · Минимальная высота балки – высота, при которой обеспечивается необходимая жесткость балки при полном использовании несущей способности материала:
где fu – предельно допустимый прогиб; балки для пролёта L = 12 м: fu = L/217 (по прил. 4); gf – коэффициент надёжности по нагрузке; для временной нагрузки gf = 1,2. · Окончательно принимаем высоту балки так, чтобы она была примерно равна оптимальной (h » hopt ), но не менее минимальной (h > hmin ). Отступление от оптимальной высоты на 20…25% слабо влияет на расход материала. Высота стенки балки hw должна соответствовать ширине листов по сортаменту (прил. 5). · Назначаем высоту стенки hw = 900 мм; hmin = 67,81 см < hw = 90,0 см » hopt = 86,78 см. · Рекомендуемая толщина стенки (здесь hw принимается в мм):
· Принимаем в соответствии с сортаментом (прил. 5) tw = 10 мм. · Наименьшая толщина стенки tw,min из условия её работы на срез:
где Rs – расчётное сопротивление стали срезу; марка стали С345 (по заданию); толщина листа соответствует толщине стенки tw : для листового проката толщиной 4…10 мм Rs = 0,58Ry = 0,58 × 33,5 = 19,43 кН/см2 . · Момент инерции стенки:
· Толщина полок (поясов) принимается примерно в два раза больше толщины стенки: tf » 2tw = 2×10 = 20 мм. В соответствии с сортаментом (прил. 5) принимаем tf = 20 мм. · Полная высота балки: h = hw + 2tf = 900 + 2×20 = 940 мм. · Расстояние между центрами тяжести полок: h0 = h – tf = 940 – 20 = 920 мм. · Уточняем расчётное сопротивление стали: для листового проката толщ. 10…20 мм Ry = 315 МПа = 31,5 кН/см2 (по прил. 1); тогда требуемый момент сопротивления сечения:
· Минимально допустимая ширина полок (поясов) определяется из условия обеспечения прочности балки на изгиб:
· В соответствии с сортаментом (прил. 5) принимаем bf = 34 см. · Для возможности размещения болтов ширина полки bf должна составлять не менее 18 см. Кроме того, ширина полки не должна превышать следующих значений: bf £ 30 tf = 30×2,0 = 60 см (для обеспечения равномерности распределения напряжений по ширине полки);
Принятая ширина полки bf = 38 см этим требованиям соответствует. · Ширина рёбер жёсткости:
· Толщина рёбер жёсткости:
принимаем по сортаменту th = 0,8 см. · В целях экономии материала ширину полки у опор можно уменьшить (рис. 6). Назначаем место изменения сечения на расстоянии x1 = L/6 от опоры: x1 = 12/6 = 2м. · Расчётные внутренние усилия в месте изменения сечения:
· Требуемый момент сопротивления сечения:
· Уменьшенная ширина полки (пояса) b¢f определяется из пяти условий: } из условия обеспечения прочности балки на изгиб:
} из условия обеспечения сопротивления балки кручению:
} в целях уменьшения концентрации напряжений:
} для обеспечения размещения болтов: } из условия установки поперечных ребер жесткости, которые не должны выступать за пределы полки
· В соответствии с сортаментом принимаем: b¢f = 20 см. Если уменьшенная ширина получается меньше исходной всего на 2…3 см, то изменение ширины устраивать нецелесообразно. · Геометрические характеристики сечения балки (в середине пролёта) · Площадь стенки:
· Площадь полки:
· Момент инерции сечения балки:
· Момент сопротивления сечения балки:
· Геометрические характеристики уменьшенного сечения · Площадь полки: · Момент инерции сечения:
· Момент сопротивления сечения:
· Статический момент полусечения:
· Статический момент сечения полки:
· Проверка прочности по нормальным напряжениям (расчётные точки расположены на наружных гранях поясов в середине пролета):
· Проверка прочности по касательным напряжениям (расчётная точка находится посередине высоты стенки у опоры):
Проверка прочности по приведённым напряжениям. Расчётная точка располагается: по высоте балки – в краевом участке стенки на уровне поясных швов; по длине пролёта – в месте изменения сечения балки). Нормальные и касательные напряжения в расчётной точке:
Приведённые напряжения (англ. reduced – приведённый):
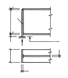
Проверки прочности балки по нормальным, касательным и приведённым напряжениям выполняются. · Проверка жёсткости балки. Принятая высота балки h больше минимальной hmin , поэтому прогиб балки не будет превышать предельного значения, и выполнять проверку жёсткости нет необходимости. 4. Расчёт и конструирование узлов соединения элементов главной балки1. Опорный узел главной балки· Нагрузка от главной балки передаётся на колонну через опорное ребро, приваренное к торцу балки и выступающее вниз на величину аr = 10…15 мм (рис. 7). Для обеспечения равномерной передачи давления торец ребра необходимо строгать.
![]() Определение размеров опорного ребра · Ширину опорного ребра удобно принять равной ширине пояса балки: · Толщина ребра определяется из условия его работы на смятие:
где V – опорная реакция главной балки; V = Qmax = 746бб928 кН; Rp – расчётное сопротивление стали смятию торцевой поверхности; равно расчётному сопротивлению стали по временному сопротивлению Ru (прил. 1); для листовой стали толщиной 10…20 мм Rp = Ru = 460 МПа = 46,0 кН/см2 . · В соответствии с сортаментом принимаем tr = 1,0 cм. Расчёт сварных швов крепления опорного ребра к стенке балки · Через сварной шов Ш1 опорная реакция V передаётся с ребра на стенку балки. Сварное соединение осуществляется полуавтоматической сваркой. Расчётное сопротивление металла шва Rwf = 240 МПа (прил. 2 ); коэффициент проплавления βf = 0,9 (табл. 34* СНиП [2]); Rwf βf = 240 × 0,9 = 216 МПа. Расчётное сопротивление металла границы сплавления шва Rwz = 0,45 Run = 0,45 × 470 = 211 МПа, где Run – нормативное сопротивление стали по временному сопротивлению, для листового проката толщиной 10…20 мм Run = 470 МПа (прил. 1 ); коэффициент проплавления βz = 1,05 (табл. 34* СНиП [2]); Rwz βz = 211 × 1,05 = 221 МПа. Rwf βf < Rwz βz (216 МПа < 221 МПа), поэтому расчётной является проверка по металлу шва. · Необходимая величина катета шва крепления опорного ребра с учётом ограничения по предельной длине шва (lw < 85 bf kf ):
где n = 2 (ребро приваривается двусторонними швами). · Минимальный катет шва определяем по прил . 3 в зависимости от толщины более толстого из свариваемых элементов: kf,min = 5 мм (соединение тавровое с двусторонними угловыми швами, стенка толщиной tw = 10 мм соединяется с ребром толщиной tr = 12 мм). Принимаем окончательно катет шва kf = 6 мм > kf,min . · Расчётная длина шва не должна превышать высоту стенки балки (с учетом 2 см на дефекты по концам шва):
2. Сопряжение главной балки и балки настила · Сопряжение балок происходит в одном уровне и выполняется на болтах. Стенка балки настила прикрепляется к поперечному ребру жесткости главной балки, для этой цели предусматривается обрезка полок и части стенки балки (рис. 8). Определение необходимого количества болтов · Для соединения используем болты нормальной точности, класса точности С, класса прочности 5.6, диаметром 20 мм (db = 20 мм). Диаметр отверстия назначаем на 2 мм больше диаметра болта: d0 = 22 мм. · Расчетное усилие, воспринимаемое одним болтом при его работе на срез:
где Rbs – расчетное сопротивление болтов срезу; для болтов класса прочности 5.6 Rbs = 190 МПа = 19 кН/см2 (табл. 58* СНиП [2]); γb – коэффициент условий работы болтового соединения; при установке нескольких болтов для учёта неравномерности их работы принимается γb = 0,9 (табл. 35* СНиП [2]); Аb – расчётная площадь сечения болта; для болтов диаметром 20 мм Аb = 3,14 см2 (табл. 62* СНиП [2]); ns – число расчётных срезов болта; ns = 1 (односрезное соединение). · Расчетное усилие, воспринимаемое одним болтом из условия работы на смятие поверхности отверстия:
где tmin – наименьшая суммарная толщина элементов, сминаемых в одном направлении; болты соединяют стенку балки настила толщиной в = 0,65 см (двутавр I30, - см. п. 2) с ребром жёсткости толщиной th = 0,8 см (см. п. 3), тогда tmin = в = 0,65 см; Rbp – расчётное сопротивление смятию элементов, соединяемых болтами; определяется по табл. 59* СНиП [2] (см. ниже) в зависимости от сопротивления Run элемента, имеющего tmin : для балки настила Run = 370 МПа (сталь С245), тогда Rbp = 450 МПа = 45 кН/см2 .
· Наименьшее значение расчетного усилия, воспринимаемого одним болтом:
· Необходимое число болтов в соединении:
где 1,2 – коэффициент, учитывающий возможное увеличение опорной реакции вследствие частичного защемления балки в закреплении; D = Qmax = 62,24 кН – опорная реакция балки настила (из п. 2). · Принимаем n = 2 (крепление на двух болтах). Размещение болтов · Назначаем расстояния между центрами болтов и от центров болтов до края элемента (рис. 8).
Таблица 4.1.
· Высота стенки балки настила на участке размещения болтов (при двух болтах): аw = s1 + 2s2 = 50 + 2×40 = 130 мм < h = 300 мм. Проверка опорного сечения балки настила на срез · Срез ослабленного (отверстиями и вырезом полок) сечения балки настила не произойдёт, если выполняется условие:
где Rs – расчетное сопротивление стали балки настила на срез; Rs = 13,92 кН/см2 (из п. 2); в – толщина стенки балки настила; γс – коэффициент условий работы; для учёта упругопластической работы материала соединяемых элементов принимается γс = 1,1 (табл. 6* СНиП [2], поз. 8); ls – расчетная длина среза; при двух болтах (n = 2):
тогда
· Если проверка не выполняется, устанавливают три болта, заново вычисляют аw , ls , t: аw = 2s1 + 2s2 =180; ls = aw – 3d0 =180-3*22=1,14; t =12,31 При необходимости уменьшают диаметр болта. 3. Соединение поясов балки со стенкой· Соединение поясов балки (толщина tf = 20 мм) со стенкой (толщина tw = 10 мм) осуществляется двусторонними (n = 2) поясными сварными швами; швы выполняются в заводских условиях автоматической сваркой. Расчётное сопротивление металла шва Rwf = 240 МПа (прил. 2); коэффициент проплавления βf = 1,1 (табл. 34* СНиП [2]); Rwf βf = 240 × 1,1 = 264 МПа. Расчётное сопротивление металла границы сплавления шва Rwz = 0,45 Run = 0,45 × 470 = 211 МПа, где Run – нормативное сопротивление стали по временному сопротивлению, для более толстого элемента – пояса балки (толщ. 10…20 мм) Run = 470 МПа (прил. 1); коэффициент проплавления βz = 1,15 (табл. 34* СНиП [2]); Rwz βz = 211 × 1,15 = 242 МПа. Rwf βf > Rwz βz (264 МПа > 242 МПа), поэтому расчётной является проверка по металлу границы сплавления металла шва с основным металлом. · Сдвигающая сила, приходящаяся на 1 см длины балки (Qmax принимается из п.3):
· Сдвигающая сила стремится срезать поясные швы, поэтому сопротивление швов срезу должно быть не меньше силы Т, тогда необходимый катет шва:
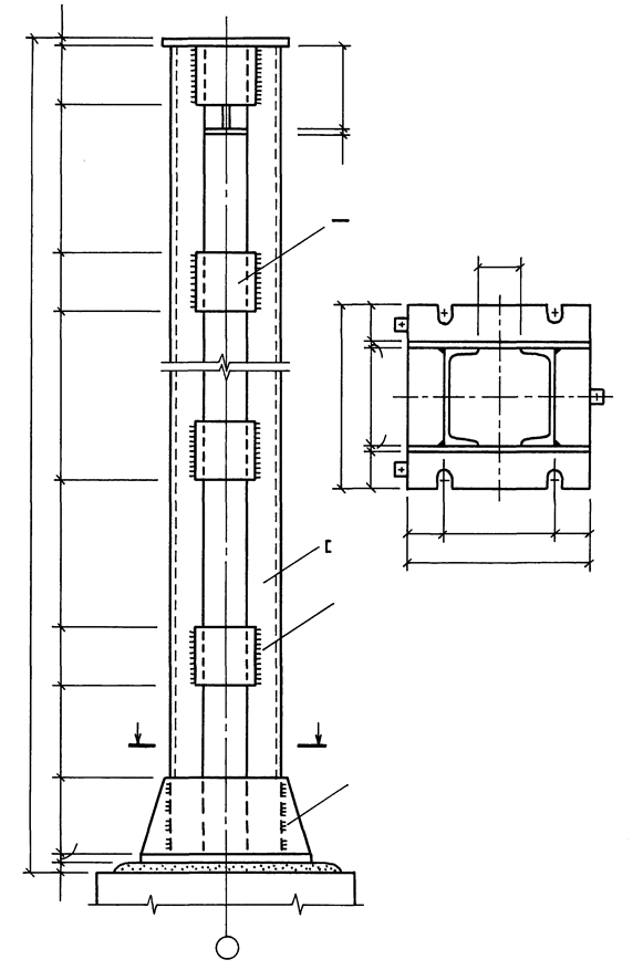
· Минимальная величина катета шва по табл. 38* СНиП [2] kf,min = 6 мм (вид соединения: тавровое с двусторонними угловыми швами; вид сварки: автоматическая; толщина более толстого свариваемого элемента – пояса балки 20 мм). Принимаем kf = kf,min = 6 мм. · Предельная длина сварного шва в данном не ограничивается, так как усилие возникает на всём протяжении шва. 4. Стыки балок· Устраивать монтажный стык нет необходимости, т.к. длина балки L = 12 м < 18 м. · Заводские стыки располагаются в местах изменения ширины поясов балки. Листы верхнего (сжатого) пояса соединяются прямым стыковым швом, листы нижнего (растянутого) – наклонным с уклоном 1:2 (см. рис. 6). 5. Подбор и проверка сечения колонны1. Формирование конструктивной и расчётной схемы· Колонна состоит из трёх основных частей: оголовка, стержня и базы (рис. 9,а). В расчётной схеме колонна представлена стержнем, шарнирно закреплённым по концам (рис. 9,б). Тип сечения колонны: сквозное из двух швеллеров (рис 9, в). · Высота колонны определяется как расстояние от верха фундамента до точки опирания главной балки: Hk = H – t – h – ar + hf = 8 500 – 10 – 1 940 – 15 + 800 = 8 335 мм, где H – отметка верха настила рабочей площадки (по заданию) H = 9 м = 9 000 мм, t – толщина настила; принимаем t = 10 мм; h – высота главной балки; h = 1290 мм (из п. 3); ar – выступающая вниз часть опорного ребра; принимаем аr = 15 мм, hf – заглубление фундамента относительно нулевой отметки пола; принимаем hf = 800 мм.
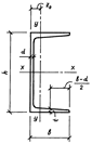
Рис. 9. Центрально-сжатая колонна: а – конструктивная схема; б – расчётная схема; в – поперечное сечение. 2. Определение номера профиля· Задаём оптимальную величину гибкости колонны λ = 65. · По принятой величине гибкости и табл. прил. 6 определяем коэффициент продольного изгиба (сталь С345 – по заданию): для Ry = 320 МПа φ = (766 + 687)/2000 = 0,7265. · Требуемая площадь сечения ветви колонны из условия устойчивости:
Ry назначается здесь уже для стали толщиной 10…20 мм. · Необходимый радиус инерции сечения:
где lef – расчётная длина колонны; в соответствии с условиями закрепления lef = Hk . · По сортаменту подбираем подходящий номер профиля (по параметрам А1 и ix ) и выписываем его характеристики (если в сортаменте не оказывается подходящего швеллера, принимают двутавр): Номер профиля: [33, площадь сечения: А1 = 46,5 см2 ; Радиусы инерции относительно осей х, у: ix = 13,1 см; iy 1 = 2,97 см; Моменты инерции относительно осей х, у: Jx = 7980 см4 ; Jy 1 = 410 см4 ; Геометрические размеры (см. рис 7, в): h = 330 мм, bf = 105 мм, tw = 7 мм, tf = 11,7 мм, z0 = 2,59 см. · Площадь всего сечения: А = 2А1 = 2 × 46,5 = 93 см2 . · Фактическая гибкость стержня колоны относительно материальной оси:
· Коэффициент продольного изгиба по прил. 6: φ = 0,74 (по интерполяции -). · Проверка устойчивости колонны относительно материальной оси:
Проверка выполняется. 3. Проверка устойчивости ветви· Задаем оптимальную величину гибкости ветви: λ1 = 30. · Расстояние между центрами планок определяется по условию равноустойчивости: l1 » λ1 iy 1 = 30 × 2,97 = 89,1 см; принимаем l1 = 90 см (кратно 10 мм). · Фактическая гибкость ветви:
· Коэффициент продольного изгиба ветви по прил. 6: φ1 = 0,9166. · Нагрузка, приходящаяся на ветвь колонны: N1 = N / 2 = 933,66 кН. · Проверка устойчивости ветви:
Проверка выполняется. 4. Определение расстояния между ветвями· Необходимая гибкость колонны относительно свободной оси:
· Требуемый радиус инерции сечения:
· Требуемая ширина сечения:
где a2 – отношение радиуса инерции к ширине сечения; определяется по справочной таблице (табл. 8.1 [3]): для сечения из двух швеллеров полками внутрь a2 = 0,44; из двух двутавров a2 = 0,50. Для окраски внутренней поверхности колонны между полками ветвей необходимо обеспечить зазор не менее 10 см, поэтому ширина сечения также должна быть не менее
Окончательно принимаем ширину колонны b = 35 cм (кратно 10 мм). · Расстояние между центрами тяжестей ветвей: с0 = b – 2z0 = 35 – 2×2,59 = 29,82 cм, · Величина зазора между ветвями: b0 = b – 2bf = 35 – 2×10,5 = 14 cм > 10 см. · Момент инерции сечения колонны относительно свободной оси:
· Радиус инерции сечения:
· Физическая гибкость:
· Приведённая гибкость:
поэтому проверку устойчивости колонны относительно свободной оси можно не проводить. · Иначе определяется коэффициент продольного изгиба φy по прил. 6 и выполняется проверка устойчивости колонны относительно свободной оси из условия:
5. Определение высоты оголовка колонны· Высота оголовка колонны определяется из условия прочности стенки швеллера на срез:
где 4 – расчётное число срезов (по 2 на каждой ветви); tw – толщина стенки швеллера; tw = 0,7 см; Rs – расчетное сопротивление стали на срез; Rs = 0,58Ry = 0,58 × 33,5 = 19,43 кН/см2 . Принимаем hr = 35 см (кратно 10 мм). 6. Определение площади опорной плиты базы колонны· Требуемая площадь опорной плиты определяется из условия сопротивления бетона фундамента местному сжатию:
где Rb – расчётное сопротивление бетона класса В15 осевому сжатию; Rb = 8,5 МПа = 0,85 кН/см2 ;
φb – коэффициент, учитывающий повышение прочности бетона за счёт включения в работу ненагруженной части фундамента; принимаем φb = 1,2. · Размеры опорных плит в плане принимаются из двух условий: 1) из условия обеспечения требуемой площади, необходимой для обеспечения прочности бетона фундамента; 2) из конструктивных соображений, обусловленных необходимостью обеспечения величины свесов плиты не менее 5…6 см. · Длина плиты по конструктивным соображениям: L = b + (10…12) cм = 35 + (10…12) cм = 45…47 cм; принимаем L = 46 см (кратно 10 мм). · Необходимая ширина плиты: 4 по конструктивным соображениям: В = h + 2ttr + (10…12) cм = 33 + 2 × 1,2 + (10…12) cм = 45,4…47,4 cм, где ttr – толщина траверсы; принимаем ttr = 12 мм (обычно ttr = 10…14 мм); 4 по условию обеспечения требуемой площади:
принимаем В = 46 см (кратно 10 мм). · Толщина опорной плиты определяется из условия её работы на изгиб под действием реактивного отпора (давления) фундамента; в данной работе принимаем (условно) плиту толщиной 30 мм. 7. Расчёт сварных швов крепления траверсы к колонне· Принимаем высоту траверсы htr = 40 см, тогда расчётная длина шва: lw = htr – 1 см = 40 – 1 = 39 см. · Требуемая величина катета шва:
где 4 – число швов крепления траверсы к колонне; при выполнении шва полуавтоматической сваркой расчёт осуществляется по металлу шва (см. п. 4): Rwf = 240 МПа; βf = 0,9; Rwf βf = 240 × 0,9 = 216 МПа. · Принимаем kf = 0,6 см; kf > kf,min = 0,5 cм (kf,min определяется по табл. 38 СНиП [2] ). · Проверка по предельной длине шва: lw,max = 85bkf = 85 × 0,9 × 0,6 = 45,9 см > lw = 39 см. Конструктивное решение колонны показано на рис. 10.
Список литературы1. СНиП 2.01.07 – 85*. Нагрузки и воздействия / Госстрой России. – М.: ГУП ЦПП, 2001. – 44 с. 2. СНиП II-23-81*. Стальные конструкции / Госстрой России. – М.: ГУП ЦПП, 2001. – 96 с. 3. СП 53-102-2004. Общие правила проектирования стальных конструкций. – М., 2005. // www.complexdoc.ru 4. Металлические конструкции. Общий курс: учебник для ВУЗов. Под ред. Е.И. Беленя. – М.: Стройиздат, 1986. – 560 с. 5. Металлические конструкции. Общий курс: учебник для ВУЗов. Под ред. Г.С. Веденикова. – М.: Стройиздат, 1998. – 760 с. 6. Металлические конструкции. Общий курс: учебник для ВУЗов. Под ред. А.Ю. Кудишина. – М.: Академия, 2006. 7. Мандриков А.П. Примеры расчёта металлических конструкций. Учебное пособие для техникумов. – М.: Стройиздат, 1991. – 431 с. 8. Строительные конструкции: Учебник для ВУЗов / Под ред. В.П. Чиркова. – М.: ГОУ «Учебно-методический центр по образованию на железнодорожном транспорте», 2007. – 448 с. 9. Левитский В.Е. Металлические конструкции рабочей площадки: Методические указания к практическим занятиям для студентов специальности «Промышленное и гражданское строительство». – [Электронная версия]. ПриложенияПриложение 1Нормативные и расчётные сопротивления проката, МПа (по табл. 51* СНиП [2])
Примечания: 1. За толщину фасонного проката принимается толщина полки; минимальная его толщина 4 мм. 2. Чем больше толщина элемента, тем сильнее сказывается влияние дефектов структуры материала, поэтому сопротивления с увеличением толщины снижаются. 3. Если неизвестно, какой толщиной обладает рассчитываемый элемент, используется наиболее вероятное её значение, при котором расчётное сопротивление материала будет наименьшим. Приложение 2Материалы для сварки, соответствующие стали (по табл. 55*, 56 СНиП [2])
Примечание. Указанные материалы применяются для выполнения сварных швов в конструкциях 2-й группы (балки перекрытий) и 3-й группы (колонны, элементы настила) в нормальных климатических районах строительства (не характеризующихся сильными морозами – ниже -40°С). Приложение 3Минимальные катеты угловых сварных швов (табл. 38* СНиП [2])
Приложение 4Таблица 1 Предельные прогибы балок и настилов перекрытий (по табл. 19 СНиП [1])
Примечание. Для промежуточных значений пролётов предельные прогибы определяются линейной интерполяцией. Ниже представлены вычисленные указанным образом значения предельных прогибов для пролётов, встречающихся в данной работе. Таблица 2
Приложение 5Сортамент листовой стали
Приложение 6Коэффициенты продольного изгиба центрально-сжатых элементов (табл. 72 СНиП [2])
Приложение 7Сортамент прокатной стали
|
|||||||||||||||||||||||||||||||||||||||||||||||||||||||||||||||||||||||||||||||||||||||||||||||||||||||||||||||||||||||||||||||||||||||||||||||||||||||||||||||||||||||||||||||||||||||||||||||||||||||||||||||||||||||||||||||||||||||||||||||||||||||||||||||||||||||||||||||||||||||||||||||||||||||||||||||||||||||||||||||||||||||||||||||||||||||||||||||||||||||||||||||||||||||||||||||||||||||||||||||||||||||||||||||||||||||||||||||||||||||||||||||||||||||||||||||||||||||||||||||||||||||||||||||||||||||||||||||||||||||||||||||||||||||||||||||||||||||||||||||||||||||||||||||||||||||||||||||||||||||||||||||||||||||||||||||||||||||||||||||||||||||||||||||||||||||||||||||||||||||||||||||||||||||||||||||||||||||||||||||||||||||||||||||||||||||||||||||||||||||||||||||||||||||||||||||||||||||||||||||||||||||||||||||||||||||||||||||||||||||||||||||||||||||||||||||||||||||||||||||||||||||||||||||||||||||||||||||||||||||||||||||||||||||||||||||||||||||||||||||||||||||||||||||||||||||||||||||||||||||


.

,
,
(для обеспечения местной устойчивости).

,
,
шт.,
.
.
,
.
.
,

