Курсовая работа: Конструкции и технология изготовления электротехнических изделий
|
Название: Конструкции и технология изготовления электротехнических изделий Раздел: Рефераты по науке и технике Тип: курсовая работа | ||||||||||||||||||||||||||||||||||||||||||||||||||||||||||||||||||||||||||||||||||||||||||||||
МИНИСТЕРСТВО ОБРАЗОВАНИЯ РОССИЙСКОЙ ФЕДЕРАЦИИ –––––––––––––––– МОСКОВСКИЙ ЭНЕРГЕТИЧЕСКИЙ ИНСТИТУТ (ТЕХНИЧЕСКИЙ УНИВЕРСИТЕТ) ––––––––––––––––––––––––––––––––––––––––––––––––––––– А.П.СЕЛЕЗНЕВ, В.С.ШИРИНСКИЙ КонструкциИ и технология изготовления электротехнических изделий. КУРСОВОЕ И ДИПЛОМНОЕ ПРОЕКТИРОВАНИЕ Методическое пособие по курсам "Технология конкурентоспособных изделий" и "Конструкции и технология электрооборудования летательных аппаратов" для студентов, обучающихся по направлению "Электротехника, электромеханика и электротехнологии" Под редакцией Г.И. Романовой ВВЕДЕНИЕ Настоящее методическое пособие предназначено для студентов Института Электротехники, выполняющих курсовые и дипломный проекты (КП и ДП), и призвано оказать им помощь по выполнению конструкторско-технологической части проектов. В связи с введением Единой системы конструкторской документации (ЕСКД), Единой системы технологической документации (ЕСТД), Единой системы технологической подготовки производства (ЕСТПП) и Единой системы допусков и посадок (ЕСДП) студенты недостаточно обеспечены справочными материалами по изменившимся ГОСТам. Данное пособие включает в себя основные правила выполнения чертежей и технологической документации и дополняет методические указания к типовому расчету по курсам "Технология конкурентоспособных изделий" и "Конструкции и технология электрооборудования летательных аппаратов”, но не заменяют самих ГОСТов. При оформлении пояснительной записки КП и ДП студентам необходимо ознакомиться с [1]. Авторы признательны за ценные указания по устранению недостатков данного пособия доценту кафедры "Электрические и электронные аппараты" В. П. Соколову и профессору кафедры "Электромеханика" В. Я. Беспалову. 1. ОБЪЕМ И СОДЕРЖАНИЕ КОНСТРУКТОРСКО-ТЕХНОЛОГИЧЕСКОЙ ЧАСТИ КП И ДП Объем и содержание конструкторско-технологической части КП и ДП устанавливаются общими методическими указаниями по выполнению проектов [2]. По трудоемкости эта часть проектов составляет 20–30% времени, затрачиваемого студентом на выполнение всего проекта. 1.1. Конструкторская часть КП и ДП В конструкторской части проектов приводятся результаты проработки студентом отдельных сборочных единиц и конструкций изделия в целом, дается характеристика выбранного варианта конструкции, ее достоинства и недостатки. Разрабатывая конструкции изделия, студент должен представлять технологию изготовления, стремиться к созданию технологичных конструкций, отвечающих требованиям ГОСТ 14.201–73, 14.202–73,14.203–73, 14.204–73. Конструкторская часть КП должна содержать электрическую принципиальную схему изделия, чертежи общего вида изделия и детали (1–2 листа), а пояснительная записка – описание конструкции и принципа действия. Чертежи и эскизы деталей также разрабатываются при выполнении типового расчета по курсу “Технология ЭЛА ”. При описании конструкции необходимо обосновать принятые конструктивные решения (выбранные формы деталей и сборочных единиц или способы соединения деталей, степени стандартизации и унификации изделия и т.п.). При описании принципа действия сборочных единиц или изделия для большей ясности можно приводить электрическую принципиальную, электрическую монтажную или кинематическую схемы. Чертеж общего вида изделия необходимо выполнять с учетом требований ГОСТ 2.119–73 (Правила выполнения чертежей общего вида). В КП по электронным устройствам, помимо общего вида изделия, обязательно на дополнительный лист выносят электрическую принципиальную схему. Конструкторская часть ДП представляется самостоятельным разделом в пояснительной записке дипломного проекта и чертежами изделия. В пояснительной записке приводятся результаты анализов существующих конструкций данного типа изделия. Даются обоснования принятым конструктивным решениям. Чертежи изделий в ДП включают в себя чертежи общего вида, основных сборочных единиц изделия, деталей, схемы обмоток. При необходимости приводится блок-схема изделия. Графическая часть конструкторской разработки в ДП составляет 3–4 листа формата А1 (ГОСТ 2.301–68. Форматы). 1.2. Технологическая часть ДП Задание по технологической части ДП согласовывается консультантом по данному разделу и утверждается заведующим кафедрой. В технологической части ДП разрабатывается технологический процесс изготовления основных деталей какой-либо сборочной единицы и технологический процесс сборки основных сборочных единиц (ротора и статора проектируемой электрической машины) или технологический процесс общей сборки испытаний изделия. Для электронных устройств в технологической части проектируются технологические процессы изготовления деталей (печатной платы) и технологические процессы сборки и испытания устройств. Сложность сборочных единиц для проектирования технологических процессов должна быть выше по сравнению со сборочными единицами в типовом расчете по курсу “Технология ЭЛА”. На защите ДП Государственной экзаменационной комиссии технологическая часть представляется в виде чертежей одной или двух сборочных единиц разрабатываемой конструкции и рабочих чертежей на детали сборочных единиц. Вся графическая работа по технологической части дипломного проекта выполняется на 2–4 листах формата А1. Допускается представить графическую часть дипломного проекта в виде раздаточного материала на форматах А4 и А3, полученных с помощью компьютерной графики. Описание разработанных технологических процессов приводятся в пояснительной записке ДП и должно составлять 20–25 страниц технологической документации. Технологические документы выполняются на маршрутной карте (МК) и карте эскизов (КЭ) по ГОСТ 3.1102–74. Требования по технологическим документам, подписям и правилам оформления изложены в ГОСТ 3.1103–74, 3.1104–74, 3.1105–74. Методические указания по проектированию технологических процессов изготовления деталей и сборочных единиц приведены в [3]. Общие требования к графическим документам изложены в [4–6]. 2. ОФОРМЛЕНИЕ ГРАФИЧЕСКОЙ ЧАСТИ ПРОЕКТОВ 2.1. Общие положения Графическая часть КП и ДП включает в себя чертежи общего вида изделия, сборочные чертежи основных сборочных единиц, схем обмоток, графики, диаграммы и другие графические изображения, иллюстрирующие результаты работы студента над проектом. Все графические работы, предъявляемые комиссии при защите, должны быть обязательно продублированы в пояснительной записке. Сложные чертежи общего вида можно представлять в записке фотографиями. Все элементы графической части выполняются в соответствии с требованиями стандартов ЕСКД, ЕСТД и международных стандартов. Графическая часть выполняется в карандаше или туши. При наличии большого числа кривых на графике, при выполнении диаграмм и ряда других документов допускается использовать цветные карандаши или цветную тушь. Не рекомендуется для этого использовать цветные фломастеры. Каждый лист графической части проекта должен быть подписан студентом, консультантом и руководителем. Примерный объем графической части проектов. курсовой проект (1–2 листа); дипломный проект (8–10 листов [2], в том числе 1–2 листа по экономической части и охране труда, 4–5 листов по конструкторско-технологической части). Основным форматом листа для графической части КП и ДП является формат А1 (594´841 мм). ГОСТ 2.301–68 допускает применение дополнительный форматов, образуемых увеличением сторон формата А4 (210´294 мм). При этом коэффициент увеличения должен быть целым числом. Масштабы изображения на чертежах следует выбирать и обозначать по ГОСТ 2.302–68. При выборе масштаба необходимо руководствоваться соображениями ясности и четкости чертежа. ГОСТ 2.302–68 не распространяется на чертежи, полученные фотографированием, на печатные изделия и т.п. 2.2. Основные правила выполнения чертежей деталей сборочных и габаритных чертежей, чертежей общего вида изделия Согласно ГОСТ 2.102–68: чертеж детали – документ, содержащий изображение детали и другие данные, необходимые для ее изготовления и контроля; сборочный чертеж – документ, содержащий изображение сборочной единицы и другие данные, необходимые для ее сборки, изготовления и контроля. К сборочным чертежам также относят гидромонтажные, пневмомонтажные и электромонтажные чертежи; чертеж общего вида – документ, определяющий конструкцию изделия, взаимодействие его составных частей и поясняющий принцип работы изделия; габаритный чертеж – документ, содержащий контурное упрощенное изображение изделия с габаритными, установочными и присоединительными размерами. Правила выполнения чертежей деталей установлены ГОСТ 2.301–68 – 2.316–68, аксонометрические проекции деталей выполняются согласно ГОСТ 2.317–69. С 1.01.80 года введен вместо ГОСТ 2.308–68 новый ГОСТ 2.308–79. Данные ГОСТы входят составной частью в ЕСКД под названием ''Общие правила выполнения чертежей''. Пример выполнения чертежей деталей приведены в приложении 1(вал) и приложение 2 (корпус токоподвода). Правила выполнения сборочных чертежей ГОСТ 2.109–73 предписывает на сборочном чертеже приводить размеры и другие параметры, проверяемые при сборке. Кроме того, должны быть указаны габаритные, установочные и присоединительные размеры, необходимые справочные размеры, а также координаты центра тяжести, если эти данные не указаны в другом конструкторском документе на эти изделия, например, на габаритном чертеже. При указании установочных присоединительных размеров должны быть нанесены координаты расположения и размеры с предельными отклонениями элементов, служащих для соединения с сопрягаемыми изделиями, например: профиль и размеры шлицов гибкого валика генератора, их количество, покрытия шлицов. На сборочном чертеже допускается изображать перемещающиеся части изделия в крайнем или промежуточном положении с указанием соответствующих размеров, например, положение шестерни зацепления стартер-генератора. Допускается на сборочном чертеже изделия помещать изображение пограничных изделий ''обстановку'' с размерами, определяющими их взаимное расположение. Составные части изделия, расположенные за ''обстановка'', изображают как видимые, а при необходимости – как невидимые. Предметы ''обстановки'' выполняют упрощенно. При необходимости на чертеже указывают наименования или обозначение предметов ''обстановки'' на изображении или линии – выноске. В разрезах и сечениях ''обстановку'' допускается не штриховать. Сборочные чертежи необходимо выполнять, как правило, с упрощениями, соответствующими требованиям стандартов ЕСКД и настоящего стандарта. Пружины изображают согласно ГОСТ 2.401–68. Изображение контактной пружины контактора и ''обстановки'' за ней приведено на рис. 1. Изделия, расположенные за винтовой пружиной, изображают до зоны, условно закрывающей эти изделия и определяемой осевыми линями витков пружины. На сборочном чертеже вычерчивают только внешние очертания типовых и покупных изделий, входящих в состав сборочной единицы, выполняя его упрощенно, без мелких деталей. Внутри такого изображения допускается проводить линии видимого контура (например, изображение подшипников качения).
Рис. 1 Рис. 2 Изображения на сборочных чертежах сварных швов должны соответствовать ГОСТ 2.312–72; паяных, склеиваемых и др. – ГОСТ 2.313–68. На сборочном чертеже все составные части сборочной единицы нумеруют в соответствии с номерами позиций, указанными в спецификации этой сборочной единицы. Номера позиций указывают на линиях-выносках, проводимых от изображения составных частей, и наносят на чертежи, как правило, один раз. Допускается делать общую линию-выноску с вертикальным расположением номеров позиций: а) для группы крепежных деталей, относящихся к одному и тому же месту крепления; если крепежных деталей две и более и при этом разные составные части крепятся одинаковыми крепежными деталями, то количество их допускается проставлять в скобках после номера соответствующей позиции и указывать только для одной единицы закрепляемой составной части, независимо от количества этих составных частей в изделии; б) для группы деталей с отчетливо выраженной взаимосвязью, исключающей различное понимание, и при невозможности подвести линию-выноску к каждой составной части. В таких случаях линию-выноску отводят от закрепляемой составной части и она упирается стрелкой в линию внешнего контура (рис. 3). Положение ГОСТ 2.109–73 о том, что в этом случае линия-выноска должна пересекать линию контура и заканчиваться точкой, исключено. Примеры выполнения сборочных чертежей (трансформатора и гиродвигателя) приведены в приложениях 3 и 4. Правила выполнения габаритных чертежей по ГОСТ 2.109–73 требуют иметь изображения на чертеже со всеми исчерпывающими представлениями о внешних очертаниях изделия, о положении выступающих частей, об элементах, которые должны быть постоянно в поле зрения (например, шкалы), о расположении элементов связи с другими изделиями (могут быть изображены детали и сборочные единицы, не входящие в состав изделия). Такие детали и сборочные единицы изображают сплошными тонкими линиями. Допускается не показывать элементы, выступающие за основной контур на незначительную величину по сравнению с размерами предмета. Установочные и присоединительные размеры, необходимые для связи с другими изделиями, проставляются с предельными отклонениями. Допускается указывать координаты центра тяжести. На габаритном чертеже не указывают, что все размеры, приведенные на нем, справочные. Допускается указывать на габаритном чертеже условия применения, хранения, транспортировки и эксплуатации изделия. Правила выполнения чертежей общих видов по ГОСТ 2.119–73 разработаны для эскизного и по ГОСТ 2.120–73 – для технического проектов. Согласно ГОСТ 2.103–68: эскизный проект – совокупность конструкторских документов, которые должны содержать принципиальные конструктивные решения, дающие общее представление об устройстве и принципе работы изделия, а также данные, определяющие назначение, основные параметры и габаритные размеры разрабатываемого изделия. Эскизный проект после согласования и утверждения в установленном порядке служит основанием для разработки технического проекта или рабочей конструкторской документации; технический проект – совокупность конструкторских документов, которые должны содержать окончательные технические решения, дающие полное представление об устройстве разрабатываемого изделия, и исходные данные для разработки рабочей документации. Технический проект после согласования и утверждения в установленном порядке служит основанием для разработки рабочей конструкторской документации. На чертеже общего вида эскизного проекта должны быть изображены разрезы и сечения изделия, нанесены надписи и текстовая часть, необходимые для понимания конструктивного устройства изделия, показано взаимодействие его составных частей и принцип работы изделия; а также указаны наименования и обозначения (если они имеются) тех составных частей изделия, для которых необходимо привести данные (технические характеристики, количество, материал, принцип работы и др.) или запись которых необходима для пояснения изображений чертежа общего вида, описания принципа работы изделия, указания о составе и др. Приведены необходимые размеры и, если требуется, схема изделия и технические характеристики. Чертеж выполняют с максимальными упрощениями, предусмотренными ГОСТ 2.109–73 на оформление рабочих чертежей. Составные части изделия, в том числе заимствованные и покупные, изображают упрощенно (отдельные даже контурными очертаниями), если при этом понятны конструктивное устройство, взаимодействие составных частей и принцип работы изделия. Наименования и обозначения составных частей изделия указываются тремя способами: на линиях-выносках, проведенных от деталей на чертеже общего вида; в таблице, размещенной на чертеже общего вида; в таблице, выполненной на отдельных листах формата А4, в качестве последующих листов чертежа общего вида. Таблица в общем случае состоит из граф: "Поз.", "Обозначение", "Кол.", "Дополнительные указания", но может включать графу "Материал", "Наименование" и другие необходимые графы. При наличии таблиц номера позиций составных частей изделия указывают на линиях-выносках , в соответствии с этой таблицей. Чертеж общего вида оформляется в соответствии с правилами, установленными для рабочих чертежей (расположение номеров позиций, надписи, текст технических требований и др.). Чертеж общего вида технического проекта выполняют в соответствии с ГОСТ 2.120–73. Основные правила выполнения чертежа общего вида технического проекта изложены в ГОСТ 2.119–73 (для эскизного проекта ). Кроме этого на чертеже общего вида технического проекта указывают посадки деталей (размеры с предельными отклонениями по ЕСДП); технические требования к изделию (применение определенных покрытий, способов пропитки обмоток, методов сварки и т.д.); технические характеристики изделия необходимые для последующей разработки рабочих чертежей. Примеры выполнения сборочных чертежей приведены в приложении 3 (гиромотор технологический), в приложении 4 (трансформатор). В приложении 5 приведен чертеж общего вида (гистерезисный электродвигатель). 2.3. Основные правила выполнения электромонтажных чертежей и чертежей изделий с электрическими обмотками. Условные изображения сердечников магнитопроводов Электромонтажные чертежи выполняют в ДП по электрическим сетям летательных аппаратов. Электромонтажный чертеж допускается выполнить в виде аксонометрической проекции согласно ГОСТ 2.317–69. Основные правила выполнения чертежей для электромонтажа определяет ГОСТ 2.413–72. На электромонтажном чертеже изображают: сплошными основными линиями – составные части, устанавливаемые при электромонтаже, и места присоединения проводников; сплошными тонкими линиями и упрощенно – составные части, устанавливаемые до электромонтажа. "Обстановку" изображают непрозрачной. Проводник, провод, кабель, жгут, шину изображают в соответствии с ГОСТ 2.414–75. При условном изображении проводников рядом допускается слияние: одиночных проводов; группы одиночных проводов с другими группами или одиночными проводами. Не допускается слияние линий, изображающих жгут или кабель и входящие в его состав проводники, с линиями других жгутов и кабелей. При условии изображения проводников их изгибы в местах слияния и разветвления линий, означающих одиночные провода и т.п., изображают прямыми линиями под углом приблизительно 45º (рис. 4). Допускается изображать места слияния и разветвления жгутов, а также изгибы проводников (кроме мест слияния и разветвления) и проволочных выводов резисторов, конденсаторов и т.д. прямыми линиями под углом приблизительно 90°.
Рис. 3 Рис. 4 Два перекрещивающихся проводника без соединения изображают без точки (рис. 5).
Рис. 5 Рис. 6 Линию проводника, переходящую с одного вида листа на другой, предпочтительно обрывать за пределами очертания изделия с указанием обозначения линии и вида (рис. 6). Линии проводников, присоединенных к многоконтактному изделию, допускается заканчивать у линии внешних контуров изделия. В этом случае: у контактов показывают концы линии и обозначение присоединенных проводников (рис. 7); у изображения многоконтактного изделия помещают таблицу с номерами контактов и обозначениями проводников (рис. 8). При отсутствии маркировки контактов изделия на чертеже их обозначают и поясняют схемой соединения контактов (рис. 9). Электрическое соединение, осуществляемое пайкой или сваркой, изображают точкой диаметром от 1,5´S до 3´S, где S – толщина основной линии.
Рис. 7 Рис. 8 ГОСТ 2.414–75 определяет правила выполнения чертежей и маркировки жгутов, кабелей, проводов. Чертежом жгута называется сборочный чертеж изделия, состоящего из скрепляемых в пучок двух и более проводов или кабелей и, при необходимости, соединительных устройств, наконечников и т.п.
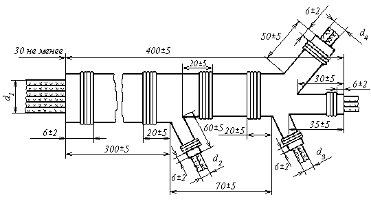
Рис. 9 Рис. 10 Согласно ГОСТ 2.414–75, провода, кабели, жгуты изображают упрощенно двумя контурными линиями (рис. 10, а ); одной сплошной основной линией толщиной S (рис. 10, б ); в случае необходимости выделить их на чертеже они изображаются двумя контурными линиями с указанием оплетки около одной линии (рис. 10, в ). Существует два способа изображения экранированных проводов: двумя контурными линиями (рис. 10, г ) или одной контурной линией (рис. 10, д ). Жгуты, располагающиеся в собранном изделии в разных плоскостях (рис. 11, а ), изображают на чертежах, в одной плоскости в развернутом виде (рис .11, б ), со смещением отдельных участков изображения – для лучшего использования поля чертежа (рис. 11, в ). Можно изображать жгуты, лежащие в разных плоскостях, в аксонометрических проекциях. При выполнении ДП по проектированию систем электроснабжения летательных аппаратов возникает необходимость разработки сборочных чертежей жгутов. Пример выполнения сборочного чертежа жгута представлен на рис. 12. ГОСТ 2.415–68 устанавливает правила выполнения чертежей изделий с электрическими обмотками: электрических машин, приборов, аппаратов, согласовывая их с остальными ГОСТ ЕСКД.
Рис. 11 В продольных разрезах якорей (роторов), статоров и индукторовэлектрических машин, как правило, изображают верхнюю половину. В случае необходимости нижнюю половину изображают только контуром. Примеры выполнения одно- и многовитковых обмоток статоров и роторов в продольном разрезе приводятся в табл.1 ГОСТ 2.415–68. В поперечных разрезах и сечениях многовитковую обмотку штрихуют в клетку, одновитковую, двухвитковую и стержневую обмотки не штрихуют (примеры выполнения приведены в табл.2 ГОСТ 2.415–68). Провод, диаметр или толщина которого на чертеже 3 мм или более, в поперечном сечении штрихуют как металл в случае, если обмотки имеют малое число витков.
Рис. 12 ное тело, не проводя линий, отделяющих отдельные слои изоляции), а толщиной менее 2 мм – зачерняют (рис. 13, а ).
Рис. 13 Многослойную изоляцию из различных материалов, толщина которой на чертеже 2 мм и более, штрихуют как неметаллические материалы, разделяя сплошными линиями слои. Изоляцию толщиной менее 2 мм зачерняют, разделяя слои просветами (рис. 13, б ). Изоляция на видах изображается в разбежку (рис. 13, в ), встык или с перекрытием (рис. 13, г ). Неизолированные катушки на чертеже изображают как монолитное тело, не вычерчивая проводов. В случае необходимости показать на чертеже место припайки выводов, делают местный разрез катушки вдоль проводов обмотки (рис. 14). На сборочном чертеже изделий с обмотками помещают, как правило, схему обмотки. Данные о намотке, пропитке, пайке и лакокрасочном покрытии приводят в технических требованиях чертежа. Условные изображения сердечников магнитопроводов в поперечных разрезах и сечениях определяет ГОСТ 2.416–68. Шихтованные и витые сердечники в поперечных разрезах и сечениях (относительно листов или лент) штрихуют сплошными тонкими линиями (длина штрихов и частота штриховки в соответствии с ГОСТ 2.306–68), ограничивая эти линии вспомогательными диагоналями, не показываемыми на чертеже.
Рис. 14 Рис. 15
Рис. 16 Направление линии штриховки должно соответствовать расположению листов или витков ленты сердечника (рис. 15). При штриховке витых сердечников в продольных разрезах и сечениях (относительно лент) длина линий штриховки не регламентируется, но должна быть примерно одинакова. Направление линий штриховки должно соответствовать расположению листов или витков ленты сердечника (рис. 16, а , б ). Сердечники магнитопроводов в разрезах и сечениях вдоль листов не штрихуют (рис.16, в , г , разрез Б-Б на рис. 17). Сердечники магнитопроводов значительной длины, изображаемые с разрывом или без разрыва в поперечных сечениях, штрихуют по краям (рис. 18, а ). При местном разрезе сердечник штрихуют как металл (рис. 18, б ). Если секущая плоскость проходит через ось сердечника якоря (ротора) или статора, то независимо от угла наклона зубца сердечника зубец условно совмещают с плоскостью чертежа и разрез (сечение) показывают по зубцу (рис. 19, а ). Сердечники магнитопроводов на видах показывают как монолитные тела (рис. 16, в и 19, б ).
Рис. 17
Рис. 18 Сердечники магнитопроводов значительной длины, изображаемые с разрывом или без разрыва в поперечных сечениях, штрихуют по краям (рис. 18, а ). При местном разрезе сердечник штрихуют как металл (рис. 18, б ).
Рис. 19 Если секущая плоскость проходит через ось сердечника якоря (ротора) или статора, то независимо от угла наклона зубца сердечника зубец условно совмещают с плоскостью чертежа и разрез (сечение) показывают по зубцу (рис. 19, а ). Сердечники магнитопроводов на видах показывают как монолитные тела (рис. 16, в и 19, б ). 2.4. Виды и типы схем. Правила выполнения электрических схем Согласно ГОСТ 2.102–68 схема – документ, на котором показаны в виде условных изображений и обозначений составные части изделия и связи между ними. По ГОСТ 2.701–68 схемы в зависимости от того, какие элементы и связи входят в состав изделия, подразделяются на следующие виды: электрические, обозначаемые буквой Э; гидравлические, обозначаемые буквой Г; пневматические, обозначаемые буквой П; кинематические, обозначаемые буквой К; комбинированные, обозначаемые буквой С (содержащие элементы и связи разных видов). В зависимости от основного назначения схемы подразделяют на следующие типы: структурные, обозначаемые цифрой 1 и определяющие основные функциональные части изделия, их назначение и взаимосвязи; функциональные, обозначаемые цифрой 2 и разъясняющие определенные процессы, протекающие в отдельных функциональных цепях изделия (установки) или в изделии (установке) вцелом; принципиальные (полные), обозначаемые цифрой 3 и определяющие полный состав элементов и связей между ними и, как правило, дающие детальное представление о принципах работы изделия (эти схемы служат для разработки других конструкторских документов); соединений (монтажные), обозначаемые цифрой 4 и показывающие соединения составных частей изделия, элементы, которыми осуществляются соединения, а также места их присоединения и ввода; подключения, обозначаемые цифрой 5 и показывающие внешние подключения изделия; общие, обозначаемые цифрой 6 и определяющие составные части комплекса и соединения их между собой на месте эксплуатации; расположения, обозначаемые цифрой 7 и определяющие относительное расположение составных частей изделия, а также проводов, жгутов, кабелей, трубопроводов и т.п. Наименование схемы определяется ее видом и типом (схема электрическая принципиальная, схема электропневматическая принципиальная). Шифр схем, входящих в конструкторскую документацию, состоит из буквы, определяющей вид, и цифры, обозначающей тип схемы (например, схема электрическая монтажная – Э4). ГОСТ 2.701–76 предусматривает основные требования к выполнению схем: схемы выполняются без соблюдения масштаба и действительного пространственного расположения составных частей изделия; расстояние между соседними параллельными линиями связи должны быть не менее 3 мм; нестандартизованные условные обозначения должны быть пояснены; элементы, составляющие функциональные группы или устройства, допускается выделять на схемах тонкими штрих – пунктирными линиями; элементы, составляющие устройство, имеющие самостоятельную принципиальную схему, выделяют на принципиальной схеме сплошной линией, вдвое толще линии связи; допускается помещать на схемах различные технические данные (около графических обозначений - справа или сверху, или на свободном поле схемы); на поле электрических, пневматических и гидравлических схем помещают перечень входящих в схему элементов, который выполняют в виде таблицы (образец таблицы приведен на рис. 20). Таблицу заполняют сверху вниз и помещают на первом листе схемы над основной надписью (в случае недостатка места продолжение таблицы располагают слева от основной надписи) или на последующих листах схемы. Правила выполнения электрических схем определены ГОСТ 2.702–75, дополнены ГОСТ 2.709–72 "Система маркировки цепей в электрических схемах" и ГОСТ 2.710–81 "Обозначения условные буквенно-цифровые, применяемые на электрических схемах". Размеры условных обозначений приведены в ГОСТ 2.747–68, ГОСТ 2.728–74, ГОСТ 2.755–74 и ГОСТ 2.721–74. На структурных схемах изображают основные функциональные части изделия и основные взаимосвязи между ними. Все функциональные части изделия изображают в виде прямоугольников или условных графических обозначений. Наименования, обозначения и типы функциональных частей указывают внутри прямоугольников. При большом количестве функциональных частей допускается обозначать их порядковыми номерами, проставляемыми сверху вниз в направлении слева направо, а наименование, обозначение и типы указывать в таблице, помещенной над основной надписью.
Рис. 20 Направление хода процесса следует обозначать стрелками на линиях связи. На принципиальных схемах изображают все электрические элементы, необходимые для осуществления контроля в изделии заданных электрических процессов, все электрические связи между ними, все электрические элементы, которыми заканчиваются входные и выходные цепи. Схемы вычерчивают для элементов, находящихся в отключенном положении. Элементы на схеме изображают в виде условных графических обозначений, согласно следующим стандартам: ГОСТ 2.722–68. Машины электрические; ГОСТ 2.723–68. Катушки индуктивности, дроссели, трансформаторы, автотрансформаторы и магнитные усилители; ГОСТ 2.724–68. Электромагниты; ГОСТ 2.728–74. Резисторы, конденсаторы; ГОСТ 2.729–68. Приборы электроизмерительные; ГОСТ 2.730–73. Приборы полупроводниковые; ГОСТ 2.751–73. Электрические связи, провода, кабели, шины: ГОСТ 2.731–81. Приборы электровакуумные; ГОСТ 2.755–74. Коммутационные устройства и контактные соединения. Условные графические обозначения элементов вычерчиваются на схеме в положении, в котором они изображены в соответствующих стандартах или в повернутом на угол, кратный 90° по отношению к этому положению. В отдельных случаях поворачивают на угол, кратный 45°. Условные графические обозначения в схемах выполняют двумя способами: совмещенным или разнесенным. Схемы выполняют в однолинейном или многолинейном изображении. Линии связи показываются полностью. Если необходимо их оборвать, то обрывы линий заканчивают стрелками с обозначениями мест подключения. Рекомендуемая толщина линий электрической связи 0,3–0,4 мм. Каждый элемент, входящий в изделие и изображенный на схеме, должен (в соответствии с ГОСТ 2.710–81 п.3.) иметь позиционное обозначение, составленное из букв, представляющих сокращенное наименование элемента (например, резистор – R ), порядкового номера, проставленного после буквенного обозначения, и буквенного кода, указывающего функциональное назначение элемента (например, R2N – резистор R2, используемый как измерительный). Порядковые номера элементам присваиваются, начиная с единицы, в пределах одинаковой группы элементов (например, Т1, Т2, ТЗ и т.д.). Цифры и буквы выполняются одним размером шрифта. Позиционные обозначения проставляют рядом с условным графическим обозначением элементов, по возможности справа или слева над ними. Пример выполнения групповой электрической схемы согласно ГОСТ 2.113–75 приведен в приложении 6. Условные графические обозначения полупроводниковых приборов приведены в приложении 7. На комбинированных схемах элементы и связи (электрические, гидравлические и т.п.) изображают по правилам, установленным для соответствующих видов схем данного типа. Позиционные обозначения должны быть сквозными, за исключением электрических элементов, имеющих буквенно-цифровые позиционные обозначения. Схемы должны быть оформлены в соответствии с правилами, установленными для данного вида схем. Для обмоток и изделий с обмотками (трансформаторов, электрических машин и т.д.) схемы структурные, принципиальные и подключения выполняют по ГОСТ 2.702–75, схемы соединения и расположения выполняют по ГОСТ 2.702–75 и ГОСТ 2.705–70; элементы обмотки - по ГОСТ 2.723–68. Допускается при одинаковых соединениях элементов в многофазных изделиях изображать их только в одной фазе с указанием на поле схемы, что соединения в остальных фазах выполняются аналогично. Допускается указывать направление тока на изображении элементов обмотки и на изображении соединения. Допускается для выделения принадлежности элементов к разным обмоткам выполнять разными радиусами полуокружности в условном графическом обозначении (рис. 21). Допускается для выделения отдельных элементов обмотки среди многократно повторяющихся одинаковых изображений выполнять эти элементы линиями большей толщины.
Рис. 21 Допускается начала и концы элементов обмотки обозначать на схеме числами, буквами (Н – начало элемента, К – конец элемента), точками, наносимыми около начала элемента обмотки. Полярность главных полюсов электрических машин обозначают буквами N (северный полюс) и S (южный полюс); полярность добавочных полюсов – буквами n и s . Допускается помещать на поле схемы необходимые технические данные. Схемы соединений в зависимости от расположения элементов обмоток выполняют в трех вариантах: разверткой на плоскость; применительно к виду на изделие с определенной стороны; в виде, определяемом удобством чтения схемы. Каждый элемент обмотки схем расположения, состоящий из одной или нескольких проводников, изображают одной линией. Все элементы обмотки нумеруют слева направо или сверху вниз. Допускается на поле схемы дополнительно изображать элементы в виде прямоугольников, внутри которых помещают их цифровые обозначения. 2.5. Оформление иллюстраций, графиков и таблиц Пояснительные иллюстрации помещают в записке для наглядного представления результатов расчета или анализа. В пояснительной записке количество иллюстраций должно быть достаточным для пояснения излагаемого текста. Для иллюстрации внешнего вида изделия, приемов сборки, монтажа и т.д. рекомендуется использовать фотоснимки. Менее сложные по исполнению иллюстрации могут быть выполнены карандашом, чернилами (черными или синими), тушью. Не рекомендуется выполнять иллюстрации в записке фломастерами. Иллюстрации должны быть расположены по тексту записки (и воз можно ближе к соответствующим частям текста). Все размещенные в записке иллюстрации, если их более одной, нумеруют арабскими цифрами в пределах всей записки (например, рис. 1, рис. 2 и т.д.). Ссылки на иллюстрации делают по типу, "рис. 2" или "рис. З". Ссылки на ранее упомянутые иллюстрации дают с сокращенным словом "смотри", например, "см. рис. 13". Иллюстрации можно давать с подрисуночной подписью и без нее, но по всей рукописи должно быть соблюдено единообразие. На каждый рисунок должна быть обязательная ссылка в тексте, например, "на рис. 6 изображена зависимость A = f (B)". Графические зависимости вычерчивают в рамке без стрелок с координатной сеткой. Координатная сетка не должна быть слишком частой. Толщина линий рамки и координатной сетки должны быть одинаковые. Толщина линий графической зависимости должна быть не менее 3-кратной толщины линий координатной сетки. В соответствии с координатной сеткой рядом с рамкой должны быть указаны масштабы и единицы измерения изображаемых на графике величин. Символические изображения аргумента и функции указываются в соответствующих углах на поле рамки. Пример изображения графической зависимости приведен на рис. 22, a . Если необходимо в одной рамке привести изображения нескольких зависимостей, то масштабы, единицы измерения и символы изображаемых величин следует размещать как показано на рис. 22, б . При этом каждая кривая зависимости должна быть соответствующим образом обозначена. Если графическая зависимость предназначена для характеристики только качественной стороны процесса, то координатная сетка не строится, а зависимость изображается в координатных осях, как показано на рис. 22, в . Свободные поля в графиках не допускаются. Если показатели графика не занимают всей его площади, то следует делать разрывы, сохраняя при этом начало координат (рис. 22, г ). В дипломном проекте, а иногда и в курсовом, для иллюстраций приведенных расчетов и экспериментов на листы выносят графические зависимости, например, характеристики электрической машины, осциллограммы токов и напряжений или переходные процессы какого-либо параметра. Такие графики представляются на листах формата 12, 13, 24. Графические зависимости вычерчивают в рамке общего листа и с обязательным штампом в правом нижнем углу листа. Правила оформления графиков справедливы как для рисунков в пояснительной записке, так и для графиков, выполняемых на листах. Иллюстрационные графики на листах предназначены оказывать помощь студентам при защите проектов, поэтому для наглядности они должны выполняться в значительно больших масштабах, чем рисунки в пояснительной записке. Цифровой материал, как правило, оформляется в виде таблиц.
Рис. 22 Таблицы малого формата располагаются по тексту рукописи. Большие таблицы (формата А3) прикладываются в конец рукописи, а по тексту даются обязательно ссылки на них, например: "Данные расчета магнитной цепи генератора приведены в табл.3". Пример оформления таблицы приведен в приложении 9 (таблица перехода к допускам Единой системы допусков и посадок СЭВ для размеров от 1 до 500 мм). 2.6. Угловые штампы. Спецификация. Основные надписи на конструкторских документах Согласно ГОСТ 2.104–68 предусмотрены (формы угловых штампов для основных надписей: форма1 – для чертежей и схем (рис. 23, а ); -форма 2 – для текстовых конструкторских документов (первый или заглавный лист) (рис. 24); форма 2а – для последующих листов всех документов (рис.23, б ). Согласно ГОСТ 2.102–68 спецификация – документ, определяющий состав сборочной единицы, комплекса, комплекта. Спецификация выполняется на отдельных листах формата А3 над основной надписью (формы 2 и 2а по ГОСТ 2.104–68) и заполняется сверху вниз в следующем порядке: документация, комплексы, сборочные единицы, детали, стандартные изделия, прочие изделия, материалы, комплекты (форма 1 по ГОСТ.2.108–68). Спецификация на чертежи, схемы и другие документы заполняется чертежным шрифтом и вкладывается в пояснительную записку КП или ДП.
Рис. 23 На рис. 24 представлены формы спецификации и углового штампа по форме 2 для основной надписи и размеры для вычерчивания спецификации. Размеры для вычерчивания штампа по форме 1 даны на рис. 23, а . Каждый чертеж, схема, график должны иметь основную надпись по форме 1 или 2а (рис. 23). Основная надпись для спецификации выполняется по форме 2 или 2а (см. рис. 24). Каждый лист проекта должен быть подписан студентом, руководителем и соответствующими консультантами. В графах основной надписи указывают: в графе 1 – наименование изделия (в соответствии с требованиями ГОСТ 2.109–73), а также наименование документа, если ему присвоен шифр (по ГОСТ 2.102–68), или тему проекта, или наименование графика; в графе 2 – обозначение документа; в графе 3 – обозначение материала детали (графу заполняют только на чертежах детали); в графе 4 – для дипломного проекта – ДП; – для курсового проекта – КП; – для типового расчета – ТР; в графе 5 – массу изделия по ГОСТ 2.109–73; в графе 6 – масштаб (проставляется в соответствии о ГОСТ 2.302–68 и ГОСТ 2.109–73); в графе 7 – порядковый номер листа (на документах, состоящих из одного листа, графу не заполняют); в графе 8 – общее количество листов документации, (графу заполняют только на первом листе); в графе 9 – указывают "МЭИ ЭКАО" и номер группы; графы 10, 11 – не заполняются; в графе 12 – фамилия и инициалы должностных лиц, подписывающих лист; в графе 13 – подписи должностных лиц; в графе 14 – дата подписей. Номера граф на формах показаны в скобках.
Рис. 24 2.7. Обозначения буквенно-цифровые в электрических схемах Согласно ГОСТ 2.710–81 элемент данного вида в электрических схемах может быть обозначен одной буквой – общим кодом вида элемента или двумя буквами – кодом данного элемента. К буквенному коду может быть добавлена цифра – порядковый номер элемента в данной схеме. Одно- и двухбуквенные коды обозначения сведены в табл.1. Таблица 1 Буквенные коды элементов
Согласно ГОСТ 2.710–81 буквенный код элементов в электрических схемах может состоять и из трех букв, где третья буква указывает на функциональную принадлежность элемента. Буквенные коды для указания функционального назначения элементов приводятся в табл. 2. Таблица 2 Буквенные коды функционального назначения элементов
Обозначение элемента в общем случае состоит из трех частей, указывающих вид элемента, его номер и функцию. Вид и номер обязательны. Код элемента размещается справа от изображения элемента . Допускается изображать его над элементом сверху при невозможности расположить справа (см. приложение 6). ПРИМЕР: TV1А – трансформатор напряжения вспомогательный с порядковым номером 1. ЛИТЕРАТУРА 1. Памятка автору и редактору. М.: Моск. энерг. ин-т , 1983. 52 с. 2. Методические указания до дипломному проектированию. М.: Моск. энерг. ин-т, 1982. 380 с. 3. Методические указания к типовому расчету по курсу "Технология электрооборудования летательных аппаратов". М.: Моск. энерг. ин-т, 1988. 40 с. 4. Методические указания по графическому оформлению курсовых и дипломных проектов. М.: Моск. энерг. ин-т, 1980. 22 с. 5. Методические указания к выполнению курсовых и дипломных проектов. Оформление конструкторских разработок и схем. М.: Моск. энерг. ин-т, 1984. 40 с. 6. Методические указания по курсу "Инженерная графика". Оформление конструкторской документации в электротехнике. М.: Моск. энерг. ин-т, 1985. 89 с. 7. Поспелов Л.И. Конструкции авиационных электрических машин М.: Энергоиздат, 1982. 320 с. 8. Анурьев В. И. Справочник конструктора - машиностроителя: В 3 т. М.: Машиностроение, 1980. Т.1. 728 с.; Т.2. .559 с.; Т.3. 584 с. 9. Гель П.П. , Иванов-Есипович Н.К. Конструирование и микроминиатюризация радиоэлектронной аппаратуры: Учебник для вузов. Л.: Энергоатомиздат, 1984. 536 с. 10. Орлов П.И. Основы конструирования: Справочно-методическое пособие. В 3 т. М.: Машиностроение, 1977. Т.1. 623 с.; Т.2. 574 с.; Т.З. .360 с. 11. Транзисторы для аппаратуры широкого применения: Справочник/ К.М.Брежнева, Е.И.Гентман, Т.Л. Давыдов и др.: под ред. Б.Л. Перельмана. М.: Энергия, 1981. 656 с. 12. Мощные полупроводниковые приборы. Транзисторы: Справочник/ Б.А.Бородин, С.М.Ломакин, В.В. Мокряков и др.: под ред. А.В. Голомедова. М.: Радио и связь, 1985. 560 с. 13. Аналоговые интегральные микросхемы: Справочник/ Б.П.Кудряшов, Ю.В.Назаров, Б.В. Ушибышев. М.: Радио и связь, 1981. 160 с. (Массовая радиобиблиотека; Вып. 1033). 14. Справочник по полупроводниковым диодам, транзисторам и интегральным схемам/ Под ред. П.Н.Горюнова. М.: Энергия, 1976. 744 с. 15. Справочник по преобразовательной технике/ Под ред. И.М. Чиженко. Киев: Техника, 1978. 16. Микропроцессорные комплекты интегральных схем. Состав и структура: Справочник / Под ред. А.А.Васенкова, В.А.Шахнова. М.: Радио и связь, 1982. 192 с. 17. Интегральные микросхемы: Справочник / Б.В.Тарабрин, Л.Ф. Лунин, Ю.Н.Смирнов и др.: Под ред. Б.В.Тарабрина. М.: Радио и связь, 1984. 528 с. 18. Нестеренко Б. К. Интегральные операционные усилители: Справочное пособие по применению. М.: Энергоиздат, 1982. 128 с. 19. Микросхемы , и их применение: Справочное пособие / В.А.Батушев, В.Н.Вениаминов, В.Г.Ковалев, О.Н.Лебедев, А.И.Мирошниченко. 2-е изд., доп. и перераб. М.: Радио и связь, 1982. 272 с. (Массовая радиобиблиотека; Вып. 1070). 20. ОСТ 11336.919 –81 . Приборы полупроводниковые. Системы условных обозначений. 21. ГОСТ 10662 –73 . Вентили силовые полупроводниковые кремниевые неуправляемые. Общие технические условия. 22. ГОСТ 14069 –72 . Вентили силовые полупроводниковые кремниевые управляемые - тиристоры. 23. ГОСТ 15133 –77 . Приборы полупроводниковые. Термины и определения. 24. ГОСТ 18421 –73 . Усилители операционные. Термины и определения. 25. ГОСТ 18682 –73 . Микросхемы интегральные. Классификация и система условных обозначений. 26. ГОСТ 18894 –73 . Стабилитроны полупроводниковые. Электрические параметры. Термины и определения, обозначения. 27. ГОСТ 19095 –73 . Транзисторы полевые. Электрические параметры. Термины, определения и буквенные обозначения. 28. ГОСТ 19480 –74 . (СТ СЭВ 1817–79). Микросхемы интегральные. Термины, определения и буквенные обозначения электрических параметров. 29. ГОСТ 19852 –74 . Фоторезисторы. Фотодиоды. Фототранзисторы. Фотоэлектрические параметры и характеристики. Термины, определения и буквенные обозначения. 30. ГОСТ 20003 –74 . Транзисторы биполярные. Электрические параметры. Термины, определения и буквенные, обозначения. 31. ГОСТ 20004 –74 . Диоды полупроводниковые. Электрические параметры. Термины, определения и буквенные обозначения. 32. ГОСТ 20332 –74 . Тиристоры. Электрические параметры. Термины, определения и буквенные обозначения. 33. ГОСТ 21934 –76 . Приемники излучения полупроводниковые фотоэлектрические. Термины и определения. 34. ГОСТ 22274 –80 . Излучатели полупроводниковые. Термины, определения и буквенные обозначения параметров. 35. ГОСТ 23562 –80 . Оптопары. Термины, определения и буквенные обозначения параметров. 36. ГОСТ 2.730 –73 (СТ СЭВ 661–77). ЕСКД. Обозначения условные графические в схемах. Приборы полупроводниковые. 37. ГОСТ 2.743 –72 . ЕСКД. Обозначения условные графические в схемах. Двоичные логические элементы. 38. ГОСТ 17465 –80 . Диоды полупроводниковые. Основные параметры. 39. ГОСТ 17466 –80 . Транзисторы биполярные и полевые. Основные параметры. 40. ГОСТ 23547 –79 . Коммутаторы оптоэлектронные. Основные параметры. 41. ГОСТ 24173 –80 . Тиристоры. Основные параметры. 42. ГОСТ 24352 –80 . Излучатели полупроводниковые. Основные параметры. 43. ГОСТ 24458 –80 . Оптопары полупроводниковые. Основные параметры. 44. ГОСТ 19521 –74 . Сварка металлов. Классификация. 45. ГОСТ 17349 –79 . Пайка. Классификация способов. 46. ГОСТ 19248 –73 . Припои. Классификация. 47. ГОСТ 19250 –73 . Флюсы паяльные. Классификация. 48. ГОСТ 20495 –75 . Упрочнение металлических деталей поверхностной химикотермической обработкой. Характеристики и свойства диффузионного слоя. Термины и определения. 49. ГОСТ 4784 –74 . Алюминий и сплавы алюминиевые деформируемые. Марки. 50. ГОСТ 2.001 –70 . Единая система конструкторской документации. Общие положения. 51. ГОСТ 2.002 –72 . Единая система конструкторской документации. Требования к моделям, макетам и темплерам, применяемым при конструировании. 52. ГОСТ 2.103 –68 . Единая система конструкторской документации. Стадии разработки. 53. ГОСТ 2.801 –74 . Единая система конструкторской документации. Макетный метод проектирования. Геометрическая форма, размеры моделей. 54. ГОСТ 19838 –82 . Характеристика контролепригодности изделий авиационной техники. Правила изложения и оформления. 55. ГОСТ 23945 –80 . Унификация изделий. Основные требования 56. ГОСТ 3.1428 –77 . Единая система технологической документации. Правила оформления документов на процессы изготовления печатных плат. 57. ГОСТ 14.201 –83 . Единая система технологической подготовки производства. Общие правила обеспечения технологичности конструкций иэделий. 58. ГОСТ 9.039 –74 (СТ СЭВ 991–78). Единая система защиты от коррозии и старения материалов и изделий. Коррозионная агрессивность атмосферы. 59. ГОСТ 21484 –76 . Покрытия металлические и неметаллические неорганические защитно-декоративные. Классификация. Обозначения. Требования к выбору. 60. ГОСТ 3.1404 –74 . Единая система технологической документации. Правила оформления документов на механическую обработку. 61. ГОСТ 3.1405 –74 . Единая система технологической документации. Правила оформления документов на термическую обработку. 62. ГОСТ 3.1421 –75 . Единая система технологической документации. Правила оформления документов на типовые технологические процессы изготовления деталей из пластмасс. 63. ОСТ4 10.010.009 . Редакция 2-73. Узлы и блоки радиоэлектронной аппаратуры на микросхемах. Конструирование, 1974. 191 с. 64. ГОСТ 7396.0 –89 (МЭК 884–1–87), ГОСТ 29146.1–91 (МЭК 309–1–88). Вилки, розетки, разветвители бытового и аналогичного назначения. 65. ГОСТ 24566 –86 . Соединители плоские втычные. 66. ГОСТ 28190 –89 (МЭК 320–81). Вилки и розетки приборные. 67. ГОСТ 25516 –82 . Выключатели и переключатели для электроприборов. 68. ГОСТ 25045 –81 , ГОСТ 26103–84. Материалы электроизоляционные слюдосодержащие. 69. ГОСТ 25500 –82 . Материалы электроизоляционные слоистые. 70. ГОСТ 26246.3 , 5, 7, 9, 11, 13 – 89. Материалы электроизоляционные фольгированные. 71. ГОСТ 27133 –86 . Материалы электроизоляционные слоистые намотанные. 72. ГОСТ 26858 –86 . Бумаги слюдяные электроизоляционные. 73. ГОСТ 27380 –87 . Стеклопластики профильные электроизоляционные. 74. ГОСТ 27386 –87 . Материалы электроизоляционные пленкосодержащие. 75. ГОСТ 28034 –89 . Лакоткани электроизоляционные. 76. ГОСТ 17675 –86 . Трубки электроизоляционные. 77. ГОСТ 16264.0–85 , ГОСТ 16264.1–85. Двигатели асинхронные мощностью до 1 кВт. 78. ГОСТ 16264.0–85 , ГОСТ 16264.2–85. Двигатели синхронные мощностью до 1 кВт. 79. ГОСТ 16264.0–85 , ГОСТ 16264.3–85. Двигатели коллекторные мощностью до 1 кВт. 80. ГОСТ 16264.0–85 , ГОСТ 16264.4–85. Двигатели постоянного тока бесконтактные мощностью до 1 кВт. 81. ГОСТ 16264.0–85 , ГОСТ 16264.5–85. Двигатели шаговые мощностью до 1 кВт. 82. ГОСТ 28330–89 , ГОСТ 183–74. Двигатели асинхронные мощностью от 1 кВт.
ЗАКЛЮЧЕНИЕ В материал учебного пособия включена информация для успешного выполнения студентами курсового и дипломного проектирования. В учебном пособии дана полная информация о новейших достижениях отечественной промышленности в области разработки и производства как электрооборудования летательных аппаратов, так и электротехнических изделий в целом. Материал учебного пособия содержит основные правила выполнения чертежей реальных конструкций промышленного изготовления и узлов электротехнических изделий. Изложенные вопросы методических указаний способствуют закреплению теоретических знаний, полученных при изучении курсов "Технология конкурентоспособных изделий" и "Конструкции и технология электрооборудования летательных аппаратов", повышают уровень конструкторской и технологической подготовки инженеров и магистров, способствуют приобретению профессионального опыта по конструированию и организации технологических процессов изготовления электротехнических изделий. Данное методическое пособие имеет компьютерный набор, что позволяет использовать изложенный материал при дистанционном обучении студентов по направлению "Электротехника, электромеханика и электротехнологии" |

Сварное, паяное, клееное и подобные изделия из однородного материала в сборе с другими изделиями в разрезах и сечениях штрихуют как монолитное тело (в одну сторону), изображая границы между деталями сварного изделия сплошными основными линиями (рис. 2).

Провода представляют собой изолированные проводники для монтажа на щитах, панелях или для соединений между приборами и аппаратами. Провода подразделяются по назначению на силовые, монтажные и обмоточные. Кабели – изделия, выполненные из гибких изолированных проводов, заключенных в герметичные оболочки.
Изоляцию однослойную и многослойную, толщина которой на чертеже 2 мм и более, штрихуют как неметаллические монолитные материалы (причем многослойную изоляцию из одного материала изображают как монолит-

Оформление таблиц должно соответствовать требованиям ГОСТ 2.105–79 ЕСКД. Все таблицы также нумеруются арабскими цифрами со сквозной нумерацией по разделам. Разрешается при нумерации слово таблица сокращать, например, "табл.1". После номера должно идти название таблицы, соответствующее ее содержанию.







