Курсовая работа: Приемная антенна прибора гидроакустической связи
|
Название: Приемная антенна прибора гидроакустической связи Раздел: Рефераты по коммуникации и связи Тип: курсовая работа | |||||||||||||||||||||||||||||||||||||||
Санкт-Петербургский Государственный Морской Технический Университет Факультет морского приборостроения. Кафедра 50 Пояснительная записка к курсовому проекту ПРИЕМНАЯ АНТЕННА ПРИБОРА ГИДРОАКУСТИЧЕСКОЙ СВЯЗИ группа 53ИС1Т Студент: Сёмин И.В. Преподаватель: Огурцов Ю.П. Санкт-Петербург 2005 Содержание Введение 1 Расчет характеристик направленности и коэффициента осевой концентрации антенны 2 Выбор и обоснование колебательной системы 3 Выбор активного материала и определение размеров колебательной системы 4 Расчет электроакустических параметров на резонансной частоте 5 Расчет чувствительности 6 Определение толщины обтекателя 7 Описание конструкции антенны 8 Описание технологии сборки антенны 9 Расчет эффективности антенны 10 Описание методики измерения параметров и характеристик антенны: направленности Заключение Список литературы Введение Акустические волны – единственный вид излучения, способный распространяться в воде на большие расстояния благодаря сравнительно малому затуханию. Используя устройства, в основу которых положен принцип использования гидроакустического поля, можно решить массу технических задач: измерение глубины, определение рельефа дна, безопасность судовождения, добыча полезных ископаемых, коммуникация в водной среде и многое другое. Для излучения и приема акустических волн в водной среде используют тела, поверхности которых способны совершать акустические колебания. Процесс преобразования электрической энергии в акустическую выполняют подводные электроакустические излучатели и приемники, входящие в состав антенны, и называемые гидроакустическими преобразователями. (ГАП) В данной курсовой работе необходимо рассчитать и разработать конструкцию приемной гидроакустической антенны для навигационной системы. Носителем антенны является подводный пловец, максимальная глубина погружения 50 метров. Конструкция антенны силовая, по типу одиночный преобразователь с пьезоэлектрическим типом преобразования. Колебательная система – стержневая. 1 Расчет характеристик направленности и коэффициента осевой концентрации антенны Направленность антенны представляет зависимость ЭДС на выходе (или чувствительности) приемника от направления падающей на его диафрагму плоской волны. Направленность антенны можно рассматривать как её способность принимать звуковую энергию в определенном телесном угле. По исходным данным известно, что вид характеристики направленности – осе симметричная, следовательно рабочая поверхность круглая и для расчета характеристики направленности будем использовать следующую формулу [1]:
Где: J1 – функция Бесселя; λ – длина волны в воде на частоте резонанса; а – радиус диафрагмы; l = по заданию: c = 1500 м/с f = 380 кГц [3]
а=0,138м
Рис.1 Диаграмма направленности антенны при θ 0-90°
Рис.2 Диаграмма направленности антенны при θ 0-2° Коэффициент осевой концентрации антенны характеризует направленные свойства приемника при падении на его диафрагму волн со всех направлений, например от источников помех. Эта величина, К0 показывает во сколько раз меньшая энергия помех от равномерно распределенных источников в окружающем пространстве воздействует на направленный приемник, чем на ненаправленный. Иначе, К0 оценивает степень подавления помех, т.е. помехоустойчивость ГАП в режиме приема. Коэффициент осевой концентрации – отношение квадрата чувствительности в максимальном направлении к среднему квадрату чувствительности во всех направлениях. К0 = Где: S – площадь рабочей поверхности излучателя
К0 = 48160 2 Выбор и обоснование колебательной системы По структуре колебательной системы гидроакустические преобразователи делятся на группы: стержневые, цилиндрические, пластинчатые, сферические. Вид механической колебательной системы преобразователя определяется главным образом рабочей частотой гидроакустического устройства, составной частью которой является проектируемая антенна: - для частот до 2-3 кГц пригодны пластинчатые и цилиндрические преобразователи, в которых используется изгибные колебания. - для частот до 25-30 кГц используют пульсирующие цилиндрические преобразователи. - для частот выше 25-30 кГц – стержневые преобразователи. В стержневых системах применяются: свободный электромеханический активный стержень, стержень с одной или двумя накладками из неактивного (пассивного) материала, в них возбуждаются продольные колебания по оси стержня с определенным распределением амплитуд, при этом колебания торцов можно считать поршневыми. На высоких частотах накладка не нужна; на средних – применяется, как правило стержень с одной накладкой; на низких – стержень с двумя накладками. Основным материалом для изготовления ГАП является пьезокерамика. Технологичность и хорошие электромеханические характеристики этого материала позволяет использовать его в качестве активного элемента преобразователя. По заданию рабочая частота равна 380 кГц, задана стержневая колебательная система; тип антенны: одиночный преобразователь; принцип преобразования: пьезоэлектрический. Следовательно, рационально использовать пьезоэлектрический стержень дисковой формы. 3 Выбор активного материала и определение размеров колебательной системы В качестве активных материалов ГАП современных антенн, как правило применяют пьезокерамику различных составов и сплавов и магнитострикционные металлы и сплавы. Из параметров, характеризующих работу гидроакустических преобразователей в режиме приема, наиболее важными являются следующие: 1) чувствительность 2) характеристика направленности 3) коэффициент осевой концентрации Эффективность осуществляемого приемником акустико-электрического преобразования оценивают чувствительностью приемника. В зависимости от назначения пьезокерамические материалы делят на 4 класса. Материалы I класса пригодны для производства пьезоэлементов приемников и излучателей малой и средней мощности, сюда входят ЦТСНВ-1, ЦТС-19, ЦТБС-1. Из материалов II класса изготовляют элементы, работающие в сильных электрических полях и при больших механических напряжениях и пригодные для излучателей большой (ЦТСС-1, ЦТС-23) и средней мощности (ЦТБС-3, ТБК-3, НБС-1). Материалы III класса используются для производства пьезоэлементов с повышенной стабильностью параметров во времени и при изменении температуры (ЦТС-22, НБС-3). Материалы IV класса используются для производства высокотемпературных пьезоэлементов, обладающих повышенной стабильностью параметров в заданном интервале температур и механических напряжений. Следовательно, в качестве активного материала, выбирается такой материал, который обладает наибольшей чувствительностью. Исходя из требований по чувствительности, а также меньшего расхода активного материала выбирается пьезокерамика марки ЦТБС-3. Материал марки ЦТБС-3 имеет следующие значения постоянных [4] В таблице приняты следующие обозначения: r – плотность; Ei – модуль упругости; сi– скорость звука; e / e0 – относительная диэлектрическая проницаемость; ru – удельное электрическое сопротивление; sр – предел прочности при статическом растяжении; tк, – температура (точка) Кюри; в – пьезоэлектрический модуль, k – коэффициент электромеханической связи. Преобразователь стержневого типа, который обеспечивает заданную относительную ширину полосы частот около 5%. По методичке [4], при продольном пьезоэффекте основная электромеханическая частота:
где: l – размер стержня в направлении колебаний 1) Длина стержня:
Таблица 1
2) Масса:
4 Расчет электроакустических параметров на резонансной частоте Пьезоэлектрический диск с использованием пьезоэффекта – продольного:
Рис. 3 По учебному пособию [4] условие электромеханического резонанса при продольном пьезоэффекте – для сплошного стержня:
где: l – размер стержня в направлении колебаний Из условия при продольном пьезоэффекте, получается:
Коэффициент электромеханической трансформации (КЭМТ). При продольном пьезоэффекте:
Электромеханическая добротность:
где Ширина полосы пропускания:
Электрическая емкость:
где:
Электрический импеданс преобразователя: при
где:
где: r – сопротивление активное механическое,
где: - - - Следовательно, активное сопротивление:
Электрический импеданс:
Активная составляющая: 2,165 Ом Реактивная составляющая: Электромеханический КПД при резонансе
5 Расчет чувствительности Чувствительность приёмника при электромеханическом резонансе [4]:
где: - Коэффициент электромеханической трансформации:
- -
- - где:
6 Определение толщины обтекателя В качестве обтекателя антенны выберем звукопроводящую резину С-572, которая не создает дополнительных препятствий для прохождения звуковой волны. Свойства и применение резины: маслостойкая, электроизоляционные. Герметизация пьезоблоков, вводов, и соединений проводов и кабелей, уплотнительные прокладки, диафрагмы компенсаторов. Данный выбор марки резины сделан на основании того факта, что она полностью удовлетворяет требованиям задания, скорость звука в ней близка к скорости звука в воде, а ее волновое сопротивление близко к (rc) воды и обеспечивает почти полное прохождение звука с минимальными потерями, которыми можно пренебречь. Кроме того, эту резину можно использовать на глубине до 400 метров, что удовлетворяет условию исходных данных, так как по заданию величина погружения 50 метров. Толщину резины (dр) выбирается в зависимости от частоты. На частотах более 100 кГц (dр) ³ 5 мм. Примем толщину резины 10 мм с технологическим запасом.
где
tp – коэффициент прохождения волны h – толщина обтекателя
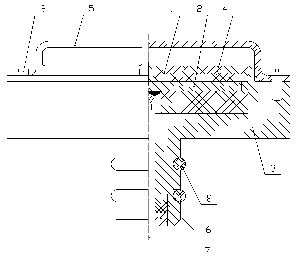
7 Описание конструкции антенны Антенна с общим контуром герметизации делятся на антенны силовой и компенсированной конструкции. Контур герметизации антенны силовой конструкции полностью воспринимает на себя внешнее гидростатическое давление, и преобразователи антенны такой конструкции находятся при одном и том же давлении независимо от глубины погружения. Преобразователь, входящий в состав проектируемой антенны, имеет силовую конструкцию. Внутренняя полость преобразователя заполнена воздухом. Конструкция антенны изображена на сборочном чертеже и (рис 4), где : 1 – активный элемент; 2 – электроизоляционное основание, акустически мягкий экран – пористая резина марки 51-1415 (для глубин до 300 м); 3 – металлическое основание; 4 – обтекатель; 5 – защитная решетка; 6 – уплотнительная трубка; 7 – гайка; 8 – кольца уплотнительные; 9 – винты крепления защитной решетки; 10 – шайба; 11 – кабель соединительный. Колебательная система состоит из пьезокерамического стержня. В силовых конструкциях (рис. 4) забортное гидростатическое давление благодаря механической трансформации вызывает в активном элементе одностороннее напряжение (сжатие), т.к. внутренний объем корпуса заполнен воздухом при нормальном атмосферном давлении. Данный пьезоэлектрический преобразователь представляет собой полуволновой электромеханический активный стержень, т.е. стрежневую систему с одной приемной накладкой, которая выполняет герметизацию внутренней полости преобразователя (силовой конструкции), которую заполняют воздухом или каким либо инертным газом, например элегазом (шестивтористой серой). Газ, заполняющий внутреннюю полость преобразователя, обеспечивает хорошую акустическую экранировку остальных элементов колебательной системы.
Рис. 4 Стержневой пьезокерамический преобразователь 8 Описание технологии сборки антенны Преобразователь содержит активный элемент в виде одиночного пьезокерамического преобразователя, выполненного из материала ЦТС-19, боковые поверхности которого посеребрены и являются электродами. Припаянные к электродам выводы присоединены к проводу. Сверху и снизу на кольцо надеты электроизоляционные крышки, выполненные из текстолита. Провод продет через отверстия в крышке и основании. Чтобы вода не попала внутрь преобразователя, предусмотрено герметизирующее кольцо, выполненное при помощи вулканизации. Преобразователь с крышками прикрепляется к металлическому основанию при помощи четырех шпилек и гаек. Обтекатель изготавливается при помощи пресс-формы, внутренняя поверхность которой обеспечивает надежную форму обтекателя. При изготовлении очень важно добиться однородности обтекателя и отсутствия пузырьков воздуха в нем. При заполнении полости в пресс-форме полиуретаном, последний прочно скрепляется с основанием и не требует склеивания. Воздух из пресс-формы выходит по специальным канавкам. Для защиты антенны от механических повреждений к основанию прикручивается решетка, выполненная из металлической проволоки. В хвостовой части металлического основания имеются отверстия для уплотнительных колец. 9 Расчет эффективности антенны Под эффективностью антенны понимается совокупность свойств системы, характеризующих ее рабочие качества. Для разрабатываемой антенны наиболее важной характеристикой является чувствительность в режиме приема. Чувствительность была рассчитана в п. 7 данной курсовой работе.
Приблизительный срок эксплуатации антенны составляет около десяти лет. И, конечно же, ремонт такой сложной техники обходится далеко не дешево. Поэтому, при сборке антенны нужно стремиться к максимальной надежности системы. 10 Описание методики измерения направленности антенны В данном курсовом проекте были рассчитаны размеры и основные характеристики приемной антенны прибора гидроакустической связи. Так как размеры антенны относительно малы, то испытание её параметров и характеристик целесообразно проводить в испытательном бассейне. В подобных испытаниях очень важно избежать влияния на приемную антенну сигналов отраженных от стенок и дна бассейна или сигналов от посторонних источников шума. Для этого используются специальные звукоизолирующие экраны, при этом следует учитывать возможность появления дифракции. Так как эффективная чувствительность в режиме приема антенны
Измерительный гидроакустический бассейн представляет собой железный резервуар, установленный с помощью амортизаторов на бетонной подушке. Для звукозаглушения внутренних поверхностей бассейна используются клиновые звукозаглушающие устройства. Они выполняются из резины с воздушными полостями. Предусматривается подъемно-опускные поворотные устройства, обеспечивающие установку преобразователя. Размер бассейна 10х5х5. [6] В подобных испытаниях очень важно избежать влияния на антенну сигналов отраженных от стенок и дна бассейна или сигналов от посторонних источников шума, для этого используются специальные звукоизолирующие экраны, при этом следует учитывать возможность появления дифракции, особенно при испытании низкочастотных преобразователей. Испытуемый преобразователь (излучатель, приемник) поворачивается вокруг оси, перпендикулярной плоскости в которой определяется ХН. Расстояние r между излучателем и приемником следует выбирать так, чтобы ХН полностью сформировалась, то есть не зависят от дальнейшего увеличения r. Обычно пользуются приближенной оценкой этой величины
где L – максимальный габаритный размер преобразователя (антенны). Если за критерий взять среднюю фазовую ошибку, то относительная погрешность измерения
Расстояние r по этому критерию оценивается неравенством
Условия измерений должны соответствовать свободному полю, чтобы при каждом новом повороте регистрировался (измерялся) только прямой сигнал, распространяющийся от излучателя к приемнику. Поворот системы производится электромеханических приводом – двигателем и набором шестерней, обеспечивающих приемлемую частоту вращения, определяемую скоростью фиксации сигналов, характером среды и требуемой точностью структуры характеристики направленности. Для регистрации характеристики направленности в полярных координатах используют круглые бланки, поворачивающиеся синхронно с поворотом испытуемого преобразователя. Синхронизация движения бумаги и вращения испытуемого преобразователя лучше всего обеспечивается сельсильной связью: ось сельсина – датчика механически соединяется с валом, непосредственно вращающим преобразователем, а ось сельсина – приемника – с осью вращения бланка. Сельсины обеспечивают точность передачи угла порядка 0,5°, что вполне достаточно для большинства акустических измерений. Необходим импендансный режим работы чтобы страбировать прием только прямого сигнала. Длительность пассылки должна быть такой, чтобы накрывал антенну. Заключение В данном курсовом проекте была разработана приемной антенны прибора гидроакустической связи. Данная антенна обладает хорошей чувствительностью при приеме, характеристикой направленности и коэффициентом осевой концентрации. Технические характеристики: - Диапазон рабочей частоты 380 кГц; - Полоса частот 7,427 кГц; - Осе симметричный вид направленности; - Пьезоэлектрический принцип преобразования; - Конструкция антенны силовая; - Тип антенны одиночный преобразователь; - Стержневая полуволновая колебательная система; - Материал излучателя пьезокерамики ЦТБС-3; - Носителем антенны является подводный пловец. - Чувствительность в режиме приема В технологии сборки были приложены все усилия, чтобы система работала эффективно, без сбоев, и прослужила долгое время. Но недостатки все-таки существуют. Самый существенный из них, который снижает эффективность антенны, это то, что активный диск сделан из составных частей. Конечно, влияние также оказывает тот факт, что сроки работы данной антенны будут снижены из-за несовершенства материалов, которые были использованы при изготовлении, а также представителей морской флоры, которые, со временем, будут закрепляться на ее поверхности. Но в целом, данная антенна отвечает всем требованиям и обещает выполнять свои функции эффективно, качественно и длительное время. Список литературы 1. Г.М. Свердлин «Прикладная гидроакустика» a. Издательство «Судостроение», 1990 год. 2. Г.М. Свердлин «Прикладная гидроакустика», 1990 г. 3. Г.М. Свердлин «Гидроакустические преобразователи и антенны», Издательство «Судостроение», 1987год. 4. Учебное пособие «Расчет преобразователей» Г.М. Свердлин, Ю.П. Огурцов. Издательство ЛКИ, 1976 год. 5. Подводные электроакустические преобразователи. Справочник. a. Издательство «Судостроение», 1983 год. 6. А.Е. Колесников «Акустические измерения» Издательство «Судостроение», 1983 год. |
|||||||||||||||||||||||||||||||||||||||



,[2]
м