Контрольная работа: Магистраль с использованием симметричного кабеля
|
Название: Магистраль с использованием симметричного кабеля Раздел: Рефераты по коммуникации и связи Тип: контрольная работа | ||||||||||||||||||||||||||||||||||||||||||||||||||||||||||||||||||||||||||||||||||||||||||||||||||||||||||||||||||||||||||||||||||||||||||||||||||||||||||||||||||||||||||||||||||||||||||||||||||||||||||||||||||||||||||||||||||||||||||||||||||||||||||||
| Вариант № 5 Магистраль с использованием симметричного кабеля. Исходные данные: длина трассы:
уровень передатчика:
уровень приемника:
спектр передаваемых частот: от волновое сопротивление:
материал и тип изоляции – "кордельно-полистирольная"; относительная диэлектрическая проницаемость изоляции:
тангенс угла диэлектрических потерь на максимальной частоте:
Расcчитать: Емкость;Проводимость изоляции на максимальной частоте;Затухание кабеля на максимальной частоте;Сопротивление кабеля на максимальной частоте;Диаметр жилы без изоляции;Расстояние между центрами жил и толщину изоляции;Построить графики и определить первичные и вторичные параметры передачи на частотах: 0; Абсолютная диэлектрическая проницаемость:
1. емкость кабеля:
2. Проводимость изоляции на максимальной частоте:
3. Затухание кабеля на максимальной частоте:
5. Сопротивление кабеля на максимальной частоте:
удельное сопротивление меди:
коэффициент учитывающий эффект скрутки:
6. Из графика определим диаметр жилы без изоляции.
Диаметр жилы без изоляции равен:
7. Расстояние между центрами жил и толщина изоляции
толщина изоляции при парной скрутке
радиус жилы без изоляции
сопротивления кабеля
8.1. частотные зависимости первичных параметров Частотная зависимость сопротивления кабеля
Частотная зависимость индуктивности кабеля
Частотная зависимость тангенса угла диэлектрических потерь
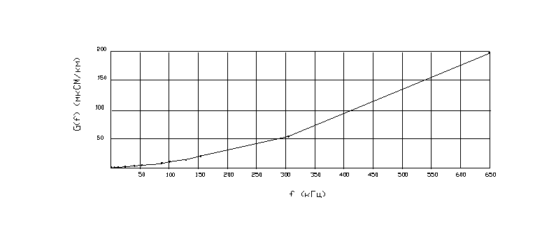
Частотная зависимость проводимости кабеля
Таблица частотных зависимостей первичных параметров
8.2. частотные зависимости вторичных параметров Частотная зависимость волнового сопротивления кабеля
Частотная зависимость коэффициента затухания и фазы кабеля Коэффициент распространения:
Коэффициент затухания:
Коэффициент фазы:
Частотная зависимость скорости распространения электромагнитной энергии
Таблица частотных зависимостей вторичных параметров
8.3. Первичные или вторичные параметры на частотах
Эскиз конструкции кабеля
Рис 1 Возможные варианты конструкции кабеля 1- полиэтиленовый шланг; 2- поливинилхлоридная лента; 3- битумный состав; 4- бронепроволока; 5- пряжа; 6- две бронеленты; 7- подушка; 8- подклеивающий слой; 9- алюминиевая оболочка; 10- поясная изоляция; 11- четверка; 12- лента; 13- кордель; 14- жила; 15- заполнитель. Список литературы: 1. Гроднев И.И., Верник С.М. Линии связи. – М.: Радио и связь, 1988; 2. Ионов А.Д., Попов Б.В., Линии связи. – М.: Радио и связь, 1990; 3. Марков С.Ю., Меліщук І.С. Дослідження первинних параметрів передачі кабельних кіл. Київ: видання КІЗ, 1999; 4. Марков С.Ю., Дослідження вторинних параметрів передачі кабельних кіл. Київ: видання КІЗ, 1999. |











