Реферат: Овощерезательная машина
|
Название: Овощерезательная машина Раздел: Рефераты по ботанике и сельскому хозяйству Тип: реферат | ||||||||||||||||||||||||||||||||||||||||||||||||||||||||||||||||||||||||||||||||||||||||||||||||||||||||||||||||||||||||||||||||||||||||||||||||
|
Не все предприятия могут позволить себе использование готовых очищенных и нарезанных овощей — сульфитированных, сушеных или замороженных. Большинство закупают свежие овощи и обрабатывают их. Под обработкой овощей на предприятиях общественного питания обычно понимают их сортировку, мытье, очистку, доочистку и измельчение. В овощных заготовочных цехах для перечисленных операций, за исключением доочистки, применяют поточные механизированные линии, укомплектованные высокопроизводительными машинами для калибровки (3000 кг/ч по яблокам), мытья (от 500 до 1250 кг/ч), очистки (100—300 кг/ч по луку) и чистки (2500 шт/ч перца), обрезки концов овощей (450-1000 кг/ч), резки овощей и фруктов (600—800 кг/ч) и др. На предприятиях средней мощности для мытья овощей, картофеля, фруктов и зелени применяют отдельные машины малой производительности, а на предприятиях малой мощности — ванны. Очистительное и, в большей степени, измельчающее оборудование выпускается в таком ассортименте, что может быть подобрано и для малых производств. Овощерезательные машины (овощерезки) Без овощерезательных машин сегодня не обходится практически ни одно предприятие питания. Блюда, для приготовления которых необходимо применение этих машин, встречаются даже в заведениях высокой кухни, где повара готовят по принципу “из-под ножа”. Ведь для того, чтобы быстро и аккуратно нарезать овощи вручную, придется потратить немало времени и сил, а результат все равно будет далек от идеала.
-для сырых овощей -для вареных овощей. На предприятиях питания наибольшее распространение получили дисковые овощерезательные машины, где рабочей камерой служит пустотелый неподвижный цилиндрический объем. Сверху предусмотрен загрузочный отсек, а сбоку располагается разгрузочный лоток. Рабочими инструментами такой машины служат диски из пищевой нержавеющей стали, которые могут иметь прямолинейную или криволинейную конфигурацию, а также выполняться в виде терок или ножевых решеток. Режущие диски крепятся на опорном диске, к поверхности которого прижимаются продукты. Виды нарезки овощей:
а — ломтик; б — брусочек (соломка); в — стружка; г — кубик; д — призмочка (квадратные пластины); е — долька Перед загрузкой овощи предварительно промывают, очищают и при необходимости разрезают на части. Затем машину включают и помещают овощи в отверстие загрузочного устройства, откуда они поступают на
В более совершенных в техническом плане дисковых овощерезательных машинах на корпус крепится загрузочный бункер улиткообразной формы, имеющий, как правило, два отверстия для подачи овощей. Большое D-образное отверстие предназначено для крупных плодов: кабачков, цельных кочанов капусты, картофеля. Маленькое круглое отверстие предусмотрено для плодов вытянутой формы (огурцов, моркови, бананов), а также для деликатной обработки нежных продуктов. Например, оно используется для шинковки пучков салата, шпината, щавеля, крабовых палочек, вареных кальмаров, болгарского перца, а также для точной нарезки ломтиков лимонов или киви. В зависимости от функционального назначения диски подразделяют: -
-
-
1.
1.1. Общие сведения процесса Машины для резки овощей, в зависимости от их назначения, принято разделять на две группы: для вареных и для сырых овощей. Овощерезки для сырых продуктов, как правило, устанавливают в заготовочные цеха, а для нарезки продуктов, подвергшихся тепловой обработке — в холодный цех. Конструктивно овощерезки разделяют на машины пуансонного типа дисковые и роторные. Наибольшее применение на предприятиях общепита получили овощерезательные машины дискового типа, в них, в качестве рабочей камеры применён статический объем цилиндрической формы. Сверху располагается отсек для загрузки, а сбоку лоток для выгрузки. Рабочими органами овощерезательной машины данного типа являются диски из гигиеничной пищевой нержавеющей стали, которые бывают криволинейной и прямолинейной конфигурации, а также в виде ножевых решеток и терок. Режущие диски закрепляются на опорном диске. Привод овощерезательных машин роторного типа состоит из клиноременной передачи и электродвигателя. Ее передачи проходит в рабочую камеру, где к нему крепится ротор, с дисковым основанием. К диску прикреплены 3 лопасти, расположенные под углом 65° друг к другу. После пуска овощерезки, лопасти совершают вращательное движение, и падающие сверху овощи оказываются на поверхности ротора. При работе они притираются между лопастями и неподвижной стенкой камеры. Благодаря центробежной силе, овощи распределяются по стенкам барабана и посредством лопастей соскальзывают вдоль стенок рабочей камеры,
Овощерезательные машины пуансонного типа. В них поршень в рабочей камере производит возвратно-поступательное движения. Когда поршень движется вверх, овощи через загрузочное отверстие попадают на решетку с ножами, при обратном движении овощи продавливаются сквозь ножевую решетку, и разрезанный продукт падает в подставленную ёмкость. Выбирая модель овощерезательной машины рекомендуется обращать внимание диаметр загрузочной воронки: чем больше диаметр, тем удобней работать — овощи не будет разрезать на куски предварительно. В некоторых моделях предусматривается смена бункеров для загрузки, предназначенных для нарезки фруктов и овощей определенным образом.
С помощью овощерезок можно выполнять нарезку фруктов и овощей разнообразной формы, в том числе художественную. К основным вариантам нарезки относятся: нарезка ломтиками (от 1 до 14мм), соломкой (от 1х8 до 8х8мм), кубиками (от 5х5х5 до 25х25х25мм) и брусочками (от 8х8 до 10х16мм). Для соответствующего вида нарезки аппараты снабжаются определенным режущим диском. По функциональному применению диски разделяют на протирочные, слайсерные и терочного типа.
Соответствуя названию, терочные диски применяют для натирания продуктов. Это диски из стального листа с отверстиями размером от 1 до 9мм, с отогнутыми и заточенными краями отверстий, что дает возможность нарезать соломкой или стружкой нужной толщины. Протирочные диски по всей площади имеют перфорационные отверстия, сквозь которые производится протирка продукта. Данные диски используются для обработки отварных продуктов: отварной печени для приготовления паштета, хорошо разваренного мяса, а также для получения картофельного пюре и супов-пюре. Из отваренных фруктов приготавливают заправки для киселя, основы для желе, готовят морсы. Качество нарезки главным образом зависит от остроты ножей, их лезвия необходимо периодически точить. Если этим пренебрегать, то тупые лезвия будут ухудшать качество реза, снижать производительность овощерезательной машины и давать большой процент отходов. Овощерезательные машины являются одним из самых распространенных видов технологического оборудования, без которого не обходится практически ни одно предприятие общественного питания. Даже если все блюда готовят вручную, все равно есть такие, для приготовления которых вовсе не обязательно использовать ручные виды нарезки, а вполне допустимо применять машинную резку (суп-пюре, картофельное пюре, морс, кисель и т.д.) или механические (бесприводные) овощерезки. Для нарезки сырых продуктов овощерезательные машины устанавливают в овощные цеха, а для нарезки продуктов, подвергшихся термообработке, - в холодные. 1.2. Классификация механизмов
В роторных овощерезках продукт заклинивается между расположенными под углом пластинками вращающегося ротора и неподвижной стенкой камеры. Скользя по стенкам, продукт наталкивается на режущие органы — плоские ножи, которые режут продукт. В пуансонных овощерезках производится продавливание продукта через неподвижные ножевые решетки. В фигурных овощерезках продукт нарезается комбинированными ножами в двух взаимно перпендикулярных направлениях. Универсальная овощерезательная машина МРО-400…1000 служит для нарезки овощей брусочками, кубиками, пластинками, кружочками, соломкой. По сравнению с универсальной машиной МУ-1000 в машине МРО-400… 1000 значительно увеличено число возможных форм нарезки овощей, улучшено качество, упрощена переналадка при смене рабочих органов и усовершенствована техника безопасности.
Универсальная овощерезательная машина МРО-50…200 служит для нарезки овощей кружочками, брусочками, соломкой, а также для шинковки. Машина МРО-50…200 по конструкции привода и принципу работы напоминает машину МРО-400…1000. Рабочая камера овощерезки является частью литого корпуса машины. Рабочими органами служат криволинейные ножи, укрепленные на опорном диске, ножевые решетки и терочный диск; вместо ножевой решетки иногда выпускаются комбинированные ножи. Овощерезка комплектуется двумя опорными дисками с разной высотой установки криволинейных ножей относительно плоскости, к которой они крепятся, что позволяет получать разную толщину отрезаемого продукта. Овощерезка имеет сбрасыватель, предназначенный для удаления измельченных овощей из зоны резания. Овощерезательная машина МРОВ-160 предназначена для нарезки вареных овощей. Она состоит из станины, корпуса, внутри которого размещены червячная передача и электродвигатель. Машина закрепляется на столе. После включения электродвигателя вареные овощи загружают в загрузочный бункер и слегка прижимают их к ножевой решетке толкачом. Плоский нож, проходя между ножевой решеткой и бункером, отрезает от клубня ломтик и своим скосом продавливает его через ножевую решетку. Нарезанные овощи собирают в подставленную тару. В зависимости от принципа работы овощерезки подразделяются на дисковые, роторные, пуансонные и комбинированного действия.
В роторных овощерезках
загруженный в камеру продукт зажимается между расположенными под углом пластинами вращающегося ротора и неподвижной цилиндрической стенкой камеры и скользит по ней. Привод овощерезательных машин роторного типа состоит из клиноременной передачи и электродвигателя. Ее передачи проходит в рабочую камеру, где к нему крепится ротор, с дисковым основанием. К диску прикреплены 3 лопасти,
В овощерезках комбинированного действия продукт нарезается сначала вращающимся двухлопастным ножом на кругляши, а затем проталкивается этим же ножом через ножевую решетку, в результате чего происходит нарезка
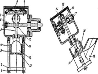
- продукт в момент измельчения должен быть неподвижен, чтобы от него можно было отрезать кусочек правильной формы. лезвие режущего органа должно быть острозаточенным. Затупленные лезвия ухудшают качество нарезки, уменьшают производительность машины, увеличивают процент отходов. Поэтому при эксплуатации овощерезок следует периодически проверять качество заточки лезвий и при необходимости отдавать их для заточки в мастерские. Некоторые машины снабжены точильным приспособлением. 1.3. Назначение устройства, принцип действия, техническая характеристика машины Дисковые овощерезки предназначены для нарезки овощей и фруктов ломтиками, брусочками, соломкой и стружкой. Рабочая камера дисковых овощерезок выполнена в виде неподвижного, открытого с обоих торцов, низкого пустотелого цилиндра, расположенного вертикально или горизонтально. На одном торце камеры располагается загрузочное устройство в виде кругового клина “улитки”, Который направляет продукт в камеру. На другом торце имеется разгрузочное устройство в виде лотка, через который удаляется обработанный продукт.
Для нарезки продукта ломтиками применяют ножи с одним лезвием, установленным параллельно плоскости
Опорный диск с ножами крепится к приводному валу, который получает вращательное движение от приводного устройства. Процесс нарезки овощей осуществляется следующим образом. Овощи из загрузочного устройства поступают на вращающийся опорный диск и движутся вместе с ним до тех пор, пока не будут остановлены стенкой камеры, имеющей форму кругового клина (“улитки”) либо цилиндра. К опорному диски овощи прижимаются за счет его заклинивания между наклонной поверхностью камеры и опорным диском или вручную с помощью толкателя. Заклинивание продукта обеспечивает его неподвижность в процессе резания, что является обязательным условием для выдерживания заданных форм и размеров частиц и получения высокого качества поверхностей среза. Продукт, первоначально округлой формы диаметром d, находится под воздействием силы ножа Pин , и реакций опорного диска и улитки в точках В и А соприкосновения с ними. По мере срезания от клубня ломтиков толщиной h, его высота уменьшается, площадь соприкосновения с диском изменяется, и оставшаяся часть клубня, соприкасаясь с опорной гранью ножей, продвигается ножами к вершине клина улитки, при этом, если направление усилия ножа проходит между точкой А и плоскостью опорного диска, тот нож стремится продвинуть клубень как можно глубже в улитку, тем самым обеспечивая неподвижность продукта в момент резания. Процесс продолжается до тех пор, пока продукт полностью не измельчится.
Схема заклинивания продукта в процессе резания в овощерезках На предприятиях общественного питания применяются дисковые овощерезки с индивидуальным электроприводом, а также в качестве сменных механизмов универсальных кухонных машин. Универсальная овощерезательная машина МРО50 – 200. Машина предназначена для нарезки сырых овощей ломтиками, брусочками, соломкой, также для шинкования капусты. Машина состоит из привода, сменных рабочих органов и съемного загрузочного устройства. Привод включает в себя электродвигатель, смонтированный на плите, имеющий устройство для натяжения ремней клиноременной передачи, и вертикальный приводной вал, установленный в подшипниковом узле. На верхней части вала закреплена втулка с двумя торцевыми шипами, передающий крутящий момент рабочим органам. На втулке закреплен трехлопастный сбрасыватель, предназначенный для удаления из машины нарезанного продукта через разгрузочное окно. На верхний торец приводного вала монтируются сменные опорные диски с ножами, которые крепятся на валу специальным винтом.
Машина МРО50- 200 работает следующим образом. После включения машины закладывают вручную овощи в одно из отверстий загрузочного устройства и прижимают толкателем к вращающемуся опорному диску. Ножи, закрепленные на опорном диске, отрезают от продукта слой за слоем в виде ломтиков, колец, брусочков, соломки. Отрезанные частицы продукта проходят в отверстия опорного диска, расположенные под ножами, захватываются вращающимся сбрасывателем и подаются в разгрузочное окно. Дисковая овощерезка к универсальной овощерезательной машине МРО400 – 1000. Овощерезка, входящая в комплект универсальной овощерезательной машины МРО400 – 1000, предназначена для нарезки сырых овощей ломтиками, кубиками, квадратными пластинами, стружкой и шинкования капусты. Дисковая овощерезка устанавливается на корпус машины МРО400 – 1000 электропривод которой через приводной вал придает вращательное движение рабочим органам овощерезки.
2. Расчетная часть 2.1. Основные формулы Определение производительности 1. Производительность дисковых овощерезательных машин может быть рассчитана по общей формуле производительности машин непрерывного действия: Q=F0 *V0 *ρ*φ, где F0 = рабочая площадь опорного диска, м2 ;
φ – коэффициент заполнения рабочей площади диска, 0,1-0,2; 2. F0 для овощерезок с заклинивающим устройством: F0 =π*(r2 max -r2 min ), где rmax ,rmin – расстояние от оси вращения до начала и конца лезвия, м; rmin – 0,012м2 ; rmax – 0,086 м2 ; 3. Средняя скорость продвижения продукта: V0 =(h*n*Zp ) /60, где h – толщина продукта, м,(0,006 – 0,010 м.); n – частота вращения диска, 180 м-1 (об/мин); Zp – количество ножей, шт; Не зная Zp , V0 можно посчитать по формуле: V0 =Q/ (F0* ρ*φ), Также V0 можно найти по исходной формуле: V0 =(h*n* Zp) /60,
4. Количество ножей можно рассчитать: Zp = (V0 *60)/(h*n), Определение мощности Мощность электродвигателя дисковых овощерезок определяется по формуле: N=(N1 +N2 ) /η, где N1 – мощность, необходимая для нарезания продукта, Вт; N2 – мощность, необходимая для преодоления силы трения продукта оп опорный диск, Вт; η - КПД передаточного механизма, 0,8-0,9; Мощность, необходимая для разрезания продукта, определяется по формуле: N1 =q*Σl*vср *K, где q – удельное сопротивление резанию продукта (для картофеля q=700 Н/м); Σl – суммарная длина лезвий ножей, м; Σl=(rmax -rmin )*Zp , vср – окружная скорость движения лезвий ножей в средней точки длины лезвия; K – коэффициент использования длины лезвия (K=0.6…0.8). Окружная скорость движения лезвий ножей определяется по формуле: vср =π*n*(rmax +rmin ), Мощность, затрачиваемую на преодоление силы трения об опорный диск, определяют по формуле: N2 =Mтр *ω, где Mтр – момент трения, Н*м; ω – угловая скорость, рад/с.
Mтр =(Рт +G)*f*r, где Рт – Усилие прижима продукта толкателем, Н; G – вес продукта, 10 Н; f – коэффициент трения продукта об опорный диск (f= 0,3…0,4); r – расчетный радиус (r=0.75*rmax ). Для овощерезок с вертикально расположенным опорным диском с заклинивающим устройством для удержания продукта, мощность, затрачиваемая на преодоление сил трения продукта, невелика и ее значением можно пренебречь. 2.2. Исходные данные Фактическая производительность Q=230кг/ч; Насыпная масса продукта ρ =700 кг/м3 ; Коэффициент заполнения рабочей площади диска φ= 0,2; Рабочая площадь r max =0,086 м2 ; r min =0,012 м2 ; Толщина продукта h=0,008 м; Частота вращения диска n=180м-1 (об/мин); Количество ножей по технической характеристике Zp =3; КПД передаточного механизма η =0,8; Вес продукта G=10 H; Усилие прижима продукта толкателем Pт =60 Н; Коэффициент трения продукта об опорный диск f=0,3; Удельное сопротивление резанию продукта q=700Н/м; Коэффициент использования длины лезвия К=0,7;
2.3.
Определение производительности 1. Производительность дисковых овощерезательных машин может быть рассчитана по общей формуле производительности машин непрерывного действия: Q=0,02*0,072*700*0,2=0,2 кг/с=720кг/ч, где F0 = рабочая площадь опорного диска, м2 ; ρ – насыпная масса продукта, ~700 кг/м3 ; φ – коэффициент заполнения рабочей площади диска, 0,1-0,2; 2. F0 для овощерезок с заклинивающим устройством: F0 =3,14*(0,0862 -0,0122 )=0,02 м2 , где rmax ,rmin – расстояние от оси вращения до начала и конца лезвия, м; rmin – 0,012м2 ; rmax – 0,086 м2 ; 3. Средняя скорость продвижения продукта: V0 =(0,008*180*3)/60=0,072 м/с, где h – толщина продукта, м,(0,006 – 0,010 м.); n – частота вращения диска, 180 м-1 (об/мин); Zp – количество ножей, шт; Не зная Zp , V0 можно посчитать по формуле: V0 =230/(0,02*700*0,2)=82,2 м/с, Также V0 можно найти по исходной формуле: V0 =(0,008*180*3)/60=0,072 м/с, где Zp – по технической характеристике от 2 до 4; 4. Количество ножей можно рассчитать: Zp = (0,072*60)/(0,008*180)=3 шт, Определение мощности
N=(5972+25,4)/0,8=7496Вт=7,5 КВт, где N1 – мощность, необходимая для нарезания продукта, Вт; N2 – мощность, необходимая для преодоления силы трения продукта оп опорный диск, Вт; η - КПД передаточного механизма, 0,8-0,9; Мощность, необходимая для разрезания продукта, определяется по формуле: N1 =700*0,22*55,4*0,7=5972Вт=5,9 КВт, где q – удельное сопротивление резанию продукта (для картофеля q=700 Н/м); Σl – суммарная длина лезвий ножей, м; Σl=(0,086-0,012)*3=0,22 м, vср – окружная скорость движения лезвий ножей в средней точки длины лезвия; K – коэффициент использования длины лезвия (K=0.6…0.8). Окружная скорость движения лезвий ножей определяется по формуле: vср =3,14*180*(0,012+0,086)=55,4 м/с, Мощность, затрачиваемую на преодоление силы трения об опорный диск, определяют по формуле: N2 =1,35*18,8=25,4 Вт, где Mтр – момент трения, Н*м; ω – угловая скорость, рад/с. ω=(3,14*180)/30=18,8 рад/с, Для овощерезок с горизонтально расположенным диском и загрузочным устройством с толкателем, момент трения определяется по формуле: Mтр =(60+10)*0,3*0,06=1,35, где Рт – усилие прижима продукта толкателем, 60 Н;
f – коэффициент трения продукта об опорный диск (f= 0,3…0,4); r – расчетный радиус (r=0.75*0,086=0,06).
В данной курсовой работе мною были рассмотрены принцип действия и назначение овощерезательных машин. Был произведен расчет производительности и мощности дисковых овощерезательных машин. Широкое внедрение и эффективное использование различных видов оборудования в предприятиях общественного питания является непременным условием роста культуры производства и производительности труда, увеличения количества и улучшения качества выпускаемой продукции. Организация правильной технической эксплуатации оборудования имеет существенное значение для бесперебойной работы предприятий общественного питания и оказывает большое влияние на продолжительность работы оборудования, снижение себестоимости его эксплуатации. Персонал, занятый эксплуатацией оборудования, должен соблюдать основные правила. Эксплуатировать машины или аппараты могут лица, которые хорошо знакомы с правилами их эксплуатации; пуск разрешается только после тщательной проверки исправности машины, внешнего осмотра ее, при отсутствии в ней посторонних предметов. Во время работы машины или аппарата необходимо осуществлять контроль за трущимися деталями механизмов: проверять степень нагрева подшипников, редукторов, электродвигателей и других деталей и узлов. Нельзя оставлять работающую машину или аппарат без присмотра. Необходимо своевременно смазывать рабочие детали машин, проверять натяжение приводных ремней или цепей, закреплять ослабленные резьбовые
При обнаружении каких-либо неисправностей в работе машины, аппарата (несвойственные стуки, шумы, чрезмерный нагрев и др.) они должны быть немедленно отключены и остановлены. Необходимо также вывесить табличку «Машина неисправна». Включать вновь их можно только после полного устранения неисправностей. Обеспечение необходимого содержания торгово-технологического оборудования требует наличия инструкций на каждую машину, аппарат, в которых изложен перечень основных требований по уходу, эксплуатации и ремонту.
1. Елхина В.Д., Журин А., Проничкина Л., Богачёв М.К.. «Оборудование предприятий общественного питания». Том I. «Механическое оборудование» 2-е изд., перераб. -М.: Экономика, 2000, 447с. 2. . Черевко А.И., Попов Л.Н.: «Оборудование предприятий общественного питания». Том II. «Торгово-технологическое оборудование». М.: Экономика, 2000, 271с. 3. Беляев М.И. «Оборудование предприятий общественного питания». Том III. «Тепловое оборудование». - М.: Экономика, 2000, 559с. 4. Гуляев В.А., Исаев Н.И., Крысин А.Г., Пеленко В.В. «Оборудование предприятий торговли». Учебное пособие в 4-х частях. (ТЭИ, СПб, 1994), 584с. 5. Ботов М.И., Елхина В.Д., Стрельцов А.Н.. Лабораторные работы по оборудованию предприятий общественного питания. - М.: Экономика, 2002, 186с.
Введение 1. Теоретическая часть 1.1 Общие сведения процесса 1.2 Классификация механизмов 1.3 Назначение устройства, принцип действия, техническая характеристика машины 2. Расчетная часть 2.1 Основные формулы 2.2 Исходные данные 2.3 Расчеты Заключение Список литературы |
||||||||||||||||||||||||||||||||||||||||||||||||||||||||||||||||||||||||||||||||||||||||||||||||||||||||||||||||||||||||||||||||||||||||||||||||
Введение
В зависимости от назначения овощерезательные машины принято подразделять на две категории:
Протирочные - На поверхность протирочных дисков по всей площади нанесены небольшие перфорационные отверстия, через которые осуществляется протирка продукта. Эти диски подходят для обработки вареных продуктов, сильно разваренного мяса для получения заливного, отварной печени для паштетов, а также для приготовления супов пюре и картофельного пюре. Из отварных фруктов готовят заправки для киселей, морсы и основы для желе. При покупке овощерезательной машины или кухонного процессора модель необходимо выбирать, исходя из реального или планируемого объема перерабатываемых продуктов.
Теоретическая часть
встречаясь с вертикально расположенными ножами-лезвиями. Слой овощей толщиной, равной отступу между стенкой камеры и лезвием, отрезается, а оставшаяся продуктовая масса двигается до встречи со следующим ножом.
для пиццы и лимоны. В зависимости от типа продукта и его консистенции использу
У дисковых овощерезок ножи закрепляются на вращающемся опорном диске. Продукт прижимается и лезвием срезается слой продукта толщиной, равной расстоянию между плоскостями ножа и диска.
загружают в загрузочное устройство, откуда под действием собственного веса они попадают в камеру для обработки. Здесь овощи прижимаются к диску с ножами, которые отрезают кусочки различной формы. Кусочки проходят через зазоры в диске и попадают в разгрузочный лоток.

У дисковых овощерезок
ножи различной формы укреплены на вращающемся опорном диске. Продукт прижимается к поверхности диска вручную или в результате попадания его между стенкой камеры и диском вследствие вращения. Толщина нарезки зависит от расстояния между поверхностью диска и лезвием ножа, а форма нарезки – от формы лезвия. При вращении лезвия от зажатого продукта срезается слой, который под действием собственного веса падает в подставленную тару. Продукт становится тоньше, опускается ниже и вновь прижимается к диску. Процесс продолжается до нарезки всего продукта. Для нарезки продукта брусочками на ножевом диске устанавливаются комбинированные ножи (укороченные ножи с гребенками), подрезающие продукт в двух плоскостях. Терка – стальной лист с отверстиями, края которых отогнуты и заточены, – позволяет получать нарезку соломкой, а также тонкое измельчение овощей и фруктов.
В роторных овощерезках
загруженный в камеру продукт зажимается между расположенными под углом пластинами вращающегося ротора и неподвижной цилиндрической стенкой камеры и скользит по ней. Привод овощерезательных машин роторного типа состоит из клиноременной передачи и электродвигателя. Ее передачи проходит в рабочую камеру, где к нему крепится ротор, с дисковым основанием. К диску прикреплены 3 лопасти,
расположенные под углом 65° друг к другу. После пуска овощерезки, лопасти совершают вращательное движение, и падающие сверху овощи оказываются на поверхности ротора. При работе они притираются между лопастями и неподвижной стенкой камеры. Благодаря центробежной силе, овощи распределяются по стенкам барабана и посредством лопастей соскальзывают вдоль стенок рабочей камеры, встречаясь с вертикально расположенными ножами-лезвиями. Слой овощей толщиной, равной отступу между стенкой камеры и лезвием, отрезается, а оставшаяся продуктовая масса двигается до встречи со следующим ножом.
Овощерезательные машины пуансонного типа.
В них поршень в рабочей камере производит возвратно-поступательное движения. Когда поршень движется вверх, овощи через загрузочное отверстие попадают на решетку с ножами, при обратном движении овощи продавливаются сквозь ножевую решетку, и разрезанный продукт падает в подставленную ёмкость. При этом можно получить фигурную форму нарезки: чесночками или брусочками различной конфигурации в зависимости от формы отверстий ножевых решеток.
Рабочим органом дисковых овощерезок является опорный диск с комплектом ножей, имеющих лезвие прямолинейной или криволинейной формы. В опорном диске под каждым ножом имеется окно, через которое проходят в разгрузочный лоток отрезаемые ножом частицы продукта.

ρ – насыпная масса продукта, ~700 кг/м3
;
где Zp
– по технической характеристике от 2 до 4;
Для овощерезок с горизонтально расположенным диском и загрузочным устройством с толкателем, момент трения определяется по формуле:
G – вес продукта, 10 Н;
Заключение
Список литературы
Содержание