Курсовая работа: Поверочный расчет котельного агрегата ПК19
|
Название: Поверочный расчет котельного агрегата ПК19 Раздел: Промышленность, производство Тип: курсовая работа | ||||||||||||||||||||||||||||||||||||||||||||||||||||||||||||||||||||||||||||||||||||||||||||||||||||||||||||||||||||||||||||||||||||||||||||||||||||||||||||||||||||||||||||||||||||||||||||||||||||||||||||||||||||
Министерство науки и образования РФ Федеральное агентство по образованию ФГОУ СПО Уральский политехнический колледж. Тема: Поверочный расчет котельного агрегата ПК– 19 Курсовой проект Дисциплина: Котельные установки КП 140102 01.02.07. Выполнил студент: Будаев Захар Юрьевич. Руководитель: Барыхина Наталья Васильевна. Верхний Тагил Содержание Введение 1. Топливо 2. Объёмы и теплосодержание воздуха и продуктов сгорания топлива 2.1 Избыток воздуха и присосы по газоходам 2.2 Объёмы газов при полном сгорании и α>1 2.3 Энтальпия дымовых газов 3. Расход топлива 3.1 Тепловой баланс котла 3.2 Определение тепловых потерь котла 3.3 Полное количество теплоты, полезно отданное в котел 3.4 Расход топлива, подаваемого в топку 4. Топочная камера 4.1 Расчет конструктивных размеров топки 4.2 Полезное тепловыделение в топке и теоретическая температура горения 4.3 Температура газов на выходе из топки 5. Конвективные поверхности нагрева 5.1 Расчёт фестона 5.2 Расчёт пароперегревателя 5.3 Расчёт второй ступени пароперегревателя 5.4 Расчёт первой ступени пароперегревателя 6. Хвостовые поверхности нагрева 6.1 Распределение тепла при компоновке в «рассечку» 6.2 Расчёт воздухоподогревателя 6.3 Расчёт водяного экономайзера. Заключение Используемая литература Министерство энергетики России Екатеринбургский энергетический техникум 3АДАНИЕ на курсовой проект по котельным установкам Студента Будаев Захар Юрьевич группы ВТЗ Т -402 Специальности Теплотехник Тема проекта: «ПОВЕРОЧНЫЙ РАСЧЕТ КОТЛОАГРЕГЕТА» ПК- 19 I . ИСХОДНЫЕ ДАННЫЕ 1.Номинальная часовая производительность ПК – 19 118 т/час 2.Параметры пара за парозапорной задвижкой: давление 9,8 МПа, температура 510о С 3.Продувка к.а. в % Л 4.Вид топлива Каменный уголь 69 марки (ГР) 5.Содержание в топливе балласта: — Золы Ар ------------ 29,6% Влаги WР 7.5% 6.Метод сжигания топлива Камерный 7.Температура окружающей среды__________ 30°С 8.Температура уходящих газов 142 °С 9.Температура питательной воды 145 °С 10.Температура горячего воздуха 375 °С П. РАСЧЕТНАЯ ЧАСТЬ 1. Вспомогательные расчеты по топливу, воздуху и продуктам сгорания: а) выбор коэффициентов избытка воздуха в основных точках газового тракта; б) расчет в объемах трехатомных, двухатомных газов, водяных паров и полного объема продуктов сгорания; в) расчет теплоснабжения продуктов сгорания топлива с учетом потерь от механического недожога. Построение диаграммы Ы в масштабе с последующим нанесением расчетных точек 2. Составление теплового баланса котлоагрегата. Выявление потерь от механического и химического недожога с уходящими газами и вследствие теплообмена с окружающей средой. Определение КПД брутто котлоагрегата и часового расхода натурального топлива. 3. Расчет топки: а) расчет размеров топки; б) расчет теплопередачи в топке с выявлением температуры газов на выходе из топки. 4. Расчет конвективной поверхности нагрева. Расчет живых сечений газоходов и фактических скоростей газов. Расчет коэффициента теплопередачи. Определение температуры дымовых газов. Расчет коэффициента теплопередачи. Определение температуры дымовых газов на выходе из соответствующего пучка кипятильных труб. 5. Расчет пароперегревателя. Определение температуры газов за пароперегревателями. Расчет скоростей газов и пара. Определение коэффициента теплопередачи. Проверка поверхности нагрева пароперегревателя. 6. Расчет воздухоподогревателя. Тепловой баланс газохода. Расчет температуры газов перед воздухоподогревателем и скоростей газов и воздуха. Определение коэффициента теплопередачи и проверка поверхности нагрева. 7. Расчет водяного экономайзера. Тепловой баланс газохода. Расчет температуры воды за экономайзером. Нахождение скоростей газов и воды. Определение коэффициентов теплопередачи. Проверка поверхности нагрева. 8. Составление теплового баланса по пароводяному и по газовому тракту. 9. Общий анализ полученных в расчете показателей. III. ГРАФИЧЕСКАЯ ЧАСТЬ 1. Продольный разрез котлоагрегата в масштабе 1:50 со всеми хвостовыми поверхностями нагрева 2. Поперечный разрез котлоагрегата по топке и хвостовым поверхностям нагрева в масштабе 1; :50. Левая и правая половины составлены из разрезов по различным плоскостям. ПРИМЕЧАНИЯ: 1. На чертежах ,должны быть показаны основные части котла, экрана, пароперегреватель, водяной экономайзер, воздухоподогреватель, топочная камера, колосниковая решетка или амбразуры и отверствия для горелок, обмуровка, изоляция, каркас, фундамент под основные несущие колонны, арматура, гарнитура, сепарационные устройства и трубопроводы, соединяющиеся узлы котлоагрегата (в пределах котла), а также, основные конструктивные размеры, используемые и полученные учащимися в расчете. 2. Отдельные элементы (например: топка, экраны, пароперегреватель и хвостовые поверхности нагрева) должны быть реконструированы только в том случае, если они не удовлетворяют своему назначению (необходимость реконструкции должна быть обоснована). 3. Объем текстовой части 30-40 страниц нормального формата. В пояснительной записке должно быть краткое описание заданного парогенератора и его конструктивные характеристики. Расчеты по топливу и газам приводят в виде таблиц. Тепловой расчет оформляется в виде таблицы, в которой должно указываться наименование расчетной величины ее размерность, расчетная формула (или указывается, где взята эта величина) и расчет. Все расчеты должны производиться в системе «СИ». Расчеты отдельных узлов должны сопровождаться эскизами с указанием всех конструктивных размеров, используемых в расчете. В конце расчета должна быть приведена сводная таблица результатов теплового расчета и на основании ее сделан подробный анализ результатов расчета. К ПОЯСНИТЕЛЬНОЙ ЗАПИСКЕ ДОЛЖНЫ БЫТЬ ПРИЛОЖЕНЫ ГРАФИКИ, ВЫПОЛНЕННЫЕ НА МИЛЛИМЕТРОВОЙ БУМАГЕ. Дата выдачи курсового проекта 22. 10. 2008. Срок сдачи__________ 2008-года. Задание составил преподаватель Рассмотрено и утверждено на заседании технологической комиссии. ПРЕДСЕДАТЕЛЬ ПРЕДМЕТНОЙ КОМИССИИ: Введение Котельный агрегат ПК – 19имеет технические характеристики: давление перегретого пара 9,8 МПа, температура перегретого пара 510 ° С. В зависимости от вида используемого твердого топлива изменяются поверхности нагрева конвективного пароперегревателя, второй ступени экономайзера и воздухоподогревателя. Пароперегреватель котла состоит из поверхности нагрева, расположенной на потолке топки и конвективной опускной шахты, ширмового пакета, размещенного за фестоном, и конвективного пакета, устанавливаемого за ширмовым пакетом. Регулирование температуры пара осуществляется впрыском конденсата в трубопровод, соединяющий ширмовой и конвективные пакеты пароперегревателя. Экономайзер и воздухоподогреватель двухступенчатые. Экономайзер выполнен из змеевиков горизонтальных труб малого диаметра. Конвективная шахта начиная со второй ступени воздухоподогревателя, разделена по глубине шахты на две половины для лучшей организации теплообмена в воздухоподогревателе и облегчения блочного изготовления. Топка имеет натрубную обмуровку. Котел скомпонован по П-образной схеме. Топка образует подъемную шахту, пароперегреватель расположен в горизонтальном газоводе, а конвективные поверхности нагрева в опускной шахте. Котлоагрегат снабжен всей необходимой регулирующей и запорной арматурой. Для обслуживания котлоагрегата комплексно поставляются мосты и лестницы. 1.Топливо Твердое топливо - каменный уголь марки Г Уральского месторождения Химический состав заданного вида топлива. Состав рабочей массы топлива , в % Wр =7,5 - влажность Ар = 29,6 – зольность Sр ор+к =0,4 – сера органическая и колчеданная Ѕр к =0.4 сера органическая и колчеданная Cр =50,9 - углерод Hр =3,6 -водород Nр =0,6 - азот Ор =7,4 - кислород Qн р =4790 ккал/кг – низшая теплота сгорания топлива Wп = 1,57%×103 кг/ккал – влажность приведенная Ап =6,18%×103 кг/ккал - зольность приведенная аун =0.95 2. Объемы и теплосодержание воздуха и продуктов сгорания топлива
2.1 Избыток воздуха и присосы по газоходам Коэффициент избытка воздуха за газоходами определяется нарастающим итогом, путем суммирования избытка воздуха за предшествующим газоходом с присосом очередного по ходу газов и т. д. α’’пе =α’’т +∆αпе (2.1) α’’эк2 =α’’пе +∆αэк2 (2.2) Средний избыток воздуха в газоходе определяется по формуле: α= (α’+α’’0/2= (α' +∆α)/2 (2.3) где α - избыток воздуха перед газоходом, равный избытку воздуха за предыдущим газоходом. Таблица 2.1- Избыток воздуха и присосы по газоходам:
2.2 Объемы газов при полном сгорании и α>1 2.2.1 Твердое топливо Объем водяных паров: VH
2
O
=VO
H
2
O
+0.0161 Объем газов: VГ
=VRO
2
+VO
N
2
+VH
2
O
+(α-1) Вес дымовых газов GГ определяем по формуле: GГ
=1-Ар
+1,306α 100 Объемные доли трехатомных газов и водяных паров, численно равные парциальным давлениям газов при общем давлении кгс/см2 ,определяем по формулам Трехатомные газы: Водяные пары: حн2о = VH 2 O /VГ (2.8) Концентрация золы в дымовых газах определяем по формуле:
где αУН -доля золы топлива, уносимая газами. Определяем по таблице XVII. Результаты расчетов сводятся в таблицу 2.2 Таблица 2.2 - Объем и вес дымовых газов, объемные доли трехатомных газов и водяных паров, концентрация золы:
2.3 Энтальпия дымовых газов Теоретическое количество воздуха: Vо
=0,0889 Vo
=0.0889 Vo =5.25м3 /кг Теоретический объем азота: Vo
N
2
=0.79 Vо
N
2
=0.79 Vo N 2 = 4.14м3 /кг Объем трехатомных газов: VRO
2
=1.866 VRO
2
=1.866 VRO 2 =0.95м3 /кг Объем водяных паров: Vo
H2O
=0.111 Vo
H2O
=0.111 Vo H 2 O =0.56 м3 /кг Энтальпия дымовых газов на 1кг сжигаемого топлива подсчитывается по формуле: Hг
=Hо
Г
+(α -1) Где Hо
Г
- энтальпия газов при α=1 и температуре газов Hо
В
- энтальпия теоретически необходимого количества воздуха при температуре Hо Г – вычесляем по формуле: Hо
Г
= VRO
2
(C Где С HО В - вычесляем по формуле: Hо
В
=Vo
(C Где (С HЗЛ -энтальпия золы, содержащейся в дымовых газах. HЗЛ – вычесляем по формуле: Hзл
=(C Где (С аУН – доля золы топлива, уносимой газами, определена выше. Результаты подсчета теплосодержаний сводятся в таблицу 2.3 3. Расход топлива 3.1 Тепловой баланс котла Устанавливаем равенство между поступившим в котел количеством теплоты QР Р и низшей теплотой сгорания топлива QР н. QР Р = Q Р Н -для каменных углей. QР Н =4790кКал/кг×4,19 QР Н =20070,1 кДж/кг 3.2 Определение тепловых потерь котла Потери тепла от механического недожога q4 = 1.5 % (каменный уголь) определяем по таблице XVII. Потери тепла от химического недожога q3 = 0 % определяем по таблице XVII. Потери тепла со шлаками q6 =0 %. Потери тепла в окружающую среду через обшивку котла q5 =0.87% определяем по, [таблица 3.3с17]. Потеря тепла с уходящими газами q2 определяется по формуле: q2 = Q2× 100/Qр н ×4.19 (3.1) НО ХВ - энтальпия холодного воздуха, находится по формуле: НО ХВ =30×VО (3.2) НО ХВ =30×5.25 НО ХВ =204,2 кДж/кг VО - теоретический, объём воздуха, найден ранее. Н0
УХ
- энтальпия уходящих газов, находим по таблице2.3 для заданной температуры Н0 УХ =1064.196 ×42+1038.37/100 Н0 УХ =1485,3 кДж/кг αУХ –по таблице 2.3 QР Р = Q Р Н =20070.1кДж/кг Q2 =(Нух – αух ×Нхв )×100-q4 /100 Q2 = (1485.3 -1.33×204,2 )×100-1.5/100 Q2 = 1195,51 кДж/кг q2 = Q2 × 100 / Qр н ×4.19= 4790×4,19/1195,51 ×100 = 5,95 %. Коэффициент полезного действия (брутто) котельного агрегата -ηКА находим по формуле: ηКА =100 –(q2 +q3+q4 +q5 +q6 ) (3.3) ηКА =100 –(5,95+0+1.5+0,87+0) ηКА =91,68 %. 3.3 Полное количество теплоты, полезно отданное в котле. QКА –полезное количество теплоты, полезно отданное в котле, в кДж/ч. QКА =Д× (hПП – hПВ ) + ДПР ×(hКИП - hПВ ) (3.4) Д – паропроизводительность котла в кг/ч (по заданию) Таблица 2.3- Энтальпии продуктов сгорания по газоходам котла в кДж/кг.
По данным таблицы 2.3 строится диаграмма. Н- Д=118×103 кг/ч ДПР -количество продувочной воды, принимается в размере 2% от производительности: ДПР =0,02Д (3.5) ДПР =0,02×118×103 hПВ - энтальпия питательной воды, hПВ =(638.7-595.9)/10 ×8+595.7 4-последняя цифра заданной t hПВ =629,94 кДж/кг. hПП –энтальпия перегретого пара, определяем по таблице ll –lll [ 4,с ] в зависимости от начальных параметров пара, Рпп =9,8МПа и tПП =510о С ; hПП =3403,14 кДж/кг hКИП - энтальпия воды при температуре насыщения и давлении в барабане Рпп =9,8 МПа. hКИП = h’ =1425кДж/кг QКА = 118×103 ×(3403,14-629,94 )+ 0,02×118×103 ×(1425-629,94-=) QКА = 329113,94 ×103 кДж/ч. 3.4 Расход топлива, подаваемого в топку В-расход топлива, подаваемого в топку в кг/ч. В = QКА × 100/ QР Р × ηКА (3.7) В = 329113,94×103 ×100/4790×4.19×91.68 В=17.8 т/ч ВР - расчетный расход твердого топлива, определяем по формуле: ВР = В ×( 1 –q4 )/100 (3.8) ВР =17.8×(1 – 1.5 )/100 ВР =17.53 т /ч. В дальнейшем весь тепловой расчет котла производим на расчетный расход топлива ВР. 4. Топочная камера 4.1. Расчет конструктивных размеров топки
Рисунок 4.1.1 - Эскиз топки. Масштаб 1:50. Для нахождения площади боковой стенки, разбиваем ее на участки, соответствующие простым геометрическим фигурам. S=3.6 × Vт / Fст метры где Vт – объём топки Fст - поверхность стен топочной камеры Vт = в× F бок в- ширина топки в=7170×60×2=7.29 hт - высота топочной камеры hт =323мм ×50=16.15м Fбок – поверхность боковой стенки Fбок =Fтр +Fтп1 + Fтп 2 + Fпрям + Fтр3 a- глубина топки a =6690+2×60=6.810м Fпрям =hпрям × a hпрям –высота прямоугольника hпрям =205×50=10.250м Fпрям =10.250×6.81=69.8м2 Fтр =hтр ×Lтр /2 hтр –высота треугольника Lтр –основание треугольника hтр =45×50=2.25м Lтр =100×50=5м Fтр
= Fтп1
= hтп1 =45×50=2.25м Lтп2 =116×50=5.8м Fтп1
= Fтп 2
= hтп2 =27×50=1.35м Fтп 2
= Fтп3
= Lтп3 =21×50=1.05м hтп3 =80×50=4м Fтп 3
= Fбок =5.625+12.15+8.51+69.8+15.72=111.81м3 Vт =111.81×7.29=815.1м3 Fст = Fфр +2 Fбок + Fзад Fфр –поверхность фронтальной стенки Fфр =Lфр ×в Lфр – длинна фронтальной стенки Lфр =95×50×103 +2.25+1.35+10.25+5=23.6м Fфр =23.6×7.29=172.044м2 Fзад –площадь задней стенки топки Lзад =1.75+10.25+15=17м2 Fзад =17.7.29=123.93м2 Fст =172.04+2×111.81+123.93=519.6м2 S=3.6× 4.2 Полезное тепловыделение в топке и теоретическая температура горения Полезное тепловыделение в топке QT , определяем по формуле: QT = (QР Р × 100-q3-q4-q6 +QB )/100-q4 (4.8) QB - количество теплоты вносимой в топку с воздухом, определяем по формуле: QB =(αт-∆αт-∆αплу)×НО ГВ +(∆αт+∆αплу)×НО ХВ (4.9) Где НО ГВ - энтальпия горячего воздуха, поступающего в топку, определяем по таблице 2.3 методом интерполяции. НО
ГВ
= НО ГВ =2672.25 кДж/кг ∆αплу- коэффициент присоса в системе пылеприготовления, принимаем ∆αплу=0 [1,c-199] при транспортировке угольной пыли под давлением, подаваемого в молотковую мельницу. QB =(1.165-0.07-0)×2672,25+(0,07+0)×204,2; QB =2940,4 кДж/кг; QT
=4790×4.19× QT =22916.1кДж/кг. По полученному значению QT
,
которое принимается за энтальпию при условной теоретической температуре горения, определяем по таблице 2.3,условную теоретическую температуру горения
Х = Х=8
4.2 Температура газов на выходе из топки
по номограмме 7, для этого находим вспомогательные величины: Где М- параметр определяющийся в зависимости от относительного положения максимума температуры пламени по высоте топки Хт М =0,59-0,5× Хт (4.10) Для топок с горизонтальным расположением осей горелок и cверхним отводом газов: ХТ
= Где высоте hт - от середины холодной воронки до середины выходного окна из топки по чертежу. ∆Х –поправка при установке рассекателей ∆Х =-0.15 hг =83×50=4.15м hт =323мм×50=16.15м ХТ
= ХТ =0,106 М =0,59-0,5×0,106 М =0,54 ψ – угловой коэффициент тепловой эффективности экранов: ψ= Где Трубы в =76 х 6 - по конструктивным характеристикам по чертежу е-расстояние от оси крайних труб до обмуровки по конструктивным характеристикам е =60 S-шаг(расстояние между осями труб) S =90- по конструктивным характеристикам при этом
ψ = 0,99×0,45 ψ =0,45 αФ - эффективная степень черноты факела (топочной среды) рассчитываем по формуле: αФ =1-е-КР S (4.13) Р –давление в топке Р =1 кг/см2 ; S – эффективная толщина излучающего слоя, Для определения αФ служит номограмма 2, для пользования которой необходимо определить произведение КРS –(оптическая толщина),так как Р и Sизвестны, определяем величину КРS: КРS=( КГ ×حП +КЗЛ ×µЗЛ +ККОКС ×Х1 ×Х2 )×Р×S(4.14) Кг – коэффициент ослабления лучей трехатомными газами, определяем по номограмме 3 ( 4.15) РпS –вспомогательная величина РпS =Р×حп ×S(4.16) РпS =1×0.225×5.56 РпS =1.25 кгс/см2 Кг =0.15 КЗЛ – коэффициент ослабления лучей золовыми частицами, определяем по номограмме 4 для температуры на выходе из топки; КЗЛ =5[1,c 243] ККОКС =1[1,c 28] Безразмерные величины Х1 и Х2 , учитывающие влияние концентрации коксовых частиц в факеле,зависят от рода топлива и способа его сжигания Х1 =0.5(бурые угли) и Х2 =0,1(для камерных топок) Находим оптическую толщину КРSпо формуле: КРS =( КГ ×حП +КЗЛ ×µЗЛ +ККОКС ×Х1 ×Х2 )×Р×S(4.17) КРS =(0.15×0.225+5×0.031+1×0.5×0.1)×1×5.65 КРS =1.34 По номограмме 2 находим степень черноты факела αФ : αФ =0,73[1,c 241] По найденным данным определяем температуру на выходе из топки qF = Вр×Qт Fст×4,19 (4.18) qF
= qF =184,518×103 кКал/м2 ×ч
5.Конвективные поверхности нагрева 5.1 Расчет фестона 5.1.1 Конструктивный расчет
Рисунок 5.1 - Эскиз фестона. Фактическая конструкция фестона берется по чертежу котла. Фестон рассчитывается как обычный шахматный пучок. Эффективная толщина излучающего слоя S определяется по формуле: S = где S1 - поперечный шаг трубы S1 =270 мм по чертеж S2 - продольный шаг трубы S2 =300мм по чертежу d - наружный диаметр труб в =76×6 мм. S = S =1,15м Принимаем температуру дымовых газов за фестоном на 50 градусов ниже, чем на выходе из топки
Средняя температура дымовых газов в фестоне
Средне секундный объём газов Vсек
= Vсек =148,15 м3 /с; ωг
= Fср =Вок ×Lок -Zрд × Lок ×d где: В–ширина выходного окна из топки Lок -длинна выходного окна Zрд -количество труб в одном ряду Вок =В=7.29м Lок =4.5м по конструктивным характеристикам Zрд
= Z- количество труб по задней стенке котла Z =7.17/0.09=80 Zрд =80/3=27 штук. Fср =7.29×4.5-27×7.29×0.076=23.57м2 ωг
= Количество тепла переданного в фестоне по Ур.теплового баланса Qб ф =φ(Н˝т - Н˝ф ) φ – коэффициент сохранения тепла φ =1- Н˝т –энтальпия дымовых газов на выходе из топки Н˝ф - энтальпия дымовых газов за фестоном Н˝т
= Н˝ф
= Qб ф = 0.99×(10355,2-9943,73)= 510,9кдж/кг; Qт
ф
= Qт ф –количество теплоты полезной отданной газами и воспринятой расчетной поверхностью нагрева фестона ∆tср -средний температурный напор в фестоне ∆tср
= tкип - температура кипения воды при давлении в барабане котла tкип = 313.9[2;c 30] ∆tср = 945-314=631C°; Нф =Z×Lср ×π×d Lср –средняя длинна труб в фестоне Lср =4.5м-по конструктивным особенностям Нф =80×4.5×3.14×0.076=85.91м2 К- коэффициент теплоотдачи, от газов, к обогреваемой среде К =ψ×α1 ψ =0.65 α1 - коэффициент теплопередачи от газов к стенке α1 =ξ×( αк + αл ) где- ξ коэффициент использования тепловосприятия ξ =1 αк – коэффициент теплоотдачи конвекцей αк =αк н ×Cz ×Cs ×Cф
- относительные поперечный и продольный шаги σ2 =300/76=3.95=4 труб Cz = 0.9 Cs = 0.91 Cф = 0.95 – поправочный коэффициент учитывающий конструктивные особенности фестона αк н =44 коэффициент теплоотдачи найденный по номограмме 13 αк =44×0,89*0,91*0,96=34,21кКал/м2 *ч*о С; αл = αк н × а - для запылённого потока Z=3 ряда. αл - коэффициент теплоотдачи излучением; а –степень черноты: РпS =Р×حп ×S =1×0.225×1.15=0.25; Кг =1м×кг×с/м2 ; Кзл =7.4 м×кг×с/м2 (по номограмме) ; KPS=(1×0.225+7.4×0.031)×1.15=0.52; а=0.41; tз - емпература загрязнённой стенки: tз = tкип + ∆t; tз =314+80=394ºС; ∆t =80 ºС ; αн л =130*0,41=53,3 кКал./ч * м* ºС 2 . α1 =ξ×(34.24+ 53,3) =68,8 кКал/ ч * м2 .* ºС; К=0.65×68,8=44,72 кКал/ ч * м2 .* ºС;; Qт
ф
= Так как расхождение между количеством тепла подсчитанного по уравнениям теплового баланса и теплопередачи более 5% произвожу перерасчёт и принимаю температуру дымовых газов за фестоном
Н˝ф
= Qб ф = 0.99×(9943,73-9708,6)=232,7кдж/кг
∆tср =930-314=616 ºС Qт
ф
=
Вывод так как расхождение между количеством теплоты равняется 1,21% расчет фестона закончен. 5.2 Расчет пароперегревателя
Рисунок 5.2.1 Эскиз пароперегревателя. 1.Барабан 2.Выходной коллектор 3.Промежуточны и коллектор 4.1 ступень пароперегревателя 5.2 ступень пароперегревателя 5.2.1 Определение расчётных характеристик пароперегревателя Количество тепла, необходимое для перегрева пара, воспринимается пароперегревателем путем конвективного теплообмена с газовым потоком и за счет лучистого теплообмена с топочной камерой через фестон. QЛПЕ – теплота переданная пароперегревателю излучением из топки, QКПЕ - теплота переданная пароперегревателю конвекцией газового потока, QЛПЕ
= ηв
× где ηВ - коэффициент распределения топочного излучения, находится по номограмме11, ηВ =1,15 QЛ - количество теплоты передаваемое лучевоспринимающими поверхностями в топке, QЛ =φ×(QT -H’’T ) (5.16) φ=0,99; QT =20070.1 кДж/кг ; H’’T =Н’Ф =10002,52 кДж/кг; QЛ =0,99×(22916.1 -10002,52) QЛ =13013,6кДж/кг НЛ - луче- воспринимающая поверхность топки, определяем по формуле НЛ = Нэ л + НЛОК (5,17) Нэ л =Fст ×Х НЛОК =вОК ×LОК Х- угловой коэффициент поверхностей расположенных в выходном окне топки Х=1[1 c 22] Нэ л =519.6×1=519.6 м2 ; НЛОК =7.29×4,5; НЛОК =32.8м2; Нл = Нэ л + НЛОК =552.4 м2 ; НЛПЕ - луче- воспринимающая поверхность пароперегревателя, определяем по формуле: НЛПЕ =НЛОК ×(1-ХПУЧ ) (5.17) Хпуч - угловой коэффициент фестона Хпуч - при шахматном расположении труб фестона Хпуч =0.77 [1c 240] НЛПЕ =32.8×(1-0,77) НЛПЕ =7.54м2 QЛПЕ
=1.15× QЛПЕ =177,62кДж/кг QКПЕ
= Где hПП =3403,14 кДж/кг hНП =h’’=2718 кДж/кг –[2c 30] ∆hПО =62,9 кДж/кг QКПЕ
= QКПЕ =5189,98 кДж/кг Находим энтальпию газов за пароперегревателем Н’’ПЕ , по формуле: Н’’ПЕ
= Н’’Ф
- Н’’ПЕ
=9708,6- Н’’ПЕ =4459,932Дж/кг По полученному значению Н’’ПЕ нахожу по таблице 2.3 значение температуру дымовых газов за 1ступенью пароперегревателя
Х= Х=39,65;
5.3 Расчет второй ступени пароперегревателя Принимаем температуру газов на выходе из 2 ступени
Н˝2стПЕ
= Н˝2стПЕ = 8211,478 кДж/кг Определяем количество теплоты, переданной 2 ступени пароперегревателя QБ 2стПЕ ,по формуле: QБ
2стПЕ
=φ×( Н˝ф
- Н˝2стПЕ
+ QБ
2стПЕ
=0,99×(9943,73- 8211,478 + QБ 2стПЕ =1718,032 кДж/кг; Определяем количество теплоты воспринятой 2 ступенью пароперегревателя Qт 2стПЕ , по формуле: Qт
2стПЕ
= Н2стпе -поверхность нагрева второй ступени; Н2пе =n×z×Lср × π × в ; n - количество рядов второй ; n =8; d-диаметр труб ; d =42Х5; z-количество труб в ряду:
S1 =90 S2 =135 Lср =85×50=4.25м по конструктивным особенностям Н2пе = 8×82×4.25×3.14×0.042 Н2пе = 367.68 м2 ;∆t ср = ψ× ∆t прт ψ - коэффициент перехода к действительной схеме ψ =0.99 [1c271] ∆tпрт температурный напор при противоточной схеме ∆tпрт
= Энтальпия пара на входе во вторую ступень h2пп
= hпп
–(Qлпе
+ h2пп
= 3403.14-(177,62+1718,032)× h2пп
= 3121,53=3067 кДж/кг t˝1пе =t΄2пе =372°С
∆tм
= ∆tпрт
= ∆tс р =0.99×279,18=276,38; К- коэффициент теплопередачи К=ψ× α1 - коэффициент теплоотдачи от газов к стенке кДж/м2 ч*°С; α2 - коэффициент теплоотдачи отстенки к пару α1 =ξ×( αк+ αл ) αк - коэффициент теплоотдачи конвекцией определяется пономограмме 12
tс р
= hс р =4.75-средняя высота газохода Fг = hс р ×b-Zр ×Lс р ×dн dн =42 b =7.29 по конструктивным особенностям b - ширина газохода Fг =4.75×7.29-82×4.25×0.042=19.99=20 fп
= Zр
× fп
= 82× Vг.сек
= Vг.сек
= Wг
= Vпп
= υ = 0.0343 м3 /кг [2 c 58] Vпп
= Wпп
= коэффициент теплоотдачи К- коэффициент теплопередачи К=ψ× α1 - коэффициент теплоотдачи от газов к стенке кДж/м2 ч α2 - коэффициент теплоотдачи отстенки к пару α1 =ξ×( αк+ αл ) ξ=1 αк - коэффициент теплоотдачи конвекцией определяется пономограмме 12 αк =Cz ×Cs ×Cф × αк н αк н =88ккал Сф =0.98 σ1
= σ2
= Cs =1 Cz =0.98 αк =0.98×1×0.98×88=84.5 αл = αл н ×а tз -температура загрязнённой стенки tз
= tср
+(ε+ Для коридорных пароперегревателей ε =0.0012м2 ч°С /кДж αн 2 =2250 Сd =0.98 α2 = Сd × αн 2 ккал/м2 ч°С α2 = 0.98×2250=2205; НΙΙпе -поверхность ΙΙ ступени пароперегревателя НΙΙпе =Z×n×Lср ×π×d НΙΙпе = 82×8×4.25×3.14×0.042=367.7м2 tз
= 441+(0.0012+ tз = 590,7 αл н =168 ккал/м2 ч°С по номограмме19[1c 261] Ѕ=0.9×dн
×( Ѕ=0.9×0.042×( Ѕ= 0.29м Р=1 KPS=(Кг ×ﺡп +Кзл ×μ)×P×S Pп S= P× ﺡп ×S Pп S= 1×0,262×0/29 Pп S= 0,075 Кг =3; номограмма 3; Кз =10; номограмма 4 KPS=( 3×0.262+10×0.031)×1×0.29 KPS=0.31 а=0.18; αл =188×0.18=33,84; α1 =1×(84.5+33,84)=118,34; К=0.65× Qт
2ПЕ
= Qт
2ПЕ
= Qт 2ПЕ = 1879,58 кДж/кг Нахожу отношение, Так как расхождение между количеством теплоты больше 2% произвожу перерасчет и принимаю температуру дымовых газов на выходе из 2 ступени пароперегревателя Перерасчёт Н˝2пе
= Q2ПЕ
=0.99×(9708,6-7686,43+ ∆tм = 730-510=220°С ∆tпрт
= ∆tср =0.99×308,43=305,34°С Qт
2ПЕ
= Нахожу отношение
Так как расхождение между количеством теплоты меньше2%, расчёт второй ступени закончен. 5.3 Конструктивный расчет первой ступени пароперегревателя
Рисунок 5.3 Эскиз 1 ступени пароперегревателя. dн =38Х4 Ѕ1 =90 Ѕ2 =150 Lср =2.6м hс р =3м n=10 nнит =2 Нахожу расчетную поверхность 1-ой ступени пароперегревателя. Н1пе
= Н1пе
= Находим поверхность нагрева одного ряда: Нр =π× dн ×Lср ×Zр Нр = 3.14×0.038×2.6×82 Нр = 25.44 Определяем количество рядов: nр
ряд
= Определяем количество петель: nпет
= Определяем глубину пакета 1-й ступени пароперегревателя по ходу газов: Впак = nпет × Ѕ2 ×2 м Впак =6×0.15×2=1.8м Н1пе=7686,43 кДж/кг; Н1пе=Нпе= 4459,932 кДж/кг; Q1пе= 0,99* (7686,43- 4459,932+0,03/2 *204,2 ); Q1пе=3197,26 кДж/кг; Средняя температура газов:
tср.г=584*С; Средняя температура пара:
tср.п= tср.п=442,5; Число труб в ряду:
Zp=82 штуки; Средняя высота газохода: h= 3м ( по конструктивным особенностям); Средняя длина труб: L= 2,6м ( по конструктивным особенностям.) ; Сечение для прохода газов: FГ = hср *В - ZР * Lср *dн FГ =3*7,29-82*2,6*0,03 FГ =5,24 м2 Сечение для прохода пара:
где nР – количество рядов, определяем по формуле: nР =ZР *nНИТ (5.59) nР =82*2 nР =164;
fп =0,116 м2 Средний секундный расход газа:
Vг.сек.= 111,4 м3 /с Средняя скорость газа: Wг=Vг.сек (5.61) FГ Wг=111,4 20.7 Wг=5.38м/с 6. Хвостовые поверхности нагрева
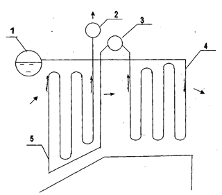
Рисунок 6.1 Эскиз опускной шахты. t²взп = tпв +40+0.7×( tух -120) где - tпв температура питательной воды t²взп = 145+40+0.7×(142-120) t²взп = 200,4°С (Но в )²взп1 =1401.75 кДж/кг Qб
взп1
=(αт
-Δαт
- Δαплу
+ Δαвзп2
+ где Δαвзп2 и Δαвзп1 присос воздуха в 1 и 2ступени воздухоподогревателя Qб
взп1
=(1.165-0.07-0+0.03+ Qб взп1 =1359.8 кДж/кг Н'взп1
=Нух
+ где - Н0 прс1 энтальпия воздуха присасываемого в 1ю ступень воздухоподогревателя при средней температуре воздуха в ней tпрс1
= tпрс1
= Н0
прс1
= Н0 прс1 = 803.77 Н'взп1
=1495.97+ Н'взп1 = 2845.14 Н'взп1 = Н²взп1 Тепловосприятие второй ступени ВЗП Qб
взп2
=(αт
-Δαт
- Δαплу
+ Qб
взп2
=( 1.165-0.07-0+ Qб взп2 =1410,525кДж/кг Принимаем J²2взп =410°С Н'взп2
= Н²взп2
= Н'взп2
- Н0 прс2 - энтальпия воздуха присасываемого во 2ю ступень ВЗП при tпрс2 tпрс2
= tпрс2
= Н0 прс2 - интерполируем Н0
прс2
= Н²взп2
= 4198.6- Н²взп2 = 2846.9 Qб вэ1 =φ×( Н²взп2 - Н'взп1 + Δαвэ1 × Hо хв ) кДж/кг Qб вэ1 = 0.99×(2846.9-2845.14+0.02×208.95)=-5.87 Qб вэ1 = -5.87 Qб вэ2 =φ×( Н²пе - Н'взп2 + Δαвэ2 × Hо хв ) Qб вэ2 = 0.99×(4455.932 - 4198.6 + 0.02×208.95)=297.63 Qб вэ2 =297.63 ΔQ=Qр
р
× ηка
-(Qл
+Qб
ф
+Qб
пп2
+ Qб
пп1
+Qб
вэ2
+Qб
вэ1
)×( Qб
пп1
= φ×( Н²2пе
- Н²1пе
+ Qб
пп1
= 0.99×(7455.1-4495.06+ ΔQ= 4790×4.19×0.916-(12493.47+883.4+1932.6+2933.5+297.63+5.87)× х( ΔQ= -115.9 кДж/кг При переходе на заданный вид топлива необходимости в установке ЭК 1й ступени н Заключение В данном курсовом проекте был проведён поверочный расчет котельного агрегата ПК -19 при камерном сжигании каменного угля с низшей теплотой сгорания равной 18394.1кДж/кг и с температурой дымовых газов после котла равной 140о С. В ходе проектирования были найдены промежуточные температуры дымовых газов между поверхностями нагрева котла и определены их основные конструктивные характеристики. Используемая литература 1.Методические указания к курсовому проектированию по дисциплине «Котельные установки ТЭС» 2. Тепловой расчет котельных агрегатов. Нормативный метод. «Энергия»,1973. З. М.И.Резников. Ю.М. Липов. Котельные установки электростанций. Москва «Энергоатомиздат.» 1987г. 4. А.А.Александров. Таблицы теплофизических свойств воды и водяного пара. Москва 1999 г. |
||||||||||||||||||||||||||||||||||||||||||||||||||||||||||||||||||||||||||||||||||||||||||||||||||||||||||||||||||||||||||||||||||||||||||||||||||||||||||||||||||||||||||||||||||||||||||||||||||||||||||||||||||||






= 1-
= 0,991;
кДж/кг
кДж/кг
кдж/кг
ºС
(5.15)
+∆αПЕ
×НО
ХВ
(5.20)
;
+1=
=279,18°С
ψ=0.65
=0.066м2
м3
/с
кДж/м2
ч°С ψ=0.65
-1)
=77,38;
кДж/кг
=308,43°С 
м2
=
;
- Δαвзп1
×Н0
прс1
+ Δαвзп
×Н0
прс2