Курсовая работа: Сравнение ожидаемого выхода оксидов азота из газомазутного котла Пп 1000 25 - 545ГМ
|
Название: Сравнение ожидаемого выхода оксидов азота из газомазутного котла Пп 1000 25 - 545ГМ Раздел: Рефераты по информатике Тип: курсовая работа |
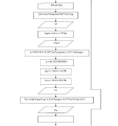
Курсовая работа по информатике «Сравнение ожидаемого выхода оксидов азота из газомазутного котла Пп – 1000 – 25 – 545ГМ» Введение Область применения современных языков программирования весьма обширна. Не секрет что любая программа создается именно на языках программирования. Современные языки программирования наделены практически безграничными возможностями, и они нашли свое применение во всех областях научной и хозяйственной деятельности человека. Языки программирования используются для записи алгоритма и последующего переводов этой записи на язык машинных команд. Структура языков программирования схожа с естественными языками общения, по этому их более или менее легко освоить. Любая программа нацелены на облегчение жизни человеку и на экономию его времени. На создание любой программы уходит меньше времени, чем на и найти в ней ошибку намного легче, достаточно внести коррективы в алгоритм, а потом исправить эти ошибки и в самой программе. Современным инженерам легче начертить чертеж в специальных графических программах, чем сделать это вручную, да и чертеж получается более точным. При разработке новой техники сократилось время между периодом ее испытаний и внедрением в массовое производство, потому что с помощью специальных программ можно однозначно задать те нагрузки, которые она будет получать во время эксплуатации. Языки программирования высокого уровня дают возможность программирования трехмерных динамических изображений, в частности это нашло свое применение в гидрогазодинамике. Программы, нацеленные на решение сложных дифференциальных уравнений, существенно экономят время. Задание Сравнить ожидаемый выход оксидов азота из газомазутного котла Пп – 1000 – 25 – 545ГМ (ТГМП – 314А) при сжигании мазута с рециркуляцией газов 5 и 15% через шлицы под горелки и в кольцевой канал горелки. Блок – схема программы
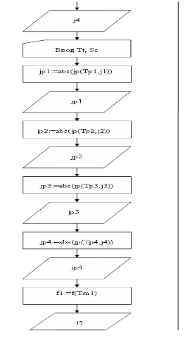
Текст программы PROGRAM sravnit; uses crt; const a=357.2; b=151.7; c=0.55; r1=0.05; r2=0.15; label zanovo; var Tt, Sc, bet, q, vg, Tm4, Tm3, z, p, Tm2, Tm1, Wf, Ta, cg, cv, k, t, Vgaz, Vv, Aiv, Ap, Agor, Qm, Tp1, Tp2, Tp3, Tp4, Tg1, Tg2, Tg3, Tg4, j1, j2, j3, j4:real; Co2, Qgv, Qt, jp1, jp2, jp3, jp4, f1, f2, f3, f4, Arz, po2, Co1, No2tr1, No2tr2, No2tr3, No2tr4, No2tl1, No2tl2, No2tl3, No2tl4, Nr:real; No2o1, No2o2, No2o3, No2o4:real; ch, df:char; l:text; Function Tp (Tm: real):real; begin Tp:=exp (ln(Tm)*2)*exp (ln(10)*(-5))/(0.614+Tm*exp (ln(10)*(-5))); end; Function Tg (Tm: real):real; begin Tg:=0.84*(exp (ln((exp (ln(Tm)*4)+exp (ln(1453)*4)))*0.25)); end; Function j (Tg, r:real):real; begin j:=(273*bet)/(q*Tg*vg*Aiv*(1+r)); end; function jp (Tp, j:real):real; begin jp:=(Tp/(Ta-1453))*(exp (ln((Tt*Sc)/300)*0.5))*j; end; Function f (Tm:real):real; begin f:=0.024*exp (54290/Tm-23); end; Function Co (po2, Arz, r:real):real; begin Co:=0.21*Vv*((Agor-1)+r*(Arz/Agor))*po2/(Vgaz+(Agor-1)*Vv)*(1+r) end; Function No2tr (Co, Tm, jp, f:real):real; begin No2tr:=7030*exp (ln(Co)*0.5)*exp (-10860/Tm)*(jp/f); end; Function No2tl (Nr, Tm, r:real):real; begin No2tl:=(0.4–0.1*Nr)*Nr*sqr((Agor+r)/(1+r))*((2100-Tm)/125); end; begin textbackground(2); textcolor(3); clrscr; gotoxy (30,7); write ('Курсовая работа'); gotoxy (10,9); write ('Сравнить ожидаемый выход оксидов азота из газомазутного котла'); gotoxy (23,12); write ('Выполнил студент группы ЭТ-21'); gotoxy (30,14); write ('Женжера Антон'); gotoxy (21,20); write ('Нажмите лубую кнопку для продолжения…'); readkey; zanovo: clrscr; textbackground(1); textcolor(15); clrscr; assign (l, 'd:\infa'); rewrite(l); writeln ('Введите значение:'); writeln ('Теоритического объема газа, необходимого для сжигания топлива, Vgaz (м3/кг)'); write ('Vgaz='); readln(Vgaz); writeln ('Введите значение: '); writeln ('Теоритического объема воздуха, необходимого для сжиганиятоплива, Vv (м3/кг)'); write ('Vv='); readln(Vv); writeln ('Введите значение:'); writeln ('Избытка воздуха на выходе из топки, Aiv'); write ('Aiv='); readln(Aiv); writeln ('Введите значение:'); writeln ('Присосов в топке, Ap'); write ('Ap='); readln(Ap); if Ap>Aiv then exit; Qgv:=(Aiv-Ap)*4502; writeln ('Введите значение:'); writeln ('Теплоты сгорания мазута, Qm (МДж/кг)'); write ('Qm='); readln(Qm); writeln ('Тепловыделение в зоне горения, Qt (кДж/кг)'); Qt:=Qm*(exp (ln(10)*3))+Qgv; writeln ('Qt=', Qt:6:2); writeln (l, 'Тепловыделение в зоне горения, Qt (кДж/кг)', 'Qt=', Qt:6:2); writeln ('Коэффициент избытка воздуха в зоне горения, Agor'); Agor:=Aiv-0.5*Ap; writeln ('Agor=', Agor:2:3); writeln (l, 'Коэффициент избытка воздуха в зоне горения, Agor', 'Agor=', Agor:2:3); writeln(l); textcolor(5); gotoxy (21,24); writeln ('Нажмите любую кнопку для продолжения…'); readkey; clrscr; textbackground(0); textcolor(12); clrscr; gotoxy (8,1); writeln ('Расчет теплоемкости воздуха при высоких температурах (более 1600С)'); gotoxy (20,2); writeln ('в зоне горения факела, cv (кДж/(м3*К)'); t:=1950*(1+0.36*Qt*0.00001)/Agor; k:=(t-1200)/1000; cg:=1.58+0.122*k; cv:=1.46+0.092*k; writeln ('cv=', cv:4:3); writeln (l, 'Расчет теплоемкости воздуха при высоких температурах (более 1600С) в зоне горения факела, cv (кДж/(м3*К)'); write (l, 'cv=', cv:4:3); writeln(l); gotoxy (21,24); textcolor(5); writeln ('Нажмителюбуюклавишудляпродолжения…'); readkey; clrscr; textbackground(0); textcolor(11); clrscr; gotoxy (8,1); writeln ('Расчетная адиабатная температура в зоне горения, градус Цельсия'); Ta:=(Qt/(Vgaz*cg+1.016*(Agor-1)*Vv*cv))+273; writeln ('Ta=', Ta:6:2); writeln (l, 'Расчетная адиабатная температура в зоне горения, градус Цельсия', 'Ta=', Ta:6:2); writeln(l); gotoxy (21,24); textcolor(5); writeln ('Нажмите любую клавишу для продолжения…'); readkey; clrscr; textbackground(1); textcolor(10); clrscr; gotoxy (10,1); writeln ('Коэффициент тепловой эффективности стен зоны горения факела'); gotoxy (22,2); writeln ('на 1,5 м выше верхнего яруса горелок'); Wf:=(a*c+b*(0.1+c))/(a+2*b); writeln ('Wf=', Wf:1:6); writeln (l, 'Коэффициент тепловой эффективности стен зоны горения факела на 1,5 м выше верхнего яруса горелок'); write (l, 'Wf=', Wf:1:6); writeln(l); gotoxy (22,24); textcolor(5); writeln ('Нажмителюбуюклавишудляпродолжения…'); readkey; clrscr; textcolor(15); gotoxy (4,1); writeln ('Максимальная температура зоны горения с учетом отвода теплоты с экранов'); gotoxy (13,2); writeln ('степени выгорания топлива и влияния рециркуляции газов'); textcolor(0); writeln (l, 'Максимальная температура зоны горения с учетом отвода теплоты с экранов степени выгорания топлива'); write (l, 'и влияния рециркуляции газов'); writeln ('при 5% рециркуляции газов через шлицы под горелки, С'); Tm1:=0.98*Ta*(exp (ln(1-Wf)*0.25))*(1 – (exp (ln(0.05)*1.325)))+273; writeln ('Tm1=', Tm1:4:1); writeln (l, 'при5% рециркуляциигазовчерезшлицыподгорелки, С', 'Tm1=', Tm1:5:1); writeln ('при 15% рециркуляции газов через шлицы под горелки, С'); Tm2:=2110*(1 – (exp (ln(0.15)*1.975)))+273; writeln ('Tm2=', Tm2:4:1); writeln (l, 'при 15% рециркуляции газов через шлицы под горелки, С', 'Tm2=', Tm2:4:1); writeln ('Разность между максимальными температурами при разной рециркуляции газов через'); writeln ('шлицы под горелки, Tm1-Tm2 (С):'); p:=abs (Tm1-Tm2); writeln ('Tm1-Tm2= ', (Tm1-Tm2):3:1); writeln (l, 'Разность между максимальными температурами при разной рециркуляции газов через шлицы под горелки, Tm1-Tm2 (С)'); writeln (l, 'Tm1-Tm2= ', (Tm1-Tm2):3:1); writeln ('При вводе 5% рециркуляции газов в кольцевой канал горелки, С'); Tm3:=2110*(1 – (exp (ln(0.05)*1.15)))+273; writeln ('Tm3=', Tm3:5:1); writeln (l, 'При вводе 5% рециркуляции газов в кольцевой канал горелки, С', 'Tm3=', Tm3:5:1); Writeln ('При вводе 15% рециркуляции газов в кольцевой канал горелки, С'); Tm4:=2110*(1 – (exp (ln(0.15)*1.45)))+273; writeln ('Tm4=', Tm4:4:1); Writeln (l, 'При вводе 15% рециркуляции газов в кольцевой канал горелки, С', 'Tm4=', Tm4:4:1); writeln ('Разность между максимальными температурами при разной рециркуляции газов'); writeln ('при вводе в кольцевой канал горелки Tm3-Tm4 (С):'); z:=Tm3-Tm4; writeln ('Tm3-Tm4=', (Tm3-Tm4):3:1); writeln (l, 'Разность между максимальными температурами при разной рециркуляции газов при вводе в кольцевой'); writeln (l, 'канал горелки Tm3-Tm4 (С)'); writeln (l, 'Tm3-Tm4=', (Tm3-Tm4):3:1); writeln(l); gotoxy (22,24); textcolor(5); writeln ('Нажмителюбуюклавишудляпродолжения…'); readkey; clrscr; textbackground(0); textcolor(9); clrscr; gotoxy (3,1); writeln ('Температурный интервал активной реакции образования оксидов азота, Tp(С):'); writeln ('при 5% рециркуляции газов через шлицы под горелки, С'); Tp1:=Tp(Tm1); writeln (' Tp1= ', Tp1:6:1); writeln (l, 'Температурный интервал активной реакции образования оксидов азота, Tp(С):'); writeln (l, 'при 5% рециркуляции газов через шлицы под горелки, С', ' Tp1= ', Tp1:6:1); writeln ('при 15% рециркуляции газов через шлицы под горелки, С'); Tp2:=Tp(Tm2); writeln (' Tp2= ', Tp2:6:1); writeln (l, 'при 15% рециркуляции газов через шлицы под горелки, С', ' Tp2= ', Tp2:6:1); writeln ('При вводе 5% рециркуляции газов в кольцевой канал горелки, С'); Tp3:=Tp(Tm3); writeln (' Tp3= ', Tp3:6:1); writeln (l, 'При вводе 5% рециркуляции газов в кольцевой канал горелки, С', ' Tp3= ', Tp3:6:1); writeln ('При вводе 15% рециркуляции газов в кольцевой канал горелки, С'); Tp4:=Tp(Tm4); writeln (' Tp4= ', Tp4:6:1); writeln (l, 'При вводе 15% рециркуляции газов в кольцевой канал горелки, С', ' Tp4= ', Tp4:6:1); writeln(l); gotoxy (22,24); textcolor(5); writeln ('Нажмите любую клавишу для продолжения…'); readkey; clrscr; textbackground(0); gotoxy (15,1); textcolor(13); Writeln ('Расчет температуры газов в топке, Tg(C):'); writeln (l, 'Расчет температуры газов в топке, Tg(C):'); textcolor(6); writeln ('при 5% рециркуляции газов через шлицы под горелки, С'); Tg1:=Tg(Tm1); writeln (' Tg1= ', Tg1:2:3); writeln (l, 'при 5% рециркуляции газов через шлицы под горелки, С', ' Tg1= ', Tg1:2:3); writeln ('при 15% рециркуляции газов через шлицы под горелки, С'); Tg2:=Tg(Tm2); writeln (' Tg2= ', Tg2:2:3); writeln (l, 'при 15% рециркуляции газов через шлицы под горелки, С', ' Tg2= ', Tg2:2:3); writeln ('При вводе 5% рециркуляции газов в кольцевой канал горелки, С'); Tg3:=Tg(Tm3); writeln (' Tg3= ', Tg3:2:3); writeln (l, 'При вводе 5% рециркуляции газов в кольцевой канал горелки, С', ' Tg3= ', Tg3:2:3); writeln ('При вводе 15% рециркуляции газов в кольцевой канал горелки, С'); Tg4:=Tg(Tm4); writeln (' Tg4= ', Tg4:2:3); writeln (l, 'При вводе 15% рециркуляции газов в кольцевой канал горелки, С', ' Tg4= ', Tg4:2:3); writeln(l); gotoxy (22,24); textcolor(5); writeln ('Нажмите любую клавишу для продолжения…'); readkey; clrscr; textbackground(0); textcolor(5); writeln ('Введитезначение:'); writeln ('Коэффициента заполнения сечения топки восходящими потокомами газов, bet'); write ('bet='); readln(bet); writeln ('Введите значение:'); writeln ('Теплового напряжения топочного обьема, q (МВт/м3)'); write ('q='); readln(q); writeln ('Введите значение:'); writeln ('Удельного приведенного объема газов, vg (м3/МДж)'); write ('vg='); readln(vg); textcolor(14); gotoxy (14,10); writeln ('Время пребывания газов в топочной камере, j(сек)'); writeln (l, 'Время пребывания газов в топочной камере, j(сек)'); writeln ('при 5% рециркуляции газов через шлицы, сек'); j1:=j (Tg1, r1); writeln ('j1= ', j1:1:5); writeln (l, 'при 5% рециркуляции газов через шлицы, сек', 'j1= ', j1:1:5); writeln ('при 15% рециркуляции газов через шлицы, сек'); j2:=j (Tg2, r2); writeln ('j2=', j2:1:5); writeln (l, 'при 15% рециркуляции газов через шлицы, сек', 'j2=', j2:1:5); writeln ('при вводе 5% рециркуляции газов в горелку, сек'); j3:=j (Tg3, r1); writeln ('j3=', j3:1:5); writeln (l, 'при вводе 5% рециркуляции газов в горелку, сек', 'j3=', j3:1:5); writeln ('при вводе 15% рециркуляции газов в горелку, сек'); J4:=j (Tg4, r2); writeln ('j4=', j4:1:5); writeln (l, 'при вводе 15% рециркуляции газов в горелку, сек', 'j4=', j4:1:5); writeln(l); textcolor(5); writeln ('Введите значение:'); writeln ('Теплового напряжения сечения, Tt (МВт/м) 2'); write ('Tt='); readln(Tt); writeln ('Введите значение:'); writeln ('Cечения топочной камеры, Sc(м)'); write ('Sc='); readln(Sc); textcolor(14); writeln ('Расчетное время реакции образования оксидов азота в топке, jp(сек)'); writeln (l, 'Расчетное время реакции образования оксидов азота в топке, jp(сек)'); writeln ('при 5% рециркуляции газов через шлицы, сек'); jp1:=abs (jp(Tp1, j1)); writeln ('jp1= ', jp1:1:4); writeln (l, 'при 5% рециркуляции газов через шлицы, сек', 'jp1= ', jp1:1:4); writeln ('при 15% рециркуляции газов через шлицы, сек'); jp2:=abs (jp(Tp2, j2)); writeln ('jp2=', jp2:1:4); writeln (l, 'при 15% рециркуляции газов через шлицы, сек', 'jp2=', jp2:1:4); writeln ('при вводе 5% рециркуляции газов в горелку, сек'); jp3:=abs (jp(Tp3, j3)); writeln ('jp3=', jp3:1:4); writeln (l, 'при вводе 5% рециркуляции газов в горелку, сек', 'jp3=', jp3:1:4); writeln ('при вводе 15% рециркуляции газов в горелку, сек'); jp4:=abs (jp(Tp4, j4)); writeln ('jp4=', jp4:1:4); writeln (l, 'при вводе 15% рециркуляции газов в горелку, сек', 'jp4=', jp4:1:4); writeln(l); readkey; clrscr; textbackground(0); gotoxy (15,1); textcolor(14); writeln ('Расчет теоретического времени достижения равновесия, сек'); writeln (l, 'Расчет теоретического времени достижения равновесия, сек'); textcolor(15); writeln ('при 5% рециркуляции газов через шлицы, сек'); f1:=f(Tm1); writeln ('f1= ', f1:5:5); writeln (l, 'при 5% рециркуляции газов через шлицы, сек', 'f1= ', f1:5:5); writeln ('при 15% рециркуляции газов через шлицы, сек'); f2:=f(Tm2); writeln ('f2= ', f2:5:5); writeln (l, 'при 15% рециркуляции газов через шлицы, сек', 'f2= ', f2:5:5); writeln ('при вводе 5% рециркуляции газов в горелку, сек'); f3:=f(Tm3); writeln ('f3= ', f3:5:5); writeln (l, 'при вводе 5% рециркуляции газов в горелку, сек', 'f3= ', f3:5:5); writeln ('при вводе 15% рециркуляции газов в горелку, сек'); f4:=f(Tm4); writeln ('f4= ', f4:5:5); writeln (l, 'при вводе 15% рециркуляции газов в горелку, сек', 'f4= ', f4:5:5); writeln(l); gotoxy (22,24); textcolor(5); writeln ('Нажмите любую клавишу для продолжения…'); readkey; clrscr; textcolor(3); writeln ('Введите значение:'); writeln ('Плотности кислорода при атмосферном давлении, po2 (кг/м3)'); write ('po2='); readln(po2); writeln ('Коэффициента избытка воздуха в газах рециркуляции, Arz'); write ('Arz='); readln(Arz); textcolor(14); gotoxy (1,6); writeln ('Концентрация остаточного(избыточного) кислорода в зоне горения реакции, Co2 (кг/м3)'); writeln; writeln (l, 'Концентрация остаточного(избыточного) кислорода в зоне горения реакции, Co2 (кг/м3)'); textcolor(3); writeln ('при 5% рециркуляции газов через шлицы под горелки'); Co1:=abs (Co(po2, Arz, r1)); writeln ('Co1=', Co1:1:6); writeln (l, 'при5% рециркуляциигазовчерезшлицыподгорелки', 'Co1=', Co1:1:6); writeln ('при вводе 15% рециркуляции газов в горелку'); Co2:=abs (Co(po2, Arz, r2)); writeln ('Co2=', Co2:1:6); writeln (l, 'привводе 15% рециркуляциигазоввгорелку', 'Co2=', Co2:1:6); writeln(l); gotoxy (21,24); textcolor(5); writeln ('Нажмителюбуюклавишудляпродолжения…'); readkey; clrscr; textcolor(11); gotoxy (10,1); writeln ('Концентрациятермическихоксидовазота, No2tr (г/м3):'); writeln (l, 'Концентрация термических оксидов азота, No2tr (г/м3):'); textcolor(2); writeln ('при 5% рециркуляции газов через шлицы под горелки, г/м3'); No2tr1:=No2tr (Co1, Tm1, jp1, f1); writeln (' No2tr1= ', No2tr1:1:6); writeln (l, 'при 5% рециркуляции газов через шлицы под горелки, г/м3', ' No2tr1= ', No2tr1:1:6); writeln ('при 15% рециркуляции газов через шлицы под горелки, г/м3'); No2tr2:=abs (No2tr(Co1, Tm2, jp2, f2)); writeln (' No2tr2= ', No2tr2:1:6); writeln (l, 'при 15% рециркуляции газов через шлицы под горелки, г/м3', ' No2tr2= ', No2tr2:1:6); writeln ('При вводе 5% рециркуляции газов в кольцевой канал горелки, г/м3'); No2tr3:=abs (No2tr(Co1, Tm3, jp3, f3)); writeln (' No2tr3= ', No2tr3:1:6); writeln (l, 'При вводе 5% рециркуляции газов в кольцевой канал горелки, г/м3', ' No2tr3= ', No2tr3:1:6); Writeln ('При вводе 15% рециркуляции газов в кольцевой канал горелки, г/м3 '); No2tr4:=abs (No2tr(Co1, Tm4, jp4, f4)); writeln (' No2tr4= ', No2tr4:1:6); Writeln (l, 'При вводе 15% рециркуляции газов в кольцевой канал горелки, г/м3', ' No2tr4= ', No2tr4:1:6); writeln(l); readkey; clrscr; writeln ('Введите значение:'); writeln ('Содержания азота в топливе, Nr(%)'); write ('Nr='); readln(Nr); GOTOXY (15,4); textcolor(14); writeln ('Топливныеибыстрыеоксидыазота, No2tl (г/м3):'); writeln (l, 'Топливные и быстрые оксиды азота, No2tl (г/м3):'); textcolor(12); writeln ('при 5% рециркуляции газов через шлицы под горелки, г/м3'); No2tl1:=abs (No2tl(Nr, Tm1, r1)); writeln ('No2tl1= ', No2tl1:1:6); writeln (l, 'при5% рециркуляциигазовчерезшлицыподгорелки, г/м3', 'No2tl1= ', No2tl1:1:6); writeln ('при 15% рециркуляции газов через шлицы под горелки, г/м3'); No2tl2:=abs (No2tl(Nr, Tm2, r2)); writeln ('No2tl2= ', No2tl2:1:6); writeln (l, 'при 15% рециркуляциигазовчерезшлицыподгорелки, г/м3', 'No2tl2= ', No2tl2:1:6); writeln ('При вводе 5% рециркуляции газов в кольцевой канал горелки, г/м3'); No2tl3:=abs (No2tl(Nr, Tm3, r1)); writeln ('No2tl3= ', No2tl3:1:6); writeln (l, 'Привводе5% рециркуляциигазоввкольцевойканалгорелки, г/м3', 'No2tl3= ', No2tl3:1:6); Writeln ('При вводе 15% рециркуляции газов в кольцевой канал горелки, г/м3'); No2tl4:=abs (No2tl(Nr, Tm4, r2)); writeln ('No2tl4= ', No2tl4:1:6); Writeln (l, 'Привводе 15% рециркуляциигазоввкольцевойканалгорелки, г/м3', 'No2tl4= ', No2tl4:1:6); writeln(l); readkey; clrscr; textbackground(9); clrscr; gotoxy (4,1); textcolor(15); writeln ('Суммарныйвыходоксидовазота, No2o (г/м3)'); writeln (l, 'Суммарный выход оксидов азота, No2o (г/м3)'); textcolor(2); writeln ('при 5% рециркуляции газов через шлицы под горелки'); No2o1:=No2tr1+No2tl1; writeln ('No2o1=', No2o1:2:4); writeln (l, 'при 5% рециркуляции газов через шлицы под горелки', 'No2o1=', No2o1:2:4); writeln ('при 15% рециркуляции газов через шлицы под горелки'); No2o2:=No2tr2+No2tl2; writeln ('No2o2=', No2o2:2:4); writeln (l, 'при 15% рециркуляции газов через шлицы под горелки', 'No2o2=', No2o2:2:4); writeln ('При вводе 5% рециркуляции газов в кольцевой канал горелки'); No2o3:=No2tr3+No2tl3; writeln ('No2o3=', No2o3:2:4); writeln (l, 'При вводе 5% рециркуляции газов в кольцевой канал горелки', 'No2o3=', No2o3:2:4); Writeln ('При вводе 15% рециркуляции газов в кольцевой канал горелки'); No2o4:=No2tr4+No2tl4; writeln ('No2o4=', No2o4:2:4); Writeln ('При вводе 15% рециркуляции газов в кольцевой канал горелки', 'No2o4=', No2o4:2:4); readkey; close(l); clrscr; writeln ('Желаете повторить расчет'); writeln ('1-нет'); writeln ('2-да'); repeat ch:=readkey; until ch in ['1', '2']; case ch of '1':halt; '2':goto zanovo end; ENd. Описание работы программы Данная программа способна сравнивать ожидаемый выход оксидов азота из газомазутного котла Пп – 1000 – 25 – 545ГМ (ТГМП – 314) при сжигании мазута при заранее заданной рециркуляции, тепловой эффективности стен зоны горения. В данной программе использованы функции, которые избавляют от необходимости многократно повторять в тексте программы аналогичными фрагментами, задавая их изменяющимися переменными. С помощью оператора цикла с постустусловием, в зависимости от нажатия клавиш ‘1’ или ‘2’, работа программы либо завершается, либо выполняется еще раз. Процедура assign позволяет выводить результаты работы программы во внешний файл, при заранее указанном пути. Результаты работы программы Тепловыделение в зоне горения, Qt (кДж/кг) Qt=43491.96 Коэффициент избытка воздуха в зоне горения, AgorAgor=1.005 Расчет теплоемкости воздуха при высоких температурах (более 1600С) в зоне горения факела, cv (кДж/(м3*К) cv=1.556 Расчетная адиабатная температура в зоне горения, градус ЦельсияTa=2582.93 Коэффициент тепловой эффективности стен зоны горения факела на 1,5 м выше верхнего яруса горелок Wf=0.446662 Максимальная температура зоны горения с учетом отвода теплоты с экранов степени выгорания топлива и влияния рециркуляции газовпри 5% рециркуляции газов через шлицы под горелки, СTm1=2414.9 при 15% рециркуляции газов через шлицы под горелки, СTm2=2333.2 Разность между максимальными температурами при разной рециркуляции газов через шлицы под горелки, Tm1-Tm2 (С) Tm1-Tm2= 81.7 При вводе 5% рециркуляции газов в кольцевой канал горелки, СTm3=2315.7 При вводе 15% рециркуляции газов в кольцевой канал горелки, СTm4=2248.2 Разность между максимальными температурами при разной рециркуляции газов при вводе в кольцевой канал горелки Tm3-Tm4 (С) Tm3-Tm4=67.5 Температурный интервал активной реакции образования оксидов азота, Tp(С): при 5% рециркуляции газов через шлицы под горелки, С Tp1= 91.4 при 15% рециркуляции газов через шлицы под горелки, С Tp2= 85.4 При вводе 5% рециркуляции газов в кольцевой канал горелки, С Tp3= 84.2 При вводе 15% рециркуляции газов в кольцевой канал горелки, С Tp4= 79.4 Расчет температуры газов в топке, Tg(C): при 5% рециркуляции газов через шлицы под горелки, С Tg1= 2091.966 при 15% рециркуляции газов через шлицы под горелки, С Tg2= 2029.770 При вводе 5% рециркуляции газов в кольцевой канал горелки, С Tg3= 2016.532 При вводе 15% рециркуляции газов в кольцевой канал горелки, С Tg4= 1965.978 Время пребывания газов в топочной камере, j(сек) при 5% рециркуляции газов через шлицы, секj1= 1.65863 при 15% рециркуляции газов через шлицы, секj2=1.56080 при вводе 5% рециркуляции газов в горелку, секj3=1.72067 при вводе 15% рециркуляции газов в горелку, секj4=1.61145 Расчетное время реакции образования оксидов азота в топке, jp(сек) при 5% рециркуляции газов через шлицы, секjp1= 0.1265 при 15% рециркуляции газов через шлицы, секjp2=0.1113 при вводе 5% рециркуляции газов в горелку, секjp3=0.1209 при вводе 15% рециркуляции газов в горелку, секjp4=0.1068 Расчет теоретического времени достижения равновесия, сек при 5% рециркуляции газов через шлицы, секf1= 0.01428 при 15% рециркуляции газов через шлицы, секf2= 0.03139 при вводе 5% рециркуляции газов в горелку, секf3= 0.03743 при вводе 15% рециркуляции газов в горелку, секf4= 0.07564 Концентрация остаточного(избыточного) кислорода в зоне горения реакции, Co2 (кг/м3) при 5% рециркуляции газов через шлицы под горелкиCo1=0.001998 при вводе 15% рециркуляции газов в горелкуCo2=0.003195 Концентрация термических оксидов азота, No2tr (г/м3): при 5% рециркуляции газов через шлицы под горелки, г/м3 No2tr1= 31.025008 при 15% рециркуляции газов через шлицы под горелки, г/м3 No2tr2= 10.608462 При вводе 5% рециркуляции газов в кольцевой канал горелки, г/м3 No2tr3= 9.327391 При вводе 15% рециркуляции газов в кольцевой канал горелки, г/м3 No2tr4= 3.543303 Топливные и быстрые оксиды азота, No2tl (г/м3): при 5% рециркуляции газов через шлицы под горелки, г/м3No2tl1= 0.282328 при 15% рециркуляции газов через шлицы под горелки, г/м3No2tl2= 0.208903 При вводе 5% рециркуляции газов в кольцевой канал горелки, г/м3No2tl3= 0.193359 При вводе 15% рециркуляции газов в кольцевой канал горелки, г/м3No2tl4= 0.132769 Суммарный выход оксидов азота, No2o (г/м3) при 5% рециркуляции газов через шлицы под горелкиNo2o1=31.3073 при 15% рециркуляции газов через шлицы под горелкиNo2o2=10.8174 При вводе 5% рециркуляции газов в кольцевой канал горелкиNo2o3=9.5207 Анализ допущенных ошибок Error 2: Identifier expected. Error 3: Unknown identifier. Error 5: Syntax error. Error 8: String constant exceeds line. Error 37: End expected. Error 42: Error in expression. Error 62: Division by zero. Error 85: «;» expected. Error 86: «:» expected. Error 87: «,» expected. Error 88: «(«expected. Error 89: «)» expected. Error 90: «=» expected. Error 91: «:=» expected. Error 104: Ordinal variable expected. Error 105: Inline error. Error 116: Must be in 8087 mode to compile. Список используемой литературы 1) Безгрешнов А.Н. Расчет паровых котлов в примерах и задачах: Учеб. пособие для вузов/ А.Н. Безгрешнов, Ю.М. Липов, Б.М. Шлейфер; Под общ. ред. Ю.М. Липова. – М.:Энергоатомиздат, 1991. – 240 с.: ил. 2) Грызлов В.И., Грызлова Т.П. Турбо Паскаль 7.0 – 4 – е изд., испр. – М.: ДМК Пресс, 2005. – 416 с.: ил. 3) Немнюгин С.А. Программирование на языке высокого уровня: Учебник для вузов. 2 – е изд. – СПб.: Питер, 2005. – 544 с.: ил. |









