Реферат: Математическое моделирование физических задач на ЭВМ
|
Название: Математическое моделирование физических задач на ЭВМ Раздел: Рефераты по физике Тип: реферат | ||||||||||||
Министерство народного образования Приднестровский Государственный Университет им. Т.Г. Шевченко Физико-математический факультет Кафедра общей физики и методики преподавания физики Кафедра информатики и вычислительной техники Дипломная работаМатематическое моделирование физических задач на ЭВМ На примере расчета разветвленных цепей постоянного тока основанного на использовании законов Кирхгофа Выполнил: Студент 506 группы Коваленко А.С. Научные руководители: Кандидат физико-математических наук, доцент Цыпишка Д.И. Кандидат физико-математических наук, доцент Брагарь Л.Ф. Тирасполь, 2000г. Содержание: Введение....................................................................................................................................... 3 1. Напряжение и ток в электрической цепи................................................................................. 4 2. Резистивный элемент.............................................................................................................. 5 3. Источники................................................................................................................................ 6 Глава 1. Задача анализа разветвленной цепи.................................................................... 7 Глава 2. Пример. Результаты вычислений........................................................................... 9 Глава 3. Методика моделирования...................................................................................... 10 1. Линейный граф и матрица соединений................................................................................... 10 2. Уравнения контурных токов................................................................................................... 13 3. Алгоритм формирования узловых уравнений........................................................................ 16 Заключение................................................................................................................................ 17 Использованная литература................................................................................................. 18 Приложение................................................................................................................................ 19 Введение Все электротехнические и радиотехнические устройства представляют собой электромагнитные устройства, главные процессы в которых подчиняются общим законам электромагнетизма. В любом электромагнитном устройстве происходит движение электрических зарядов, неразрывно связанное с изменяющимся во времени и пространстве электромагнитным полем, двумя сторонами которого являются электрическое и магнитное поля. Электромагнитные процессы сопровождаются взаимным преобразованием электромагнитной энергии в другие виды энергии. Точный анализ этих процессов, описываемых системами уравнений в частных производных (уравнениями Максвелла), - задача, трудно разрешимая даже в простейших случаях. Но для инженерных расчетов и проектирования устройств необходим количественный анализ. Поэтому возникает потребность в приближенных методах анализа, позволяющих с достаточной степенью точности решать широкий круг задач. Такие методы дает теория электрических цепей, которая для характеристики электромагнитных процессов вместо векторных величин теории поля, зависящих от пространственных координат и времени, вводит интегральные скалярные величины – ток и напряжение, являющиеся функциями времени. Для приближенного учета процессов преобразования электромагнитной энергии в теории цепей вводят идеальные элементы с выводами или полюсами, через которые проходит электрический ток. Простейшими идеальными, базисными элементами являются двухполюсные элементы с двумя полюсами или выводами – индуктивный, емкостный и резистивный элементы, учитывающие накопление энергии в магнитном и электрическом полях и необратимое преобразование электромагнитной энергии в другие виды энергии. Для учета преобразования энергии неэлектрической природы (химической, механической, тепловой и т. д.) в электромагнитную энергию вводят элемент с двумя выводами, называемый источником. Наряду с указанными вводят четырехполюсные и многополюсные элементы в общем случае с n выводами. Соединяя между собой соответствующим образом эти идеальные элементы, получают электрическую цепь, приближенно отображающую электромагнитные процессы в каком-либо устройстве по отношению к интересующим выводам. Теория цепей применима к большому числу устройств, в которых представляют интерес процессы в отдельных точках – выводах. В настоящее время существуют методы и средства расчета радиотехнических цепей на основе математических моделей, представляющие собой в общем случае системы нелинейных дифференциальных уравнений. Одним из многих таких средств является программа, предложенная в [1], которая представляет собой реализацию математической модели расчета цепей постоянного тока. Программа работает следующим образом: пользователь вводит все данные для расчета цепи, самостоятельно производя анализ цепи, т.е. он вводит количество узлов, количество ветвей с элементами, находящимися на них и номиналы этих элементов. Програма решает получающиеся при этом линейные уравнения и выводит результат вычислений. Недостатком указанных выше программных средств является отсутствие автоматизированного построения разветвленных цепей, ввода элементов, выбора направления обхода контуров и токов в ветвях по введенной принципиальной схеме. Кроме этого существующие программы не позволяют непосредственно при расчетах проводить анализ полученных результатов, в динамике изменять параметры компонентов. В связи с этим целью дипломной работы является: разработка математической модели и программы анализа и расчета цепей постоянного тока, автоматического выбора направления обхода контура и направления токов в ветвях цепи, и выводить результаты вычислений. В данной дипломной работе рассматривается метод расчета и анализа линейных разветвленных цепей содержащих резистивные элементы и источники ЭДС с постоянными параметрами элементов основанный на использовании законов Кирхгофа. 1. Напряжение и ток в электрической цепи Электрический ток и напряжение являются основными величинами, характеризующими состояние электрических цепей. Электрический ток в проводниках представляет явление упорядоченного движения электрических зарядов. Под термином «ток» понимают также интенсивность или силу тока, измеряемую количеством электрического зарядаq, прошедшего через поперечное сечение проводника в единицу времени:
Следовательно, ток представляет собой скорость изменения заряда во времени. В СИ заряд выражается в кулонах (Кл), время – в секундах (с), ток – в амперах (А). Ток как отношение двух скалярных величин является скалярной алгебраической величиной, знак которой зависит от направления движения зарядов одного знака, а именно условно принятого положительного заряда. Для однозначного определения знака тока за положительное направление достаточно произвольно выбрать одно из двух возможных направлений, которое отмечают стрелкой (рис. 1.1, а).
Если движение положительного заряда происходит в направлении стрелки, а движение отрицательного заряда—навстречу ей, то ток положителен. При изменении направления движения зарядов на противоположный ток будет отрицательным. Перед началом анализа на всех участках цепи необходимо отметить положительные направления токов, выбор которых может быть произвольным. Программа расчета построена так, что за положительное направление тока принято направление движения «по часовой стрелке». Прохождение электрического тока или перенос зарядов в цепи связаны с преобразованием или потреблением энергии. Для определения энергии, затрачиваемой на перемещение заряда между двумя рассматриваемыми точками проводника, вводят новую величину – напряжение. Напряжением называют количество энергии, затрачиваемой на перемещение единицы заряда из одной точки в другую:
гдеw— энергия. При измерении энергии в джоулях (Дж) и заряда в кулонах (Кл) напряжение выражают в вольтах (В). Напряжение как отношение двух скалярных величин также является скалярной алгебраической величиной. Для однозначного определения знака напряжения между двумя выводами рассматриваемого участка цепи одному из выводов условно приписывают положительную полярность, которую отмечают либо стрелкой, направленной от вывода, либо знаками «+», «-» (рис. 1.1, б, в). Напряжение положительно, если его полярность совпадает с выбранной; это означает, что потенциал вывода со знаком «+», из которого выходит стрелка, выше потенциала второго вывода. Перед началом анализа должны быть указаны выбранные положительные полярности напряжений – только при этом условии возможно однозначное определение напряжений. В программе по умолчанию каждому источнику ЭДС приписывают «+» к высшему потенциалу, а «-» – к низшему. Положительную полярность напряжения выбирают согласованной с выбранным положительным направлением тока, когда стрелки для тока и напряжения совпадают или знак «+» полярности напряжения находится в хвосте стрелки, обозначающей положительное направление тока. При согласованном выборе полярности, очевидно, достаточно ограничиться указанием только одной стрелки положительного направления тока. Для обозначения условно положительной полярности применяют знаки «+», «-» у выводов участка цепи. 2. Резистивный элемент Под резистивным элементом электрической цепи или активным сопротивлением понимают идеализированный элемент, в котором происходит только необратимое преобразование электромагнитной энергии в теплоту или другие виды энергии, а запасание энергии в электрическом и магнитном полях отсутствует. По свойствам к этому идеальному элементу довольно близки такие реальные устройства, как угольные сопротивления, реостаты, лампы накаливания при относительно небыстрых изменениях токов. Условное графическое обозначение резистивного элемента Представлено на рис. 1.2, а, где указаны принятые положительные направления напряжения и тока.
Основное уравнение элемента, связывающее ток и напряжение, так называемая вольт-амперная характеристика, определяется законом Ома, который устанавливает пропорциональность между напряжением и током: U=RI, I=GU (1.3) Коэффициент пропорциональности в первом выражении (1.3), равный отношению напряжения и тока, является электрическим сопротивлением: R=U/I (1.4) Численно сопротивление равно напряжению на элементе при токе в 1 А. Значение сопротивления выражается в омах. Обратная величина – отношение тока к напряжению – представляет собой электрическую проводимость: G=I/U=1/R. (1.5) В теории линейных электрических цепей сопротивление и проводимость принимают постоянными, не зависящими от тока, напряжения и других величин. В реальных элементах это допущение, так же как и допущение отсутствия запасания энергии, выполняется приближенно. Под источником в теории цепей понимают элемент, питающий цепь электромагнитной энергией. Эта энергия потребляется пассивными элементами цепи – запасается в индуктивностях и емкостях и расходуется в активном сопротивлении. Напряжения источников, представляющие заданные функции времени, называют также приложенными к цепи или возбуждающими цепь сигналами. Примерами реальных источников электромагнитной энергии могут служить генераторы постоянных, синусоидальных и импульсных сигналов разнообразной формы, сигналы, получаемые от различного рода датчиков, антенн радиоприемных устройств и т. д. Эти источники сигналов либо являются первичными источниками, в которых происходит непосредственное преобразование энергии неэлектромагнитной природы (механической, химической, тепловой и т. д.) в электромагнитную энергию, либо получают питание от первичных источников. Источник является активным элементом. Для анализа цепей вводят идеализированный источник напряжения, который учитывает главные свойства реального источника. Источник напряжения. Под источником напряжения понимают такой элемент с двумя выводами (полюсами), напряжение между которыми задано в виде некоторой функции времени независимо от тока, отдаваемого во внешнюю цепь.
а) б) Рисунок 1.3. Наиболее часто применяемые условные графические обозначения источника напряжения представлены на рис. 1.3, а и б, где принятая положительная полярность напряжения источника указывается либо стрелкой внутри кружочка, либо большой и малой чертами, малая соответствует знаку «-», а большая - «+». Поскольку положительную полярность напряжения условились обозначать знаками «+», «-», для источника напряжения в программе применено обозначение, показанное на рис. 1.3, б. Глава 1. Задача анализа разветвленной цепи Электрическую цепь, приближенно отображающую электромагнитные процессы в реальном устройстве, составляют путем соответствующего соединения между собой рассмотренных двухполюсных элементов: сопротивления, индуктивности, емкости и источников сигнала. В общем случае отдельные элементы, а также отдельные участки цепи могут соединиться произвольно. В дипломной работе рассмотрены только соединение сопротивления и источника сигнала, в качестве которого используют ЭДС. В результате получается электрическая схема, имеющая определенную геометрическую конфигурацию. На рис. 4 приложения показан пример схемы электрической цепи, составленной из нескольких сопротивлений и источников ЭДС. Основными понятиями, характеризующими геометрическую конфигурацию разветвленной цепи, являются ветвь и узел. Под ветвью в общем случае понимают участок цепи с двумя выводами. Токи ветви принимают в качестве неизвестных переменных, характеризующих состояние цепи. Поэтому, что конкретно следует понимать под ветвью, зависит от выбора переменных цепи. Ветвью можно считать каждый элемент цепи. Но для уменьшения числа переменных за ветви иногда принимают также участки из последовательного соединения отдельных элементов, токи которых имеют одно и то же значение, и участки из параллельного соединения отдельных элементов, напряжения на которых имеют одно и то же значение. При анализе схемы за ветвь принимается участок цепи между двумя узлами цепи. Узел электрической цепи – это точка на схеме, в которой сходятся болеедвух ветвей [4]. Например, на рисунке №4 приложения – 4 узла. Задача анализа электрической цепи формулируется таким образом: Заданы схема электрической цепи со значениями всех ее элементов, а также напряжения источников, действующих в цепи. Требуется найти токи ветвей. В дальнейшем будем применять общие термины, называя заданные напряжения источников функциями возбуждения или сигналами, а искомые токи ветвей, определяемые в результате анализа цепи, - реакциями. Следовательно, требуется найти реакции цепи на действие заданных сигналов. Выводы – узлы или ветви, реакции которых необходимо найти, - называют выходными, а выводы, к которым присоединены источники, - входными. Программа предназначена для анализа любой линейной цепи произвольной конфигурации с любым конечным числом элементов. Для определения искомых реакций – токовветвей в общем случае – необходимо составить уравнения цепи с помощью двух систем уравнений: 1) уравнений элементов, связывающих ток и напряжение каждого элемента, а также заданные напряжения. Уравнения элементов не зависят от схемы и геометрической конфигурации цепи, в которую входят элементы; 2) уравнений соединений, которые определяются только геометрической конфигурацией и способами соединений ветвей (элементов цепи) и не зависят от вида и характера элементов. Уравнения соединений устанавливают связи между токами и напряжениями отдельных элементов, входящих в цепь. Уравнения соединений составляют па основе двух законов Кирхгофа, которые связывают токи ветвей, сходящихся в узлах, и напряжения ветвей, входящих в контуры; контуры представляют замкнутые пути, проходящие однократно через ряд ветвей и узлов. Первый закон Кирхгофа , выражающий закон сохранения заряда, дает уравнение равновесия токов в узле цепи и формулируется так: в любой момент алгебраическая сумма токов ветвей, сходящихся в узле электрической цепи, равна нулю:
Знак тока определяется выбором положительных направлений токов ветвей; токам, выходящим из узла, приписывают условно знак «-», а током, входящим в узел, - знак «+». Второй закон Кирхгофа , выражающий закон сохранения энергии, дает уравнение равновесия напряжений в контуре и формулируется следующим образом: в любой момент алгебраическая сумма напряжений ветвей в контуре равна нулю
Знак напряжения определяется выбором положительных полярностей напряжений ветвей: если при обходе контура перемещение происходит в сторону понижения или падения напряжения, то напряжению ветви условно приписывают знак «+», если в сторону повышения напряжения - знак «-». Линейные цепи, составленные из элементов одного вида, например резистивных, описываются системами линейных алгебраических уравнений. Применяя программу расчета линейных разветвленных электрических схем, необходимо лишь нарисовать схему, и ввести все значениясопротивлений и ЭДС. Все остальные преобразования, такие как выбор обхода контура, направления ЭДС, программа выполнит сама и выдаст конечный результат – значения токов в ветвях схемы. Целью настоящей дипломной работы является создание математической модели и программы работающей по этой модели, позволяющей анализировать и расчитывать разветвленные электрические цепи постоянного тока, на основе использования законов Кирхгофа. На основе проведенного литературного обзора я убедился, что в настоящее время существуют только программы, которые решают лишь уравнения созданные при анализе цепи, но не производят анализ самой цепи. Глава 2. Пример. Результаты вычислений Задача [3, №1.50] Дано: Е1 =120В; Е2 =60В; Е3 =140В; R1 =1Ом; R2 =0,5Ом; R3 =0,4Ом; R4 =R5 =R6 =3Ом Найтитоки в ветвях.
Схема для задачи:
Эквивалентная схема для программы: Результат вычисления программы: Ответ: I1 =6,83; I2 =30,88; I3 =24,05; I4 =12,57; I5 =18,31; I6 =5,74. Как видно, программа дает более точный результат, чем тот, который предлагается для проверки правильности решения задачи. Результаты вычислений выводятся в отдельном окне. (Рисунок №6 приложения). Глава 3. Методика моделирования В этой главе излагаются общие методы анализа цепей произвольной структуры, составленных из двухполюсных резистивных элементов с постоянными сопротивлениями и ЭДС, использованные для анализа схем в программе. Методы основаны на составлении уравнений цепи относительно выбранных переменных и их решении. 1. Линейный граф и матрица соединений Для цепей сложной структуры использовалась запись уравнений в матричной форме. Матричная запись: 1) позволяет распространять формальным образом полученные уравнения на цепи любой сложной структуры; 2) систематизирует и упрощает процесс составления уравнений; 3) дает алгоритмы формирования уравнений с помощью ЭВМ; в случае сложных цепей составление уравнений «вручную» (без ЭВМ) требует значительных затрат времени. Рассмотрим классические методы контурных и узловых уравнений. Вначале введем понятие графа цепи, описывающего свойства цепи, связанные с взаимным соединением ветвей, т. е. с геометрической структурой (топологией) схемы. Применение понятия графа позволяет записывать в матричной форме уравнения соединений, составляемые на основе законов Кирхгофа, и тем самым формировать уравнения разветвленных цепей с помощью ЭВМ. Уравнения равновесия токов и напряжений, составленные по Законам Кирхгофа, как указывалось, линейными однородными уравнениями. Важное условие, которое должно обеспечиваться, состоит в линейной независимости уравнений. Ни одно уравнение не должно быть получено линейной комбинацией остальных уравнений. Общий систематический метод получения линейно независимых уравнений цепи основан также на привлечении понятий теории линейного графа, одного разделов математической дисциплины—топологии. К линейному графу приводит следующее соображение: Уравнения равновесия токов и напряжений, составленные по законам Кирхгофа, определяются только схемами соединений ветвей, т. е. геометрической структурой цепи, и не зависят от вида и характеристик элементов, т. е. от физического содержания ветвей. Поэтому при составлении уравнений соединений удобно отвлекаться от вида и характеристик ветвей цепи, заменив их линиями. В результате для цепи рис. 3.1, а, составленной из любых двухполюсных элементов, получим линейный граф, показанный на рис. 3.1, б.
Граф является системой или совокупностью двух элементов—узлов (вершин), изображаемых точками, и ветвей (ребер), изображаемых отрезками линий, которые соединяют пары узлов. В предельном вырожденном случае граф может состоять только из одного узла. Числа узлов и ветвей графа обозначим п y и n д . Поскольку каждому узлу и каждой ветви цепи сопоставляется узел и ветвь графа, граф цепи содержит всю информацию о соединениях и геометрических свойствах исходной цепи. На рис. 3.1, а, б соответственные узлы, а также ветви цепи и графа имеют одинаковые номера. Граф, так же как и исходная цепь, может иметь различную структуру. Различают планарный (плоский) граф, если его можно изобразить на плоскости без пересечения ветвей (рис. 3.1,6), и не планарный (пространственный) граф, если при его изображении на плоском чертеже невозможно избежать пересечения ветвей (рис. 3.2, а). Полным называют граф, у которого каждая пара узлов соединена одной ветвью. Примером полного графа цепи может служить граф рис. 3.2, а. Любую часть графа, элементы которой являются элементами исходного графа, называют подграфом. Подграф получают путем удаления (исключения) некоторых ветвей исходного графа. Важным подграфом является путь графа, представляющий непрерывную последовательность ветвей, связывающую пару выбранных узлов, с прохождением каждого узла не болееодного раза. Смежные ветви пути имеют общий узел, так что к каждому узлу присоединены две ветви, лишь к крайним узлам — по одной ветви.
На рис. 3.1, б пути, связывающие узлы 1, 4, образованы ветвями 2-4, 5-6, 1, 2-3-5 и т. д. Если в заданном графе имеется хотя бы один путь между любой парой узлов, то граф называется связным—он соответствует цепи, элементы которой соединены только электрически. Граф рис. 3.1, б является примером связного графа, а рис. 3.2, б —несвязного: он состоит из двух раздельных частей, элементы которых могут иметь связь, например, через взаимную индуктивность. Для составления уравнений соединений по законам Кирхгофа необходимо на всех ветвях графа стрелками указать положительные направления токов. В результате получается граф с ориентированными ветвями, называемый направленным графом токов цепи (рис. 3.1, б), ветви которого являются токами. Положительные полярности напряжений ветвей удобно принимать согласованными с положительными направлениями токов. Тогда в цепях, составленных из двухполюсных элементов, направленный граф напряжений, ребра которого являются напряжениями ветвей, будет совпадать с графом токов. Переход к направленному графу позволяет производить аналитическую запись структуры графа и подграфов в виде таблиц – матриц, называемых топологическими матрицами. Аналитическое представление графа необходимо для формирования уравнений сложной цепи с помощью ЭВМ. Полное описание структуры направленного графа дает n у xn в - матрица соединений, nу строк которой являются порядковыми номерами узлов, nв столбцов – номерами ветвей. Элементами а i,j этой матрицы являются символы наличия или отсутствия ветвиk, присоединенной к узлуi, которые принимаются равными +1 (—1) для выходящей из узла (входящей) ветви и 0, если ветвь не связана с узлом. Для того чтобы записать матрицу соединений, достаточно для каждой ветви определить номера обоих соединяемых узлов i,j и заполнить клеточки на пересечениях строкi, j и столбца с номером ветви k значениями +1, — 1; в остальных клеточках должны быть проставлены нули. Для графа рис. 3.1,б получим полную матрицу соединений:
(3.1) Так как каждая ветвь соединяет два узла—выходит из одного узла и входит в другой, то столбец матрицы состоит из двух ненулевых элементов +1, —1 (их сумма равна нулю), так что достаточно заполнить таблицу для ny -1 узлов, которая является редуцированной матрицей соединений А. Эту независимую матрицу можно получить из полной матрицы Аa вычеркиванием строки, соответствующей выбранному базисному узлу. Приняв в качестве базисного узел 4 и соответственно вычеркивая четвертую строку в (3.1), получим редуцированную матрицу соединений:
(3.2) Строка матрицы А показывает, какие ветви выходят из каждого независимого узла графа цепи (и входят в него), а столбец – ккаким узлам присоединена ветвь. В отличие от полной матрицы Аа у редуцированной матрицы соединений связного графа множество всех строк линейно независимо. Отсюда можно сделать вывод о том, что система уравнений равновесия токов в ny -1узлах цепи линейно независима. Если ввести вектор токов пв , ветвей: i=[i1 , i2 , … in в ]Т , (3.3) то систему независимых уравнений в nу - 1 узлах по ЗТК в соответствии со смыслом матрицы А можно записать в виде: Ai=0, (3.4) где 0=[0 0 … 0]T - нулевой вектор размерности nу - 1. Для графа цепи рис. 3.1, б с матрицей соединений (3.2) имеем:
Транспонированная матрица соединений имеет вид:
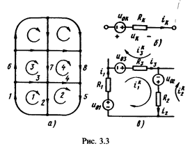
(3.5) Строка этой матрицы показывает, между какими узлами присоединена каждая ветвь. Если задана матрица соединений, то всегда можно построить соответствующий граф. Для этого, расположив точки, обозначающие узлы, следует соединить их попарно ветвями. Номера и направление ветвей определяются ненулевыми элементами столбцов матрицы соединения. Метод контурных токов применим к цепям с планарным графом (рис. 3.3, а). В качестве переменных принимают замкнутые контурные токи, проходящие по ветвям, образующим все внутренние ячейки графа. Если намечать контуры – периметры ячеек – по порядку, начиная с одного края цепи, то легко убедиться, что в каждый последующий контур вносится новая ветвь, не вошедшая в предыдущие контуры. Отсюда следует, что уравнения равновесия напряжений в таких контурах будут линейно независимы. Число внутренних ячеек равно nx =nв -ny +1.
Каждой ячейке приписывается один контурный ток, замыкающийся по ветвям, образующим ячейку. Общее число переменных – контурныхтоков– равночислу ячеек. Направления всех контурных токов принимают одинаковыми – почасовой стрелке. Как видно из рис. 3.3, a, по каждой ветви цепи, за исключением периферийных ветвей, замыкаются два контурных тока, направленные в противоположные стороны. Запишем уравнения соединений. 1. Приравнивая нулю суммы напряжений ветвей всех независимых контуров (ячеек), имеем nх
уравнений по ЗНК
2. Выражая ток каждой ветви через разность двух (в общем случае) замыкающихся по смежным контурам контурных токов, получим nв уравнений по ЗТК :
Как видно, токи всех ветвей, т. е. поведение всей цепи, полностью определяются nх контурными токами, число которых меньше числа ветвей. Запишем уравнения ветвей. Положим для удобства, что выполнено преобразование всех источников тока и цепь содержит только источники напряжения. Примем для общности каждую ветвь состоящей из последовательного соединения резистивного элемента и источника напряжения (рис. 3.3,6). Уравнение такой составной ветви имеет вид:
Для получения уравнений относительно выбранных переменных необходимо: 1) с помощью уравнений ветвей 2) токи ветвей в получившейся системе заменить, согласно Получим уравнения для одной из ячеек, например первой (рис. 3.3, в), образованной тремя ветвями. Основным уравнением равновесия напряжений в первом контуре будет: u1 +u2 +u3 =0 (*) Токи ветвей ячейки:
Уравнения ветвей:
Из трех систем уравнений (*), (**), (***) необходимо получить уравнение, содержащее только искомые контурные токи. В соответствии со сказанным с помощью (***) заменяем в основном уравнении (*) напряжения на токи ветвей, которые затем выражаем через контурные токи согласно (**):
После группировки имеем:
Первое слагаемое здесь представляет сумму напряжений всех резистивных ветвей контура только от собственного контурного тока в отсутствие токов других контуров (при их разрыве), а остальные слагаемые—напряжения ветвей контура от токов других контуров в отсутствие собственного контурного тока. В правую часть перенесены напряжения всех источников, входящих в контур. Аналогичные уравнения получим для остальных контуров. Если число контуров равно п, топредположив для общности число ветвей каждой ячейки также равным п, можно записать систему уравнений контурных токов:
КоэффициентRkk — собственное сопротивление контура, равное сумме сопротивлений всех ветвей ячейки, а коэффициент Rik =Rki (i<>k) – взаимное сопротивление контуров, равное сопротивлению общей для контуров i и k ветви, взятому с отрицательным знаком, которым учитываются встречные направления контурных токов в рассматриваемой ветви. Каждое уравнение системы выражает условие равновесия напряжений ветвей контура – резистивных и источников напряжения (в правой части). Слагаемое на главной диагонали Составление уравнений сводится к записи симметричной матрицы параметров контурных токов:
Вектора контурных напряжений источников, составляющие которых равны суммам напряжений источников в контурах:
При введении вектора искомых контурных токов уравнения (3.10) в матричной форме можно записать в виде:
3. Алгоритм формирования узловых уравнений Для ввода графа или соединений цепи производят последовательную нумерацию: 1) всех узлов от 1 до п=п y -1 (опорному узлу присваивают нулевой номер); 2) всех ветвей от 1 до nв . Как указывалось, всю информацию о структуре графа содержит матрица соединений. Но вводить в память этуматрицу в виде двумерного массива нерационально из-за большого числа нулевых элементов. Поэтому структуру графа вводят с помощью таблицы соединений – одномерногомассива троек целых чисел(k, i, j), гдеk — номер ветви;i— номер узла, откуда ветвь выходит;j— номер узла, куда ветвь входит. Тройки чисел дают ненулевые элементы aik =1 и аjk =-1 матрицы А. По заданной таблице соединений можно получить все необходимые для формирования уравнений матрицы. Формировать узловые уравнения на ЭВМ можно перемножив произведение первых двух матриц па транспонированную матрицу соединений, получим матрицу узловых проводимостей; перемножение транспонированной матрицы АТ на вектор токов источников дает вектор узловых токов. Действия над матрицами (транспонирование, суммирование, перемножение) легко программируется. Упомянутые матрицы являются разреженными, т. е. содержат много нулевых элементов. Поэтому приведенный алгоритм, включающий много действий умножения на нулевой элемент, применять невыгодно. Более рационально формировать матрицу Gy и вектор iy непосредственно - по мере поступления данных составных ветвей, исходя из смысла собственной и взаимной проводимостей. Вначале матрицу узловых проводимостей и вектор узловых токов принимают равными нулю: Gy =0 и iy =0, затем к ним добавляют элементы, вносимые каждой составной ветвью. Данные ветви (k, i, j) с проводимостью Gk и током источника тока iok войдут в собственные проводимости Gii , Gjj , узлов i, j как добавки Gk , во взаимные проводимости Gij , Gji как добавки Gk и в элементы вектора узловых токов iyi , iyi -как добавки ±i0k . Добавки ветви в матрицу проводимости Gy и вектор тока iy можно представить в виде:
Если ветвь присоединена к базисному узлу (j=0) то она внесет добавкуGk , только в собственную проводимость Gii и добавку i0k в составляющую iiy вектора узловых токов. Учет данных последней ветви завершает формирование узловых проводимостей и вектора узловых токов. Таким образом в настоящей дипломной работе:· проведен литературный обзор по моделированию процессов в радиотехнических цепях, методов и средств расчетов токов и направлений в них;· построена математическая модель разветвленной цепи постоянного тока;· на языке программирования Турбо Паскаль версии 7.0. в удобном графическом интерфейсе разработана программа построения и анализа электрической схемы цепи постоянного тока; · приведены методические пояснения при работе с разработанной программой, а также расчетов и анализа электрических цепей; · программа допускает без принципиальных изменений расширение её функциональных возможностей для расчетов цепей переменного тока, а также моделирования и анализа электромагнитных полей; · результаты настоящей дипломной работы могут быть использованы в учебном процессе, при разработке электронной аппаратуры в научных лабораториях и на производстве. В заключение хочу выразить благодарность своим научным руководителям: Цыпишка Дмитрию Ивановичу, Брагарь Луке Федеровичу и заведующиему кафедрой кафедрой общей физики и методики преподавания физики Стамову Ивану Григорьевичу, за методическую помощь, оказанную при написании дипломной работы. 1. К.С. Демирчан, П.А. Бутырин. Моделирование и машинный расчет электрических цепей. М., «Высшая школа», 1988г. 2. В. Нерретер. Расчет электрических цепей на ПЭВМ. М., «Энергоатомиздат», 1991г. 3. Пантюшин В.С. Сборник задач по электротехнике и основам электронники. М., «Высшая школа», 1979г. 4. П.Н. Махтанов. Основы анализа электрических цепей. Линейные цепи. М., «Высшая школа», 1990г. 5. «Электротехника». Под редакцией проф. В.С. Пантюшина. М., «Высшая школа», 1976г. 6. В.Г. Абрамов, Н.П. Трифонов, Г.Н. Трифонова. «Введение в язык Паскаль». М., «Наука», 1988г. 7. Ж.Джонс, К. Харроу. «Решение задач в системе Турбо Паскаль». М., «Финансы и статистика», 1991г. 8. К. Боон. «Паскаль для всех». М., «Энергоиздат», 1988г. 9. Д. Прайс. «Программирование на языке Паскаль». Практическое руководство. М., «Мир», 1987г. I. Рисунки с видами экрана при работе с программой....................................................... 20 Рисунок №1. Общий вид экрана...................................................................................................... 20 Рисунок №2. Меню – Файл.............................................................................................................. 21 Рисунок №3. Открытие файла, сохраненного на диске.................................................................. 22 Рисунок №4. Вид экрана с изображением схемы........................................................................... 23 Рисунок №5. Вывод результата вычисления токов в ветвях схемы.............................................. 24 Рисунок №6. Просмотр направления токов в ветвях схемы.......................................................... 25 Рисунок №7. Вид экрана при сохранении схемы в файл................................................................. 26 Рисунок №8. Меню – Окно.............................................................................................................. 27 Рисунок №9. Окно помощи выводимое на экран при нажатии клавиши F1.................................... 29 II. Листинг программы на языке Паскаль............................................................................... 30 1. Основная программа.................................................................................................................. 30 2. Модуль с библиотекой элементов.............................................................................................. 36 3. Модуль вычисления токов ветвей............................................................................................... 48 I. Рисунки с видами экрана при работе с программой
Меню элементов
Индекатор свободной памяти
Меню – Файл
Рисунок №3. Открытие файла, сохраненного на диске. Открытие файла со схемой
Рисунок №4. Вид экрана с изображением схемы. Изображение схемы
Рисунок №5. Вывод результата вычисления токов в ветвях схемы. Результаты вычислений
Резисторы
Направления токов
Рисунок №7. Вид экрана при сохранении схемы в файл.
Указатель мыши
Меню
Информация о свободной памяти
Закрытие окна
Окно с помощью программы
Горизонтальный скролинг Вертикальный скролинг II. Листинг программы на языке Паскаль. Program UzPotenc ; {Метод узловых потенциалов} {$F+,O+,X+,V-,R-,I-,S-} Uses Crt, Applic1, Objects, Drivers, Dialogs, Views, Menus, App, StdDlg, Fonts, HelpFile, MsgBox, TxtRead, WInDows, PalObj, Grv16, DemoHlp, Types2; Type TNewApp=Object(TMyApp) Procedure ReCounte; Virtual; End; Var MyApp:TNewApp; Type PMyCollection=^TMyCollection; TMyCollection=Object(TCollection) Procedure FreeItem(Item:poInter); Virtual; End; Procedure CurView ; {Просмотр значений токов} Var R,R1:TRect; D:PDialog; L:PListBox; C:PMyCollection; Sb:PScrollBar; i:Integer; s:String; Begin Sb:=Nil; MyApp.ShemeWInDow^.GeTextentWIn(R); R.B.X:=R.A.X+(R.B.X-R.A.X) Div 4; D:=New(PDialog,Init(R,'Значения токов')); D^.GeTextentWIn(R); Inc(R.A.Y,CurrentFont^.Height*2); R1.Copy(R); R1.A.X:=R1.B.X-CurrentFont^.Width*2; If RCount>(R.B.Y-R.A.Y) Div CurrentFont^.Height Then Begin Sb:=D^.StAndardScrollBar(sbVertical+sbHAndleKeyBoard); End; C:=New(PMyCollection,Init(RCount,1)); For i:=1 To RCount Do Begin Str(abs(Currents[i]):9:6,s); If i Div 10>0 Then C^.Insert(NewStr('I'+IntToStr(i)+'='+s+'A')) Else C^.Insert(NewStr(' I'+IntToStr(i)+'='+s+'A')) End; L:=New(PListBox,Init(R,1,Sb)); L^.NewList(C); D^.Insert(L); R.B.Y:=R.A.Y; Dec(R.A.Y,CurrentFont^.Height*2); D^.Insert(New(PLabel,Init(R,' Токи в ветвях',L))); DeskTop^.Insert(D); End; Procedure TNewApp.ReCounte; {Обсчет} Var i,j,k,l,m,Ii,Sizex,Index:Integer; A:TElAr; f1,f2:Boolean; Ratio:Real; Function Vetv1 (Ai,Aj,Ad:Integer):Boolean; {Функция сохраняет в A ветвь от элемента (Ai,Aj) в направлении Ad (0-Up,1-Down,2-Left,3-Right и возвращает TRUE, если она содержит элементы} Var i,j,k,l:Integer; Flag1,Flag2:Boolean; Begin Flag1:=True; Flag2:=False; With A[Index] Do Begin Str:=Ai; Col:=Aj; Num:=Sheme[Ai,Aj,2]; Typ:=Sheme[Ai,Aj,1]; End; Inc(Index); Case Ad Of 0: Begin i:=Ai+1; j:=Aj-1; End; 1: Begin i:=Ai-1; j:=Aj+1; End; 2: Begin i:=Ai-1; j:=Aj+1; End; 3: Begin i:=Ai+1; j:=Aj-1; End; End; While Flag1 And (i>0) And (j>0) And (i<=nS) And (j<=mS) And Not (Sheme[i,j,1] In [0,14..18]) Do Begin If Sheme[i,j,1] In [3..8] Then Begin Flag2:=True; With A[Index] Do Begin Str:=i; Col:=j; Num:=Sheme[i,j,2]; Typ:=Sheme[i,j,1]; Case Ad Of 0:Dir:=Typ In [5,8]; 1:Dir:=Typ=6; 2:Dir:=Typ=4; 3:Dir:=Typ In [3,7]; End; End; Inc(Index); End; Case Ad Of 0: Case Sheme[i,j,1] Of 2,5,6,8,9 : Dec(i); 10 : Begin Inc(j); Ad:=3; End; 11 : Begin Dec(j); Ad:=2; End; Else Flag1:=False; End; 1: Case Sheme[i,j,1] Of 2,5,6,8,9 : Inc(i); 12 : Begin Inc(j); Ad:=3; End; 13 : Begin Dec(j); Ad:=2; End; Else Flag1:=False; End; 2: Case Sheme[i,j,1] Of 1,3,4,7,9 : Dec(j); 10 : Begin Inc(i); Ad:=1; End; 12 : Begin Dec(i); Ad:=0; End; Else Flag1:=False; End; 3: Case Sheme[i,j,1] Of 1,3,4,7,9 : Inc(j); 13 : Begin Dec(i); Ad:=0; End; 11 : Begin Inc(i); Ad:=1; End; Else Flag1:=False; End; End; End; If Sheme[i,j,1] In [14..18] Then Begin With A[Index] Do Begin Str:=i; Col:=j; Num:=Sheme[i,j,2]; Typ:=Sheme[i,j,1]; End; Inc(Index); With A[Index] Do Begin Str:=0; Col:=0; Num:=0; Typ:=0; End; Inc(Index); End; If Not Flag2 Then Begin For k:=1 To NoDecount Do If (Nodes[k,1]=i) And (Nodes[k,2]=j) Then l:=k; NNum[l]:=NNum[Ii]; {Исключение накоротко замкнутых ветвей} End; Vetv1:=Flag2; End; Function ElEqu (Var Src,Dst:TEl):Boolean; {Returns TRUE, If Src=Dst} Begin With Src Do ElEqu:=(Str=Dst.Str)And(Col=Dst.Col)And(Typ=Dst.Typ)And(Num=Dst.Num); End; Function IsDiv (Var Src:TEl):Boolean; {Returns TRUE, If Src - Divider} Begin With Src Do IsDiv:=(Str=0)And(Col=0)And(Typ=0)And(Num=0); End; Function NextDiv (i:Integer):Integer; {Поиск след. разд. элемента в массиве} Begin Repeat Inc(i); Until (i>Sizex) Or IsDiv(A[i]); If i<=Sizex Then NextDiv:=i End; Function PrevDiv (i:Integer):Integer; {Поиск пред. разд. элемента в массиве} Begin Repeat Dec(i); Until (i<1) Or IsDiv(A[i]); If i>=1 Then PrevDiv:=i Else PrevDiv:=0; End; Begin For i:=1 To nS*mS Div 2 Do For j:=1 To nS*mS Div 2 Do Equals[i,j]:=0; For Ii:=1 To NoDecount Do NNum[Ii]:=Ii; Index:=1; For Ii:=1 To NoDecount Do Begin Case Sheme[Nodes[Ii,1],Nodes[Ii,2],1] Of 14:Begin Vetv1(Nodes[Ii,1],Nodes[Ii,2],0); Vetv1(Nodes[Ii,1],Nodes[Ii,2],1); End; 15:Begin Vetv1(Nodes[Ii,1],Nodes[Ii,2],0); Vetv1(Nodes[Ii,1],Nodes[Ii,2],1); End; 16:Begin Vetv1(Nodes[Ii,1],Nodes[Ii,2],0); Vetv1(Nodes[Ii,1],Nodes[Ii,2],1); End; 17:Begin Vetv1(Nodes[Ii,1],Nodes[Ii,2],1); Vetv1(Nodes[Ii,1],Nodes[Ii,2],2); End; 18:Begin Vetv1(Nodes[Ii,1],Nodes[Ii,2],0); Vetv1(Nodes[Ii,1],Nodes[Ii,2],2); End; End; End; Sizex:=Index-1; {Оставляет нужные ветви} i:=1; While i<=Sizex Do Begin j:=0; f1:=True; While (i+j<=Sizex) And f1 Do Begin k:=NextDiv(i+j); If ElEqu(A[k-1],A[i])And ElEqu(A[k-2],A[i+1]) Then Begin f1:=False; l:=PrevDiv(k); For m:=0 To Sizex-k Do A[l+m]:=A[k+m]; Sizex:=Sizex-(k-l); i:=NextDiv(i)+1; If i=1 Then i:=Sizex+1; End Else j:=k-i; End; End; i:=0; {Исключает пустые ветви} While i<=Sizex Do Begin j:=NextDiv(i); If j-i=3 Then Begin For k:=1 To Sizex-j Do End; If j<>0 Then i:=j Else i:=Sizex+1; End; {Считаем сколько узлов с учётом соединений} NCount:=NoDecount; For i:=1 To NoDecount Do If NNum[i]<>i Then Dec(NCount); If NCount<>NoDecount Then For i:=1 To NoDecount Do Begin j:=0; For k:=1 To NoDecount Do If NNum[k]=i Then j:=1; If j=0 Then For k:=1 To NoDecount Do If NNum[k]>i Then Dec(NNum[k]); End; i:=1; j:=0; Repeat Inc(j); k:=NextDiv(i); With Brunches[j] Do Begin AEDS:=0; ARes:=0; For l:=i To k Do With A[l] Do Case Typ Of 3..6: If Dir Then EDS:=AEDS+EDS[Str,Col] Else EDS:=AEDS-EDS[Str,Col]; 7..8: ARes:=ARes+abs(Res[Str,Col]); End; FromN:=NNum[A[i].Num]; If k<>0 Then Begin ToN:=NNum[A[k-1].Num]; i:=k+1; End Else Begin ToN:=NNum[A[Sizex-1].Num]; i:=Sizex+1; End; End; Until i>Sizex; BrunchCount:=j; {Заполняем систему} For i:=1 To BrunchCount Do With Brunches[i] Do Begin Equals[FromN,FromN]:=Equals[FromN,FromN]+1/ARes; Equals[ToN,NCount+1]:=Equals[ToN,NCount+1]+AEDS/ARes; End; {Решаем систему} For i:=2 To NCount Do Begin Ratio:=Equals[i,i]; For j:=2 To NCount+1 Do Equals[i,j]:=Equals[i,j]/Ratio; For k:=2 To NCount Do If k<>i For i:=1 To NCount+1 Do Begin Equals[1,i]:=0; Equals[i,1]:=0; End; {После решения расставляем токи} For i:=1 To RCount Do Begin j:=1; While (j<=Sizex) And Not ((A[j].Typ In [7,8]) And (A[j].Num=i)) Do Inc(j); k:=0; l:=j; Repeat k:=k+1; j:=PrevDiv(j); Until j=0; With Brunches[k] Do Begin Currents[i]:=(AEDS-Equals[ToN,NCount+1]+Equals[FromN,NCount+1])/ARes; If Not A[l].Dir Then Currents[i]:=-Currents[i]; End; End; CurView; End; Procedure TMyCollection.FreeItem ; Begin If Item<>Nil Then DisposeStr(PString(Item)); End; BEGIN MyApp.Init; MyApp.Run; MyApp.Done; END . 2. Модуль с библиотекой элементов Unit Types2 ; Interface Uses Crt, Objects, Drivers, Dialogs, Views, Menus, App, StdDlg, Fonts, HelpFile, MsgBox, TxtRead, WInDows, PalObj, Grv16, DemoHlp; Const nS=8; mS=13; Sx:Integer = 50; Sy:Integer = 40; Sx1:Integer=20; Sy1:Integer=20; cmMemoViewChange = 1001; CurrentElement:Byte=0; IsResist:Boolean=True; {If True - resistOrs, Else - currents} Type TSheme=Array [1..nS,1..mS,1..2] Of Byte; {Массив сдержит схему} TNodes=Array [1..nS*mS,1..2] Of Byte; {Массив содержит координаты всех узловых элементов (i,j)} TElems=Array [1..nS,1..mS] Of Real; {Содержит элементы значения} TCurrents=Array [1..nS*mS] Of Real; {Токи} TNNum=Array [1..nS*mS] Of Byte; {Номера узлов} PEl=^TEl; {Элемент} TEl=recOrd Str,Col:Byte;{строка, столбец} Typ:Byte;{тип} Num:Byte;{номер} Dir:Boolean; End; TBrunch=recOrd {Ветвь} FromN,ToN:Byte; ARes,AEDS:Real; End; TElAr=Array [1..2*mS*nS] Of TEl; {Элементы} TBrunches=Array[1..mS*nS] Of TBrunch; {Ветви} TEquals=Array[1..mS*nS Div 2,1..mS*nS Div 2] Of Real; {Уравнения} PToolBar = ^TToolBar; TToolBar = Object(TView) ConstructOr Init(Var R: TRect); Procedure Draw ; Virtual; Procedure HAndleEvent (Var Event:TEvent); Virtual; {Реагирование на события} End; PMemoView = ^TMemoView; TMemoView = Object(TView) ConstructOr Init(Var Bounds: TRect); Procedure HAndleEvent (Var Event: TEvent); Virtual; Procedure Draw ; Virtual; End; {П- указатель, Т - тип} PShemeView = ^TShemeView; TShemeView = Object(TView) ConstructOr Init(Var R: TRect); Procedure Draw ; Virtual; Procedure HAndleEvent (Var Event:TEvent); Virtual; End; PShemeWIn = ^TShemeWIn; TShemeWIn = Object(TDialog) ConstructOr Init(Var R:TRect); Function ElMatter (IsEDS:Boolean):Real; {Окно ввода значений} DestructOr Done; Virtual; End; Var Sheme:TSheme; Nodes:TNodes; EDS,Res:TElems; Currents:TCurrents; {Токи} NCount,NoDecount,ECount,RCount:Integer; {Реално узлов, Узловых эл-тов, Колво ЭДС и Кол-во Рез.} Changed:Boolean; Exist:Boolean; SetPhase:Boolean; NNum:TNNum; Brunches:TBrunches; {Ветви} BrunchCount:Integer; {Кол-во} Equals:TEquals; Function IntToStr (i:longInt):String; Procedure ElNumbers (Var ASheme:TSheme); Procedure InitSheme (Var ASheme:TSheme); Implementation Procedure InitSheme (Var ASheme:TSheme); {Зануляет текущую схему. Вызывается при старте и команде ОЧИСТИТЬ} Var i,j,k:Integer; Begin For i:=1 To nS Do For j:=1 To mS Do For k:=1 To 2 Do Begin ASheme[i,j,k]:=0; EDS[i,j]:=0; Res[i,j]:=0; End; End; ConstructOr TMemoView.Init(Var Bounds: TRect); Begin TView.Init(Bounds); EventMask:= EventMask Or evBroadCast; Options := OfPreProcess; End; Procedure TMemoView.HAndleEvent (Var Event: TEvent); Begin Inherited HAndleEvent(Event); With Event Do If (What =evBroadCast)And(CommAnd=cmMemoViewChange) Then DrawView Else Exit; ClearEvent(Event); End; Procedure TMemoView.Draw ; Var R: TRect; S: String; Begin SetColOr(7); FillRect(1, 1, Pred(Size.X), Pred(Size.Y)); GeTextent(R); With R Do DrawFrame(A, B, OfWhiteRight); Str(MemAvail:6, S); SetColOr(0); WriteStr(5, 3, S + 'b'); End; ConstructOr TToolBar.Init(Var R: TRect); Begin Inherited Init(R); GrowMode:= GrowMode Or (gfGrowHiX+gfGrowHiY); End; Procedure TToolBar.Draw ; Var i,j: Integer; Procedure ElDraw (Ax,Ay:Integer; An:Byte); Procedure _1 (x,y:Integer); Begin plotlIne (x,y+Sy Div 2,x+Sx,y+Sy Div 2); End; Procedure _2 (x,y:Integer); Begin PlotLIne (x+sx Div 2,y,x+sx Div 2,y+sy); End; Procedure _9 (x,y:Integer); Begin PlotLIne (x,y+sy Div 2,x+sx,y+sy Div 2); PlotLIne (x+sx Div 2,y,x+sx Div 2,y+sy); End; { Procedure _3(x,y:Integer); Begin PlotLIne (x,y+Sy Div 2,x+Sx Div 5,y+Sy Div 2); PlotLIne (x+Sx*4 Div 5,y+Sy Div 2,x+Sx,y+Sy Div 2); ThickCircle(x+Sx Div 2,y+Sy Div 2,sx*2 Div 6,1); PlotLIne (x+Sx Div 4,y+Sy Div 2,x+Sx*3 Div 4,y+Sy Div 2); PlotLIne (x+Sx*3 Div 4,y+Sy Div 2,x+Sx Div 2,y+Sy*13 Div 20); PlotLIne (x+Sx*3 Div 4,y+Sy Div 2,x+Sx Div 2,y+Sy*7 Div 20); End; Procedure _4(x,y:Integer); Begin PlotLIne (x,y+sy Div 2,x+sx Div 5,y+sy Div 2); PlotLIne (x+sx*4 Div 5,y+sy Div 2,x+sx,y+sy Div 2); ThickCircle(x+sx Div 2,y+sy Div 2,sx*2 Div 6,1); PlotLIne (x+sx Div 4,y+sy Div 2,x+sx*3 Div 4,y+sy Div 2); PlotLIne (x+sx Div 4,y+sy Div 2,x+sx Div 2,y+sy*13 Div 20); PlotLIne (x+sx Div 4,y+sy Div 2,x+sx Div 2,y+sy*7 Div 20); End; Procedure _5(x,y:Integer); Begin PlotLIne (x+sx Div 2,y,x+sx Div 2,y+sy*2 Div 10); PlotLIne (x+sx Div 2,y+sy*8 Div 10,x+sx Div 2,y+sy); ThickCircle(x+sx Div 2,y+sy Div 2,sx*2 Div 6,1); PlotLIne (x+sx Div 2,y+sy Div 4,x+sx Div 2,y+sy*3 Div 4); PlotLIne (x+sx Div 2,y+sy Div 4,x+sx*13 Div 20,y+sy Div 2); PlotLIne (x+sx Div 2,y+sy Div 4,x+sx*7 Div 20,y+sy Div 2); End; Procedure _6(x,y:Integer); Begin PlotLIne (x+sx Div 2,y,x+sx Div 2,y+sy*2 Div 10); PlotLIne (x+sx Div 2,y+sy*8 Div 10,x+sx Div 2,y+sy); ThickCircle(x+sx Div 2,y+sy Div 2,sx*2 Div 6,1); PlotLIne (x+sx Div 2,y+sy Div 4,x+sx Div 2,y+sy*3 Div 4); PlotLIne (x+sx Div 2,y+sy*3 Div 4,x+sx*13 Div 20,y+sy Div 2); PlotLIne (x+sx Div 2,y+sy*3 Div 4,x+sx*7 Div 20,y+sy Div 2); End;} Procedure _3 (x,y:Integer); Begin PlotLIne (x,y+Sy Div 2,x+Sx*2 Div 5,y+Sy Div 2); PlotLIne (x+Sx*3 Div 5,y+Sy Div 2,x+Sx,y+Sy Div 2); PlotLIne (x+Sx*3 Div 5,y+Sy Div 8,x+Sx*3 Div 5,y+Sy*7 Div 8); PlotLIne (x+Sx*2 Div 5,y+Sy Div 3,x+Sx*2 Div 5,y+Sy*2 Div 3); End; Procedure _4 (x,y:Integer); Begin PlotLIne (x,y+Sy Div 2,x+Sx*2 Div 5,y+Sy Div 2); PlotLIne (x+Sx*3 Div 5,y+Sy Div 2,x+Sx,y+Sy Div 2); PlotLIne (x+Sx*2 Div 5,y+Sy Div 8,x+Sx*2 Div 5,y+Sy*7 Div 8); PlotLIne (x+Sx*3 Div 5,y+Sy Div 3,x+Sx*3 Div 5,y+Sy*2 Div 3); End; Procedure _5 (x,y:Integer); Begin PlotLIne (x+Sx Div 2,y,x+Sx Div 2,y+Sy*2 Div 5); PlotLIne (x+Sx Div 2,y+Sy*3 Div 5,x+Sx Div 2,y+Sy); PlotLIne (x+Sx Div 8,y+Sy*2 Div 5,x+Sx*7 Div 8,y+Sy*2 Div 5); PlotLIne (x+Sx Div 3,y+Sy*3 Div 5,x+Sx*2 Div 3,y+Sy*3 Div 5); End; Procedure _6 (x,y:Integer); Begin PlotLIne (x+Sx Div 2,y,x+Sx Div 2,y+Sy*2 Div 5); PlotLIne (x+Sx Div 2,y+Sy*3 Div 5,x+Sx Div 2,y+Sy); PlotLIne (x+Sx Div 8,y+Sy*3 Div 5,x+Sx*7 Div 8,y+Sy*3 Div 5); PlotLIne (x+Sx Div 3,y+Sy*2 Div 5,x+Sx*2 Div 3,y+Sy*2 Div 5); End; Procedure _7 (x,y:Integer); Begin PlotLIne(x,y+Sy Div 2,x+sx Div 5,y+Sy Div 2); PlotLIne(x+sx*4 Div 5,y+Sy Div 2,x+sx,y+Sy Div 2); PlotLIne(x+sx Div 5,y+Sy*12 Div 20,x+sx*4 Div 5,y+Sy*12 Div 20); PlotLIne(x+sx*4 Div 5,y+Sy*12 Div 20,x+sx*4 Div 5,y+Sy*8 Div 20); PlotLIne(x+sx*4 Div 5,y+Sy*8 Div 20,x+sx Div 5,y+Sy*8 Div 20); PlotLIne(x+sx Div 5,y+Sy*8 Div 20,x+sx Div 5,y+Sy*12 Div 20); End; Procedure _8 (x,y:Integer); Begin PlotLIne(x+Sx Div 2,y,x+Sx Div 2,y+Sy Div 5); PlotLIne(x+Sx Div 2,y+Sy*4 Div 5,x+Sx Div 2,y+Sy); PlotLIne(x+Sx*12 Div 20,y+Sy Div 5,x+Sx*12 Div 20,y+Sy*4 Div 5); PlotLIne(x+Sx*12 Div 20,y+Sy*4 Div 5,x+Sx*8 Div 20,y+Sy*4 Div 5); PlotLIne(x+Sx*8 Div 20,y+Sy*4 Div 5,x+Sx*8 Div 20,y+Sy Div 5); PlotLIne(x+Sx*8 Div 20,y+Sy Div 5,x+Sx*12 Div 20,y+Sy Div 5); End; Procedure _0 (x,y:Integer); Begin End; Procedure _10 (x,y:Integer); Begin PlotLIne(x+sx,y+sy Div 2,x+sx Div 2,y+sy Div 2); PlotLIne(x+sx Div 2,y+sy Div 2,x+sx Div 2,y+sy); End; Procedure _11 (x,y:Integer); Begin PlotLIne(x,y+sy Div 2,x+sx Div 2,y+sy Div 2); PlotLIne(x+sx Div 2,y+sy Div 2,x+sx Div 2,y+sy); End; Procedure _12 (x,y:Integer); Begin PlotLIne(x+sx Div 2,y,x+sx Div 2,y+sy Div 2); PlotLIne(x+sx Div 2,y+sy Div 2,x+sx,y+sy Div 2); End; Procedure _13 (x,y:Integer); Begin PlotLIne(x+sx Div 2,y,x+sx Div 2,y+sy Div 2); PlotLIne(x+sx Div 2,y+sy Div 2,x,y+sy Div 2); End; Procedure _14 (x,y:Integer); Begin PlotLIne (x,y+sy Div 2,x+sx,y+sy Div 2); PlotLIne (x+sx Div 2,y,x+sx Div 2,y+sy); FillCircle(x+sx Div 2,y+sy Div 2,2); End; Procedure _15 (x,y:Integer); Begin PlotLIne (x+sx Div 2,y+sy Div 2,x+sx,y+sy Div 2); PlotLIne (x+sx Div 2,y,x+sx Div 2,y+sy); FillCircle(x+sx Div 2,y+sy Div 2,2); End; Procedure _16 (x,y:Integer); Begin PlotLIne (x,y+sy Div 2,x+sx Div 2,y+sy Div 2); PlotLIne (x+sx Div 2,y,x+sx Div 2,y+sy); FillCircle(x+sx Div 2,y+sy Div 2,2); End; Procedure _17 (x,y:Integer); Begin PlotLIne (x,y+sy Div 2,x+sx,y+sy Div 2); PlotLIne (x+sx Div 2,y+sy Div 2,x+sx Div 2,y+sy); FillCircle(x+sx Div 2,y+sy Div 2,2); End; Procedure _18 (x,y:Integer); Begin PlotLIne (x,y+sy Div 2,x+sx,y+sy Div 2); PlotLIne (x+sx Div 2,y,x+sx Div 2,y+sy Div 2); FillCircle(x+sx Div 2,y+sy Div 2,2); End; Begin If An=CurrentElement Then SetColOr(2) Else SetColOr(10); FillRect(Ax,Ay,Sx,Sy); SetColOr(4); Case An Of 1:_1(Ax,Ay); 2:_2(Ax,Ay); 3:_3(Ax,Ay); 4:_4(Ax,Ay); 5:_5(Ax,Ay); 6:_6(Ax,Ay); 7:_7(Ax,Ay); 8:_8(Ax,Ay); 9:_9(Ax,Ay); 10:_10(Ax,Ay); 11:_11(Ax,Ay); 12:_12(Ax,Ay); 13:_13(Ax,Ay); 14:_14(Ax,Ay); 15:_15(Ax,Ay); 16:_16(Ax,Ay); 17:_17(Ax,Ay); 18:_18(Ax,Ay); Else _0(Ax,Ay); End; End; Begin With Size Do Begin Sx:=x Div 3 - 2; Sy:=y Div 7 - 2; End; SetColOr(9); FillRect(0,0,Size.X,(Sy+2)*6+CurrentFont^.Height+2); SetColOr(4); WriteStr((Size.X-14*CurrentFont^.Width) Div 2, 0, 'Меню элементов'); For i:=1 To 6 Do For j:=1 To 3 Do ElDraw((j-1)*(Sx+2),(i-1)*(Sy+2)+CurrentFont^.Height+2,(i-1)*3+j); If CurrentElement=0 Then SetColOr(2) Else SetColOr(10); FillRect(0,(Sy+2)*6+CurrentFont^.Height+2,Size.X,Size.Y); SetColOr(15); WriteStr((Size.X-12*CurrentFont^.Width) Div 2,((Sy+2)*6+ CurrentFont^.Height Div 2 +2 + Size.Y) Div 2, 'Пустое место'); End; Procedure TToolBar.HAndleEvent ; Var x,y:Integer; Begin Inherited HAndleEvent(Event); If (Event.What=evMouseDown) And (Event.Buttons=mbLeftButton) Then Begin x:=(Event.Where.X-CurrentFont^.Width-2) Div Sx; y:=(Event.Where.Y-CurrentFont^.Height-2) Div Sy-1; CurrentElement:=y*3+x+1; If Event.Where.Y>Sy*7+CurrentFont^.Height+2 Then CurrentElement:=0; DrawView; ClearEvent(Event); End; End; ConstructOr TShemeView.Init(Var R: TRect); Begin Inherited Init(R); Font:=@Font8x8; GrowMode:= GrowMode Or (gfGrowHiX+gfGrowHiY); End; Procedure TShemeView.Draw ; Const Special:Integer=2; Var i,j: Integer; c:Byte; Procedure ElDraw (Ax,Ay:Integer; An,l:Byte); Procedure _1 (x,y:Integer); Begin plotlIne (x,y+Sy1 Div 2,x+Sx1,y+Sy1 Div 2); End; Procedure _2 (x,y:Integer); Begin PlotLIne (x+Sx1 Div 2+Special,y,x+Sx1 Div 2+Special,y+Sy1); End; Procedure _9 (x,y:Integer); Begin PlotLIne (x,y+Sy1 Div 2,x+Sx1,y+Sy1 Div 2); PlotLIne (x+Sx1 Div 2+Special,y,x+Sx1 Div 2+Special,y+Sy1); End; { Procedure _3(x,y:Integer); Begin PlotLIne (x,y+Sy1 Div 2,x+Sx1 Div 5+Special,y+Sy1 Div 2); PlotLIne (x+Sx1*4 Div 5+Special,y+Sy1 Div 2,x+Sx1,y+Sy1 Div 2); ThickCircle(x+Sx1 Div 2+Special,y+Sy1 Div 2,Sx1*2 Div 6,1); PlotLIne (x+Sx1 Div 4+Special,y+Sy1 Div 2,x+Sx1*3 Div 4+Special,y+Sy1 Div 2); PlotLIne (x+Sx1*3 Div 4+Special,y+Sy1 Div 2,x+Sx1 Div 2+Special,y+Sy1*12 Div 20); PlotLIne (x+Sx1*3 Div 4+Special,y+Sy1 Div 2,x+Sx1 Div 2+Special,y+Sy1*8 Div 20); End; Procedure _4(x,y:Integer); Begin PlotLIne (x,y+Sy1 Div 2,x+Sx1 Div 5+Special,y+Sy1 Div 2); PlotLIne (x+Sx1*4 Div 5+Special,y+Sy1 Div 2,x+Sx1,y+Sy1 Div 2); ThickCircle(x+Sx1 Div 2+Special,y+Sy1 Div 2,Sx1*2 Div 6,1); PlotLIne (x+Sx1 Div 4+Special,y+Sy1 Div 2,x+Sx1*3 Div 4+Special,y+Sy1 Div 2); PlotLIne (x+Sx1 Div 4+Special,y+Sy1 Div 2,x+Sx1 Div 2+Special,y+Sy1*12 Div 20); PlotLIne (x+Sx1 Div 4+Special,y+Sy1 Div 2,x+Sx1 Div 2+Special,y+Sy1*8 Div 20); End; Procedure _5(x,y:Integer); Begin PlotLIne (x+Sx1 Div 2+Special,y,x+Sx1 Div 2+Special,y+Sy1*3 Div 10); PlotLIne (x+Sx1 Div 2+Special,y+Sy1*7 Div 10,x+Sx1 Div 2+Special,y+Sy1); ThickCircle(x+Sx1 Div 2+Special,y+Sy1 Div 2,Sx1*2 Div 6,1); PlotLIne (x+Sx1 Div 2+Special,y+Sy1*3 Div 8,x+Sx1 Div 2+Special,y+Sy1*5 Div 8); PlotLIne (x+Sx1 Div 2+Special,y+Sy1*3 Div 8,x+Sx1*12 Div 20+Special,y+Sy1 Div 2); PlotLIne (x+Sx1 Div 2+Special,y+Sy1*3 Div 8,x+Sx1*8 Div 20+Special,y+Sy1 Div 2); End; Procedure _6(x,y:Integer); Begin PlotLIne (x+Sx1 Div 2+Special,y,x+Sx1 Div 2+Special,y+Sy1*3 Div 10); PlotLIne (x+Sx1 Div 2+Special,y+Sy1*7 Div 10,x+Sx1 Div 2+Special,y+Sy1); ThickCircle(x+Sx1 Div 2+Special,y+Sy1 Div 2,Sx1*2 Div 6,1); PlotLIne (x+Sx1 Div 2+Special,y+Sy1*3 Div 8,x+Sx1 Div 2+Special,y+Sy1*5 Div 8); PlotLIne (x+Sx1 Div 2+Special,y+Sy1*5 Div 8,x+Sx1*12 Div 20+Special,y+Sy1 Div 2); PlotLIne (x+Sx1 Div 2+Special,y+Sy1*5 Div 8,x+Sx1*8 Div 20+Special,y+Sy1 Div 2); End;} Procedure _3 (x,y:Integer); Begin PlotLIne (x,y+Sy1 Div 2,x+Sx1*2 Div 5+Special,y+Sy1 Div 2); PlotLIne (x+Sx1*3 Div 5+Special,y+Sy1 Div 2,x+Sx1+Special,y+Sy1 Div 2); PlotLIne (x+Sx1*3 Div 5+Special,y+Sy1 Div 8,x+Sx1*3 Div 5+Special,y+Sy1*7 Div 8); PlotLIne (x+Sx1*2 Div 5+Special,y+Sy1 Div 3,x+Sx1*2 Div 5+Special,y+Sy1*2 Div 3); End; Procedure _4 (x,y:Integer); Begin PlotLIne (x,y+Sy1 Div 2,x+Sx1*2 Div 5+Special,y+Sy1 Div 2); PlotLIne (x+Sx1*3 Div 5+Special,y+Sy1 Div 2,x+Sx1+Special,y+Sy1 Div 2); PlotLIne (x+Sx1*2 Div 5+Special,y+Sy1 Div 8,x+Sx1*2 Div 5+Special,y+Sy1*7 Div 8); PlotLIne (x+Sx1*3 Div 5+Special,y+Sy1 Div 3,x+Sx1*3 Div 5+Special,y+Sy1*2 Div 3); End; Procedure _5 (x,y:Integer); Begin PlotLIne (x+Sx1 Div 2+Special,y,x+Sx1 Div 2+Special,y+Sy1*2 Div 5); PlotLIne (x+Sx1 Div 2+Special,y+Sy1*3 Div 5,x+Sx1 Div 2+Special,y+Sy1); PlotLIne (x+Sx1 Div 8+Special,y+Sy1*2 Div 5,x+Sx1*7 Div 8+Special,y+Sy1*2 Div 5); PlotLIne (x+Sx1 Div 3+Special,y+Sy1*3 Div 5,x+Sx1*2 Div 3+Special,y+Sy1*3 Div 5); End; Procedure _6 (x,y:Integer); Begin PlotLIne (x+Sx1 Div 2+Special,y,x+Sx1 Div 2+Special,y+Sy1*2 Div 5); PlotLIne (x+Sx1 Div 2+Special,y+Sy1*3 Div 5,x+Sx1 Div 2+Special,y+Sy1); PlotLIne (x+Sx1 Div 8+Special,y+Sy1*3 Div 5,x+Sx1*7 Div 8+Special,y+Sy1*3 Div 5); PlotLIne (x+Sx1 Div 3+Special,y+Sy1*2 Div 5,x+Sx1*2 Div 3+Special,y+Sy1*2 Div 5); End; Procedure _7 (x,y:Integer); Begin If IsResist Then Begin PlotLIne(x,y+Sy1 Div 2,x+Sx1 Div 5+Special,y+Sy1 Div 2); PlotLIne(x+Sx1*4 Div 5+Special,y+Sy1 Div 2,x+Sx1,y+Sy1 Div 2); PlotLIne(x+Sx1 Div 5+Special,y+Sy1*12 Div 20,x+Sx1*4 Div 5+Special,y+Sy1*12 Div 20); PlotLIne(x+Sx1*4 Div 5+Special,y+Sy1*12 Div 20,x+Sx1*4 Div 5+Special,y+Sy1*8 Div 20); PlotLIne(x+Sx1*4 Div 5+Special,y+Sy1*8 Div 20,x+Sx1 Div 5+Special,y+Sy1*8 Div 20); PlotLIne(x+Sx1 Div 5+Special,y+Sy1*8 Div 20,x+Sx1 Div 5+Special,y+Sy1*12 Div 20); End Else If Currents[Sheme[i,j,2]]>0 Then Begin PlotLIne (x,y+Sy1 Div 2,x+Sx1 Div 5+Special,y+Sy1 Div 2); PlotLIne (x+Sx1*4 Div 5+Special,y+Sy1 Div 2,x+Sx1,y+Sy1 Div 2); PlotLIne (x+Sx1 Div 4+Special,y+Sy1 Div 2,x+Sx1*3 Div 4+Special,y+Sy1 Div 2); PlotLIne (x+Sx1*3 Div 4+Special,y+Sy1 Div 2,x+Sx1 Div 2+Special,y+Sy1*12 Div 20); PlotLIne (x+Sx1*3 Div 4+Special,y+Sy1 Div 2,x+Sx1 Div 2+Special,y+Sy1*8 Div 20); End Else Begin PlotLIne (x,y+Sy1 Div 2,x+Sx1 Div 5+Special,y+Sy1 Div 2); PlotLIne (x+Sx1*4 Div 5+Special,y+Sy1 Div 2,x+Sx1,y+Sy1 Div 2); PlotLIne (x+Sx1 Div 4+Special,y+Sy1 Div 2,x+Sx1*3 Div 4+Special,y+Sy1 Div 2); PlotLIne (x+Sx1 Div 4+Special,y+Sy1 Div 2,x+Sx1 Div 2+Special,y+Sy1*12 Div 20); PlotLIne (x+Sx1 Div 4+Special,y+Sy1 Div 2,x+Sx1 Div 2+Special,y+Sy1*8 Div 20); End; End; Procedure _8 (x,y:Integer); Begin If IsResist Then Begin PlotLIne(x+Sx1 Div 2+Special,y,x+Sx1 Div 2+Special,y+Sy1 Div 5); PlotLIne(x+Sx1 Div 2+Special,y+Sy1*4 Div 5,x+Sx1 Div 2+Special,y+Sy1); PlotLIne(x+Sx1*12 Div 20+Special,y+Sy1 Div 5,x+Sx1*12 Div 20+Special,y+Sy1*4 Div 5); PlotLIne(x+Sx1*12 Div 20+Special,y+Sy1*4 Div 5,x+Sx1*8 Div 20+Special,y+Sy1*4 Div 5); PlotLIne(x+Sx1*8 Div 20+Special,y+Sy1*4 Div 5,x+Sx1*8 Div 20+Special,y+Sy1 Div 5); PlotLIne(x+Sx1*8 Div 20+Special,y+Sy1 Div 5,x+Sx1*12 Div 20+Special,y+Sy1 Div 5); End Else If Currents[Sheme[i,j,2]]>0 Then Begin PlotLIne (x+Sx1 Div 2+Special,y,x+Sx1 Div 2+Special,y+Sy1*3 Div 10); PlotLIne (x+Sx1 Div 2+Special,y+Sy1*7 Div 10,x+Sx1 Div 2+Special,y+Sy1); PlotLIne (x+Sx1 Div 2+Special,y+Sy1*3 Div 8,x+Sx1 Div 2+Special,y+Sy1*5 Div 8); PlotLIne (x+Sx1 Div 2+Special,y+Sy1*3 Div 8,x+Sx1*12 Div 20+Special,y+Sy1 Div 2); PlotLIne (x+Sx1 Div 2+Special,y+Sy1*3 Div 8,x+Sx1*8 Div 20+Special,y+Sy1 Div 2); End Else Begin PlotLIne (x+Sx1 Div 2+Special,y,x+Sx1 Div 2+Special,y+Sy1*3 Div 10); PlotLIne (x+Sx1 Div 2+Special,y+Sy1*7 Div 10,x+Sx1 Div 2+Special,y+Sy1); PlotLIne (x+Sx1 Div 2+Special,y+Sy1*3 Div 8,x+Sx1 Div 2+Special,y+Sy1*5 Div 8); PlotLIne (x+Sx1 Div 2+Special,y+Sy1*5 Div 8,x+Sx1*12 Div 20+Special,y+Sy1 Div 2); PlotLIne (x+Sx1 Div 2+Special,y+Sy1*5 Div 8,x+Sx1*8 Div 20+Special,y+Sy1 Div 2); End; End; Procedure _0 (x,y:Integer); Begin End; Procedure _10 (x,y:Integer); Begin PlotLIne(x+Sx1,y+Sy1 Div 2,x+Sx1 Div 2+Special,y+Sy1 Div 2); PlotLIne(x+Sx1 Div 2+Special,y+Sy1 Div 2,x+Sx1 Div 2+Special,y+Sy1); End; Procedure _11 (x,y:Integer); Begin PlotLIne(x,y+Sy1 Div 2,x+Sx1 Div 2+Special,y+Sy1 Div 2); PlotLIne(x+Sx1 Div 2+Special,y+Sy1 Div 2,x+Sx1 Div 2+Special,y+Sy1); End; Procedure _12 (x,y:Integer); Begin PlotLIne(x+Sx1 Div 2+Special,y,x+Sx1 Div 2+Special,y+Sy1 Div 2); PlotLIne(x+Sx1 Div 2+Special,y+Sy1 Div 2,x+Sx1,y+Sy1 Div 2); End; Procedure _13 (x,y:Integer); Begin PlotLIne(x+Sx1 Div 2+Special,y,x+Sx1 Div 2+Special,y+Sy1 Div 2); PlotLIne(x,y+Sy1 Div 2,x+Sx1 Div 2+Special+1,y+Sy1 Div 2); End; Procedure _14 (x,y:Integer); Begin PlotLIne (x,y+Sy1 Div 2,x+Sx1,y+Sy1 Div 2); PlotLIne (x+Sx1 Div 2+Special,y,x+Sx1 Div 2+Special,y+Sy1); FillCircle(x+Sx1 Div 2+Special,y+Sy1 Div 2,3); End; Procedure _15 (x,y:Integer); Begin PlotLIne (x+Sx1 Div 2+Special,y+Sy1 Div 2,x+Sx1,y+Sy1 Div 2); PlotLIne (x+Sx1 Div 2+Special,y,x+Sx1 Div 2+Special,y+Sy1); FillCircle(x+Sx1 Div 2+Special,y+Sy1 Div 2,3); End; Procedure _16 (x,y:Integer); Begin PlotLIne (x,y+Sy1 Div 2,x+Sx1 Div 2,y+Sy1 Div 2); PlotLIne (x+Sx1 Div 2+Special,y,x+Sx1 Div 2+Special,y+Sy1); FillCircle(x+Sx1 Div 2+Special,y+Sy1 Div 2,3); End; Procedure _17 (x,y:Integer); Begin PlotLIne (x,y+Sy1 Div 2,x+Sx1,y+Sy1 Div 2); PlotLIne (x+Sx1 Div 2+Special,y+Sy1 Div 2,x+Sx1 Div 2+Special,y+Sy1); FillCircle(x+Sx1 Div 2+Special,y+Sy1 Div 2,3); End; Procedure _18 (x,y:Integer); Begin PlotLIne (x,y+Sy1 Div 2,x+Sx1,y+Sy1 Div 2); PlotLIne (x+Sx1 Div 2+Special,y,x+Sx1 Div 2+Special,y+Sy1 Div 2); FillCircle(x+Sx1 Div 2+Special,y+Sy1 Div 2,3); End; Begin Special:=Sx1 Div 10; SetColOr(l); FillRect(Ax,Ay,Sx1,Sy1); SetColOr(4); Case An Of 1:_1(Ax,Ay); 2:_2(Ax,Ay); 3:_3(Ax,Ay); 4:_4(Ax,Ay); 5:_5(Ax,Ay); 6:_6(Ax,Ay); 7:_7(Ax,Ay); 8:_8(Ax,Ay); 9:_9(Ax,Ay); 10:_10(Ax,Ay); 11:_11(Ax,Ay); 12:_12(Ax,Ay); 13:_13(Ax,Ay); 14:_14(Ax,Ay); 15:_15(Ax,Ay); 16:_16(Ax,Ay); 17:_17(Ax,Ay); 18:_18(Ax,Ay); Else _0(Ax,Ay); End; End; Begin C:= GetColOr(6); {Определение цвета нормального текста} SetColOr(C shr 4); With Size Do Begin FillRect(0, 0, Size.X, Size.Y); Sx1:=x Div mS; Sy1:=y Div nS; For i:=1 To nS Do For j:=1 To mS Do Begin ElDraw((j-1)*Sx1+(x-Sx1*mS) Div 2 ,(i-1)*Sy1+(y-Sy1*nS) Div 2,Sheme[i,j,1],((i+j) mod 2)+14); Case Sheme[i,j,1]Of 3,4,5,6:WriteStr((j-1)*Sx1+(x-Sx1*mS) Div 2 ,(i-1)*Sy1+(y-Sy1*nS) Div 2,'E'+IntToStr(Sheme[i,j,2])); 7,8: If IsResist Then WriteStr((j-1)*Sx1+(x-Sx1*mS) Div 2 ,(i-1)*Sy1+(y-Sy1*nS) Div 2,'R'+IntToStr(Sheme[i,j,2])) Else WriteStr((j-1)*Sx1+(x-Sx1*mS) Div 2 ,(i-1)*Sy1+(y-Sy1*nS) Div 2,'I'+IntToStr(Sheme[i,j,2])); End; {Of Case} End; { RestOreFont;} End; End; Procedure TShemeView.HAndleEvent ; Var x,y:Integer; Begin Inherited HAndleEvent(Event); If (Event.What=evMouseDown) And (Event.Buttons=mbLeftButton) Then Begin x:=(Event.Where.X-Sx1*3 Div 8-(Size.X-Sx1*mS) Div 2) Div Sx1-3; y:=(Event.Where.Y-(Size.Y-Sy1*nS) Div 2) Div Sy1; Case Sheme[y,x,1] Of 3..6: EDS[y,x]:=0; 7..8: Res[y,x]:=0; End; Sheme[y,x,1]:=CurrentElement; Changed:=True; ElNumbers(Sheme); DrawView; Case CurrentElement Of 3..6: EDS[y,x]:=PShemeWIn(Owner)^.ElMatter(True); 7..8: Res[y,x]:=PShemeWIn(Owner)^.ElMatter(False); End; ClearEvent(Event); End; End; Function IntToStr (I: LongInt): String; { Convert any Integer Type To a String } Var S: String[11]; Begin Str(I, S); IntToStr:= S; End; Procedure ElNumbers (Var ASheme:TSheme); {Нумерует элементы схемы (ЭДС, резисторы и узловые элементы для служебных целей).Вызывается когда схема готова} Var i,j:Integer; nE,nR,nN:Byte; Begin nE:=0;nR:=0;nN:=0; For j:=1 To mS Do For i:=1 To nS Do Case ASheme[i,j,1] Of 3,4,5,6: Begin {ЭДС} Inc(nE); ASheme[i,j,2]:=nE; End; 7,8: Begin {резистор} Inc(nR); ASheme[i,j,2]:=nR; End; 14..18: Begin Inc(nN); ASheme[i,j,2]:=nN; Nodes[nN,1]:=i; Nodes[nN,2]:=j; End; End; {Of Case} ECount:=nE; RCount:=nR; NoDecount:=nN; End; ConstructOr TShemeWIn.Init; Begin Inherited Init(R, 'Схема без имени'); SetPhase:=True; Exist:=True; Options:= Options Or OfCentered; DragMode:=0; Palette:= wpCyanWInDow; GeTextentWIn(R); R.B.X:=R.A.X+(R.B.X-R.A.X) Div 4; Insert(New(PToolBar, Init(R))); GeTextentWIn(R); R.A.X:=(R.B.X-R.A.X) Div 4; Insert(New(PShemeView, Init(R))); HelpCtx:= hcGraphic; End; Function TShemeWIn.ElMatter ; Var R:TRect; M:Real; c:wOrd; i:Integer; D:PDialog; L:PInputLIne; s:String; Begin M:=0; GeTextentWIn(R); R.B.X:=R.A.X+(R.B.X-R.A.X) Div 4; Inc(R.A.Y,CurrentFont^.Height*5); Dec(R.B.Y,CurrentFont^.Height*10); If IsEDS Then s:='Напряжение' Else s:='Сопртивление'; D:=New(PDialog,Init(R,s)); Inc(R.A.Y,CurrentFont^.Height*3); Inc(R.A.X,CurrentFont^.Width*5); Dec(R.B.X,CurrentFont^.Width*5); R.B.Y:=R.A.Y+CurrentFont^.Height*1; L:=New(PInputLIne,Init(R,10)); If D<>Nil Then Begin D^.GeTextentWIn(R); Inc(R.A.Y,CurrentFont^.Height Div 2); Inc(R.A.X,CurrentFont^.Width); Dec(R.B.X,CurrentFont^.Width*4); R.B.Y:=R.A.Y+CurrentFont^.Height; L:=New(PInputLIne,Init(R,10)); R.A.X:=R.B.X+CurrentFont^.Width; R.B.X:=R.A.X+CurrentFont^.Width*3; If IsEDS Then s:='В' Else s:='Ом'; D^.Insert(New(PStaticText,Init(R,s))); D^.GeTextentWIn(R); R.Move(CurrentFont^.Width*2,CurrentFont^.Height*2); R.B.Y:=R.A.Y+CurrentFont^.Height; R.B.X:=R.A.X+CurrentFont^.Width*15; D^.Insert(New(PButton,Init(R,'O~k~',cmOk,bfDefault))); If L<>Nil Then D^.Insert(L); c:=DeskTop^.ExecView(D); If c<>cmCancel Then Begin If L<>Nil Then Begin L^.GetData(s); Dispose(L,Done); End; i:=0; val(s,M,i); End; If D<>Nil Then Dispose(D,Done); End; ElMatter:=M; End; DestructOr TShemeWIn.Done; Begin Inherited Done; Exist:=False; End; END . 3. Модуль вычисления токов ветвей Unit Applic1 ; {$F+,O+,X+,V-,R-,I-,S-} Interface Uses Crt, Objects, Drivers, Dialogs, Views, Menus, App, StdDlg, Fonts, HelpFile, MsgBox, TxtRead, WInDows, PalObj, Grv16, DemoHlp, Types2; Const cmAbout = 100; cmReCounte = 101; cmTxtWInDow = 102; cmDialog = 103; cmDemOfonts = 104; cmDemoPic = 105; cmWInWIn = 106; cmCur = 107; cmRes = 108; cmIdle = 6000; HelpName:String ='Sheme.hlp'; Var ValDel: LongInt; Ticks: WOrd absolute $40:$6C; { BIOS Timer ticks counter } Type TMyApp = Object(TApplication) MemoAvail: LongInt; {Свободная мем} ShemeWInDow: PShemeWIn; {Окно} ShemeName: String; {Имя схемы} ConstructOr Init; {Добавление нового } Procedure HAndleEvent(Var Event: TEvent); Virtual; Procedure InitMenuBar; Virtual; Procedure InitStatusLIne; Virtual; Procedure ReCounte; Virtual; Procedure About; Procedure HlpWInDow; Procedure NewSheme; Procedure OpenSheme; Procedure SaveSheme; Procedure SaveShemeAs; Procedure Idle; Virtual; {Обновление показ. памяти} End; Implementation ConstructOr TMyApp.Init; Var R: TRect; Begin Inherited Init; InitSheme(Sheme); ShemeName:=''; Changed:=False; StatusLIne^.GetBounds(R); R.A.X:= R.B.X - 65; Insert(New(PMemoView, Init(R))); MemoAvail:= MemAvail; ValDel:= Ticks; DeskTop^.GeTextent(R); ShemeWInDow:=New(PShemeWIn,Init(R)); DeskTop^.Insert(ShemeWInDow); DisableCommAnds([cmRes]); EnableCommAnds([cmCur]); End; Procedure TMyApp.Idle ; Function IsTileable (P: PView): Boolean; Begin IsTileable:= (P^.Options And OfTileable) <> 0; End; Begin Inherited Idle; Message(@Self, evBroadCast, cmIdle, Nil); If MemoAvail <> MemAvail Then Begin Message(@Self, evBroadCast, cmMemoViewChange, Nil); MemoAvail:= MemAvail; End; If Desktop^.FirstThat(@IsTileable) <> Nil Then EnableCommAnds([cmTile, cmCascade]) Else DisableCommAnds([cmTile, cmCascade]); End; Procedure TMyApp.InitMenuBar ; Var R: TRect; Begin GeTextent (R); R.B.Y:= R.A.Y + CurrentFont^.Height + 1; MenuBar:= New(PMenuBar, Init(R, NewMenu( NewItem('~Ё~', '', kbAltSpace, cmAbout, hcMenu10, NewSubMenu('~Ф~айл', hcMenu20, NewMenu( NewItem('~Н~овая схема', '', kbNoKey, cmNew, hcNoConText, NewItem('~Ч~итать схему с диска', 'F3', kbF3, cmOpen, hcNoConText, NewItem('~C~охранить схему', 'F2', kbF2, cmSave, hcNoConText, NewItem('Cохранить ~к~ак...', 'ShIft-F2', kbShIftF2, cmSaveAs, hcNoConText, NewLIne( NewItem('~В~ыход', 'Alt-X', kbAltX, cmQuit, hcNoConText, Nil))))))), NewSubMenu('~О~кно', hcMenu30, NewMenu( NewItem('~С~ледующее', 'F6', kbF6, cmNext, hcNoConText, NewItem('~П~редыдущее', 'F5', kbF5, cmPrev, hcNoConText, NewItem('~З~акрыть', 'AltF3', kbAltF3, cmClose, hcNoConText, Nil)))), Nil) ))))); MenuBar^.State:= MenuBar^.State Or sfActive; End; Procedure TMyApp.InitStatusLIne ; Var R: TRect; Begin GeTextent(R); R.A.Y:= R.B.Y - 19; SetFont(@Font8x14); StatusLIne:= New(PStatusLIne, Init(R, NewStatusDef(0, $0FFF, NewStatusKey('', kbAltF3, cmClose, NewStatusKey('~F1~ Помощь', kbF1, cmHelp, NewStatusKey('', kbF10, cmMenu, NewStatusKey('~Alt-X~ Выход', kbAltX, cmQuit, NewStatusKey('~F7~Токи', kbF7, cmCur, NewStatusKey('~F8~Резисторы', kbF8, cmRes, NewStatusKey('~F9~ Обсчет', kbF9, cmReCounte, Nil))))))), NewStatusDef($1000, $1001, NewStatusKey('~Ctrl-'#24#25#26#27'~ Перемещение', kbNoKey, cmNo, NewStatusKey('~Shft-'#24#25#26#27'~ Размер', kbNoKey, cmNo, NewStatusKey('~'#17#217'~ Подтвердить', kbNoKey, cmNo, NewStatusKey('~Esc~ Отменить', kbNoKey, cmNo, Nil)))), NewStatusDef($FFFE, $FFFF, NewStatusKey('', kbAltF3, cmClose, NewStatusKey('~Tab~ След. индекс', kbTab, cmNextTopic, NewStatusKey('~ShIft-Tab~ Пред. индекс', kbShIftTab, cmPrevTopic, NewStatusKey('~Esc~ Закрыть', kbEsc, cmClose, Nil)))), Nil))) )); RestOreFont; End; Procedure TMyApp.HAndleEvent (Var Event: TEvent); Var R: TRect; P: PView; Control: WOrd; SavePalette: PaletteType; Begin Inherited HAndleEvent(Event); If Event.What = evCommAnd Then Begin Case Event.CommAnd Of cmNew : NewSheme; cmOpen : OpenSheme; cmSave : If ShemeName='' Then SaveShemeAs Else SaveSheme; cmSaveAs : SaveShemeAs; cmReCounte : ReCounte; cmAbout : About; cmHelp : HlpWInDow; cmCur : Begin IsResist:=False; DisableCommAnds([cmCur]); EnableCommAnds([cmRes]); ShemeWInDow^.DrawView; End; cmRes : Begin IsResist:=True; DisableCommAnds([cmRes]); EnableCommAnds([cmCur]); ShemeWInDow^.DrawView; End; Else Exit; End; ClearEvent(Event); End; End; Procedure TMyApp.OpenSheme ; Var D: PFileDialog; FileName: String[79]; i,j:Integer; f:Text; c:wOrd; Begin If Not Exist Then NewSheme; D:= PFileDialog(ValidView(New(PFileDialog, Init('*.shm', 'Выбор файла', '~И~мя файла со схемой', fDopenButton, 100)))); If в <> Nil Then Begin c:=Desktop^.ExecView(D); If c <> cmCancel Then Begin D^.GetFileName(FileName); Assign(f,FileName); reset(f); For i:=1 To nS Do Begin For j:=1 To mS Do Read (f,Sheme[i,j,1]); Readln(f); End; For i:=1 To nS Do Begin For j:=1 To mS Do Read(f,EDS[i,j]); Readln(f); End; For i:=1 To nS Do Begin For j:=1 To mS Do Read(f,Res[i,j]); Readln(f); End; Close(f); ShemeName:=FileName; DisposeStr(ShemeWInDow^.Title); ShemeWInDow^.Title:=NewStr('Схема '+ShemeName); ElNumbers(Sheme); ShemeWInDow^.DrawView; End; Dispose(D, Done); End; End; Procedure TMyApp.SaveSheme ; Var f:Text; i,j:Integer; Begin Assign (f,ShemeName); ReWrite (f); For i:=1 To nS Do Begin For j:=1 To mS Do Write(f,Sheme[i,j,1]:4); Writeln(f); End; For i:=1 To nS Do Begin For j:=1 To mS Do Write(f,EDS[i,j]:5:2,' '); Writeln(f); End; For i:=1 To nS Do Begin For j:=1 To mS Do Write(f,Res[i,j]:5:2,' '); Writeln(f); End; Close(f); End; Procedure TMyApp.SaveShemeAs ; Var D: PFileDialog; FileName: String[79]; W: PWInDow; C:wOrd; Begin D:= New(PFileDialog, Init('*.SHM', 'Выбор файла', ShemeName, fDokButton, 100)); C:= Desktop^.ExecView(D); D^.GetFileName(ShemeName); Dispose(D, Done); If ShemeName='' Then exit; SaveSheme; ShemeWInDow^.Title:=NewStr('Схема '+ShemeName); ShemeWInDow^.DrawView; End; Procedure TMyApp.HlpWInDow ; Var W: PWInDow; Begin W:= PWInDow(ValidView(New(PFileWInDow,Init(HelpName)))); W^.HelpCtx:= hcMenu30; If W <> Nil Then Desktop^.Insert(W); End; Procedure TMyApp.NewSheme ; Var R:TRect; c:wOrd; Begin If Exist And Changed Then Begin R.Assign((Size.X-CurrentFont^.Width*50) Div 2,(Size.Y- CurrentFont^.Height*10) Div 2, (Size.X+CurrentFont^.Width*50) Div 2,(Size.Y+ CurrentFont^.Height*10) Div 2); c:=MessageBoxRect(R, 'В текущую схему внесены изменения с момента последнего '+ 'сохранения, которые будут потеряны. Хотите ли Вы сохранить текущую '+ 'схему?',Nil,mfYesNoCancel+mfConfirmation); Case c Of cmYes:If ShemeName<>'' Then SaveSheme Else SaveShemeAs; cmCancel:Exit; End; End; If Not Exist Then Begin DeskTop^.GeTextent(R); ShemeWInDow:=New(PShemeWIn,Init(R)); DeskTop^.Insert(ShemeWInDow);End; ShemeName:=''; DisposeStr(ShemeWInDow^.Title); ShemeWInDow^.Title:=NewStr('Схема без имени'); Changed:=False; InitSheme(Sheme); ShemeWInDow^.DrawView; End; Procedure TMyApp.About ; Begin MessageBox('Обсчет разветвленных цепей. Ver.1.0.',Nil, mfInFormation+mfOkButton); End; Procedure TMyApp.ReCounte ; Begin Abstract;{This method must be overriden} End; E ND . |



Ответ задачи: I1
=6,8; I2
=30,9; I3
=24,1; I4
=12,6; I5
=18,3; I6
=5,8.







(***)


Меню
Рабочее поле















Сохранение схемы
Работа с окнами






