Доклад: Удивительная мерзлота
|
Название: Удивительная мерзлота Раздел: Рефераты по географии Тип: доклад | ||||||||||||||||||
Удивительная мерзлота Давайте обсудим свойства удивительного природного образования - мерзлой породы. Основные компоненты рыхлых отложений - минеральные частички и вода, содержащая растворенные вещества в виде естественных примесей. Ясно, что химический состав компонентов мерзлой породы совпадает с составом исходной талой, из которой она образовалась. Первая неожиданность возникает при анализе физического состояния воды в мерзлой породе. Оказывается, такой грунт не вполне мерзлый: помимо льда в нем (вплоть до очень низких температур ” –70°С) всегда содержится определенное количество незамерзшей воды. Она находится в термодинамическом равновесии с внутригрунтовым льдом и способна течь, как обычная жидкость. Этот факт обнаружен в конце прошлого века шведским ученым П.Холмквистом и имеет фундаментальное значение для понимания очень многих природных явлений, происходящих в мерзлой толще. На первый взгляд, объяснить его можно наличием растворенных солей в поровой жидкости, понижающих температуру ее замерзания. Однако многочисленными исследованиями доказано, что присутствие солей имеет второстепенное значение. Даже в хорошо отмытых и заполненных дистиллированной водой грунтах значительная часть ее остается незамерзшей. Главная причина ее существования - действие особых сил взаимодействия молекул воды с минеральной поверхностью, причем не малую роль играет и кривизна последней [1]. Чем более дисперсна порода, тем более развита ее внутренняя поверхность и тем большее количество незамерзшей воды остается в породе при данной отрицательной температуре. Так, количество воды растет в ряду от песков к глинам. Эти же силы приводят к тому, что грунт остается в талом состоянии при температурах несколько ниже 0°С. Ледяное древо Что же может происходить с мерзлой породой, если в ней содержится незамерзшая вода? На рис. 1 приведена фотография ледяного тела - сплошного монокристалла, растущего на поверхности керамического тонкопористого фильтра. Фильтр помещен в стеклянную, заполненную водой U-образную трубку и виден на рисунке, как облачко, под основанием ледяного столбика. (Облачко наверху столбика - снежный комок, использованный как затравка на начальной стадии роста льда.) Верхняя часть фильтра вместе со льдом находятся при отрицательной температуре, а нижняя, соприкасающаяся с водой в трубке, - при положительной.
Лед, подобно растению, высасывает воду из резервуара, поднимаясь все выше со скоростью несколько миллиметров в сутки. Можно попробовать воспрепятствовать росту льда, положив сверху гирьку, однако остановить движение не так просто. Оказывается, требуемая нагрузка при понижении температуры увеличивается с коэффициентом 13 атм/град. Для прекращения роста столбика льда с площадью основания 1 см2 при температуре –2°С надо положить 26-килограммовую гирю. Проводились эксперименты, в которых рост льда продолжался при нагрузке, соответствующей давлению 100 атм. Это огромная цифра. Она показывает, что при определенных условиях лед способен, как перышко, поднять любое мыслимое сооружение, нагрузка от которого обычно не превышает нескольких атмосфер. Не надо объяснять, сколь катастрофичными могут быть (и бывают!) последствия. Нагрузка, при которой прекращается рост, называется равновесной, поскольку лед находится в равновесии с водой в резервуаре. Превышение ее вызывает плавление льда и отток жидкости в колено трубки. Очень интересно, что величина нагрузки оказывается примерно в 10 раз ниже той, что необходима для равновесия объемных фаз воды и льда при данной температуре (что отвечает известному коэффициенту 130 атм/град). Это прямое проявление упомянутых поверхностных сил, действующих на контакте льда с минеральной поверхностью. Вернемся, однако, к фотографии. Чтобы тело льда было прозрачным и не имело внутренних полостей, необходимо поступление воды из резервуара непосредственно к нижней поверхности столбика, контактирующей с фильтром. Но ведь верхняя часть фильтра также мерзлая. Как же происходит подача жидкости? Ответ довольно очевиден: вода поступает по незамерзающим коммуникациям фильтра - жидким пленкам и капиллярам. Однако внимательный читатель обнаружит еще одну загадку: ледяной столбик непрерывно продолжается в порах фильтра, где находится сложная корневая система - внутрипоровый лед. По мере роста столбика его масса перемещается вверх, и легко сообразить, что корневая система также подымается в том же направлении и с той же скоростью. При этом протяженность корневой системы по вертикали не меняется из-за постоянного намерзания льда снизу. Как же возможно такое сплошное течение льда в порах, если их стенки имеют многочисленные выступы и неровности? Здесь мы сталкиваемся еще с одним удивительным явлением, которое продемонстрировал в конце позапрошлого века английский ученый Дж.Баттомли. Он медленно перерезал массивный блок льда с помощью обычной проволоки, но блок не распадался на куски, а оставался целым. Почему? Лед плавился на передней части проволоки, а оттекающая вода замерзала на ее тыльной стороне. Явление, при котором лед плавится в местах повышенных напряжений и затем замерзает в местах разгрузки, получило название режеляции [2]. Так, например, движутся ледники по каменистому, шероховатому ложу. Именно благодаря этому явлению и происходит перемещение внутрипорового льда через фильтр вслед за ледяным телом. Нетрудно понять, что для перетекания жидкости к тыльной стороне препятствия (например, проволоки) необходимо существование вокруг него пленки незамерзшей воды. Мы подробно остановились на простом лабораторном эксперименте, чтобы выделить основные элементы и их причинно-следственные связи в данном процессе. Отметим их еще раз: поверхностные силы существенно изменяют условия термодинамического равновесия льда и воды в грунтах в сравнении с условиями, характерными для их объемных фаз. Это приводит к присутствию незамерзшей воды в равновесном состоянии при отрицательных температурах, которая способна течь, как обычная жидкость. В свою очередь становятся возможными процессы миграции влаги и перемещения льда внутри пористой матрицы за счет режеляции. Рост ледяных тел как на поверхности, так и внутри грунта происходит только при наличии этих двух процессов. Насос, вызывающий движение воды в сторону растущего льда, работает исключительно благодаря поверхностным силам, величина которых возрастает в направлении от теплой стороны фильтра к холодной. Все это представляет качественную сторону явлений. Однако, чтобы прогнозировать развитие реальных процессов в природных условиях, необходимо установить строгие количественные связи между содержанием незамерзшей воды, температурой и давлением в среде, а также величинами соответствующих потоков тепла и массы. Их запись основана на тщательном анализе многочисленных экспериментов и требует привлечения фундаментальных понятий термодинамики, механики деформируемых тел, гидродинамики. В совокупности образуется целое направление, исследующее физику криогенных процессов, которые могут происходить в холодных регионах Земли и космосе. Вершина этой деятельности - математические модели процессов, позволяющие давать количественную оценку самых различных по масштабам и значению событий прошлого, настоящего и будущего. Роль моделей важна и для обоснованного проектирования инженерных сооружений. Баротермический эффект Вернемся к мерзлому грунту. Хорошо известно, что твердые тела при сжатии нагреваются. Происходит это вследствие перехода энергии деформации в тепло, а также за счет внутреннего трения элементов среды. Однако взгляните на диаграммы температурного хода для образцов мерзлых грунтов под нагрузкой (рис. 2).
Они показывают, что в момент нагружения температура грунта скачкообразно понижается и восстанавливается практически до исходного значения при снятии груза. Обратим внимание, что его величина в несколько раз меньше, чем требуется для плавления обычного куска льда при той же отрицательной температуре. Почему? Ответ легко можно получить, если мы вспомним, что на контакте с пористым телом лед плавится при существенно меньших нагрузках. Но для плавления необходимо подвести тепло, которое может быть взято только из внутренних запасов грунта, определяемых его теплоемкостью. Происходит охлаждение всей системы. Этот эффект назван баротермическим, поскольку связывает изменения давления и температуры в мерзлом грунте в процессе его сжатия [3]. Кроме того, важно, что выделяющаяся влага дренирует в специальную обойму из плотной промокательной бумаги, в которой расположен образец грунта. Бумага обладает очень тонкопористой структурой, и вода в ней не замерзает. Если же взять обойму из более грубого материала, то отжимаемая вода в ней замерзнет, а тепловой эффект от фазовых превращений исчезнет. В этом случае на первый план выйдут силы трения между частицами грунта, и температура образца несколько повысится. Это и происходит, например, в талых, а также мерзлых, но маловлажных грунтах. В последнем случае внутри грунта имеются многочисленные воздушные полости, в которые собирается отжатая вода и там вновь замерзает. Природные грунты, как правило, водонасыщены, и баротермический эффект проявляется в естественных условиях неожиданным образом. Посмотрим внимательно на рис. 3, где ромбиками показаны фактические данные измерения температуры мерзлых пород в специально оборудованной термометрической скважине на севере Тюменской области. Эксперимент готовился очень тщательно, что обеспечило точность измерения в 0.01°С, так что сомнения в достоверности данных отпадают. Слой мерзлого грунта, залегающий в интервале глубин h = 140-240 м, перекрывается талым водонасыщенным прослоем толщиной около 50 м. Выше, до самой поверхности массива, лежит еще один слой мерзлой породы, который не показан на рисунке. Нижний слой мерзлоты образовался во время прошлых похолоданий климата, а последующие потепления вызвали оттаивание только верхней части массива. Грунт, оставшийся при этом в мерзлом состоянии, называется реликтовым.
Последующее похолодание привело к образованию верхнего слоя мерзлых пород, который, однако, не достиг кровли нижнего слоя мерзлоты. Климатические трансформации продолжались несколько тысячелетий. За столь значительное время температура внутри реликтового слоя должна была установиться в соответствии с условиями термодинамического равновесия в толще. Равновесная кривая (1) на рис. 3 имеет наклон из-за влияния гидростатического давления на точку фазового равновесия воды в мерзлом грунте. Значительное отклонение фактических данных от кривой равновесия представляется совершенно неожиданным. Реликтовый слой оказывается охлажденным ниже равновесной температуры, несмотря на то, что расположен между двумя талыми образованиями, имеющими положительную температуру. В этом можно было бы усмотреть даже нарушение второго начала термодинамики. Какое-либо традиционное объяснение такого распределения температуры практически невозможно. Например, можно предположить какое-либо специфическое распределение концентрации растворенных солей в поровом растворе, которые смещали бы точку равновесия фаз в пласте. Однако авторы наблюдений подчеркивают, что минерализация грунтовой воды чрезвычайно мала и не влияет на кривую равновесия. Не проходят и иные доводы, в частности основанные на колебаниях температуры поверхности массива в силу существования мощного талика над реликтовым слоем. Ответ на вопрос содержится в диаграммах рис. 2 и анализе образования реликтового слоя. В период потепления, когда верхний слой грунта оттаивал, нижний мерзлый - нагревался. В какой-то момент нагрузка от вышележащей толщи стала превышать равновесное значение для внутригрунтового льда, который при более низких температурах находился в термодинамическом равновесии с окружающей породой. (Повышение нагрузки от верхнего слоя есть результат ослабления сдерживающего влияния мерзлого грунта, силы сцепления частичек которого ослабевают с повышением температуры.) С этого момента лед начал таять, что и привело к охлаждению массива. Плавление льда во всем объеме реликтового слоя протекает очень медленно, и наблюдаемое распределение температуры может сохраняться многие сотни и тысячи лет. Строгие уравнения, которые переводят наши рассуждения в плоскость количественных расчетов, подтверждают этот вывод. Кривые 2-4 на рис. 3, полученные расчетным путем, показывают, сколь длительным может быть этот процесс. Важно здесь и то, что вытаивающая жидкость движется по незамерзающим коммуникациям мерзлого грунта в талые образования по обе стороны реликтового слоя. Интересно, как чутко реагирует мерзлый массив на изменение внешних условий в соответствии с общим принципом Ле Шателье. Потепление климата вызывает охлаждение массива! Слоистость - память о прошлом Рассмотрим еще одно интереснейшее явление, сопутствующее процессу промерзания грунта. На рис. 4 показана колонка грунта после промерзания в лабораторных условиях. Нижнее основание колонки во время опыта находилось в контакте с источником воды. Талый грунт сохранился в нижней части колонки и остался совершенно однородным. Промерзшая же часть сильно изменилась: образовалась четко выраженная слоистость. Слои мерзлого грунта перемежаются линзами чистого льда, толщина которых изменяется с глубиной вполне определенным образом.
Картина слоистости - текстура мерзлого грунта - оказывается связанной со свойствами грунта и условиями его промерзания. Например, при некоторых условиях для грунта данного типа толщина ледяных линз может превысить высоту начальной талой колонки. Вообще же по текстуре мерзлого грунта можно в принципе восстановить температурные условия его промерзания. Подобную слоистость мы видим и в природных толщах мерзлой породы. Она прослеживается до весьма значительных глубин - 100-150 м. Максимальная же толщина ледяных линз наблюдается в верхних 10-40 м. Ниже их толщина монотонно снижается, а расстояние между линзами увеличивается. Довольно часто в верхних слоях мерзлого грунта обнаруживаются слои льда толщиной от единиц до нескольких десятков метров. Застывшая картина слоистости в промерзших рыхлых отложениях напрямую связана с климатом прошлых тысячелетий. Познать же закономерности изменения климата означает обрести ключ к разгадке многих тайн, которые волнуют человечество. Каким же образом возникает слоистость? Можно сразу сказать, что рост отдельных линз вполне аналогичен картине, которую мы описали для ледяного тела на поверхности керамического фильтра. Но чем вызвано их возникновение в данном конкретном месте и почему они прекращают свой рост спустя какое-то время? Ответ на эти вопросы требует анализа внутренних напряжений в промерзающем грунте, а точнее в той зоне, где расположена корневая система растущей линзы. Если при стационарном росте льда на поверхности фильтра протяженность корневой зоны не меняется, то при промерзании грунта ее длина все время увеличивается и внутренние напряжения в отдельных компонентах грунта также меняются. По законам механики, в каждом поперечном сечении зоны корневой системы величина внешней нагрузки всегда должна быть равна сумме напряжений в отдельных компонентах грунта. Иными словами, нагрузка равна сумме внутрипоровых напряжений (обусловленных внутренним давлением во льду и незамерзшей воде) и напряжений в скелете минеральных частиц грунта. Этот баланс подразумевает, что при постоянной общей нагрузке увеличение давления внутри пор сопровождается уменьшением напряжений в скелете. В некоторый момент в определенном сечении зоны корневой системы поровое давление, монотонно нарастая, достигает значения внешней нагрузки. В скелете грунта начинают возникать растягивающие напряжения. Однако рыхлые отложения не обладают прочностью на разрыв, и минеральные частички начинают расходиться в пространстве, которое немедленно заполняется льдом. Так образуется новая линза льда, перекрывающая все поперечное сечение образца и лишающая питания водой предыдущую линзу. Последняя сразу же прекращает свой рост. Далее процесс повторяется, что и приводит к образованию слоистой текстуры. Количественно ее параметры (размеры ледяных линз и расстояния между ними) определяются математической моделью текстурообразования, учитывающей в уравнениях весь комплекс факторов, оказывающих влияние на этот процесс. На рис. 5 приведены результаты вычислений основных параметров текстуры для промерзающего в естественных условиях грунта. Левая часть рисунка подтверждает общую закономерность немонотонного распределения толщины ледяных линз с глубиной. Правая - демонстрирует возможность образования мощного слоя льда в верхней части разреза. Однако главное достоинство данной математической модели заключается в том, что она указывает ясные причины и конкретные условия, при которых формируются те или иные картины распределения льда в массиве. Так, уменьшение толщины льдинок, начиная с некоторой глубины, обусловлено весом вышележащей толщи, гасящей процесс выделения льда. Образование же массивного ледяного тела обусловлено достаточно мягкими условиями промерзания и высокой проницаемостью исходной талой породы.
Рис. 5. Расчетные зависимости параметров слоистой криогенной текстуры от глубины при коэффициенте гидропроводности 10–11 (слева) и 10–10 м3 ·с·кг–1 . Кривые (1) показывают немонотонное изменение толщины ледяных линз; при повышенной водопроницаемости грунта (справа) расчет предсказывает образование массивного ледяного тела в верхней части пласта. Кривые (2) отвечают монотонному увеличению с глубиной расстояний между льдинками. Насколько полезным инструментом исследования может оказаться рассматриваемая модель, показывает следующий пример. Замечено, что расположение ледяных линз по разрезу иногда не вполне регулярно. Они то сближаются, то вновь разбегаются, напоминая неравномерно растянутую гармошку. Это наблюдается и в сравнительно однородных по составу и свойствам отложениях. До недавнего времени такие аномалии не поддавались даже качественному объяснению. В частности, сезонные колебания температуры на поверхности массива хотя и имеют значительную амплитуду, но не проникают в глубь Земли больше чем на 10-15 м. Следовательно, они не могут изменить картину распределения ниже этого уровня. Длиннопериодные же колебания (в пределах десятков лет), обусловленные изменением климата, имеют очень малую амплитуду и также не оказывают существенного влияния на этот процесс. Какие же еще возмущения способны нарушить плавные изменения параметров криотекстуры? Вспомним, что природные массивы грунта, как правило, имеют гидравлическую связь с открытыми водоемами, колебание уровня которых так же естественно, как и колебание температуры на поверхности. Однако в отличие от температуры изменение давления в грунтовой воде, вызванное колебанием уровня, распространяется по гидросистеме на большие расстояния практически без затухания. Насколько серьезно такое влияние на процесс образования криотекстуры? Результаты расчета конкретного примера показаны на рис. 6, на котором для сравнения приведены аналогичные данные при неизменном уровне водоема [4]. Распределение льдистости разительно изменилось. Зависимость промежутков между ледяными линзами приобрела вид упомянутой “гармошки”, а зависимость их толщины от глубины стала носить колебательный, затухающий характер. Интересно, что периодичность расположения льда не вполне соответствует периодичности накладываемых возмущений. Здесь идет сложный процесс интерференции колебаний давления и изменения поровых напряжений, который приводит к образованию структур, схожих с застывшей картиной биений, известной в колебательных процессах. Для подтверждения влияния гидростатики водоема на параметры криотекстуры необходимо сравнение с конкретным геологическим материалом. Однако уже на основании выполненных расчетов можно высказать предположение, что криогенные текстуры консервируют ритмику гидрологической обстановки прошлых эпох и могут служить ее палеоклиматическим индикатором.
Математическая модель текстурообразования дает объяснение и другим интересным фактам, которые подмечены в натурных и лабораторных исследованиях. Например, известно, что если в тонкодисперсной толще находился песчаный слой, то после промерзания зона в 1.5-2 м над ним практически не содержит ледяных линз. Объясняется это касанием корневой системы очередной растущей линзы песчаного пласта и быстрым замерзанием последнего. Все дело в протяженности зоны корневой системы, которая на глубинах более чем 15-20 м имеет длину около метра. Другой пример взят из лабораторной практики. На рис. 7 показано изменение скорости роста льда в зависимости от температуры охлаждения. Были проведены два похожих опыта, но непонятным образом в одном случае скорость возрастала с понижением температуры, а в другом - падала. Объяснить это удается, только с помощью точных уравнений. Оказывается, при одних и тех же внешних условиях возможно существование двух устойчивых режимов роста, отличающихся протяженностью корневой системы и по-разному реагирующих на изменение температуры.
Рис. 7. Экспериментальные определения скорости роста льда в двух опытах с близкими внешними условиями. В одном случае (слева) массоперенос увеличивается с понижением температуры, в другом - падает. Ключевую роль здесь играет протяженность корневой системы, которая может принимать два устойчивых значения при одинаковых внешних параметрах. Эти режимы роста отличаются направлением реакции системы на изменение температуры охлаждения. На правом рисунке цветной кривою показан размер промерзающей зоны. Загадка жидких включений Конечно, не всякий содержащийся в грунте лед образуется так, как описано выше. Он может быть просто погребен под наносами ила либо образоваться из воды, внедрившейся под напором в уже мерзлые слои. Всегда важно точно установить условия его формирования, поскольку именно они и воссоздают конкретную обстановку прошлого. Существенную помощь оказывают результаты исследований многочисленных включений, содержащихся в природных льдах, - газообразных, твердых или жидких. Пузырьки газа могут многое рассказать о составе атмосферы в прошлые времена, твердые частички характеризуют свойства вмещающих пород, а жидкие включения - происхождение и состав замерзшей воды. Капелька концентрирует внутри себя большую часть примесей и потому остается незамерзшей в ледяном теле. При наложении на лед градиентного поля температуры все микроскопические образования начинают медленно перемещаться в более теплую сторону льда. В этих условиях с течением времени происходит его самоочистка. Например, так происходит опреснение морского льда, который в момент формирования содержит многочисленные капельки рассола. Для оценки возраста самого льда важно знать закономерности перемещения включений. В лабораториях создаются специальные криоскопические установки (рис. 8), где наблюдаемые в микроскоп процессы выводятся на экран телевизора или компьютера, а запоминающие устройства позволяют воспроизвести все детали явлений.
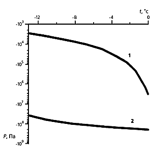
Одна загадка долгое время лишала сна исследователей, наблюдавших движение капли во льду. (Такое движение происходит вследствие оттаивания льда с теплой стороны капли и ее замерзания с противоположной, т.е. благодаря известному нам процессу режеляции.) Дело в том, что при движении в сторону повышенных температур капелька еще и увеличивается в размерах. Это понятно, поскольку происходит частичное оттаивание льда так, что концентрация раствора в ней понижается в соответствии с условиями фазового равновесия. Но вследствие разности плотностей воды и льда при фактическом увеличении размеров капли внутри нее должны возникать очень большие растягивающие напряжения, которые приводят к внутренним разрывам и газовыделению. Однако ни один микроскоп в мире не зафиксировал это явление! Разгадка заключается в необычных свойствах льда. Этот твердый минерал при длительно действующих нагрузках может течь, как очень вязкая жидкость [5]. Именно текучесть льда и разгружает каплю от высоких растягивающих напряжений. Теория, построенная с учетом данного свойства льда, демонстрирует это обстоятельство в числах. Два графика на рис. 9 показывают, что вследствие текучести льда напряжения в капле снижаются по абсолютной величине более чем на три порядка от значений, отвечающих его недеформируемой идеализации. Правильно построенная теория позволяет решить целый ряд других важных вопросов. Например, из теории движения капель следует, что их скорость не должна зависеть от начального радиуса - это действительно наблюдается в опыте. Другой вывод теории, который не подвергался экспериментальной проверке, состоит в том, что аналогичные жидкие включения перемещаются и в мерзлом грунте, причем со скоростью в несколько раз выше, чем во льду. Причина - существенно меньшие затраты в этом случае на фазовый переход, так как часть жидкости замещается минеральными частицами. Получает объяснение и еще один загадочный факт - блуждание больших скоплений рассола, так называемых криопэгов, внутри мерзлой толщи. (Вспомним, что скорость перемещения включений не зависит от их радиуса.) Это явление отмечено в Якутии и на западном побережье Ямала. Вероятнее всего, блуждание криопэгов обязано естественным температурным градиентам, которые всегда присутствуют в природной среде.
Еще одно неожиданное приложение теоретических результатов - получение пресной воды из айсбергов (рис. 10). В ледяном гиганте бурят скважину глубиной в несколько сотен метров. Специальным нагревателем на забое проплавляется полость, в которой отсасывающим насосом создается максимально возможное разряжение. Под действием перепада давления между водой в океане и в полости лед начинает течь внутрь полости. При включенном нагревателе он непрерывно тает на ее границах, а образующаяся вода откачивается на судно. Расчеты показывают, что для получения 30 т воды в сутки диаметр полости должен составлять примерно 6 м. При этом скорость течения льда на ее границах весьма мала - несколько микрон в секунду.
* * * В кратком очерке невозможно охватить все многообразие явлений в мерзлых грунтах, имеющих физическую природу. Мы даже не коснулись замечательных фактов существования льда внутри пород при положительных температурах, необычной формы включений во льду, низкой температуры плавления малых ледяных тел, и многого другого, что будоражит фантазию исследователя. Но все же сказанного достаточно, чтобы считать мерзлый грунт удивительным образованием природы. Литература 1. Дерягин Б.В., Чураев Н.В. Смачивающие пленки. М., 1984. 2. Маэно Н. Наука о льде. М., 1988. 3. Горелик Я.Б., Колунин В.С., Решетников А.К. // Криосфера Земли. 1999. Т.3. №1. С.69-77. 4. Горелик Я.Б., Колунин В.С. // Криосфера Земли. 2000. Т.4. №2. С.41-51. |










