Дипломная работа: Строительство здания Реабилитационный центр 2
|
Название: Строительство здания Реабилитационный центр 2 Раздел: Рефераты по строительству Тип: дипломная работа | |||||||||||||||||||||||||||||||||||||||||||||||||||||||||||||||||||||||||||||||||||||||||||||||||||||||||||||||||||||||||||||||||||||||||||||||||||||||||||||||||||||||||||||||||||||||||||||||||||||||||||||||||||||||||||||||||||||||||||||||||||||||||||||||||||||||||||||||||||||||||||||||||||||||||||||||||||||||||||||||||||||||||||||||||||||||||||||||||||||||||||||||||||||||||||||||||||||||||||||||||||||||||||||||||||||||||||||||||||||||||||||||||||||||||||||||||||||||||||||||||||||||||||||||||||||||||||||||||||||||||||||||||||||||||||||||||||||||||||||||||||||||||||||||||||||||||||||||||||||||||||||||||||||||||||||||||||||||||||||||||||||||||||||||||||||||||||||||||||||||||||||||||||||||||||||||||||||||||||||||||||||||||||||||||||||||||||||||||||||||||||||||||||||||||||||||||||||||||||||||||||||||||||||||||||||||||||||||||||||||||||||||||||||||||||||||||||||||||||||||||||||||||||||||||||||||||||||||||||||||||||||||||||||||||||||||||||||||||||||||||||||||||||||||||||||||||||||||||||||||
| ВВЕДЕНИЕ В строительстве, как в одной из базовых отраслей, происходят серьезные структурные изменения. Увеличился удельный вес строительства объектов непроизводственного назначения, значительно возросли объемы реконструкции зданий, сооружений, городских микрорайонов, а также требования, предъявляемые к качеству работ, защите окружающей среды, продолжительности инвестиционного цикла строительства объекта. Возникают новые взаимоотношения между участниками строительства, появляются элементы состязательности и конкурентности. Резко изменился масштаб цен, стоимостных показателей, заработной платы, ресурсопотребления. В условиях рыночной экономики несоизмеримо более ощутимыми становятся последствия принимаемых строителями решений. К повышенным требованиям, предъявляемым к инженеру-строителю, относится и умение работать с компьютером. Графическая часть проекта выполнена в системе автоматического проектирования AutoCAD, которая широко используется во всем мире инженерами-проектировщиками. Пояснительная записка выполнена на компьютере с использованием программных пакетов Microsoft Word, Microsoft Excel,WinСмета 2000. Проект выполнен в соответствии с действующими нормами и правилами градостроительства и пособиями по проектированию лечебных учреждений. В данном проекте уделяется особое внимание монолитному железобетонному каркасу. Так, в разделе 6 представлен расчет и конструирование монолитного каркаса, а в разделе 6 разработана технологическая карта на устройство каркаса из монолитного железобетона. Дипломный проект содержит 13 разделов и охватывает основные вопросы реального проектирования в строительстве. 1. Исходные данные для проектирования Площадка для строительства здания “Реабилетационный центр” находится в южной части города Новороссийска, пос Мысхако. В настоящие время строительная площадка спланирована, ведутся работы по возведению ограждающих конструкций, а также по подведению подземных коммуникаций ( водопровода, канализации, электро-кабеля) Проект “Реабилетационный центр” разработан для строительства в регионе со следующими климатическими и инженерными характеристиками: Природно -Климатические условия: III – Б строительно – климатический подрайон по СниП 23 - 01- 99 «Строительная климатология»; 1 район по весу снегового покрова по СниП 2.01.07 – 85 «Нагрузки и воздействия».Нормативное значение веса снегового покрова 50 кг/м2 V I район по скоростному напору ветра по СниП 2.01.07 – 85 «Нагрузки и воздействия» Зона влажности по СНКК «23 – 302 – 2000» « Энергетическая эффективность общественных зданий» - нормальная. Сейсмичность г. Новороссийска по СниП II –7-81* «Строительство в сейсмических районах» и СНКК 22 – 301 – 2001 «Строительство в сейсмических районах Краснодарского края» – 8 баллов Расчетная зимняя температура наружного воздуха -13 С С поверхности до глубины 1,6…1,8 м почва суглинистая темнокоричневая, мокропористая, твердая с корнями растений. С глубины 1,8 м до 3,4…4,8 м- суглинок лессовый, темнобурый, мокропористый твердый с гнездами и стяжениями карбонатов до 10…15%. С 4,8 до 5,5…7,5-супесь зеленовато- бурая твердая, мокропористая; с 7,5 м до 7,9…11,2 м – суглинок зеленовато-серый, твердый, плотный, ожелезненный. Грунты ИГЭ 1, ИГЭ 2 и ИГЭ-3 – просадочные ( просадочность первого типа ). Подземные воды вскрыты на глубине 9,25…11,2 м, значение прогнозного уровня 6,25 2.Генплан Площадь участка составляет 5.6 га, в том числе под строительство здания 2.161 га, для благоустройства – 3.438 га. Участок имеет форму прямоугольника, по всему периметру территория ограждена оградой, вход осуществляется через проходную которая находится в западной части площадки, проезд автотранспорта происходит через автоматические ворота и находится в той же части площадки. Территория охраняется в дневное и ночное время суток, охрана имеет при себе оружие, контроль осуществляется с помощью видеокамер. Основные графики движения в комплексе следующие. Посетители с двора попадают в главный вестибюль с гардеробом, для доступа инвалидов в колясках предусмотрен пандус. После оформления в регистратуре посетители направляются в соответствующие отделения. В остальные отделения посетители поднимаются по главной открытой лестнице или рядом расположенными лифтами, а также двумя рассредоточенными лестницами. Медицинский персонал входит как через главный вход так и через служебный вход. Врачебный персонал и медсестры раздеваются в своих кабинетах. Для процедурных медсестер, санитарок предусмотрен отдельный гардероб на первом этаже. Медикаменты для аптечного киоска и для медицинского учреждения подаются через служебный вход. На каждом этаже запроектированы кладовые уборочного инвентаря. Мусор выносится в закрываемых бочках через служебный вход. Доставка материалов, подлежащих стерилизации, их обработка и последующая выдача осуществляется с учетом организации двух потоков ( грязного и чистого ). Возможность пересечения грузопотоков исключена планировочным решением. Также на территории “Реабилетационного центра” имеется: - Спальный корпус, На первом этаже располагается большой актовый зал, который может вместить в себя более чем 500 человек, в котором имеется сцена и музыкальная с система, что позволяет проводить развлекательные мироприятие для посетителей этого заведения и их гостей, а также и рабочего персонала “Реабилетационного центра”. На втором этаже находится столовая, площадь которой позволяет вместить в себя более 160 человек, иногда на территории столовой проводятся банкеты.На третьем этаже расположен стационар вмещающий в себя 160 к/м включая 2-х и 4-х местные номера. Также на этаже имеются комнаты отдыха оборудованные теле видео аудио аппаратурой. - Здание технического назначения, на генплане стоит под номером 3. На его площадях размещено:.Узлы учета воды (горячей, холодной ), электроэнергии, тепла. В случае черезвучайной ситуации, имеется дизель- генератор с запасом топлива на три дня, также имеется резервуар с питьевой водой объемом 300 м3 - Здание бассейна на генплане имеет номер №6, отвечает всем международным требованиям, в нем может разместится восемь плавательных дорожек, имеется мостик для прыжков воду с максимальной высотой 8м. - Для удобства территория оборудована автостоянками №5 для служебного автотранспорта, №7 для посетителей заведения. Рельеф площадки – имеет незначительный уклон в западном направлении. Абсолютные отметки поверхности земли изменяются от 26,4 до 27,0 м. На участке, выделенном для благоустройства, запроектированы тротуары и площадки для отдыха. Инженерные сети размещаются вдоль проездов прямолинейно и параллельно линиям застройки. Водопровод, канализация, кабели проложены в траншеях, тепловые сети в подземных каналах. Отвод поверхностных вод обеспечен закрытым способом в ливневую канализацию. Для отвода запроектированы железобетонные лотки покрытием из решеток. Генеральный план размещения здания на участке выполнен в целом в границах, выделенных для проектирования с учетом увязки с примыкающей застройкой и конфигурацией проектируемого корпуса. Здание имеет два главных фасада, первый из которых имеющий оси И-А выходит на запад, второй осями 5-1 выходит на север. Таблица 1.1. Основные показатели по генплану.
3. Основные сведения о технологическом оборудовании и технологии производства и о функциональном назначении Консультативный прием специалистов по 20 медицинским специальностям, диагностику заболеваний, стационарное и амбулаторное лечение, вакцинопрофилактику. - учреждение, оказывающее высококвалифицированную специализированную медицинскую помощь больным неврологического а также терапевтического профиля. Значительная часть персонала имеет высшую и первую аттестационную категорию. В стационаре “Реабилетационного центра” функционируют специализированные центры, которые выполняют лечебную, научно-исследовательскую и методическую работу: На базе кардиологического отделения находится центр диагностики и лечения сердечных аритмий. На базе пульмонологического отделения функционирует Городской центр диагностики и лечения хронических обструктивных заболеваний легких, являющийся филиалом НИИ пульмонологии Минздрава РФ. Гастроэнтерологическое отделение является базой центра диагностики и лечения язвенной болезни. Структуру стационара дополняют: -отделение рентгенхирургических методов диагностики и лечения; - физиотерапевтическое отделение; - параклиническая служба. 4. ТЕХНИКО-ЭКОНОМИЧЕСКОЕ СРАВНЕНИЕ ВАРИАНТОВ КОНСТРУКЦИЙ И ВЫБОР ОСНОВНОГО ВАРИАНТА Сравниваем три варианта конструктивного решения: 1 Вариант – здание рамно-связевое из монолитного железобетона; 2 Вариант - кирпичное здание; 3 Вариант – здание из керамических камней, облицованное лицевым кирпичом. Объемы работ, сметную стоимость и трудоемкость по вариантам конструктивных решений определим в табличной форме. 4.1 Ведомость объемов работ, трудоемкости и сметной документации вариантов конструктивных решений Таблица 3.1. 1 Вариант – здание рамно-связевое из монолитного железобетона.
Таблица 3.1. 2 Вариант – кирпичное здание.
Таблица 3.3. 3 Вариант – здание из керамических камней, облицованное лицевым кирпичом.
Из таблиц № 4.1, 4.2 и 4.3 видно, что наибольшую трудоемкость осуществления конструктивного решения имеет 3-й вариант. Его принимаем за базовый при проведении сравнения. 2. Определим продолжительность возведения конструкций tдн = m i / (n R S) (4.1) где
n - количество бригад, принимающих участие в возведении конструкций; R - количество рабочих в бригаде, чел; S - принятая сменность работы в сутки. Подсчет величины продолжительности строительства исчисленной в днях на величину в годах осуществляется по формуле: ti
= где 260 - среднее число рабочих дней в году при 5-ти дневной рабочей неделе. Принимаем сопоставимые условия проведения работ: - одинаковое количество рабочих бригад - 1; - число рабочих в бригаде - - работы проводятся в одну смену - Продолжительность осуществления конструктивных решений по вариантам составит: tдн1 = 325/1х5х1=65 дней tдн2 = 331/1х5х1=66 дней tдн3 =215/1х5х1=69 дней 3. Определение основных производственных фондов. Для проведения монтажных работ принят башенный кран КБ-403А, инвентарно-расчетная стоимость которого составляет 55,6 тыс. руб. 4. Определим величину оборотных средств по приближенному расчету. Она принимается в размере норматива оборотных средств в производственные запасы для осуществления конструктивного решения и величины оборотных средств в незавершенное строительство по конструктивному решению Фобi = где 1.08 - коэффициент перехода от сметной себестоимости к сметной стоимости;
Зм = где М - однодневный расход основных материалов, деталей и конструкций, шт, м2, м3 и т.д.; Ц - сметная цена материалов, деталей и конструкций, руб;
Получаем следующие величины оборотных средств по вариантам: Фоб1 = Фоб2 = Фоб3 = 5. Определим приведенные затраты по принятым вариантам конструктивных решений здания с учетом затрат на текущий ремонт, амортизацию и содержание конструкций. Эксплуатационные затраты на отопление, освещение, вентиляцию и прочее условно принимаются одинаковыми и в расчетах не учитываются. Величина годовых эксплуатационных затрат определяется по формуле: Иi = где
Согласно приложения 4 суммарная величина амортизационных отчислений для вариантов составит: 1-й вариант-Н1+Н2+Н3 = 0,67+0,19 = 0.86% 2-й вариант-Н1+Н2+Н3 = 0,67+0,19 = 0.86% 3-й вариант-Н1+Н2+Н3 =0,8+0,28 = 1.08% Величины годовых эксплуатационных затрат по вариантам: И1 = И2 = И3 = 6. Поскольку сопутствующие капитальные вложения по вариантам отсутствуют, то они принимаются равными нулю. Величину капитальных вложений определим исходя из удельного усредненного показателя сметной стоимости 1 м3 здания и приближенного переходного коэффициента от сметной стоимости к капитальным вложениям по формуле: Кб = где
Величина капитальных вложений по базовому варианту: Кб = 7. Величина капитальных вложений для сравниваемых вариантов определяется по формуле: Кс = где
Капитальные вложения по сравниваемым вариантам: К1 = К2 = 8. Для сравниваемых вариантов конструктивных решений продолжительность строительства определяется по формуле: Тс = где Продолжительность строительства для сравниваемых вариантов: Тс1 = Тс2 = 9. Экономический эффект от сокращения продолжительности строительства рассчитывается по формуле: Эф = где Ен - нормативный коэффициент экономической эффективности капитальных вложений. Для 1-го варианта по отношению к базовому: Эф1 = Для 2-го варианта по отношению к базовому: Эф2 = Приведенные затраты определяются по формуле: Зi = где Фоснi - стоимость основных производственных фондов, участвующих в процессе возведения i-го конструктивного решения, руб. 10. Величина приведенных затрат по вариантам: З1 = З2 = З3 = Экономический эффект за счет разности приведенных затрат и экономии в сфере эксплуатации зданий определим по формуле: Эпз = где Рб, Рi - доли сметной стоимости строительных конструкций в расчете на 1 год их службы по сравниваемым вариантам; Ен - нормативный коэффициент экономической эффективности новой техники в строительстве, принимаемый равным 0,15 1/год. Кiс, Кбс - сопутствующие капитальные вложения, связанные с эксплуатацией конструкций по вариантам, руб. 11. Эффект для 1-го варианта по отношению к базовому: Эпз1 = Эпз2 = Величина суммарного годового экономического эффекта: Эобщ = 12. Расчет величины суммарного годового эффекта для всех вариантов конструктивных решений: Э1 = Э2 = Э3 = Экономические показатели по вариантам рассчитаны в ценах 1984 г. Для перевода в текущие цены используем индекс роста цен 50.50 13. Окончательные результаты сводим в таблицу. Таблица 4.4 Технико-экономические показатели.
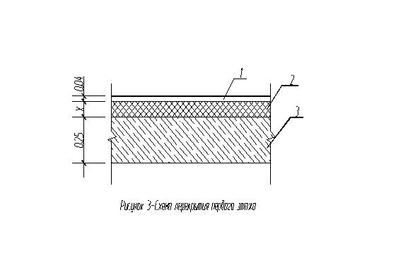
На основе расчетов технико-экономических показателей и приведенных затрат по вариантам видно, что по первому варианту конструктивного решения получены наиболее предпочтительные величины. Следовательно, этот вариант должен быть принят для дальнейшей детальной проработки. 5. АРХИТЕКТУРНО СТРОИТЕЛЬНАЯ ЧАСТЬ 5.1 Объемно-планировочные решения Центр реабилитации представляет собой равновысотный объем простой прямоугольной формы. Проектируемое здание, расположено в южной части территории. Наибольшую рабочую площадь здания занимает первый этаж, в который вошли центральный лестнично-лифтовый узел с вестибюлем. В нем расположены гардероб и регистратура. Широкие двери ведут в три отделения, вошедшие в первую очередь: неврологическое, кардиологическое. На второй и последующие этажи можно подняться по центральной лестнице. Рядом с лестницей находится лифтовый холл, оснащенный больничным лифтом на 12 человек с широким входным проемом, что дает возможность пользоваться им инвалидам на колясках. Из вестибюля посетители могут попасть в любое из отделений, расположенное на первом этаже, либо подняться на следующие этажи. На втором этаже находятся кабинеты врачей консультационного отделения. Налево от центральной лестницы расположено небольшое кафе с подсобным помещением, рядом можно получить информацию в справочной. Через холл посетители попадают в малый актовый зал который предназначен для проведения собраний всего рабочего персонала, а также семинаров. Третий этаж занимает отделение физиотерапии, кабинет психологической разгрузки. На четвертом этаже расположен стационар дневного пребывания на 54 койки. На всех этажах предусмотрены санузлы с учетом обслуживания инвалидов. Здание завершает машинное отделение лифтов и венткамера, в которые можно попасть по центральной лестнице. Здание главного корпуса, имеет прямоугольную форму, живописно вписывается в окружающую среду. Остекление принято тонированными зеркальными стеклопакетами теплого тона. Стены из пенобетона. Основной колер стен – белый. Цоколь и часть первого этажа отделаны плитами из натурального камня по сетке на цементно – песчаном растворе. Основные технико-экономические показатели: объем здания – 10101 мі общая площадь – 2856 м полезная площадь – 2528 мІ 5.2 Теплотехнический расчет ограждающих конструкций Расчет производится согласно главы СНиП П-3-79* «Строительная теплотехника» и СНКК 23-302-2000 (ТСН 23-302-2000 Краснодарского края) Энергетическая эффективность жилых и общественных зданий. Нормы по теплозащите зданий и методических указаний к курсовому и дипломному проектированию «Теплотехнический расчет ограждающих конструкций зданий». Расчетные условия ( по данным СНКК 23-302-2000): 1. Расчетная температура внутреннего воздуха – tint = +200 С; 2. Расчетная температура наружного воздуха – text = - 130 С; (температура наиболее холодной пятидневки) 5. Продолжительность отопительного периода Z ext = 134 сут.; 6. Средняя температура наружного воздуха за отопительный период text av +4.40 С; 7.Градусосутки отопительного периода Dd = 2090 0 С. 8. Назначение – лечебное. 9. Размещение в застройке – отдельностоящее. 10. Тип – четырехэтажное. 11. Конструктивное решение – рамно связевое Объемно-планировочные параметры здания: 12. Общая площадь наружных стен, включая окна и двери Aw+F+ed
= Pst
× Hh
= Площадь наружных стен (за минусом площади окон и входных дверей): Aw = 1974,9 – 542,5 – 5,76 = 1426,64 м2 AF = 542,5м2 – площадь окон и витражей; Aed = 2.4×2.4 = 5,76 м2 – площадь входной двери. Площадь покрытия и площадь пола 1-го этажа равны: Ас = Аst = 885,4 м2 13. Площадь наружных ограждающих конструкций определяется как сумма площади стен (с окнами и входными дверьми) плюс площадь пола, плюс площадь совмещенного покрытия: Ае sum = Aw + F + ed + Ас + Аst = 1974,9+885,4+885,4 = 3745,7м2 14-15. Площадь отапливаемых помещений (общая площадь) Аh и полезная площадь Аr : Аh
=580,5+ Аr =2856,4-327,8=2528,6 м2 , 16. Отапливаемый объем здания: Vh
=Ast
× Hh
=
17-18. Показатели объемно-планировочного решения: - коэффициент остекленности здания: Р =АF / Aw + F + ed = 542,5/1974,9= 0,27; - показатель компактности здания: Ке des = Ае sum / Vh = 3745,7/10101 = 0,37. Энергетические показатели Теплотехнические показатели 19. Согласно СниП П-3-79* приведенное сопротивление теплопередаче наружных ограждений R0 r , м2 0 С/Вт должно приниматься не ниже требуемых значений R0 red , которые устанавливаются по табл. 1б в зависимости от градусосуток отопительного периода. Для Dd = 20900 С×сут требуемое сопротивление теплопередаче равно для: - стен Rw red = 2,46 м2 ×0 С/Вт; - окон и балконных дверей Rf red = 0,377 м2 ×0 С/Вт; - входных дверей Rw red = 1,35 м2 ×0 С/Вт; - совмещенное покрытие Red red = 3,6 м2 ×0 С/Вт; - пол первого этажа Rf = 3,25 м2 ×0 С/Вт; Определимся с конструкциями и рассчитаем толщины утеплителей наружных ограждений по принятым сопротивлениям теплопередачи. Схема конструкции стены приведена на рисунке 1.
1. Известково-песчанный раствор плотностью 1600 кг/м3
d1
=20мм, с коэффициентом теплопроводности 2. Пенобетон плотностью 600 кг/м3
d2
=Х мм, с коэффициентом теплопроводности 3. Цементно-песчанный раствор плотностью 1800 кг/м3
d3
=20мм, с коэффициентом теплопроводности Определяем требуемое сопротивление теплопередаче стены, исходя из санитарно-гигиенических и комфортных условий:
R0 =RВ +Rраств +Rж/б +Rраств + Rн =Ro треб R0
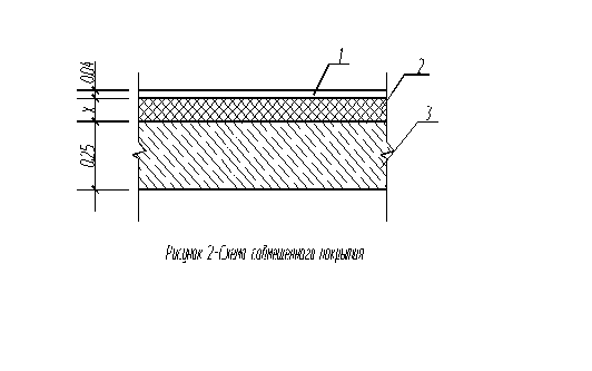
= [2,46 – (0,115 +0,028+ 0,026 + 0,043)]×0,22 = x x = 0,5 dбет =0,5м толщина стены 0,5+0,02= 0,54 м Для обеспечения требуемого по градусосуткам сопротивления теплопередаче совмещенного покрытия R0 тр = 3,6 м2 ×0 С/Вт определяем толщину утеплителя в многослойной конструкции покрытия (термическое сопротивление пароизоляции отнесены в запас), схема которого приведена на рисунке 2
3. Железобетонная монолитная плита плотностью 2500 кг/м3
d1
=250 мм, с коэффициентом теплопроводности 2. Утеплитель-пенополистирол плотностью 150 кг/м3
d2
=Х мм, с коэффициентом теплопроводности 1. Цементно-песчанный раствор плотностью 1800 кг/м3
d3
=40мм, с коэффициентом теплопроводности R0 =RВ +Rж/б +Rутеп +Rраств + Rн =Ro треб R0
= 1/8,7+0,25/1,92 + X/0,052+ 0,04/0,76 + 1/23= 2,46 [3.6-(0,115+0,13 +0,052+0,043)]×0,052 = X X = (3,6-0,34)×0,052= 0,169 м dут = 17 см Для обеспечения требуемого по градусосуткам сопротивления теплопередаче R0 тр = 3,25 м2 ×0 С/Вт перекрытия по грунту, определяем его конструкцию и рассчитаем толщину утеплителя ( рис.3 ).
1. Цементно-песчанный раствор плотностью 1800 кг/м3
d1
=40мм, с коэффициентом теплопроводности 2. Утеплитель-керамзит плотностью 300 кг/м3
d2
=Х мм, с коэффициентом теплопроводности 3. Железобетонная монолитная плита плотностью 2500 кг/м3
d3
=250 мм, с коэффициентом теплопроводности R0 =RВ + Rраств + Rутеп +Rж/б + Rн =Ro треб R0
= 1/8,7+0,04/0,76 + X/0,12+ 0,25/1,92 + 1/23= 3,25 [3,25-(0,115+0,052 +0,13+0,043)]×0,12 = X X = (3,25-0,34)×0,12= 0,349 м принимаем dут = 35 см 20. Приведенный трансмиссионный коэффициент теплопередачи: Km tr = b(Aw /Rw r +AF / RF r + Aed / Rtd r +n× Ac / Rc r + n× Af / Rf r )/ Ае sum Km tr = 1,1(1426,6/2,46 + 542,5/0,38 + 5,75/1,35 + 1×885,4/3,6 +0,6×885,4/3,25)/3745,7 = = 1.1(597,67 + 1427,6 + 4,25 + 245,94+163,45)/3745,7 = 0,651 (Вт/м2 ×0 С), 21. Воздухопроницаемость неружных ограждений принимается по таблице 12* СниП П-3-79*. Согласно этой таблице воздухопроницаемость стен, покрытия, перекрытия первого этажа Gm w = Gm c = Gm f = 0,5 кг/(м2 ×0 С), окон и деревянных переплетов и балконных дверей Gm F = 6 кг/(м2 ×0 С). 22. Требуемая среднесуточная кратность воздухообмена в общественных зданиях, функционирующих не круглосуточно, определяется по формуле:
где
na
= 23. Приведенный инфильтрационный (условный) коэффициент теплопередачи здания определяется по формуле: Кm inf = 0.28×c×na ×bv ×Vh ga ht ×k/Ac sum , ga ht =353/(275+text av ) Кm inf = 0,28×1×0,75×0,85×10101×1,27×0,8/3745,7 = 0,489 (Вт/м2 ×0 С). 24. Общий коэффициент теплопередачи здания, (Вт/м2 ×0 С) определяемый по формуле: Кm = Km tr + Кm inf = 0,651+0,489 = 1,14 (Вт/м2 ×0 С) Теплоэнергетические показатели 25. Общие теплопотери через ограждающую оболочку здания за отопительный период, МДж Qh = 0.0864×Km ×Dd × Ae sum = 0,0864×1,14×2090×3745,7 = 1128207(МДж) 26. Удельные бытовые тепловыделения qint , Вт/м3 , следует устанавливать исходя из расчетного удельного электро- и газопотребления здания, но не менее 10 Вт/м3 Принимаем 12 Вт/м3 . 27. Бытовые теплопоступления в здание за отопительный период, МДж: Qint = 0,0864×qint ×Zht ×AL = 0,0864×12×168×2528,6 = 440437 МДж 28. Теплопоступления в здание от солнечной радиации за отопительный период, МДж: Qs =tF ×kF ×(AF1 l1 +AF2 l2 + AF3 l3 +AF4 l4 )= 0,9×0,9×(185,26×382+131,26×816+98,52 ×382+126,96×816)= 0,81×(70769+107108+37634+103599)=258479 МДж 29. Потребность в тепловой энергии на отопление здания за отопительный период, МДж, определяют по формуле: Qh y = [Qh – (Qint + Qs )×Y]×bh Qh y = [1128207- (440437+258479)×0,8]×1,13 = 643053 МДж 30.Удельный расход тепловой энергии на отопление здания qh des , кДж/(м3 ×0 Ссут): qh des = 103 Qh y /Ah ×Dd qh des = 103 ×643053 /10101×3058 = 20,81 кДж/(м3 ×0 Ссут) Разница между удельным расходом энергии на отопление здания и требуемым (20,81 против 31) составляет 32,87%, что превышает допустимую разницу (5%), поэтому необходим пересмотр вариантов до достижения условия: qh reg ≥ qh des . Уменьшаем приведенные сопротивления теплопередачи ограждающих конструкций, определенные по таблице 1”б” СНиП II-3-79*, исходя из условий энергосбережения. ( Изменения вносим в пункт 19 ). 19. Для второго этапа принимаем следующие сопротивления ограждающих конструкций: - стен Rw red = 1,72 м2 ×0 С/Вт; - окон и балконных дверей Rf red = 0,377 м2 ×0 С/Вт; - входных дверей Rw red = 1,35 м2 ×0 С/Вт; - совмещенное покрытие Red red = 20,5 м2 ×0 С/Вт; - пол первого этажа Rf = 1,15 м2 ×0 С/Вт; 20. Приведенный трансмиссионный коэффициент теплопередачи: Km tr = b(Aw /Rw r +AF / RF r + Aed / Rtd r +n× Ac / Rc r + n× Af / Rf r )/ Ае sum Km tr = 1,1(1426,6/1,72 + 542,5/0,38 + 5,75/1,35 + 1×885,4/2,05 +0,6×885,4/3,25)/3745,7 = = 1.1(829,4 + 1427,6 + 4,25 + 431,9+769,9)/3745,7 = 0,92 (Вт/м2 ×0 С), 21. (Без изменения. ) Воздухопроницаемость наружных ограждений принимается по таблице 12* СниП П-3-79*. Согласно этой таблице воздухопроницаемость стен, покрытия, перекрытия первого этажа Gm w = Gm c = Gm f = 0,5 кг/(м2 ×0 С), окон и деревянных переплетов и балконных дверей Gm F = 6 кг/(м2 ×0 С). 22. ( Без изменения. ) Требуемая среднесуточная кратность воздухообмена в общественных зданиях, функционирующих не круглосуточно, определяется по формуле:
где
na
= 24. Общий коэффициент теплопередачи здания, (Вт/м2 ×0 С) определяемый по формуле: Кm = Km tr + Кm inf = 0,92+0,489 = 1,409 (Вт/м2 ×0 С) Теплоэнергетические показатели 25. Общие теплопотери через ограждающую оболочку здания за отопительный период, МДж Qh = 0.0864×Km ×Dd × Ae sum = 0,0864×1,409×2090×3745,7 = 1394425,7(МДж) 26. (Без изменения. ) Удельные бытовые тепловыделения qint , Вт/м3 , следует устанавливать исходя из расчетного удельного электро- и газопотребления здания, но не менее 10 Вт/м3 Принимаем 12 Вт/м3 . 27. (Без изменения. ) Бытовые теплопоступления в здание за отопительный период, МДж: Qint = 0,0864×qint ×Zht ×AL = 0,0864×12×134×2528,6 = 440437,3 МДж 28. (Без изменения. ) Теплопоступления в здание от солнечной радиации за отопительный период, МДж: Qs =tF ×kF ×(AF1 l1 +AF2 l2 + AF3 l3 +AF4 l4 )= 0,9×0,9×(185,26×382+131,26×816+98,52 ×382+126,96×816)= 0,81×(70769+107108+37634+103599)=258479 МДж 29. Потребность в тепловой энергии на отопление здания за отопительный период, МДж, определяют по формуле: Qh y = [Qh – (Qint + Qs )×Y]×bh Qh y = [1394425,7- (440437,3+258479,1)×0,8]×1,13 = 943880,2 МДж 30.Удельный расход тепловой энергии на отопление здания qh des , кДж/(м3 ×0 Ссут): qh des = 103 Qh y /Ah ×Dd qh des = 103 ×943880,2 /10101×3058 = 30,55 кДж/(м3 ×0 Ссут) При требуемом qh red = 31 кДж/(м3 ×0 Ссут) По принятым сопротивлениям теплопередаче определимся конструкциями ограждений и толщиной утеплителя совмещенного покрытия и перекрытия первого этажа. Стены: принимаем следующую конструкцию стены, теплотехнические характеристики материалов ( рис. 4)
1. Известково-песчанный раствор плотностью 1600 кг/м3
d1
=20мм, с коэффициентом теплопроводности 2. Пенобетон плотностью 800 кг/м3
d2
=Х мм, с коэффициентом теплопроводности 3. Цементно-песчанный раствор плотностью 1800 кг/м3
d3
=20мм, с коэффициентом теплопроводности Cопротивление теплопередаче: R0 =RВ +Rраств +Rж / б +Rраств + Rн =Ro треб R0
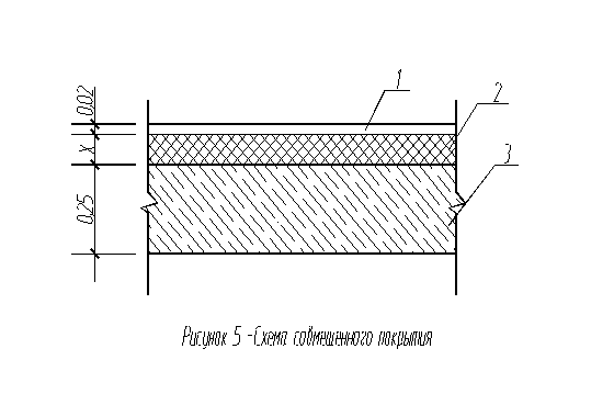
= [1,72 – (0,115 + 0,028+0,026 + 0,043)]×0,33 =δ2 откуда толщина пенобетона δ2 =0,5 м Совмещенное покрытие: принимаем следующую конструкцию совмещенного покрытия, теплотехнические характеристики материалов ( рис. 5) 1. Цементно-песчанный раствор плотностью 1800 кг/м3
d1
=20 мм, с коэффициентом теплопроводности 2. Утеплитель-газобетон плотностью 600 кг/м3
d2
=Х мм, с коэффициентом теплопроводности 3. Железобетонная монолитная плита плотностью 2500 кг/м3
d3
=250 мм, с коэффициентом теплопроводности
R0 =RВ +Rж / б +Rутеп +Rраств + Rн =Ro треб R0
= 1/8,7+0,25/1,92 + X/0,22+ 0,02/0,76 + 1/23= 1,45 [1,45-(0,115+0,13 +0,026+0,043)]×0,22 = X X = (1,45-0,314)×0,22= 0,249 м Принимаем dут = 25 см Перекрытие первого этажа: принимаем следующую конструкцию перекрытия первого этажа, теплотехнические характеристики материалов ( рис. 6) 1. Цементно-песчанный раствор плотностью 1800 кг/м3
d1
=20 мм, с коэффициентом теплопроводности 2. Утеплитель-газобетон плотностью 300 кг/м3
d2
=Х мм, с коэффициентом теплопроводности 3. Железобетонная монолитная плита плотностью 2500 кг/м3
d3
=250 мм, с коэффициентом теплопроводности R0 =RВ + Rраств + Rутеп +Rж / б + Rн =Ro треб R0
= 1/8,7+0,02/0,76 + X/0,11+ 0,25/1,92 + 1/23= 1,15 [1,15-(0,115+0,026 +0,13+0,043)]×0,11 = X X = (1,15-0,314)×0,11= 0,9 м принимаем dут = 90 см
5.3 Конструктивное решение здания Конструктивные решения обусловлены архитектурно – планировочными требованиями и приняты в соответствии с архитектурным заданием. Здание рамно-связевое из монолитного железобетона с безригельными перекрытиями. Фундаменты приняты из условия ограничения возможных деформаций для многоэтажной части из кустов свай, для одноэтажных пристроек – плитные фундаменты. Перекрытия – монолитные железобетонные. Кровля – плоская из рулонных материалов, утепленная газобетоном. Отмостка вокруг здания – бетонная шириной 1000 мм. Стены – из монолитного пенобетона с поэтажным операнием на консоли перекрытий. Перегородки – кирпичные толщиной 120 мм и на металлическом каркасе с двухсторонней обшивкой гипсокартонными листами в два слоя. 5.4 Решение фасада, внутренняя отделка помещений Стены из пенобетона покрыты обычной штукатуркой. Основной колер стен –белый. Цоколь и часть первого этажа отделаны плитами из натурального камня по сетке на цементно-песчаном растворе. Остекление принято зеркальными стеклопакетами. Внутренние стены и потолки после затирки (при необходимости – штукатурки) окрашиваются водоэмульсионной краской СТЭМ-45. В помещениях, где установлено сантехническое оборудование стены отделываются глазурированной плиткой или окрашиваются поливинилацетатной краской ВА-27. 5.5 Инженерное оборудование Отопление Отопление помещений корпусов – водяное, местными нагревательными приборами – радиаторами типа МС 140.Систеиы отопления – двухтрубные. Расход тепла на отопление по первой очереди 180000 ккал/час (218 кВт). Источником теплоснабжения является котельная по ул. Челюскенцев № 7 (резервный источник- стационарная котельная РОК-1находится в теническом здании на территории центра. Котельная оборудована водонагревательными котлами ТВГ-8М, ТВГ-4Р. Источником водоснабжения являются центральные сети поселка. Показатели параметров теплоносителей: · теплофикационная вода с температурой подающей воды 150 ˚С и обратной 70 ˚С; · подающей горячего водоснабжения 65 ˚С и циркуляционной воды 50 ˚С. Давление в подающей магистрали на выходе из котельной Р=0,55 МПа, давление в обратной магистрали входе в котельную Р=0,45 МПа. Вентиляция и кондиционирование. Для создания нормативных параметров воздуха в помещениях предусматривается: · общественная вытяжная вентиляция; · кондиционирование воздуха. Количество воздуха для вентиляции и кондиционирования в помещениях определено расчетом в соответствии с требованиями СНиП 2.08.02-89, СНиП 2.04.05-91, пособиям по проектированию учреждений здравоохранения. По экономическим соображениям и, исходя из надежности работы, приняты автономные кондиционеры японской фирмы “DEIKIN”, работающие в режиме “зима-лето”, поддерживающие в помещении заданную температуру воздуха и очищающие его от пыли. Расход тепла на вентиляцию первой очереди – 195000 ккал/час (226 КВт). Водоснабжение. Системы водопровода, канализации водостоков и горячего водоснабжения здания центра реабилитации запроектированы в соответствии с требованиями СниП «Внутренний водопровод и канализация». Сети водопровода выполнены из полиэтиленовых труб ПНД Æ 150 мм тип Т «питьевая» ГОСТ 18599 – 83. На проектируемой сети предусмотрены колодцы с отключающими задвижками и пожарными гидрантами из сборного железобетона. Для круглосуточного и бесперебойного водоснабжения, проектируемого здания центра реабилитации, запроектирован бак хозяйственного питьевого запаса воды в техническом помещении емкостью 200м3. Для обеспечения требуемого напора воды (20 м водного столба) принята «частная насосная установка» ГИДРОДЖЕТ JP5 фирмы GRUNDFOS. Вопрос внутреннего пожаротушения главного корпуса решен от баков противопожарного запаса воды (2 шт. по 14 м3) и группы противопожарных насосов СН 12 – 40 400 Y фирмы GRUNDFOS. Питьевая вода используется для хозяйственно-питьевых нужд, полив газонов и территории, пожаротушения. Источником водоснабжения являются основные сети поселка диаметром 300 мм. Напор в сети – 4,0 атм. Учет воды производится водомером ВТ-80,установленным в техническо здании. Внутренние сети водопровода – кольцевые, укладываются из стальных электросварных труб диаметром 100 мм по ГОСТ 10704-76 и из стальных водогазопроводных труб диаметром 15…50 мм по ГОСТ 3262-75. Пожарные краны устанавливаются в деревянных шкафах, оборудованных двумя огнетушителями. Канализация. В соответствии с требованиями, предъявляемыми к качеству сточных вод, запроектированы следующие системы канализации: · бытовая; · дождевая. В сеть бытовой канализации сбрасываются стоки от санприборов. Отвод бытовых стоков предусмотрен в существующую сеть фекальной канализации поселка диаметром 300 мм. На выпуска канализации от санприборов, расположенных в подвале и в колодце здания, устанавливаются электрофицированные задвижки с автоматическим управлением. Система дождевой канализации запроектирована для отвода дождевых стоков с кровли здания и дождеприемных лотков. Сети канализации укладываются из чугунных и керамических труб с герметизацией стыковых соединений. Характеристика загрязнений в сточных водах соответствует требованиям Горисполкома (решение №362 от 12.07.91 г.). Электроосвещение. Электроосвещение выполнено в соответствии со СниП II-4-79 и предусматривает: · рабочее напряжение 220 В; · аварийное и эвакуационное напряжение 220 В; · ремонтное напряжение 42 В. Аварийное освещение для продолжения работы предусмотрено только в процедурных и электрощитовой. В качестве источников света приняты люминисцентные светильники и лампы накаливания. Выбор светильников произведен в соответствии с условиями среды. Управление рабочим освещением осуществляется выключателями по месту управления эвакуационным освещением централизовано со щита аварийного освещения. 5.3 Расчет железобетонной четырехпролетной рамы Расчет рамы ведем по оси «В». Сечение стоек- колонн bxh=40x40 см, сечение ригелей bxh=0,5х( 600+300)х25=450х25 см, где по методу заменяющих рам ширина ригеля равна полусумме двух смежных пролетов. Ввиду того, что весь каркас здания представляет собой связевую систему, где связями служат железобетонные монолитные стены шахты лифта и лестничных клеток, которые воспринимают все возможные горизонтальные нагрузки ( ветровую и сейсмическую ), то рама будет работать только на вертикальные нагрузки. 5.3.1 Сбор нагрузок на междуэтажное перекрытие Таблица 5.2. Сбор нагрузок на междуэтажное перекрытие.
Таблица 5.3. Сбор нагрузок на покрытие.
Расчетные нагрузки на 1 погонный метр ригеля с учетом коэффициента по назначению здания γn =0,95. Постоянная от покрытия: q1
= Постоянная от перекрытия: q2
= Временная на покрытие: V1
= Временная на покрытие: V2
= 5.4 Расчет рамы методом заменяющих рам Определяем геометрические характеристики элементов рамы: момент инерции ригеля Ip
= момент инерции колонны Iк
= если Iк =1,00, то Iр =2,75 Погонные жесткости элементов рамы: ιк = Iк /h=1/3,60=0,278 ιр = Iр /l=2,75/6,00=0,458 Определяем коэффициенты распределения в узлах рамы: узел 1. к1-2
= узел 2. к2-1
= узел 3. к3-2
= к3-4 = 0.622 узел 4. к4-9
= к4-5
= узел 5. к5-4
= узел 6. к6-1
=
Рисунок 5.1 Схема вертикальных нагрузок к6-11
= узел 7. к7-2
= к7-8
= к7-12
= узел 8. к8-7
= к8-9
= к8-3
= к8-13
= узел 9. к9-4
= к9-8
= к9-14
= к9-10 =0,452 узел 10. к10-9
= к10-15
= к10-5 =0,378 узел 11. к11-6
= к11-16
= к11-12
= узел 12. к12-11
= к12-13
= к12-7
= к12-17
= узел 13. к13-12
= к13-14
= к13-8
= к13-18
= узел 14. к14-13
= к14-9
= к14-19
= узел 15. к15-14
= к15-10
= к15-20
= узел 16. к16-17
= к16-11
= к16-21
= узел 17. к17-16
= к17-18
= к17-12
= к17-22
= узел 18. к18-17
= к18-19
= к18-13
= к18-23
= узел 19. к19-18
= к19-14
= к19-24
= к19-20
= узел 20. к20-15
= к20-20
= к20-19
= узел 21. к21-22
= к21-26
= к21-16
= узел 22. к22-21
= к22-17
= к22-23
= к22-27
= узел 23. к23-22
= к23-24
= к23-18
= к23-28
= узел 24. к24-23
= к24-29
= к24-19
= узел 25. к25-24
= к25-20
= к25-30 =0,378 Опорные моменты в верхних ригелях от постоянных нагрузок: М1
= Опорные моменты в средних ригелях от постоянных нагрузок: М2
= Распределение моментов производим в табличной форме методом Кросса. Таблица 5.4. Изгибающие моменты от постоянной нагрузки в элементах рамы.
Продолжение таблицы 5.4.
Продолжение таблицы 5.4.
Таблица 5.5. Изгибающие моменты от постоянной нагрузки в элементах рамы.
Продолжение таблицы 5.5.
Для определения изгибающих моментов от временной нагрузки распологаем последнюю через один пролет для получения максимального пролетного момента и в двух смежных пролетах для получения максимального пролетного момента. Приняв для расчета и конструирования колонну нижнего этажа по оси «3», производим загрузку временной нагрузкой только ригель по узлам 21-22-23-24-25. Моменты защемления: Моп
=
Рисунок 5.2. Схемы загружения временной нагрузкой Таблица 5.6. Изгибающие моменты от временной нагрузки по схеме А.
Таблица 5.7. Изгибающие моменты от временной нагрузки по схеме Б.
Построение эпюры Мпост. Пролет 21-22: Мх
=
где Qx
= Пролет 22-23: Qx
= Мх
=
Пролет 23-24: Qx
= Мх
=
Пролет 24-25: Qx
= Мх
=
Построение эпюры Мвр.1 при временной нагрузке по всему пролету производим путем умножения эпюры Мпост. на к, где к=V/g=10,3/38,1=0,27 Построение эпюры Мвр.2 : Пролет 22-23: Мх
=
Построение эпюры Мвр.3 : Пролет 21-22: Мх
=
Пролет 24-25: Мх
=
Рисунок 5.3. Эпюры моментов и равномерно распределенных нагрузок
Рисунок 5.4. Схема расположения монолитных плит перекрытия Распределение моментов производим согласно табл. III. 1 [ 1. стр. 46 ] Плита №1. Наибольший опорный момент: Моп
=-77,8-20,6=-98,4 кНм, Мх
= Принимаем конструктивно Му =Мх =-70,8 кНм Плита №2. Наибольший пролетный момент: Мпр
=75,4+26,0=101,4 кНм, Мх
= Му
= Плита №3. Наибольший опорный момент: Моп =-127,6-34,5=-162,1 кНм, Опорный момент в надколонной полосе: Мх
= Принимаем конструктивно Му =Мх =-116,0 кНм Плита №4. Наибольший пролетный момент: Мпр =57,0+18,0=75,0 кНм Пролетный момент в надколонной полосе: Мх
= Опорный момент в пролетной полосе: Му
= Плита №5. Наибольший опорный момент: Моп =-112,3-35,8=-148,1 кНм, Опорный момент в надколонной полосе: Мх
= Принимаем конструктивно Му =Мх =-106,6 кНм Расчет арматуры. Принимаем бетон класса В25: Rb =14,5 МПа, Rbt =1.05 МПа, Eb =30000 МПа. Рабочая арматура класса А-III d=10-40 мм с Rs =365 МПа, Rsc =365 МПа, Es =200000 МПа. Сечение расчетной полосы плиты: bxh=300x25 см, h0 =h-a=25-3=22 см Коэффициент условий работы для бетона γb 2 =0,9 Надколонная плита: Наибольший опорный момент в надколонной плите Мх =Му =-116,0 кНм По формуле (2.42 [ 2 ] ) граничная высота сжатой зоны: ξR
где ω=0,85-0,008Rb
γb
2
Находим: A0
По табл.3.1. [ 2] η=0,971; ξ=0,067, условие ξ<ξR – соблюдается т.к. 0,061<0,604 Необходимая площадь сечения арматуры: As Наибольший пролетный момент в надколонной полосе Мх =52,7 кНм A0
Необходимая площадь сечения арматуры: As Таким образом, плита армируется верхней сеткой из арматуры диаметром 12 А-III с шагом 150 мм и нижней сеткой из арматуры диаметром 10 А-III с шагом 150 мм. Межколонная плита: Опорный момент пролетной полосы М=-27,6 кНм A0
Необходимая площадь сечения арматуры: As Принимаем арматуру диаметром 10 А-III с шагом 150 мм в обоих направлениях. Наибольший пролетный момент в надколонной полосе Мх =52,7 кНм A0
Необходимая площадь сечения арматуры: As Плита армируется нижней сеткой из арматуры диаметром 10 А-III с шагом 150 мм в обоих направлениях. 5.5 Расчет нижней части колонны по осям В-4 Грузовая площадь колонны: А Постоянные нагрузки: -от собственного веса покрытия -от собственного веса 4-х перекрытий -от собственного веса 5-ти колонн Итого с учетом γn
=0,95 Временные полезные полные нагрузки: -на покрытии -на перекрытиях Итого с учетом γn
=0,95 Полная нагрузка N Длительная нагрузка Nдл Изгибающий момент в колонне: -от постоянной нагрузки Мп = +127,6-119,2=8,4 кНм -от временной полной нагрузки Мвр = -25,4+10,6=-14,8 кНм -от полной нагрузки Мп =-14,8+8,4=-6,4 кНм -от длительных нагрузок Мдл Сечение колонны bxh=40x40 см, h0 =h-a=40-4=36 см. Расчетная длина колонны l0 =0.7H=3,6 м. Бетон класса В25, арматура класса А-III. По формуле 18.1 [2]:
Эксцентриситет силы: e0
Случайный эксцентриситет: e0
Поскольку случайный эксцентриситет e0 =1,33 см больше эксцентриситета силы e0 =0.43 см, его и принимаем для расчета. При отношении Находим значения моментов в сечении относительно оси, проходящей через центр тяжести наименее (сжатой) растянутой арматуры. При длительной нагрузке: М1
l При полной нагрузке: М1
Находим коэффициент, учитывающий влияние длительного действия на погиб элемента в предельном состоянии по формуле 4.19 [2]: φl Значение δ Принимаем δ=0,265 Отношение модулей упругости α Задаемся коэффициентом армирования μ1 Вычисляем критическую силу по формуле 18.5 [2]: Ncr
Вычисляем коэффициент η по формуле 4.17 [2]: η Эксцентриситет e По формуле 18.1, 18.2, 18.3 [2]:
ξ αs где δ^ =a/h0 =4/36=0,11 Армирование конструктивное. Принимаем по 2 диаметром 22 А-III c каждой стороны, тогда μ1 5.6 Расчет стыка колонны с надколонной плитой Стык на поперечную силу Q рассчитывается по формуле: Q=∑Ra F0 sinα+Qб. При α=45є (угол наклона отгибов) и угле наклона пирамиды продавливания, также равном 45є, получим Qб =0,15Ru bср h0. В этих формулах F0 -сечение отгибов по каждой грани колонны; bср =bв +bн /2- средний периметр оснований пирамиды продавливания. Расчетная поперечная сила принимается по колонне по оси “14” нижнего этажа: Q= На каждую грань колонны Q=308,6/4=77,1 кН Проверяем условие формулы III.16 [1, стр. 49]: Q≤0,2Ru bср h0 ; h0 =22 см bср
= Требуемое сечение отгибов по каждой стороне колонны: F0
= отгибы ставятся конструктивно. Принимаем 4Ш12 А-I с каждой стороны колонны. 5.7 Расчет на воздействие сейсмической нагрузки Район строительства относится к восьмибалльному по сейсмическому воздействию. Фундаменты здания свайные, опирающийся на тугопластичные глины, поэтому по грунтам сейсмичность не изменяется. Расчетные нагрузки: постоянные -от покрытия gр1 = 9,098 кН/м2 »9, 10 кН/ м2 ; -от перекрытия gр2 = 8,902 кН/м2 » 8,90 кН/м2 . Расчетные полезные нагрузки: длительные -на покрытие gдл1 = 0 кН/м2 ; -на перекрытие gдл2 = 1,20 кН/м2 . Расчетные полезные нагрузки: кратковременные -на покрытие gкр1 =0,70кН/м2 ; на перекрытие gкр2 =1,20кН/м2 . Ярусные расчетные нагрузки складываются из веса конструкции перекрытия, веса колонн, веса ограждающих стен и полезных нагрузок. Так как сейсмическое воздействие относится к особым сочетаниям нагрузок, то применяются следующие коэффициенты сочетаний: -для постоянных нагрузок gс =0,9; -для временных длительных gс =0,8; -для кратковременных gс =0,8. При особых сочетаниях нагрузок ветровая нагрузка не учитывается. Расчетный вес колонн (38шт.):
Расчетный вес стен с оконными проемами с усредненным объемным весом r=15,0 кН/м2 , при толщине 0,3м и длине 85м:
При общей площади этажа здания:
Находим ярусные нагрузки по этажам: -от покрытия
Находим жесткости железобетонных диафрагм здания вдоль цифровых осей: -для Д-1 -для Д-2
Жесткость диафрагм при бетоне В25 (Ев=30000Мпа=3000000Н/см2 =300000кН/м2 ) В=0,85Ев Находим тон свободных колебаний по формуле:
где a1 =1,8; a2 =0,3; a3 =0,1, соответственно формулам колебаний.
Но
=3,6 n=5 – число этажей; L=3,6м – высота этажа. Тон свободных колебаний определяется по формуле:
т.к. Т1 > 0,4с, то необходимо определить тон для двух форм колебаний. Для 2-го тона: Т2 = 0,88с > 0,4с Для 3-го тона: Т3 = 0,29с < 0,4с Динамические коэффициенты:
β1 = 0,28 < 0,8 β1 = 0,8 принято β2 = 1,70 < 2,0 β2 = 1,92 β3 = 5,17 > 2,0 β3 = 2,0 Коэффициент формы колебаний:
Xi
(Xj
) = Sin (αi
- 1) тξj
Таблица 5.8.
Таблица 5.9. Коэффициенты форм колебаний
Рисунок 5.5. Формы свободных колебаний * Расчетная сейсмическая нагрузка Sik в выбранном направлении, приложенная к точке k и соответствующая i-му тону собственных колебаний зданий или сооружений (кроме гидротехнических сооружений), определяется по формуле Sik = K1 S0 ik , где К1 - коэффициент, учитывающий допускаемые повреждения зданий и сооружений, принимаемый по табл3; СниП II-7-81* =0.25 S0 ik - значение сейсмической нагрузки для i-го тона собственных колебаний здания или сооружения, определяемое в предположении упругого деформирования конструкций по формуле Soik = Qk Abi Kwnik , где Qk - вес здания или сооружения, отнесенный к точке k, определяемый с учетом расчетных нагрузок на конструкции согласно п. 2.1 СниП II-7-81* =0.9 А - коэффициент, значения которого следует принимать равными 0,1; 0.2; 0,4 соответственно для расчетной сейсмичности 7, 8, 9 баллов; bi - коэффициент динамичности, соответствующий i-му тону собственных колебаний зданий или сооружений, принимаемый согласно п. 2.6 СниП II-7-81*=0.8 Кw - коэффициент, принимаемый по табл. 6 или в соответствии с указаниями разд. 5 СниП II-7-81 =1 Soik =0.9· 0.2·0.8·1=0.144 Сейсмические силы: Σ S5 = 0,25·0.144·1,27·540 = ~ 25 кН Σ S4 = 0,25·0.144·1,21·685 = ~ 30 кН Σ S3 = 0,25·0.144·1,09·685 = ~ 25 кН Σ S2 = 0,25·0.144·0,75·685 = ~ 19 кН Σ S1 = 0,25·0.144·0,382·685 = ~ 10 кН Эти нагрузки распределяются пропорционально жесткостям диафрагм: - для Д-1 коэффициент распределения К1
= - для Д-2 соответственно К2
= Нагрузки: на Д-1, на Д-2 S5 = 7,9 кН S5 = 1,3 кН S4 = 9,5 кН S4 = 1,5 кН S3 = 7,9 кН S3 = 1,3 кН S2 = 6,0 кН S2 = 1,0 кН S1 = 3,2 кН S1 = 0,9 кН Изгибающие моменты в диафрагме Д-1 на уровне пола 5-го этажа рамы: М5 = 7,9·3,6 = 28,44 кН·м на уровне пола 4-го этажа рамы: М4 = 7,9·7,2+9,5·3,6 = 91,08 кН·м на уровне пола 3-го этажа рамы: М3 = 7,9·10,8+9,5·7,2+7,9·3,6 = 182,16 кН·м на уровне пола 2-го этажа рамы: М2 = 7,9·14,2+9,5·10,8+7,9·7,2+6,0·3,6 = 294,84 кН·м на уровне пола 1-го этажа рамы: М1 = 7,9·17,8+9,5·14,2+7,9·10,8+6,0·7,2+3,2·3,6 = 419,04 кН·м Диафрагма располагается на собственном свайном фундаменте, поэтому дополнительную вертикальную нагрузку от изгибающего момента воспринимают колонны, с которыми диафрагма связана монолитно, на уровне пола 1-го этажа: Nдоп
= ± Вертикальная нагрузка, приходящаяся на колонну по осям 4-В составляет: N = 1486 кН с грузовой площади 6,0х4,5 = 27,0 м2 . На колону по осям 4-Г с грузовой площадью А = 6х3 = 18 м2 с учетом сейсмической нагрузки, будет действовать нагрузка: N = Армирование колонн с диафрагмами принимаем аналогично армированию колонн рам без диафрагм. 7. ТЕХНОЛОГИЯ СТРОИТЕЛЬНОГО ПРОИЗВОДСТВА 7.1 Технология строительно-монтажных работ 7.1.1 Определение номенклатуры и объемов внутриплощадочных подготовительных и основных строительно-монтажных работ Подсчет объемов строительно-монтажных работ осуществляется в соответствии с правилами исчисления объемов работ технической части каждой главы СНиП IV-2-82. Исходными данными служат архитектурно-строительная часть и сметная документация. Таблица 7.1 Ведомость объемов работ
7.1.2 Калькуляция трудовых затрат и машиносмен на подготовительные и основные строительно-монтажные работы в целом по объекту Таблица 7.2. Калькуляция трудовых затрат
7.1.3 Выбор основных строительно-монтажных машин, оснастки и приспособлений по техническим параметрам Подбирая монтажный кран, учитываем: - из поднимаемых грузов наибольший вес имеет поворотный бункер с бетом (вместимость 1мі ) -3т; - стесненные условия стройплощадки (необходимость работы крана с одной стоянки, при максимальном требуемом вылете стрелы 27м). Принимаем башенный кран КБ-403 А со стрелой длиной 30м и грузоподъемностью 4,5т (при стреле длиной 30м).
Выбор остальных строительных машин сводим в таблицу 7.3. Таблица 7.3. Номенклатура машин для выполнения СМР
7.1.4 Краткое описание методов выполнения работ Земляные работы предусматривается проводить экскаватором Э-504, оборудованным прямой лопатой с ковшом вместимостью 0,5 мі...При выполнении работ по устройству монолитных несущих конструкций, здание делится на пять ярусо-захваток. Методы производства работ по устройству монолитного каркаса подробно описаны в технологической карте ( п.7.1.5.) Работы по устройству кровли выполнять в соответсвии со СНиП 3.04.02-87. Отделочные работы производят после окончания монтажных работ и устройства кровли. Штукатурные работы производятся с применением штукатурной станции «Салют-2», малярные работы – с применением малярной станции СО-115. Монтаж конструкций производят башенным краном КБ-403 А. Прочие работы производить с помощью средств малой механизации или нормокомплекта механизмов, приспособлений и инструментов. Работы по устройству свайного фундамента начинают с разбивки осей здания и свайных рядов, которая производится с помощью теодолита и мерной ленты. Выполняют работы четыре человека (геодезист, мастер и два рабочих). При этом площадь свайного поля должна быть разделена на участки (захватки) с размерами, не превышающими длины мерной ленты, чаще - 20 м. В первую очередь разбиваются главные оси здания, наносятся на обноску и закрепляются вне контура здания, контрольными точками. По обноскам натягиваются тонкие мягкие стальные проволоки. Точки их пересечения сносятся на грунт. В каждую из точек забивается стальной штырь диаметром 10…12 мм со шляпкой. Затем разбиваются другие оси и места их пересечения фиксируются. Техника разбивки свайного ряда такова: вдоль оси, по поверхности грунта и в пределах захватки, рабочие натягивают мерную ленту и мастер производит отсчет каждой сваи от одной (базовой) точки. До забивки свай по главным осям для контроля за точностью их погружения устанавливаются временные реперы на расстоянии 1…1,5 м друг от друга и по ходу забивки - по остальным осям. Временный репер- деревянный кол сечением 20х20 мм; но такой длины, чтобы он мог быть забит в грунт возможно надежнее и чтобы верх его был на проектной отметке погружаемой сваи. В непосредственной близости от возводимого здания для фиксации вертикальных отметок должен быть установлен репер, привязанный геодезическим прибором к знаку государственной нивелировки. Абсолютные отметки на репере наносятся несмываемой краской, а место репера надежно защищается от смещений или повреждений. Разметку места погружения сваи рекомендуется производить с помощью рамки - шаблона, ось которой надевается на разбивочный штырь; ориентированная по осям рамка вдавливается в грунт, отпечатывается на нем контур, выполняя роль кондуктора для погружаемой сваи. Лучшим способом подачи сваи под копер является сваеустановщик, подающий сваю не только к месту погружения, но и под самый молот, причем в определенном положении. К акту приемки свайных работ рекомендуется прилагать исполнительный план свайного поля с указанием у каждой сваи с номером № четырех величин: l - отказ сваи, Ð - отметка ее нижнего конца, n - количество ударов молотка, ±α - отклонение сваи в плане. Отметки нижних концов свай наносят на геологический профиль, совмещенный с продольным или поперечным разрезом. В начале забивки необходимо внимательно наблюдать за правильностью погружения сваи в плане и по вертикали или по заданному углу наклона (при забивке наклонных свай). Забивка производится с помощью подвески молотов, когда острие сваи погружено приблизительно до проектной отметки или получен проектный отказ; забивку свай производят циклами - по 10 ударов в каждом. При забивке свай дизель молотом считать удары (из-за большой частоты) практически невозможно. В этих случаях за отказ принимают величину погружения сваи за 1 мин. Отказы измеряют с погрешностью не более 1 мм. Сваи, не давшие контрольного отказа после перерыва в 3…4 дня подвергаются контрольной добивке. Работы по устройству ростверков производятся тотчас по приемке свайных работ. Поскольку ростверк является частью свайного фундамента, работы по ростверкам входят в график устройства свайных фундаментов. По железобетонным сваям забивным ростверк выполняется из бетона и железобетона. Глубина заложения подошвы ростверка назначается от конструктивных требований и решений нулевого цикла, а также проекта планировки (наличие подвала, техническое подполье и пр.). Технические средства производства свайных работ. Разгрузка и складирование свай производится автокраном КС-2561Е грузоподъемностью 6,3т, смонтированном на шасси автомобиля ЗИЛ-130, оснащенном стрелой длиной 8 м и сменным рабочим оборудованием. Техническая характеристика крана в таблице. Техническая характеристика крана КС-2561Е. Таблица 7.4. Техническая характеристика крана КС-2561Е
Техническая характеристика навесного оборудования С-860 на базе экскаватора. Таблица 7.5. Техническая характеристика навесного оборудования
Для перевозки свай на строительную площадку выбираем автомобиль с бортовой платформой. Данные автомобиля приведены в таблице. Техническая характеристика автомобиля МАЗ-5166. Таблица 7.6. Техническая характеристика автомобиля МАЗ-5166
При выполнении строительно-монтажных работ необходимо выполнять требования соответствующих СНиП, правил производства работ, а также СНиП 12-04-2002 «Безопасность труда в строительстве», и ППЗ-05-85 «Правила пожарной безопасности при производстве строительно-монтажных работ». 7.1.5 Описание разработанной технологической карты на один из видов строительно-монтажных работ с анализом ее технико-экономических показателей ТЕХНОЛОГИЧЕСКАЯ КАРТА На комплексный процесс строительно-монтажных работ на 4-ом ярусе проектируемого здания. В состав комплексного процесса входят работы: - устройство монолитных колонн и внутренних стен; - устройство монолитного перекрытия на отм. +7.200. Область применения технологической карты Данная технологическая карта устройство монолитного железобетонного каркаса. В состав работ, рассматриваемых в карте, входят: опалубочные работы; арматурные работы; бетонирование колонн, внутренних стен и перекрытия; такелажные работы. Организация и технология выполнения работ До начала работ по устройству монолитного каркаса должны выполнены следующие работы: геодезическая разбивка осей и отметок; нивелировка поверхности перекрытий; произведена разметка положения стен и колонн в соответствии с проектом; доставлены на площадку и подготовлены к работе необходимые приспособления, инвентарь и материалы. Опалубочные работы При бетонировании колонн, стен и перекрытий "Центра реабилитации” использовалась опалубка немецкой фирмы "PERI". Монтаж этой опалубочной системы основан на использовании быстроразъемных замковых соединений, практически сводящей к минимуму использование соединений болтовых. К наиболее прогрессивным решениям опалубки "PERI" следует отнести конструкцию замкового соединения. Клиноэксцентриновый замок позволяет одним движением планки зацепить зажимные колодки, обеспечивающие плотное герметичное соединение рам соединяемых щитов. Процесс распалубки существенно облегчается из-за очень быстрого демонтажа замковых соединений, не требующих значительных усилий. Локальное размещение замковых соединений позволяет производить вручную демонтаж отдельными мелкими щитами без нарушения устойчивости общей системы опалубки. За состоянием установленной опалубки должно вестись непрерывное наблюдение в процессе бетонирования. В случае непредвиденных деформаций отдельных элементов опалубки или недопустимого раскрытия щелей следует устанавливать дополнительные крепления и исправлять деформированные места. Демонтаж опалубки разрешается проводить только после достижения бетоном требуемой прочности и с разрешения производителя работ. Отрыв опалубки от бетона должен производиться с помощью домкратов. После снятия опалубки необходимо: произвести визуальный осмотр элементов опалубки; очистить от налипшего бетона все элементы опалубки; произвести смазку поверхности палуб, проверить и нанести смазку на винтовые соединения; произвести сортировку элементов опалубки по маркам. Арматурные работы До монтажа арматуры необходимо: тщательно проверить соответствие опалубки проектным размерам и качество ее выполнения; составить акт приемки опалубки; подготовить к работе такелажную оснастку и инструменты; очистить арматуру от ржавчины; проемы в перекрытиях закрыть деревянными щитами или поставить временное ограждение. Арматурные стержни транспортируют в пачках, а закладные детали в ящиках. Поступившие на строительную площадку арматурные стержни укладывают на стеллажах в закрытых складах, рассортированными по маркам, диаметрам и длинам. Стержни подаются к месту монтажа пучками. Сетки нижнего и верхнего армирования вяжутся из стержней на монтажном горизонте. Для образования защитного слоя между арматурой и опалубкой устанавливают фиксаторы с шагом 0,8-1 м. Приемка смонтированной арматуры осуществляется до укладки бетонной смеси и оформляется актом на скрытые работы. Бетонирование До начала укладки бетонной смеси должны быть выполнены следующие работы: проверена правильность установки арматуры и опалубки; приняты по акту все конструкции и их элементы, доступ к которым после бетонирования невозможен; очищены от мусора, грязи и ржавчины опалубка и арматура; проверена работа всех механизмов, исправность приспособлений, оснастки и инструментов. Доставка на объект бетонной смеси предусматривается автобетоносместителями СБ-92В-2. Подача бетонной смеси к месту укладки бетона предусмотрена в двух вариантах: 1) башенным краном КБ-403А в поворотных бункерах вместимостью 1,0 м3 с боковой выгрузкой с секторным затвором; 2) при помощи автобетононасоса ВН-80-20ПС с дальностью подачи бетонной смеси по горизонтали до 200 м, по вертикали 80 м. В состав работ по бетонированию входят: прием и подача бетонной смеси; укладка и уплотнение бетонной смеси; уход за бетоном. Для загрузки бетонной смесью поворотные бункеры не требуют перегрузочных эстакад, а подаются к месту загрузки бетонной смесью башенным краном, который устанавливает бункеры в горизонтальном положении. Автобетоносмеситель задним ходом подъезжает к бункеру и разгружается. Затем башенный кран поднимает бункер и в вертикальном положении подает его к месту выгрузки. В зоне действия башенного крана размещают несколько бункеров вплотную один к другому с расчетом, чтобы суммарная вместимость их равнялась вместимости автобетоносмесителя. Колонны бетонируют непрерывно на всю высоту. Бетонную смесь осторожно загружают сверху и уплотняют ее внутренними вибраторами, опускаемыми в опалубку на веревках. Стены бетонируют участками, заключенными между дверными проходами. Бетонную смесь укладывают слоями 30-40 см. Каждый слой тщательно уплотняется глубинными вибраторами. Глубина погружения рабочей части вибратора при уплотнении вновь вновь уложенной бетонной смеси в ранее уложенный слой- 5-10 см.Шаг перестановки вибратора не должен превышать 1,5 радиуса его действия. Извлекать вибратор при перестановке следует медленно, не выключая двигателя, чтобы пустота под наконечником равномерно заполнялась бетонной смесью. Перерыв между этапами бетонирования дожжен быть не менее 40 минут, но не более двух часов. Бетонная смесь в перекрытии уплотняется виброрейкой СО-47. При выдерживании бетона в начальный период твердения необходимо поддерживать благоприятный температурно-влажностный режим и предохранять его от механических повреждений. Хождение людей по забетонированным поверхностям, а также установка на них опалубки разрешается не раньше того времени, когда бетон наберет прочность не менее 15 кгс/см2 . Контроль за качеством бетонной смеси производит строительная лаборатория. Контроль за качеством вибрирования ведется визуально, по степени осадки смеси, прекращению выхода из нее пузырьков воздуха и появлению цементного молока на поверхности уложенного бетона. Работы по монтажу и демонтажу опалубки выполняются звеном из четырех человек: Плотники 4 разр. -1; 2 разр. -2; такелажники 2 разр. -2. Работы по установке арматуры выполняются звеном из пяти человек: Арматурщики 4 разр. -1; 2 разр. -2. Работы по укладке бетонной смеси выполняются звеном из пяти человек: при подаче башенным краном Машинист бетононасоса 4 разр. -1; бетонщики 2разр. -2; такелажники 2 разр. -2 при подаче автобетононасосом Машинист бетононасоса 4 разр. -1; бетонщики 4разр. -1; 2 разр. -2. При бетонировании с помощью автобетононасоса бетонная смесь подается непрерывно. Из приемного бункера автобетононасоса смесь засасывается в подающий цилиндр, а затем нагнетается в бетоновод E 125 мм. Распределительная стрела насоса позволяет подавать бетонную смесь в любую точку в радиусе 22,5 м и на высоту до 22 м. С применением магистрального бетоновода дальность подачи смеси увеличивается по горизонтали до 200 м, а по вертикали до 80 м. 1. Установка автобетононасоса. Исполнители: - машинист установки 4р, - слесарь-строитель 4р /С1/. До начала работ необходимо устроить временные автодороги, подъездные пути и пр.; спланировать площадку для установки автобетононасоса; обеспечить подачу воды и электроэнергии. Проводимые операции при установке. 1.По команде слесаря машинист устанавливает автобетононасос, как можно ближе к конструкции. Затем машинист производит переключение работы двигателя базовой машины на силовые агрегаты автобетононасоса. 2. Слесарь освобождает передние и задние опоры, а машинист при помощи автоматического пульта устанавливает их в рабочее положение. При необходимости под пяту опор ставят деревянные прокладки. 3. Находясь у пульта машинист производит поочередное развертывание подъемных частей распределительной стрелы. 2. Монтаж бетоновода и подсоединение его к автобетононасосу. Исполнители: - слесарь строительный /С1/ -4 р, - слесари строительные 2р /С2,С3/. До начала работ необходимо разработать ППР с указанием порядка и последовательности сборки бетонавода: произвести разворот и установку распределительной стрелы автобетононасоса к бетонируемым конструкциям: установить и закрепить арматуру и опалубку: смонтировать надежную звуковую или видеосвязь. Операции по монтажу бетоновода указаны в графической части проекта. 3. Прием и подача бетонной смеси автобетононасосом. Исполнители: - машинист бетонной установки 4р; - слесарь строительный 4р. Операции по приему и подачи бетонной смеси также указаны в графической части проекта. 4. Прием и укладка бетонной смеси в конструкцию. Исполнители: - бетонщики 4р /Б1, Б4/; - бетонщики 3р /Б2, Б5/; - бетонщики 2р /Б3, Б6/. Операции: 1. Прием и укладка бетонной смеси. Продолжительность - 72 мин. Затраты труда - 72 чел.-мин. Б1 и Б4 равномерно распределяют поступающую смесь по объему, перемещая рукав. 2. Уплотнение бетонной смеси. Продолжительность - 72 мин. Затраты труда - 144 чел.-мин. Б2 и Б3 (Б5 и Б6) уплотняют бетонную смесь глубинными вибраторами. Уплотнение прекращают после появления на поверхности цементного молока. 3. Выравнивание открытой поверхности. Продолжительность - 12 мин. Затраты труда - 36 чел.-мин. Открытую поверхность Б1 и Б6 выравнивают с помощью рейки. 4. Переноска распределительного рукава. Продолжительность - 4 мин. Затраты труда - 12 чел.-мин. После того, как машинист прекратит подачу бетонной смеси, бетонщики с помощью приспособлений переносят рукав к следующей захватке. 5. Разборка бетоновода. Исполнители: - слесарь /С1/ - 4р; - слесарь /С2 и С3/ - 3р, 2р. Описание операций. 1.С1 открывает замок соединения на стыке рукава и последнего звена бетоновода, снимает его и резиновую прокладку и дает команду С1 и С3 переместить рукав к месту присоединения к оставшейся части бетоновода. С2 и С3 с помощью приспособления переносят рукав к месту установки. 2. С1 открывает замок соединения на последнем стыке, С2 и С3 раскрепляют крепечные обоймы опор под демонтируемым участкам. Далее С1…С3 снимают демонтируемую часть бетоновода с опор. 3. С2 и С3 подносят рукав к оставшейся части бетоновода. Место стыка распределительного рукава и звена бетоновода С1 закрывает резиновым кольцом и закрепляет быстроразъемным соединением. С2 и С3 направляют рукав в бетонируемую конструкцию. 4 С1…С3 разъединяют отсоединенный участок бетоновода на отдельные звенья, распределяя место стыка и укладывают элементы креплений труб в ящик. 5. Отсоединенные звенья С1, С2 и С3 очищают от остатков бетона с помощью напора воды. 6. Очищенные звенья С1, С2, С3 переносят к месту их складирования и укладывают на прокладки. 7. Освободившиеся стойки-опоры из-под отсоединенных частей бетоновода С1, С2 и С3 складывают и переносят к месту их складирования. Очистка бетоноводной части автобетононасоса производится при окончании бетонирования сооружения; окончания рабочей смены; перерыва более 45 минут и в других необходимых случаях. Затем автобетононасос свертывают. Таблица 7.7. Перечень машин, оборудования, технологической оснастки и инструмента
Требования к качеству и приемке работ Таблица 6.5 Требования к качеству поставляемых материалов и изделий, пооперационный контроль качества и технологические процессы, подлежащие контролю
Техника безопасности и охрана труда, экологическая и пожарная безопасность При производстве строительно-монтажных работ должны соблюдаться требования СНиП 12-04-2002 “Безопасность труда в строительстве ”, “ Правила пожарной безопасности при производстве строительно-монтажных работ”, “ Правила устройства и безопасной эксплуатации грузоподъемных кранов”. Необходимо пользоваться инструкциями по эксплуатации применяемых машин и оборудования. Безопасность производства работ должна быть обеспечена: - выбором соответствующей рациональной технологической оснастки; - подготовкой и организацией рабочих мест производства работ; - применением средств защиты работающих; - проведением медицинского осмотра лиц, допущенных к работе; - своевременным обучением и проверкой знаний рабочего персонала и ИТР по технике безопасности при производстве строительно-монтажных работ; Особое внимание необходимо обращать на следующее: - способы строповки элементов конструкций должны обеспечивать их подачу к месту установки в положении, близком проектному; - элементы монтируемых конструкций во время перемещения должны удерживаться от раскачивания и вращения гибкими оттяжками; - не допускать нахождения людей под монтируемыми элементами до установки их в проектное положение и закрепления; - при перемещении краном грузов расстояние между наружными габаритами проносимых грузов и выступающими частями конструкций и препятствий по ходу перемещения должно быть по горизонтали не менее 1м, по вертикали не менее 0,5м; - монтаж и демонтаж опалубки может быть начат с разрешения технического руководителя строительства и должен производится под непосредственным наблюдением специально назначенного лица технического персонала; - перемещение загруженного или порожнего бункера допускается только при закрытом затворе; - не допускается нахождение рабочего в зоне возможного падения бункера; - к управлению автобетононасосами допускаются только лица, имеющие удостоверение на право работы на данном типе машин. При работе на высоте более 1,5 м все рабочие обязаны пользоваться предохранительными поясами и карабинами. Разборка опалубки допускается после набора бетоном распалубочной прочности и с разрешения производителя работ. Отрыв опалубки от бетона производится с помощью домкратов. Погрузочно-разгрузочные работы, складирование и монтаж арматуры должны выполняться инвентарными грузозахватными устройствами и с соблюдением мер, исключающих возможность выпадения грузов. Очистку лотка автобетоносместителя и загрузочного отверстия от остатков бетонной смеси производят только при неподвижном барабане. Запрещается: - работа автобетононасоса без выносных опор; - начинать работу автобетононасоса без предварительной заливки в промывочный резервуар бетонотранспортных цилиндров воды, а в бетоновод – “ пусковой смазки”. Технико-экономические показатели Нормативные затраты труда рабочих, чел.-ч 937,1 Нормативные затраты машинного времени, маш.-ч 22,4 Продолжительность выполнения работ, дней 17 Выработка на одного рабочего в смену, м3 1,48 8. ОРГАНИЗАЦИЯ, ПЛАНИРОВАНИЕ И УПРАВЛЕНИЕ В СТРОИТЕЛЬСТВЕ 8.1 Расчет и построение сетевого графика 8.1.1 Карточка-определитель, разработанная с использованием калькуляции трудовых затрат Таблица 8.1. Исходные данные для составления сетевого графика.
8.1.2 Сетевой график и его оптимизация Сетевая модель строительства представлена на листе 10 графической части проекта. Расчет сетевого графика проведен графическим методом, выявлен критический путь. Ткр = 338 дней. Так как продолжительность строительства по критическому пути не превышает нормативный срок строительства ( Тн = 349 дней ), то оптимизация сетевого графика по времени не требуется. Под сетевым графиком построены линейная диаграмма и график движения рабочей силы. Критерием удовлетворительности организации работ является условие Кр >0,6 ( Кр - коэффициент неравномерности движения рабочей силы). Кр = Nср(сут) / Nмакс(сут) (7.1),где Nср(сут) = ΣQчел.-см / Ткр(сут) , где Nср(сут) – среднесуточный состав рабочих, Nмакс(сут) – максимальное число рабочих, взятое из графика движения рабочей силы, ΣQ – общая трудоемкость в человеко-сменах. До оптимизации Кр = 28,8 / 49 = 0,58 - необходимо оптимизировать график. Оптимизацию сетевого графика производим путем перемещения во времени работ, не лежащих на критическом пути (за счет частных резервов времени). Оптимизация графика показана в графической части проекта (лист 10). После оптимизации Кр = 28,8 / 45 = 0,64 8.2 Строительный генеральный план 8.2.1 Расчет потребности во временных зданиях и сооружениях По графику движения рабочих после оптимизации максимальное количество рабочих –45 человек. Таким образом, численность работающих при соотношении категорий работающих (%) для жилищно-гражданского строительства - рабочие-85%, ИТР-8%, служащих-5%, МОП и охрана-2% составит: Общее число работающих в наиболее загруженную смену- Nобщ = 45+4+3+1 = 53 чел. Число женщин – 30% - 16 Число мужчин – 70% - 37 Определение площадей временных зданий и сооружений производим на основании нормативных данных. Номенклатуру зданий и сооружений принимаем в соответствии с рекомендациями приложения 6 (5). Состав временных зданий и сооружений устанавливаем на момент максимального разворота работ на стройплощадке по рассчитанному в п. 8.2.1 количеству персонала. Расчет сводим в табл. 8.2. Таблица 8.2. Расчет потребности во временных зданиях и сооружениях.
8.2.2 Расчет потребности в складских помещениях и площадях Расчет складских помещений и складских площадей для внесения в стройгенплан производится на основании выборки материалов, полуфабрикатов, изделий и конструкций и сетевого графика. Результаты расчетов заносятся в таблицу 8.3. В таблице используются следующие обозначения: Q – количество материала; α = 1,1 – коэффициент неравномерности поступления материалов; t – норма запаса материала в днях; T – продолжительность потребления материала (из сетевого графика); k = 1,3 – коэффициент неравномерности потребления материалов; β – коэффициент использования складских помещений; H – норма материала, укладываемого на 1 мІ. Общая площадь складских помещений вычисляется по формуле: S = ( Qαtk)/TβH
Площади складских помещений для внесения в стройгенплан принимаем с учетом повторного использования площадей и хранения материалов и деталей у мест монтажа и в строящемся объекте. Итого принимаем: Закрытых складов 50 мІ; Открытых складов 250мІ; Навесов 50 мІ. 8.2.3 Расчет потребности в воде для нужд хозяйственно-бытовых, технологических и пожаротушения Потребный расход воды, л/с, определяется как сумма потребных расходов на технологические, хозяйственно-бытовые нужды: Q = Qпр + Qхоз Расход воды на производственные нужды определяется по формуле: Qпр = где Кну = 1,2 - коэффициент неучтенного расхода воды;
Кч = 1,5 - коэффициент часовой неравномерности потребления воды; t = 8 - число учитываемых расчетом часов в смену.
Расход воды для обеспечения хозяйственно-бытовых нужд, л/с, определяется по формуле: Qхоз = где qх = 25 л/с -удельный расход воды на человека в смену; Кч = 2,5 - коэффициент часовой неравномерности потребления воды; nр = 53 - число работающих в наиболее загруженную смену; nд = 45 - число пользующихся душем; t = 8 - число учитываемых расчетом часов в смену; t1 = 45 - продолжительность использования душевой установки. qд = 30 л/с - расход воды на прием душа одного работающего. Потребность в воде на технологические нужды в наиболее напряженный период производства СМР ( июль месяц ).
Тогда Итого Q = 0,379 + 0,615 = 0,994 л/с. Диаметр водопроводных труб определяется по формуле: D = где v = 0.8 - скорость движения воды в трубах.
Принимаем водогазопроводные трубы по ГОСТ 3262-75 наружным диаметром 48,0 мм, при условном проходе 40 мм. С учетом расхода воды на пожаротушение: Qоб = Qпр + Qхоз + Qпож Qоб = 0,994+15 = 15,994 л/с, где Qпож = 15 л/с -расход воды на пожаротушение
тогда Принимаем водогазопроводные трубы по ГОСТ 3262-75 наружным диаметром 159 мм, при условном проходе 150 мм. 8.2.4 Расчет потребности в электроэнергии и выбор трансформаторов Расчетный показатель требуемой мощности, кВт, определяется по формуле: Pтр = где К1...К4 - коэффициенты одновременности работы, соответственно, К1 = 0,5 -для электромоторов, К2 = 0,4 - для технологических потребителей, К3 = 0,8 - для наружного освещения, К4 = 1,0 - для внутреннего освещения;
Тогда требуемая мощность:
Для этой мощности подбираем трансформаторную подстанцию закрытой конструкции КТП СКБ Мосстроя мощностью 180 кВА. 8.2.5 Расчет в потребности в сжатом воздухе и выбор компрессора Мощность потребной компрессорной установки, м3/мин, определяется по формуле: Q = где K = 0.8 - коэффициент одновременности работы установок;
Тогда мощность потребной компрессорной установки: Q = 1,3 х 0,8 х 5,94 = 6,18 мі/мин Принимаем для полученной мощности компрессор передвижной С-39А с производительностью 15 м3/мин. 8.2.6 Расчет потребности в тепле и выбор источников временного теплоснабжения Общую потребность в тепле Qобщ (кДж) определяют суммированием расчетного расхода по отдельным потребителям с введением повышающих коэффициентов: R1 на неучтенные расходы тепла, равный 1,1…1,2, и R2 на потери в сети ( ориентировочно принимают R2-1,1-1,5): Qобщ = ( Qот + Qтехн + Qсуш ) х R1 R2, где Qот – количество тепла на отопление зданий и тепляков; Qтехн –то же, на технологические нужды; Qсуш – то же, на сушку зданий. Расход тепла на отопление зданий Qот (кДж) подсчитывают по формуле: Qот = (αqo (tвн – tн )) х Vзд Где α – коэффициент, зависящий от расчетных температур наружного воздуха ( при tн > -10єC α = 1,2; при tн > -20єC α = 1,1; при tн > -30єC α = 1; при tн > -40єC α = 0.9 q– удельная отопительная характеристика здания, кДж/мічєC ) tн – расчетная наружная температура, єC (средняя температура наиболее холодной пятидневки данного района строительства, принимаемая согласно СНиП 2.01.01-82 tвн – расчетная температура внутри, єC; Vзд –объем здания по наружному обмеру, мі.
Qcуш =0,4 гДж/ч Qобщ = (0,12+0,64+0,4) • 1,2 • 1,5 = 2,088 гДж/ч Принимаем автоматическую водонагревательную котельную треста “Промэнергогаз” в контейнере теплопроизводительностью 2,1 гДж/ч. 8.2.7 Краткое описание разработанного стройгенплана с анализом его технико-экономических показателей На стройгенплане показаны: - границы стройплощадки; - расположение строящегося здания и временных зданий и сооружений; - временных инженерных коммуникаций; - постоянных и временных дорог; - места складирования материалов и конструкций. Таблица 8.7. Технико-экономические показатели стройгенплана.
10. СТАНДАРТИЗАЦИЯ И КОНТРОЛЬ КАЧЕСТВА 10.1 Стандартизация Многие типовые индустриальные конструкции и детали заводского изготовления, прошедшие экспериментальную проверку и получившие широкое применение (оконные переплеты, двери, подоконные доски, лестничные ступени и пр.), утверждены в качестве обязательных стандартов для изготовления на предприятиях строительной промышленности и применения при проектировании. Описание каждого стандартного изделия приводится в Государственном общесоюзном стандарте, получившем название ГОСТа.. В соответствии с основными положениями по установлению объектов стандартизации в строительстве предусматривается разработка целого ряда комплексов организационно-методических стандартов. Некоторые из этих комплексов будут частями единых организационно-методических систем (например, система показателей качества, система безопасности труда), а другие - самостоятельными системами. 10.2 Контроль качества Высокое качество строительства - основное условие обеспечения надежности и долговечности строящихся сооружений, социальной и экономической эффективности капитальных вложений. Качество строительства зависит от: - качества архитектурно-художественного уровня проектных решений; - качества строительных материалов, конструкций, изделий, оборудования; - квалификации рабочих и инженерно-технического персонала; - уровня технической дисциплины; - неукоснительного соблюдения требований проекта, ГОСТов, СпиП, технических условий, проектов организации строительства (ПОС) и проектов производства работ (ППР). Качество производства строительно-монтажных работ регламентирует СниП, часть 3, который устанавливает требования к качеству работ, состав и порядок контроля качества, допускаемые отклонения (допуски) геометрических размеров, правила оформления скрытых работ и другие требования, направленные на обеспечение высокого качества строительной продукции. Контроль качества строительно-монтажных работ на производстве включает в свой состав входной контроль рабочей документации, конструкций, материалов, изделий и оборудования; пооперационный контроль отдельных строительных процессов, а также приемочный контроль выполненных работ. Выполнение правил производства работ отдельных видов, их качество контролирует бригадир, мастер, прораб-линейный персонал стройки. Ответственность за качество строительно-монтажных работ несет технический персонал строек. Внешний контроль за качеством строительства осуществляется техническим надзором заказчика и авторским надзором проектных организаций. Особое место занимает авторский надзор, который обязан обеспечить контроль за неукоснительным исполнением требований проекта, ГОСТов, ТУ и СниП. Авторы проекта или группы авторского надзора, на которые проектными организациями возложены обязанности надзора, систематически посещают стройки, ведут журналы авторского надзора, следят за исполнением своих предписаний. В соответствии с положением авторский надзор имеет право запрещать применение конструкций, материалов и изделий, не соответствующих требованиям ГОСТов и ТУ, требовать приостановление работ отдельных видов, осуществляемых с нарушением проекта и СниП, вносить в соответствующие органы представления о привлечении к ответственности должностных лиц, допустивших некачественное исполнение работ. Как правило, автор проекта должен быть председателем рабочей комиссии по приемке законченных зданий. Проектные организации и лица, осуществляющие авторский надзор, несут ответственность за качественное исполнение проекта и выполнение обязанностей, предусмотренных Положением об авторском надзоре проектных организаций за строительством предприятий, зданий и сооружений (СниП 1.06.05-85). Контроль качества проводят: - визуально; - измерением линейных размеров и оценкой качества отделки поверхностей; - натурными испытаниями; - с применением технических средств - разрушающим или механическим методом (испытание контрольных образцов), или неразрушающим методом (с применением ультразвуковой или радиационной аппаратуры, тепломеров). Соответствие необходимым требованиям работ, которые скрываются последующими работами, фиксируют специальными актами на скрытые работы, составляемыми линейным персоналом с участием представителей авторского и технического надзора. На каждом строительном объекте надлежит вести журналы работ (общий и по отдельным видам работ) и журнал авторского надзора, составлять акты промежуточной приемки ответственных конструкций, осуществлять испытания и опробование оборудования, систем, сетей и устройств. Государственный надзор за качеством строительства осуществляют органы государственной инспекции надзора за строительством (ГАСН). Эти органы проводят систематические проверки состояния качества строительства при приемке в эксплуатацию законченных объектов. Качество отдельных видов и всего объекта в целом определяет рабочая комиссия с участием представителя авторского надзора. При нарушении требований проекта, СниП и технических условий на производство работ объект не принимают. Решение утверждает Государственная комиссия. 11. БЕЗОПАСНОСТЬ ЖИЗНЕДЕЯТЕЛЬНОСТИ НА ПРИЗВОДСТВЕ 1.1 Обеспечение безопасных условий труда при производстве земляных работ До начала производства земляных работ в местах расположения действующих подземных коммуникаций должны быть разработаны и согласованы с организациями, эксплуатирующими эти коммуникации, мероприятия по безопасным условиям труда, а расположение подземных коммуникаций на местности обозначено соответствующими знаками или надписями. Производство земляных работ в зоне действующих подземных коммуникаций следует осуществлять под непосредственным руководством прораба или мастера, а в охранной зоне кабелей, находящихся под напряжением, или действующего газопровода, кроме того, под наблюдением работников электро- или газового хозяйства. Котлованы и траншеи, разрабатываемые на улицах, проездах, во дворах населенных пунктов, а также местах, где происходит движение людей или транспорта, должны быть ограждены защитным ограждением с учетом требований ГОСТ 23407-78. На ограждении необходимо устанавливать предупредительные надписи и знаки, а в ночное время - сигнальное освещение. Места прохода людей через траншеи должны быть оборудованы переходными мостиками, освещаемыми в ночное время. Грунт, извлеченный из котлована или траншеи, следует размещать на расстоянии не менее 0,5 м от бровки выемки. Разрабатывать грунт в котлованах и траншеях "подкопом" не допускается. Валуны и камни, а также отслоения грунта, обнаруженные на откосах, должны быть удалены. Рытье котлованов и траншей с вертикальными стенками без креплений в нескальных и незамерзших грунтах выше уровня грунтовых вод и при отсутствии вблизи подземных сооружений допускается на глубину не более, 1,5 м в суглинках. Рытье котлованов и траншей с откосами без креплений в нескальных грунтах выше уровня грунтовых вод (с учетом капиллярного поднятия) или в грунтах, осушенных с помощью искусственного водопонижения, допускается при крутизне откосов 1:0,25 (в суглинках при глубине котлована до 3м). При невозможности применения инвентарных креплений стенок котлованов или траншей следует применять крепления, изготовленные по индивидуальным проектам, утвержденным в установленном порядке. При установке креплений верхняя часть их должна выступать над бровкой выемки не менее чем на 15 см. Устанавливать крепления необходимо в направлении сверху вниз по мере разработки выемки на глубину не более 0,5 м. Разборку креплений следует производить в направлении снизу вверх по мере обратной засыпки выемки. Производство работ в котлованах и траншеях с откосами, подвергшимися увлажнению, разрешается только после тщательного осмотра производителем работ (мастером) состояния грунта откосов и обрушения неустойчивого грунта в местах, где обнаружены "козырьки" или трещины (отслоения). Перед допуском рабочих в котлованы или траншеи глубиной более 1,3 м должна быть проверена устойчивость откосов или крепления стен. В случаях необходимости выполнения работ, связанных с электропрогревом грунта, должны соблюдаться требования ГОСТ 12.1.013-78. Погрузка грунта на автосамосвалы должна производиться со стороны заднего или бокового борта. Односторонняя засыпка пазух у свежевыложенных подпорных стен и фундаментов допускается после осуществления мероприятий, обеспечивающих устойчивость конструкции, при принятых условиях, способах и порядке засыпки. 12. Противопожарные мероприятия Противопожарные мероприятия выполнеы в соответствии со СНиП 2.01.02-85* “Противопожарные нормы” и СНиП 2.08.027-89 “Общественные здания.” Здание Лечебного корпуса имеет две лестничные клетки. находящиеся в разных концах коридора. Помещения всех Этажей имеют по два рассредоточенных выхода. Лестницы отделены от других помещений и коридоров перегородками и дверями с уплотнением и самозакрыванием. Сауна отделена противопожарной перегородкой I типа и имеет отдельный выход. Технические помещения имеют противопожарные двери. Ширина наружных дверей не менее ширины лестничного марша. Галерея отделена противопожарными дверями. Выходы первого этажа сосредоточены по периметру, то есть исключены тупиковые коридоры. На перепадах кровли имеются пожарные лестницы. Одна из лестниц имеет выход на кровлю. На путях эвакуации нет отделки из горючих материалов. В проекте предусмотрена система пожарной сигнализации. Автоматическое извещение о пожаре в защищаемых помещениях осуществляется тепловыми датчиками типа ДТЛ с легкоплавким замком, реагирующим на повышение температуры свыше 72єС. При срабатывании датчика предусмотрена подача звукового сигнала. 13. ОХРАНА ОКРУЖАЮЩЕЙ СРЕДЫ Охрана окружающей среды в настоящее время является одной из самых насущных задач человечества. На стадии разработки генерального плана было предусмотрено: · отдаление здания от промышленной зоны; · формирование системы зеленых насаждений, способствующих шумозащите; · вырубка деревьев и кустарников на территории объекта строительства, предусмотрена только в границах, установленных проектной документацией. Образующийся на строительной площадке производственные и бытовые сточные воды отводятся согласно проектным решениям. При производстве строительно-монтажных работ соблюдаются требования по предотвращению запыленности и загазованности воздуха. Неиспользуемые отходы строительного производства, в том числе в том числе от разработки существующих зданий и строительный мусор, складируются и вывозятся в места, отводимые на непригодных для землепользования территории. СПИСОК ИСПОЛЬЗОВАННОЙ ЛИТЕРАТУРЫ Книги 1 - 3 авторов 1. Дорфман А.Э., Левонтин Л.Н. Проектирование безбалочных безкапительных перекрытий. М., Стройиздат, 1975, 124с. 2. Байков В.Н., Сигалов Э.Е. Железобетонные конструкции. Общий курс. – М.: Стройиздат, 1985. -783 с.:ил. 3. И.П. Бракенгейм, В.Е. Моторный. Проектирование и производство работ по устройству свайных фундаментов. Учебное пособие. Краснодар: КПИ, 118с. 4. Евдокимов Н.И., Мцкевич А.Ф., Сытник В.С. Технология монолитного бетона и железобетона: Учеб. пособие для строительных вузов.-М.: Высш. школа, 1980.-335с. Книги более чем трех авторов 5. Технология строительных процессов: Учеб./ А.А. Афанасьев, Н.Н. Данилов, В.Д. Копылов и др.; под ред. Н.Н. Данилова, О.М. Терентьева. – 2-е изд., перераб. – М.: Высш. шк., 2000. – 464 с.: ил. 6. Технология возведения зданий и сооружений: Учеб. для вузов / Теличенко В.И., Лапидус А.А. Терентьев О.М. и др.: - М.: Высш. шк.; 2001. – 320 с.: ил. 7. Организация строительного производства: Учебник для вузов / Т.Н. Цай, П.Г. Грабовый, В.А. Большаков и др. – М.: Изд-во АСВ, 1999. – 432с.: ил. Справочная литература 8. Справочник строителя. Справочник / Г.М. Бадьин, В.В. Стебаков. – М.: Изд-во АСВ, 2001. – 340 с.: ил. 9. Справочник по инженерно-строительному черчению / Русскевич Н.Л., Ткач Д.И., Ткач М.Н. – 2-е изд., перераб. и доп. – Киев: Будiвельник, 1987. – 264 с. Методические указания, разработанные в КубГТУ 10. Методические указания для проведения практических занятий по дисциплине "Организация и планирование строительного производства" для студентов всех форм обучения специальности 29.03 - Промышленное и гражданское строительство специализации "Технология и организация строительства" /Кубан. гос. технолог. ун-т: С.П. Король, В.М. Яковлев, Краснодар, 1995 г. 44 с. 11. Методические указания по разработке строительного генерального плана в составе курсового проекта по дисциплине "Организация и планирование строительного производства" и в разделе дипломного проекта "Организация строительства" для студентов всех форм обучения специальности 29.03 - Промышленное и гражданское строительство специализации "Технология и организация строительства" / /Кубан. гос. технолог. ун-т: С.П. Король, Краснодар, 1995 г. 34 с. 12. Методические указания по выполнению технико-экономических расчетов в составе курсового проекта по дисциплине "Организация и планирование строительного производства" и в разделе дипломного проекта "Организация строительства" для студентов всех форм обучения специальности 29.03 - Промышленное и гражданское строительство специализации "Технология и организация строительства" / /Кубан. гос. технолог. ун-т: С.П. Король, В.М. Яковлев, В.А. Пархоменко, В.А. Кириченко. Краснодар, 1995 г. 38 с. 13. Методические указания по выполнению контрольной работы по дисциплине «Техническое нормирование и сметное дело в строительстве» для студентов заочной формы обучения специальности 29.03 – Промышленное и гражданское строительство Нормативные документы 14. СНиП 3.03.01-87. Несущие и ограждающие конструкции. – М.: Стройиздат, 1988. 15. СНиП 3.01.01-85*. Организация строительного производства. - М.: Стройиздат, 1995. 16. СНиП 12-03-01 Безопасность труда в строительстве.-М.: Стройиздат 2000. 17. СНиП 12-04-2002. Безопасность труда в строительстве.-М.: Стройиздат 2002. 18. СНиП 2.01.01-82. Строительная климатология и геофизика. - М.: Стройиздат, 1984. 19. СНиП II-3-79*. Строительная теплотехника. – М.: Стройиздат, 1998. 20. СНКК 23-302-2000. Энергетическая эффективность жилых и общественных зданий. Нормативы по теплозащите зданий. Краснодар. 2001.-48с. 21. СНиП IV-2-82. Сметные нормы и правила. – М.: Стройиздат, 1986. 22. СНиП 2. 08. 02- 89*. Общественные здания и сооружения. – М.: Стройиздат, 1999. 23. СНиП II-7-81*. Строительство в сейсмических районах.- М.: Стройиздат, 2000. 24. СНиП 2.03.01-84* . Бетонные и железобетонные конструкции.- М.: Стройиздат, 1998. 25. СНиП 2.01.07-85*. Нагрузки и воздействия.- М.: Стройиздат, 1986. 26. ГОСТ 21-101-97. Основные требования к проектной и рабочей документации.. – М.: Стройиздат, 1997. 27. СНиП 1,04,03-85. Нормы продолжительности строительства и задела в строительстве предприятий зданий и сооружений. - М.: Стройиздат, 1987 28. ЕНиР. Сб. Е1. Выпуск 1. Внутрипостроечные траспортные работы. – М.: Стройиздат, 1987. 29. ЕНиР. Сб. Е4. Монтаж сборных и устройство монолитных железобетонных конструкций.Выпуск 1.Здания и промышленные сооружения. – М.: Стройиздат, 1987. 30. ЕНиР. Сб. Е22. Сварочные работы.Выпуск 1.Конструкции зданий промышленных сооружений. – М.: Стройиздат, 1987. 31. ЕНиР. Сб. Е12. Свайные работы. – М.: Стройиздат, 1987. 32. Каталог единых районных единичных расценок на строительные работы по 7 зонам промышленно – гражданского строительства Краснодарского края. -Т.1.-Кн.1,2.- Краснодар, 1983. 33. Сборник сметных цен на местные строительные материалы, изделия и конструкции для промышленно – гражданского строительства по Краснодарскому краю. - Т.1.- Краснодар, 1983. |
|||||||||||||||||||||||||||||||||||||||||||||||||||||||||||||||||||||||||||||||||||||||||||||||||||||||||||||||||||||||||||||||||||||||||||||||||||||||||||||||||||||||||||||||||||||||||||||||||||||||||||||||||||||||||||||||||||||||||||||||||||||||||||||||||||||||||||||||||||||||||||||||||||||||||||||||||||||||||||||||||||||||||||||||||||||||||||||||||||||||||||||||||||||||||||||||||||||||||||||||||||||||||||||||||||||||||||||||||||||||||||||||||||||||||||||||||||||||||||||||||||||||||||||||||||||||||||||||||||||||||||||||||||||||||||||||||||||||||||||||||||||||||||||||||||||||||||||||||||||||||||||||||||||||||||||||||||||||||||||||||||||||||||||||||||||||||||||||||||||||||||||||||||||||||||||||||||||||||||||||||||||||||||||||||||||||||||||||||||||||||||||||||||||||||||||||||||||||||||||||||||||||||||||||||||||||||||||||||||||||||||||||||||||||||||||||||||||||||||||||||||||||||||||||||||||||||||||||||||||||||||||||||||||||||||||||||||||||||||||||||||||||||||||||||||||||||||||||||||||||
(4.11)










,


,



, л/с
, л/с,