Курсовая работа: Разработка технологического процесса изготовления плунжера
|
Название: Разработка технологического процесса изготовления плунжера Раздел: Промышленность, производство Тип: курсовая работа | |||||||||||||||||||||||||||||||||||||||||||||||||||||||||||||||||||||||||||||||||||||||||||||||||||||||
| Содержание
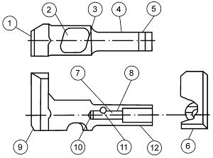
1. Исходные данные и их анализ 1.1 Описание и конструкторско-технологический анализ детали 1.2 Анализ требований к геометрическим параметрам поверхностей детали 1.3 Тип производства и программа выпуска 2. Выбор заготовки 3. Разработка маршрута технологического процесса изготовления детали 4. Расчёт припусков на механическую обработку 5. Проектирование станочных операций 5.1 Выбор оборудования 5.2 Выбор станочных приспособлений 5.3 Выбор режущих инструментов 5.4 Выбор вспомогательных инструментов 5.5 Выбор контрольно-измерительных средств 5.6 Назначение режимов резания 5.7 Техническое нормирование операций Библиографический список 1. Исходные данные и их анализ 1.1 Описание и конструкторско-технологический анализ детали Плунжер является фиксатором рычага и подпружинивает упор шептала через плечо. Плунжер входит в состав затыльника, который, в свою очередь, предназначен для размещения механизма подачи, электропуска, выключателя и спускового механизма. В пазу затыльника размещается шептало, которое прокачивается на оси. Зацеп шептала удерживает остов затвора в крайнем заднем положении, а выступ шептала взаимодействует с плечом упора шептала. В другом пазу затыльника на оси размещается упор шептала, который своим плечом препятствует опусканию шептала. Упор шептала через плечо подпружинен плунжером. Третье плечо упора шептала, взаимодействуя с остовом затвора при откате, выводит упор шептала из зацепления с шепталом для обеспечения забега остова затвора за шептало. Плунжер является телом вращения, которое с левого торца имеет выступ в виде плоской поверхности с фасками. Цилиндрическая часть детали представлена двумя диаметрами. На наружной поверхности большего диаметра – паз выполненный в форме квадрата со скруглёнными углами. Деталь имеет центральное отверстие с правого торца; отверстие глухое ступенчатое с цилиндрической поверхностью без резьбы. На наружных поверхностях резьба также отсутствует. В качестве материала детали выбираем сталь 30 ХРА, которая является оптимальным вариантом с физико-механическими свойствами и стоимостью, соответствующими применению и назначению детали, а также техническим требованиям, предъявляемым к ней. Сталь 30 ХРА является хромистой высококачественной с массовыми долями элементов: углерода 0.27 – 0.33%, кремния 0.17 – 0.37%, марганца 0.5 – 0.8%, хрома 1 – 1.3%. Бор вводится по расчёту (без учёта угара) в количестве не более 0.005%;при этом остаточная массовая доля его в стали должна быть не менее 0.001%. Основным легирующим элементом является хром, который повышает твёрдость и прочность, незначительно уменьшая пластичность, увеличивает коррозионную стойкость. Бор повышает износостойкость стали. Также в стали допускается наличие вольфрама до 0.2%, молибдена до 0.15%, титана до 0.03% и ванадия до 0.05%. Массовая доля фосфора, серы, остаточных меди и никеля в стали не должна превышать норм (по ГОСТ 4543 – 71 – для высококачественных сталей): P – 0.025%; S – 0.025%; Cu – 0/30%; Ni – 0.30%. Твёрдость по Бринеллю горячекатаного проката после термообработки диаметром свыше 5 мм должна быть не более 241 (HB); диаметр отпечатка не менее 3.9 мм. Механические свойства при нормальной температуре: 1. Предел текучести σт =1275(Н/мм2 ); 2. Временное сопротивление σв =1570(Н/мм2 ); 3. Относительное удлинение δб =9%; 4. Относительное сужение ψ=40%; 5. Ударная вязкость KCИ =49(Дж/см2 ). Для достижения необходимой твёрдости (43.5…51.5 HRCэ ) и заданных механических свойств назначаем термообработку – закалка + низкий отпуск. Температура первой закалки 9000 С, температура второй закалки 8600 С; среда охлаждения – масло (т.е. скорость охлаждения не высокая, т.к. легированная сталь обладает большей прокаливаемостью, чем углеродистая). Температура отпуска 2000 С; среда охлаждения – воздух. При проведении неполной закалки (сталь доэвтектоидная) при нагреве в структуре мартенсита сохраняется некоторое количество оставшегося после закалки феррита, снижающего твёрдость закалённой стали. Назначая закалку при температурах нагрева выше точки Ас3 (полная закалка), получаем сталь со структурой однородного аустенита, который при последующем охлаждении превращается в мартенсит. Сталь благодаря этому становится твёрдой, кроме того, повышается прочность. Целью отпуска является уменьшение напряжений в стали, повышение вязкости. В данном случае назначение низкого отпуска обосновывается тем, что во время отпуска мартенсит закалки превращается в мартенсит отпуска, при этом внутренние напряжения частично снимаются и остаточный аустенит превращается в мартенсит отпуска. В результате сталь сохраняет высокую твёрдость и даже возможно повышение твёрдости (в пределах, указанных в технических требованиях) за счёт распада остаточного аустенита; устраняется закалочная хрупкость. 1.2 Анализ требований к геометрическим параметрам поверхностей детали На рис.1 дан эскиз детали с нумерацией поверхностей. Для анализа детали по механически обрабатываемым поверхностям составляем таблицу, в которую сводим данные с каждой поверхности и методы механической обработки, с помощью которых возможно обеспечение этих требований.
Рис.1. Эскиз деталей поверхности. Результаты анализа приведены в таблице 1. Результаты анализа технических требований, предъявляемых к детали, приведены в таблице 2. Таблица 1. Анализ требований по точности и шероховатости поверхностей детали.
Таблица 2. Анализ технических требований по точности положения поверхностей детали.
1.3 Тип производства и программа выпуска Тип производства необходимо учитывать при проектировании технологического процесса изготовления детали. Тип производства устанавливаем по таблице 4 (с.28)[1]; объём выпуска – 150 деталей в год – соответствует мелкосерийному производству. Для данного типа производства коэффициент закрепления операций кзо , рассчитываемый по формуле кзо = Оуч /Р (Оуч – число различных операций на участке; Р – число рабочих мест участка), находится в пределах:20<кзо <40. 2. Выбор заготовки Рациональным выбором способа изготовления заготовки достигается снижение трудоёмкости механической обработки, что обеспечивает рост производства на тех же производственных площадях без существенного увеличения количества оборудования и технологической оснастки. Наряду с этим рациональный выбор способов изготовления заготовок применительно к различным производственным условиям определяет степень механизации и автоматизации производства. Для детали «Плунжер» с относительно небольшими перепадами диаметров в качестве исходной заготовки выбираем стальной прокат круглого сечения диаметром dзаг =14 (мм) по ГОСТ 2590-88 (табл.4, с.548 [9]. Из него гибкой левого торца будет образована заготовка, максимально приближённая по конфигурации к готовой детали. Массу заготовки определим по формуле: Мзаг =Мцил +Мгибк Мцил =ρVцил = ρπR2 H=7.81·10-3 ·3.14·72 ·42=50.47(г) Мгибк =ρV=ρabh= 7.81·10-3 ·9·14·27=26.57(г) Мзаг = 50.47+26.57=77.04(г) Коэффициент использования материала равен: Ки.м. =34/77.04=0.441, или 44.1% Хотя коэффициент использования материала заготовки небольшой, но по экономическим показателям выгоднее принять прокат. Механические свойства проката при нормальной температуре, определяемые на продольных термически обработанных образцах должны соответствовать значениям: 1. Предел текучести σт =1275 (Н/мм2 ); 2. Временное сопротивление σв =1570 (Н/мм2 ); 3. Относительное удлинение δ=9%; 4. Относительное сужение ψ=40%; 5. Ударная вязкость КСИ= 49(Дж/см2 ). 3. Разработка маршрута технологического процесса изготовления детали Основой для проектирования технологического процесса механической обработки являются сведения о детали, методах достижения требований по точности и шероховатости поверхностей, типе производства. Первой назначаем токарную операцию (01) – операция по созданию технологической базы – центрового отверстия, также производится подрезание торца, обтачивается цилиндрическая поверхность, скругляются острые рёбра и деталь отрезают в заданный размер. Оборудование – станок токарно–винторезный 1А616. 02 – токарная операция: подрезание торца в определённый размер, обтачивают диаметр (меньший), центрование отверстия, скругление острых рёбер. Оборудование – станок токарно – винторезный 1А616. 03- шлифовальная операция: шлифование цилиндрической поверхности. Оборудование: станок круглошлифовальный 3А130. 04;05 – фрезерные операции: фрезерование плоской поверхности с одной и другой сторон соответственно. Оборудование – станки вертикально – фрезерные 6Р10. 06;07 – фрезерные операции: фрезерование плоских поверхностей в заданные размеры. Оборудование – станки вертикально – фрезерные 6Р10. 08;09;10;11 – фрезерные операции: фрезерование фаски, скоса в размер, фаски с другой стороны и скоса в определённые размеры соответственно. Оборудование – станки вертикально – фрезерные 6Р10. 12 – фрезерная операция: фрезерование выемки. Оборудование – станок вертикально – фрезерный 6Р10. 13 – сверлильная операция: зенкерование площадки, сверление и развёртывание отверстия, скругление острых рёбер в отверстии. Оборудование – станок вертикально – сверлильный 2Н118-4. 14 – токарная операция: обтачивается наружная цилиндрическая поверхность; сверление, зенкерование и развёртывание отверстия; сверление и развёртывание соосного с предыдущим отверстия, скругление острых рёбер. Оборудование – станок токарно – винторезный с ЧПУ 16К20Ф3. 15 – контрольная операция; проверка размеров, радиусов скруглений. Средства контроля и измерения, выбранные для всех контрольных операций, будут описаны ниже. 16 – термическая: подробное описание см.п. 17 – шлифовальная операция: шлифование наружной цилиндрической поверхности (обоих ступеней). Оборудование – станок круглошлифовальный с ЧПУ 16К20Ф3. 18 – токарная операция: отрезают прибыль под ложный центр. Оборудование – станок токарно-винторезный 1А616. 19 – токарная операция: обтачивают недоход шлифовального круга; развёртывание отверстия (меньшего диаметра). Оборудование – станок токарно-винторезный 1А616. 20 – контрольная операция: проверка шероховатости и твёрдости (после ТС). 21 – очистка пескоструйная. 22 – покрытие. 23 – контрольная операция: проверка наличия отметки за покрытие. Назначенные вышеперечисленные операции в заданной последовательности обеспечивают достижение необходимых классов точности размеров и чистоты поверхности детали, а также необходимой конфигурации детали. 4. Расчёт припусков на механическую обработку Наиболее точный метод – расчётно – аналитический. Рассчитаем с помощью данного метода припуски на обработку на операциях 03 и 04. Метод даёт наиболее точные оптимальные значения припусков, что позволяет сэкономить металл, уменьшить трудоёмкость изготовления детали и соответственно улучшить технико – экономические показатели технологического процесса, и применяется независимо от типа производства. Операция 03.Расчёт припусков на обработку цилиндрической поверхности в диаметр 12-0,05 Rа 2,5 (все ссылки на источник [3]). Для обеспечения 3-го класса точности и 6-го класса чистоты назначаем шлифование плоское получистовое (таблица 4 с.90). Двусторонний припуск рассчитаем по формуле:
а) б) Отклонение положения обрабатываемой поверхности относительно режущего инструмента δа = 500(мкм) (таблица 30); в) Высота микронеровностей и глубина дефектного слоя: На =10 (мкм); Та =15(мкм) (примечание 1 к таблице 30); г) Смещение поверхности:
где δзаг =0.8мм – допуск на диаметральный размер;
д) Кривизна заготовки:ρкр =ρ0 l , где l =0.5 L (L – общая длина заготовки); ρ0 =10(мкм/мм) (примечание 3 к табл. 30); ρкр =10·0.5·52=260(мкм); е) Составляющая погрешности установки: εв =0. Вычисляем припуск:
Диаметр заготовки: dзаг =12+1,2=13,2 (мм). По сортаменту выбираем:
Операция 04.Расчёт одностороннего припуска на обработку плоской поверхности в размер l=6.5-0.2 (мм). 1) Для достижения необходимых 4-го класса чистоты поверхности и 5-го класса точности размера назначаем фрезерование торцовой фрезой черновое (таблица 4; 38); Односторонний припуск рассчитаем по формуле:
2) Составляющие припуска: На =80(мкм); Та =50(мкм) (табл.37); ∆а →ρнеп =200(мкм) – неперпендикулярность торца заготовки относительно её оси; Погрешность заготовки εв =0 (εб =0; εз =0; εп =0). 3) Припуск определяется как:
Необходимая длина: l =6.5+0.3=6.8(мм).
Для остальных механически обрабатываемых поверхностей промежуточные припуски и размеры определяем табличным методом [9]. По припускам устанавливаем размер заготовки. По таблице 7 с.587 [9] назначаем припуски на обработку отверстий: 1. Отверстие d=2.6 (мм) по 11 квалитету: Сверление: 2.5мм; допуск по Н11(+0.06)мм; 2. Отверстие d=5.8мм по 9квалитету: Сверление: 5.6 мм; Развёртывание: 5.8 Н9; Допуск по Н9(+0.03)мм; 3. Отверстие d=2.05(мм) по 11 квалитету: Сверление: 2мм; допуск по Н12(+0.1)мм. Припуски на шлифование в центрах (на диаметральные размеры) назначаем по таблице 19 с.603 [9]: 1) При диаметре детали (10…18)мм и длине до 100мм припуск (до термообработки) составит 0.3(мм); (операция 0.3); допуск на предварительную обработку по h11 составит (-0.11)мм; 2) При диаметре детали (6…10)мм и длине до 100мм припуск (после термообработки) составит 0.3(мм) – операция 17; допуск на предварительную обработку по h11 (-0.09)мм. Из таблицы 4 с. 584: назначаем диаметр заготовки (деталь изготавливается из круглого сортового проката): при номинальном диаметре детали 12(мм) выбираем диаметр заготовки 14(мм). По полученным размерам вычисляем массу заготовки и коэффициент использования материала. Расчёт приведён выше (в п.2). 5. Проектирование станочных операций 5.1 Выбор оборудования В соответствии с содержанием назначенных операций, и увязывая их с технологическими возможностями станков, а также ориентируясь по классам точности металлорежущих станков, выбираем следующие модели оборудования: 1) Для токарных операций (01;02;18;19) – станки токарно-винторезные 1А616. Посредствам их использования производится подрезание торцов, центрование отверстий, обтачивают цилиндрические поверхности; 2) Для шлифовальной операции(03) – станок круглошлифовальный 3А130; для шлифования цилиндрической поверхности; 3) Для фрезерных операций (04-12) – станки вертикально-фрезерные 6Р10 – для фрезерования плоских поверхностей, фасок, скосов, выемки; перечисленные выше станки являются универсальными, обеспечивают обработку заготовки в заданные размеры по необходимым классам точности, с их применением возможно снижение себестоимости механической обработки заготовки за счёт невысокого уровня ремонтосложностей, соответствующих затрат и норм амортизационных отчислений по сравнению с их аналогами; 4) Для сверлильной операции (13) – универсальный станок вертикально-сверлильный 2Н118-4: зенкерование, сверление и развёртывание отверстий; 5) Для токарной (14) и шлифовальной (17) операций выбираем станки с ЧПУ; Операция 14-станок токарно-винторезный с ЧПУ 16К20Ф3, выполняется многосложная обработка: обтачивается наружная цилиндрическая поверхность, производится сверление, зенкерование, развёртывание отверстий, а также сверление и развёртывание соосного с ним отверстия, скругление острых рёбер. Операция 17-станок круглошлифовальный с ЧПУ 16К20Ф3; шлифование наружной цилиндрической поверхности обеих ступеней с заданной точностью. Применение станков с ЧПУ, предназначенных для соответствующей обработки заготовок в условиях мелкосерийного производства, позволяет уменьшить время цикла обработки заготовки, повысить производительность оборудования, экономический эффект, а также число высвобождаемых рабочих, что повлияет на себестоимость изготовления детали (в сторону её снижения). Таким образом, выбор перечисленных выше моделей позволит повысить эффективность технологического процесса как с технологической, так и с экономической точки зрения. 5.2 Выбор станочных приспособлений В производстве широко применяется разнообразная технологическая оснастка, в которую входят приспособления. Станочные приспособления применяются для установки и закрепления на станках обрабатываемых заготовок. Руководствуясь требованиями, предъявляемыми к приспособлениям, назначаем соответственно операциям: - Токарная (01) – заготовку устанавливаем в приспособление ЛК7160-4052 с креплением в неподвижном люнете с применением одного зажима; - Токарные (02;18) – в трёхкулачковом самоцентрирующем патроне с креплением в неподвижном люнете; - Токарные (14;19) - в трёхкулачковом самоцентрирующем патроне; - Шлифовальные (03;17) – в неподвижном и вращающихся центрах (конус Морзе 4); - Фрезерные (04;05) – в тисках с пневмоприводом (возможно модифицирование); - Фрезерные (06-11) – в универсально-сборных приспособлениях: (06 – с креплением в неподвижном люнете; 07 – с креплением в неподвижном люнете с примением одиночного зажима; 08 – 11 - с креплением в неподвижном люнете с упором в торец с применяем одиночного зажима); - Фрезерная (12) – в тисках с призматическими губками с упором в торец; - Сверлильная (13) - в УСП кондуктор. По эксплуатационной характеристике станочные присобления подразделяются на универсальные, специализированные (сменные устройства) и специальные. Из выбранных приспособлений к универсальным относятся: патроны трёхкулачковые, кондукторы, центры упорные, тиски; к специализированным – специальные губки для тисков; к специальным – универсально-сборные приспособления (УСП). Назначенные станочные приспособления соответствуют предъявляемым к ним требованиям: точное базирование и надёжное закрепление заготовок на станках, свободный подход инструментов ко всем обрабатываемым поверхностям, лёгкость переналадки или замены приспособления. Использование данных приспособлений обеспечит: 1) Повышение производительности труда благодаря сокращению времени на установку и закрепление заготовки, при частичном или полном перекрытии вспомогательного времени машинным и при уменьшении последнего посредством многоместной обработки, совмещения технологических подходов и повышения режимов резания; 2) Повышение точности обработки благодаря устранению выверки при установке и связанных с ней погрешностей; 3) Облегчение условий труда станочников; 4) Расширение технологических возможностей оборудования; 5) Повышение безопасности работы. Т.о., выбор данных станочных приспособлений и технологически, и экономически обоснованно. 5.3 Выбор режущих инструментов Режущие инструменты должны отвечать требованиям: - Высокая режущая способность; - Стабильность качества; - Высокая стойкость; - Благоприятные условия отвода стружки; - Технологичность изготовления инструмента; - Простота конструкции; - Возможность настройки инструмента на размер вне станка. В соответствии с перечисленными требованиями и содержанием операций назначаем режущие инструменты: 1) На токарно-винторезных станках для подрезания торцев и отрезки прибыли под ложный центр – резцы с пластинами из твёрдого сплава (при подрезании торцев используем сплав Т15К6, при отрезке прибыли – Т5К10) – правый резец сечением (25´16) мм (резец проходной); для операций 01; 02; 18; 2) на токарно-винторезных станках для обтачивания цилиндрических поверхностей – проходные упорные резцы с пластинами из твёрдого сплава (Т5К10; при обтачивании недохода шлифовального круга – Т15К6); резец правый сечением (25´16) мм; (32´20) мм; для операций 02; 19; 3) на токарно-винторезных станках с ЧПУ для обтачивания наружной цилиндрической поверхности – проходные упорные (правые) резцы сечением (25´16) мм с углом врезки пластин 0° с пластинами из твёрдого сплава (Т15К6); для операции 14; 4) для сверления – быстро режущие свёрла (Р6М5); операции 01; 02; 5) для сверления на станках с ЧПУ – спиральные свёрла с цилиндрическим хвостовиком из средней серии (Р6М5); для операции 14; 6) на сверлильных станках - спиральные свёрла с цилиндрическим хвостовиком из длинной серии (Р6М5); для операции 13; на той же операции используем прямозубую развёртку; 7) для зенкерования отверстий (после сверления) – зенкеры цельные короткие – для операции 14; диаметр зенкера выбираем меньше номинального диаметра отверстия на величину припуска под развёртывание (т.к. зенкер предназначен для предварительной обработки отверстия после сверления под развёртывание); 8) для получения точных и чистых цилиндрических отверстий – развёртки цельные прямозубые с цилиндрическим хвостовиком; для 14 операции; 9) для скругления острых рёбер отверстия – зенковки конические; операция 14; 10) на кругло-шлифовальных станках и станках с ЧПУ – круги шлифовальные типа Т Д=300 мм, Н=8мм, d=127мм из электрокорунда белого марки 25А, зернистостью 25Н, твёрдостью СМ1 (средний мягкий), структурой 6 (средняя), на керамической связке, круги класса точности А; допустимая окружная (рабочая) скорость круга 35 м/с; операции 03; 17; 11) на вертикально-фрезерных станках для обработки плоских поверхностей – фрезы торцовые с напаиваемыми пластинами из твёрдого сплава Т5К10; для операций 04; 05; 12) для фрезерования фасок и скосов – дисковой фрезы со спиральными зубьями; для операций 08 – 11; 13) для фрезерования плоских поверхностей на операциях 06, 07 – дисковые фрезы из быстрорежущей стали; 14) для фрезерования выемки – дисковые фрезы со вставными ножами из быстрорежущей стали; для операции 12; 15) (на вертикально-сверлильных станках) для скругления острых рёбер в отверстии – шаберы трёхгранные; для операции 13; 16) для зачистки заусенцев – напильники личные; на операциях 04 – 12. Перечисленные режущие инструменты были выбраны по следующим причинам: - резцы, оснащённые пластинами из твёрдого сплава титановольфрамовой группы (ТК), применяется (в т.ч.) для обработки заготовок из легированных сталей, обеспечивая экономию инструментальных материалов и снижая трудоёмкость обработки; - применяя спиральное сверло, возможно облегчение процесса резания и улучшения выхода стружки при условии увеличения угла наклона винтовой канавки; применяя двойную заточку сверл, можно повысить стойкость инструмента; - выбранные зенкеры и развёртки обеспечивают достижение необходимой точности размеров и чистоты поверхности; - шлифовальные круги (на керамической связке) из белого электрокорунда среднемягкие по твёрдости являются оптимальным вариантом при обработке цилиндрических поверхностей заготовки из легированной стали, обеспечивая достаточную чистоту поверхности; кроме того, керамическая связка отличается большей водоупорностью, огнеупорностью, химической и механической стойкостью по сравнению с другими неорганическими связками; - дисковые фрезы из быстрорежущей стали, со вставными ножами более других приспособленных для высокопроизводительной и высококачественной обработки плоских поверхностей, фасок и скосов. Т.о., выбранные режущие инструменты соответствуют необходимым нормам технологичности, надёжности и экономичности. 5.4 Выбор вспомогательных инструментов Вспомогательные инструменты – это приспособления для установки и закрепления режущего инструмента, осуществляющие связь между инструментом и станком. Требования, предъявляемые к вспомогательным инструментам: - обеспечение надёжной и точной установки режущих инструментов; - высокая жёсткость; - универсальность конструкции; - быстрая смена режущего инструмента после затупления и при переналадках. Инструменты к токарным станкам: резцедержатели с цилиндрическим хвостовиком и цилиндрическим отверстием, державки, а также резцедержатели с базирующей призмой с открытой перпендикулярным пазом к станкам с ЧПУ. Вспомогательные инструменты к сверлильным станкам: инструменты с цилиндрическими хвостовиками закрепляются в патронах (например, трёхкулачковых). В серийном производстве при необходимости быстрой смены инструмента без остановки станка, при последовательной обработке отверстия сверлом, зенкером и развёрткой (в частности – операция 14) используют быстросменные патроны. Их составными частями являются кольцо, которое поднимается вверх для смены инструмента, шарика, расходящиеся при этом под действием центробежных сил, и втулка, с которой инструмент свободно выходит из патрона. После установки очередного инструмента кольцо опускается и своими скосами принудительно заводит шарики в углубление, имеющееся во втулке. Шарики удерживают инструмент от выпадения и одновременно передают ему крутящий момент от шпинделя. Вспомогательные инструменты к круглошлифовальным станкам: крепление шлифовальных кругов на шпинделе винтом или гайкой, крепление шлифовальных кругов на шпинделе фланцами (прижимную поверхность фланцев выполняют с поднутрением 0,1 – 0,3 мм; между фланцами и инструментом устанавливают прокладки). Вспомогательные инструменты к фрезерным станкам: фрезы закрепляются непосредственно в шпинделе станка, или с помощью оправок с продольной шпонкой и коническим хвостовиком с лапкой (для торцовых фрез). Выбранные вспомогательные инструменты обеспечивают точность обработки заготовки, что позволяет снижать трудоёмкость изготовления детали, а следовательно, и себестоимость детали. 5.5 Выбор контрольно-измерительных средств Для отладки и контроля стабильности и точности технологических процессов механической обработки проводиться измерение. Показателями процесса контроля являются точность и достоверность измерений, трудоёмкость контроля и его стоимость, полнота, периодичность, продолжительность. Ориентируясь на тип производства, вид заготовки, программу выпуска, параметры и показатели подлежащие контролю, производим выбор средств измерения: - для контроля размеров валов и отверстий – калибры (скобы – при линейном измерительном контакте калибра; пробки – при поверхностном контакте); - углы и конусы измеряю с помощью угловых мер (поверочных плит), конусных калибров, синусных и тангенсных линеек; - радиусомеры, фаскомеры; - для контроля линейных размеров – штангенциркули, концевые меры, линейки; - для контроля диаметральных размеров – микрометр; - для контроля соосности отверстий – контрольные (ступенчатые) скалки (валики); - для количественной оценки шероховатости – щуповые приборы (профилометры, профилографы), а для качественной - образцы шероховатости. В частности, для рассматриваемой (фрезерной) операции 04 применяют калибр для контроля точности линейного размера обработанной поверхности. 5.6 Назначение режимов резания Полный расчет режимов резания проведем для операции 04. На вертикально-фрезерном станке 6P10 производится торцевое фрезерование плоской поверхности шириной 13мм и длиной 23мм; припуск на обработку р=0.3 мм. Обрабатываемый материал – сталь 30ХРА с НВ241, σ=1570 МПа; заготовка – прокат. Параметр шероховатости RZ =40 мкм. 1) Выбираем торцевую фрезу с пластинами из твердого сплава Т5К10. Фрезы диаметр Z=40(мм) с числом зубьев Z=8. Геометрические элементы фрезы: φ=65°; γ=+5; α=8°; α1 =10°; φ1 =5°; 2) назначаем режим резания (по нормативам [7]): 2.1) устанавливаем глубину резания. Припуск снимаем за 1 рабочий ход, следовательно: t=h=0.3(мм); 2.2) назначаем подачу на зуб фрезы (карта 108 с.209). для стали, твердого сплава Т5К10, мощности станка Ng=3(кВт) при фрезеровании по схеме, «смещенного» фрезерного SZ =0.24..0.28(мм/зуб). Принимаем SZ =0.26(мм/зуб). При «смешенном» фрезеровании создаются наиболее благоприятные условия врезания зубьев фрезы в обрабатываемую заготовку, что позволяет увеличить Sz по сравнению с Sz при симметричном фрезеровании примерно в 2 раза. Поправочный коэффициент на подачу (с. 213) =1. Т.о. Sz =0,26 (мм/зуб). 2.3) назначаем период стойкости фрезы (таблица 2 с.203, 204). Для торцевой фрезы (D=40 мм) период стойкости Т=120 (мин). Допустимый износ зубьев фрезы по задней поверхности h3 =1.2 (мм). 2.4) Определяем скорость главного движения резания, допускаемую режущими свойствами фрезы (карта 110 с.212, 213): табличное значение Uтабл= 145 (м/мин). Учитываем поправочные коэффициенты на скорость: КMU =1.89. В зависимости от состояния поверхности: (без корки) Кnu =1. Тогда Un =Uтабл ·КMU =145·1.89=274(м/мин)≈ 4.57(м/с). 2.5) Частота вращения шпинделя, соответствующая найденной скорости главного движения резания: n=1000·Un /π·D=(1000·274)/(3.14·40)=2182(мин-1 ). По данным станка устанавливаем действительную частоту вращения шпинделя: ng =2100(мин-1 ). 2.6)Действительная скорость главного движения резания: Ug =π·Z·n·g/1000=3.14·40·2100/1000=264 (м/мин)≈4.4(м/с). 2.7) Определяем скорость движения подачи: US =SM= SZ ·ng =0.26·2100=546(мм/мин). Корректируем эту величину по данным станка и устанавливаем действительную скорость подачи US =550(мм/мин). 2.8) Определяем мощность, затрачиваемую на резание (карта 111с. 214, 215): Nтабл =1.6(кВт) – для US =SM =550(мм/мин). Учитывая поправочные коэффициенты: КφN =1.02 b KφN =0.74, находим: Nрез =Nтабл · КφN ·KφN =1.21(кВт). 2.9) Проверяем, достаточна ли мощность привода станка. Необходимо выполнение условия: Nрез
3) Основное время То =L/Vs . При «смещенном» фрезеровании врезание фрезы у= 0,3Д, у=0,3·40=12(мм). Перебег ∆=7(мм). Тогда L=23+12+7=42(мм); То =42/550=0,076(мин). 5.7 Техническое нормирование операции Цель – установление технически обоснованных норм времени, которые являются важными исходными данными для экономических и организационных расчетов при проектирование участка механического цеха. Штучное время операции: Тшт = То +Тв +Торг +Ттех +Тотд , где То – норма основного время операции; Тв - норма вспомогательного время операции; Торг – время организационного обслуживания рабочего места; Тотд - время на отдых и личные потребности; По карте 24 с. 40 [6] определяем неполное штучное время: tн.шт = 1.6 (мин) и корректируем его с поправочных коэффициентов: - в зависимости от предела прочности стали σв >850(Н/мм2 ) Кσт =1,25; - в зависимости от мощности электродвигателя станка Ng = 3(кВт) КNт =2; Тогда штучное время операции: Тшт = 1,6·1,25·2=4(мин). Подготовительно – заключительное время: Тп = 0,5(мин). Штучное – калькуляционное время: Тш-к = Тшт + Тп /ng (ng =10) Тш-к =4+0.05=4.05(мин). Библиографический список 1. Гельфгат Ю.И. Дипломное проектирование в машиностроительных техникумах: Учебное пособие: М. Машиностроение,1992. 2. Данилевский В.В. Технология машиностроения М.: Высшая школа, 1984. 3. Коганов И.А., Станкеев А.А. Расчет припусков на механическую обработку. Тула, 1973. 4. Нефедов Н.А., Осипов К.А. Сборник задач и примеров по резанию металлов и режущему инструменту: Учебное пособие: М. Машиностроение, 1990. 5. Общемашиностроительные нормативы режимов резания для технического нормирования работ на металлорежущих станках.Ч. 1.: С, М.: Машиностроение, 1974. 6. Общемашиностроительные нормативы времени для технического нормирования работ на металлорежущих станках. Мелкосерийное и единичное производство. Ч.2.М.: Машиностроение,1967. 7. Останенко Н.Н., Кропивницкий Н.Н. Технология металлов. М., Высшая школа, 1970. 8. Поповенко Н.С. Технико-экономические расчеты в машиностроение: Учебное пособие. Киев – Одесса: Вища школа,1987. 9. Справочник технолога \ Под ред. А.А. Панова М.: Машиностроение,1988. 10. Справочник технолога- машиностроителя \ Под ред. А.Н. Малова т.2. М.: Машиностроение,1973. 11. И.М. Фейгин. Краткий справочник. Ростовское книжное издательство, 1961. |
