Реферат: Металлические конструкции балочной площадки
|
Название: Металлические конструкции балочной площадки Раздел: Рефераты по строительству Тип: реферат | |||||||||||||||||||||||||||||||||||||||
Металлические конструкции балочной площадкиСодержание Задание на выполнение курсового проекта Компоновка балочной клетки Расчёт настила Расчёт балки настила Расчёт главной балки Расчёт колонны Расчёт и конструирование узлов Расчет связей Список литературы
Назначение помещения: покрытие перронов вокзала Номер схемы: 1А Высота здания: 5.5 м Толщина защитного слоя: 170 мм Пролёт: 10м Шаг: 3 м Плотность слоя: 1300 кг/м3
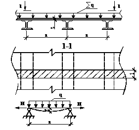
2. Компоновка балочной клетки Исходные данные: пролет главной балки L = 10 м; шаг колонн B = 3 м; высота верха настила H = 5,5 м
Согласно рекомендаций при B<4 м, принимаем балочную клетку нормального типа. Настил; Балка настила; Главная балка; Колонна. 3. Расчёт настила 3.1. Выбор марки стали Настил относятся к III группе конструкций. Назначаем марку стали С 235 - т 50 [1]; Ryn= 235 МПа; Run= 360 МПа; Ry= 230 МПа; Ru= 350 МПа – т 51 [1] gm=1,025 т 2 [1] Rs=0.58 Ryn/gm=0.58*235/1.025=195,22 МПа 3.2. Сбор нагрузок на настил Прикладывается распределённой по площади.
3.3. Определение параметров настила Прочность настила обеспечена, необходимо обеспечить жесткость
где 1/n0=[f/a] = п0=150 - отношение прогиба настила к его пролету, принимается по табл. 19/2/, E1=E/(1-ν2)=
E
= ν - коэффициент Пуассона; ν=0.3 .
Назначаем а=1,25 м; кратно L=10м 3.4. Проверка прочности настила Рассчитаем усилие, действующее на единицу длины сварного шва:
gc=0,9 табл.6/1/;
где А=1*0,006=0,006м2 Rygc=230*0,9=207 мПа
Условие выполняется, прочность обеспечена. 3.5. Расчёт крепления настила к балке настила Сварка ручная, тип электрода Э42 (ГОСТ 9467-75) kf≥[kf] [kf]min=5мм – табл.38/1/ lw=1 м – расчет ведется на ед. длины сварного шва. Rw ¦=180 мПа – табл. 56/1/; gw ¦=1 – п. 11.2/1/; b ¦=0,7 – табл. 34/1/; Rwz=0,45Run=0,45*360=162 мПа – табл. 3/1/; gс=1 – табл. 6/1/; gwz=1 –п. 11.2/1/; bz=1 – табл. 34/1/; Разрушение по металлу шва
Разрушение по границе сплавления:
Необходимый катет сварного шва определяем по металлу шва:
Согласно табл. 38/1/, принимаем k ¦=5 мм. Окончательно принимаем: а = 1,25 м; tН = 6 мм; k ¦=5 мм. 4. Расчёт балки настила На балку настила опирается настил. Балка настила представляет собой изгибаемую конструкцию. Опорами балки являются нижележащие конструкции (второстепенные балки, главные балки, несущие стены и т.п.). 4.1. Выбор марки стали Балка настила относится ко II группе конструкций. Назначаем марку стали C245 табл.50/1/ Ryn= 245 МПа; Run= 370 МПа; Ry= 240 МПа; Ru= 360 МПа – т 51 [1] gm=1,025 т 2 [1] Rs=0.58 Ryn/gm=0.58*245/1.025=155,61 МПа 4.2. Выбор расчётной схемы
4.3. Сбор нагрузок Балка загружена равномерно распределённой нагрузкой по длине
γf=1,1ч1,2 – коэффициент надёжности по нагрузке ρ – собственный вес балки (2ч4% от нагрузки) 4.4. Статический расчёт Расчётные усилия в балке Мьах и Qмах определяем по правилу строительной механики.
Участок 1: 0 ≤ х2 ≤ 0,6 м
Участок 2: 0 ≤ х1 ≤ 3 м
Найдём критическое значение момента на 2-ом участке:
4.5. Предварительный подбор сечения Балка настила загружена статической нагрузкой, имеет сплошное сечение, следовательно, ее расчет можно выполнять с учетом развития пластических деформаций, тогда требуется момент сопротивления.
Принимаем номер проката по сортаменту №12
4.6. Поверка балки по первой группе предельных состояний 4.6.1. Прочность по нормальным напряжениям
4.6.2. Прочность по касательным напряжениям
4.6.3. Проверка на совместное действие нормальных и касательных напряжений
4.6.4. Проверка на устойчивость Согласно пункту 5.16а [1] проверка на общую устойчивость может не выполняться, так как нагрузка передаётся через сплошной жесткий металлический настил, непрерывно опирающийся на сжатый пояс балки и надежно с ним связанный при помощи сварного шва. 4.7. Проверка балки по второй группе предельных состояний 4.7.1. Проверка на жесткость, или проверка предельного прогиба Прочность обеспечена, если выполняется условие Фактический прогиб определяем по правилам строительной механики от действия нормативной нагрузки
Прочность обеспечена, окончательно принимаем балку двутаврового сечения №12, ГОСТ 8239-72 5. Расчёт главной балки 5.1. Выбор марки стали Главная балка относится ко II группе конструкций. Назначаем марку стали C245 табл.50/1/ Ryn= 245 МПа; Run= 370 МПа; Ry= 240 МПа; Ru= 360 МПа – т 51 [1] gm=1,025 т 2 [1] Rs=0.58 Ryn/gm=0.58*245/1.025=155,61 МПа 5.2. Выбор расчётной схемы
5.3. Сбор нагрузок Балка загружена равномерно распределённой нагрузкой по длине
γf=1,1ч1,2 – коэффициент надёжности по нагрузке ρ – собственный вес балки (2ч4% от нагрузки) 5.4. Статический расчёт Расчётные усилия в балке Мьах и Qмах определяем по правилу строительной механики. Расчётные усилия в балке Мьах и Qмах определяем по правилу строительной механики.
Участок 1: 0 ≤ х1 ≤ 10 м
Найдём критическое значение момента на 1-ом участке:
5.5. Предварительный подбор сечения Балка настила загружена статической нагрузкой, имеет сплошное сечение, следовательно, ее расчет можно выполнять с учетом развития пластических деформаций, тогда требуется момент сопротивления.
Принимаем номер проката по сортаменту № 45
5.6. Поверка балки по первой группе предельных состояний 5.6.1. Прочность по нормальным напряжениям
5.6.2. Прочность по касательным напряжениям
5.6.3. Проверка на совместное действие нормальных и касательных напряжений
5.6.4. Проверка на устойчивость Согласно пункту 5.16а [1] проверка на общую устойчивость может не выполняться, так как нагрузка передаётся через сплошной жесткий металлический настил, непрерывно опирающийся на сжатый пояс балки и надежно с ним связанный при помощи сварного шва. 5.7. Проверка балки по второй группе предельных состояний 5.7.1. Проверка на жесткость, или проверка предельного прогиба Прочность обеспечена, если выполняется условие RВ = 101,2 кН; RА = 101,2 кН
Прочность обеспечена, окончательно принимаем балку двутаврового сечения № 45, ГОСТ 8239-72 6. Расчёт колонны 6.1. Выбор марки стали Колонна относится к III группе конструкций (табл./50/1/). Принимаем марку стали С235. Ryn=245 МПа; Run=365 МПа; Ry=240 МПа; Ru=355 МПа – табл. 51/1/; gm=1,025–табл.2/1/; Rs=0,58×Ryn/gm=0,58×245/1,025=138,63 МПа–табл. 1/1/; 6.2 Выбор расчетной схемы Расчетная схема колонны: в плоскости х–х: жесткое сопряжение с фундаментом; верхний конец свободен от закреплений в плоскости y–y: шарнирное сопряжение с фундаментом; верхний конец закреплен от перемещений, промежуточные закрепления
6.3. Сбор нагрузок на колонну На колонну действуют опорные реакции балок опирающиеся на неё.
Где
Где
Расчет относительно материальной оси. Сечение стержня подбираем относительно материальной оси y-y . Задаемся гибкостью λ=70 и находим соответствующее значение φ=0,754 (табл.72/1/). Требуемая площадь сечения:
и радиус инерции iх,тр=lх/λ=980/70=14 см. По сортаменту принимаем 2 швеллера [ 14 со значениями A и i , близкими к требуемым:
h=140 мм; bп=58 мм; tп=8,1 мм; tст=4,9 мм; Jx=493,0см4; Jy=51,5см4; ix=5,61 см; iy=1,81см; A=15,6 см2; cечение ориентируем по осям Сечение ориентируем по осям .Ось x-x совпадает с осью х. Материальная ось совпадает с плоскостью главной балки. Расчет относительно свободной оси. Определяем расстояние между ветвями колонны из условия равноустойчивости колонны в двух плоскостях λпр=λy . Гибкость относительно свободной оси х-х :
Принимаем λ1=30; λх=lх/iх=980/5,61=174,6 ; находим Полученной гибкости соответствует радиус инерции iу=lу/λу=490/172 =2,84 см по табл. 72/1/ при помощи интерполяции находим φ = 0,2
Устойчивость колонны обеспечивается.
Проверка сечения колонны относительно свободной оси (у-у): Для этого определяем геометрические характеристики всего сечения (геометрические характеристики ветвей даны в сортаменте): J1=51,5 см4; i1=1,81 см; z0=1,82 см; bтр=2*58=116 см;
Радиус инерции сечения стержня относительно свободной оси:
Гибкость стержня относительно свободной оси:
по табл.72/1/ при помощи интерполяции находим φ = 0,2
Устойчивость колонны в плоскости x-x обеспечена.
Сечение колонны подобрано рациональным. 7. Расчет и конструирование узлов. 7.1. Опирание балки настила на главную балку
7.1.1. Проверка устойчивости опорной части балки настила Устойчивость опорной части обеспечивается при условии:
bп – ширина полки главной балки; t – толщина стенки балки настила.
h – высота стенки балки настила;
Jоп.ч - момент инерции опорной части относительно продольной оси стенки.
Условие выполняется, установка опорных рёбер не требуется. 7.1.2 Установка поперечных ребер Условная гибкость стенки:
следовательно укрепляем стенку поперечными ребрами из условия устойчивости стенки Принимаем: - шаг ребер - высоту ребра назначаем hр= 420 мм; - ширину ребра - толщину ребра согласно сортаменту на сталь tр=10 мм; Определяем критические напряжения:
где Сcr=при помощи интерполяции принимается по табл. 21/1/, в зависимости от δ;
β= 0,8– табл. 22/1/;
где
Проверим на устойчивость стенку балки, укрепленную поперечными ребрами среднего и крайнего отсека.
Устойчивость отсека обеспечивается. 7.1.3 Проверка устойчивости стенки главной балки от действия местной нагрузки Прочность стенки обеспечивается, если:
Fоп –опорная реакция балки настила; lef=b+2tn –условная длина распределения нагрузки; b –ширина опорной части балки настила; tст – толщина стенки главной балки; tп – толщина полки балки настила.
Прочность от действия местной нагрузки обеспечивается. 7.2Оголовок колонны коробчатого сечения из прокатных профилей
Рис. Оголовок колонны опорная плита, 2- опорное ребро, 3- окаймляющее ребро Размеры опорной плиты назначаются конструктивно: tpl=10 мм; bpl=116 мм; hpl=240 мм, Опорное ребро. Высота опорного ребра назначается из условия прочности сварных швов: Rw¦=180 МПа – табл. 56/1/; gw¦=1–п. 11.2/1/; gс=1,1–табл. 6/1/; b¦=0,7–табл. 34/1; Rwz=0,45Run=0,45×365=164,3 МПа –табл. 3/1/; bz=1,0–табл. 34/1/; gwz=1–п.11.2/1/; Разрушение по по металлу шва:
Разрушение по границе сплавления:
Необходимую длина сварного шва определяем при разрушении по металлу шва:
где hp=lw +1=0,36+1=1,36 см. Конструктивно назначаем высоту реба hp=20 см, толщину tР=10мм. Поперечное сечение опорного ребра определяется из условия прочности смятия торцевой поверхности
где
Нижнее окаймляющее ребро. Назначаем ширину ребра bок.р= 116мм < H = 140 мм, толщину tок.р–10 мм. База калонны
Рис. База с ребрами жесткости 1 – стержень колонны, 2 – ребро, продолжение стенки, 3 – ребро продолжение полки
а) Определение площади опорной плиты
где N=qрср -усилие действующее на рабро, ср - длина ребра.
dр - ширина грузовой площади ребра α = 1 для бетонов ниже класса В 25; Аƒ = 2500 см2 – площадь фундаментной плиты (50Ч50см); Аpl = 1010,6 см2 (32,6Ч31см) – площадь базы колонны ; Rb = 8,5 МПа – расчетное сопротивление бетона класса 15 при местном сжатии. Принимаем плиту размером 32,6Ч31см, Аpl = 1010,6см2, а фундамент размером 50Ч50см , Аƒ = 2500 см2. б) Определение толщины плиты: Фактическое давление под плитой:
Рассматриваем три участка : консольные участки плиты (участок №1), участок опертый на три стороны, участок опертый по контору (участок №3). Выделяем на первом участке плиты полосу шириной 1 см и определяем момент:
Участок №2 работает как плита, опертая на три стороны, т.к. выполняется условие:
Участок №3 работает как плита опертая на четыре стороны, т.к. выполняется условие:
Толщина плиты определяется из условия
Принимаем tpl=20мм. в) Расчет траверсы колонны Усилие с колонны передается на траверсу через сварной угловой шов. Соединение осуществляем ручной сваркой электродами Э42, марка проволки Св-08А. Определяем расчетные характеристики сварного углового шва: Rw¦=180 МПа–табл. 56/1/; gw¦=1 –п. 11.2/1/; gс=1,1–табл. 6/1/; b¦=0,7 – табл. 34/1; Rwz=0,45Run=0,45×365=164,3 МПа–табл. 3/1/; gwz=1–п. 11.2/1/; gс=1,1– табл. 6/1/; bz=1,0 – табл. 34/1/; разрушение по металлу шва:
разрушение по границе сплавления:
Расмчетная длина сварного шва определяется по металлу шва:
где kƒ=10 мм – катет сварного шва; n=4 – количество швов; Геометрические размеры траверсы. Примем толщину ребра tр=10мм. Принимаем hр=200 мм; (конструктивная длина сварного шва 200-10=190 мм). Проверка прочности ребра.
где dр=Вpl/2=0.326/2=0.163 –ширина грузовой площади ребро. Расчетная схема ребра – это однопролетная балка с консолями Расчетные усилия в ребре:
Определение геометрические характеристики сечения A1=20 см2; A2=31см2;
Проверка прочности по нормальным напряжениям:
Прочность обеспечена. Проверка прочности по касательным напряжениям:
Прочность обеспечена. Проверка прочности от совместного действия нормальных и касательных напряжений:
Прочность от совместного действия нормальных и касательных напряжений на опоре обеспечена. Проверка прочности сварных угловых швов соединяющих ребро и колонну от действия нормальных и касательных напряжений:
Прочность обеспечивается. Анкерные болты назначаем конструктивно d=20 мм. Проверка прочности фундамента:
Условие прочности выполняется. 8. Расчёт связей Сечение связей подбираем по предельной гибкости для растянутых элементов. [λ] = 300 -табл.20/1/.
где Расчетные длины связей
По сортаменту принимаем два неравнополочных уголка 56Ч36Ч5: B=56 мм; b=36 мм; d=5 мм; А=4,41 см2; Jx=13,80 см4; Jy=4,48 см4; iy=1,01 см; Определяются геометрические характеристики:
Гибкость в плоскости Проверка устойчивости в плоскости x-x:
Гибкость в плоскости x-x Условие устойчивости в плоскости x-x выполняется. 8. Список литературы СНиП II – 23 – 81. Стальные конструкции. Госстрой СССР. – М.: ЦИТП Госстроя СССР, 1988. – 96 с. СНиП 2.01.07 – 85. Нагрузки и воздействия. Госстрой СССР. – М.: ЦИТП Госстроя СССР, 1988. – 36 с. Металлические конструкции. Общий курс: Учебник для вузов/ Е.И.Беленя, В.А.Балдин, Г.С. Ведерников и др.; Под общей редакцией Е.И.Беленя.- 6-е изд., перераб. И доп. – М.: Стройиздат, 1986. – 560с. Металлические конструкции. В 3-х т. Т.1. Элементы конструкций: Учеб. Пособие для строит. Вузов/ В.В.Горев, Б.Ю.Уваров, В.В.Филиппов и др.; Под ред. В.В.Горева. – М.: Высш. Шк. 1997. – 527 с.: ил. Металлические конструкции. В 3-х т. Т.2Конструкции зданий: Учеб. Пособие для строит. Вузов/ В.В.Горев, Б.Ю.Уваров, В.В.Филиппов и др.; Под ред. В.В.Горева. – М.: Высш. Шк. 1999. – 528с.: ил. Расчет стальных конструкций: Справ. пособие / Я.М. Лихтарников, Д.В. Ладыжский, В.М. Клыков. – 2-е изд., перераб. И доп. – Киев: Будивельник, 1984. – 386с. Справочник проектировщика промышленных, жилых и общественных зданий и сооружений. Расчетно – теоретический. В 2-х т. Т.1 /Под ред. А.А.Уманского. – 2-е изд., перераб. и доп. – М: Стройиздат, 1972. –600с. Стальные конструкции. Справочник конструктора. Изд.3-е, перераб. и доп. Под общ. ред. Н.П.Мельникова. М., Стройиздат, 1976. 328 с. Швеллеры стальные горячекатаные. ГОСТ 8240-97. Двутавры стальные горячекатаные. ГОСТ 8239—89. Двутавры стальные горячекатаные с параллельными гранями полок. ГОСТ 26020—83. Сталь листовая горячекатаная. (выборка из ГОСТ 19903-74*). Сталь прокатная широкополосная универсальная. ГОСТ 82-70*. Уголки стальные горячекатаные равнополочные. (выборка из ГОСТ 8509-93). Уголки стальные горячекатаные неравнополочные. ГОСТ 8510-86. Швеллеры стальные гнутые равнополочные. ГОСТ 8278-83.
|
|||||||||||||||||||||||||||||||||||||||



, где














;
, 










;