Курсовая работа: Разработка технологического процесса и оснастки для сборки узла отсека Нервюра 2
|
Название: Разработка технологического процесса и оснастки для сборки узла отсека Нервюра 2 Раздел: Промышленность, производство Тип: курсовая работа |
|
Разработка технологического процесса и оснастки для сборки узла отсека: Нервюра №2. Содержание: 1. Конструктивно-технологический анализ сборочной единицы 1.1. Описание конструкции сборочной единицы и взаимосвязи ее с другими сборочными единицами, составляющими агрегат 1.2. Оценка технологичности конструкции с использованием соответствующих ГОСТов 1.3. Разработка технологических условий на изготовление сборочной единицы 2. Выбор и обоснование метода сборки, схемы сборки узла, панели, секции и увязки оснастки 2.1. Выбор и обоснование метода сборки и схемы сборки 2.2. Составляющие номенклатуры сборочной оснастки и схемы увязки оснастки 2.3. Расчет точности сборки по принятому варианту 2.4. Выводы, заключения по принятому методу сборки и составление технических условий на поступающие в сборку детали и узлы 2.5. Разработка маршрутного технологического процесса 3. Разработка операционного технологического процесса сборки 3.1. Составление техпроцесса по операциям и переходам на основании маршрутной технологии, типовых технологических процессов и нормалей операции Заполнение карт процесса сборки, нормирование рабочих операций 4. Разработка технологической оснастки 4.1. Разработка схемы базирования сборочной единицы 4.2. Разработка ТУ на проектирование приспособления 4.3. Разработка чертежей общего вида приспособления со спецификацией 4.4. Разработка конструкций фиксатора для деталей Список используемой литературы 1. Конструктивно - технологический анализ сборочной единицы 1.1. Описание конструкции сборочной единицы и взаимосвязи ее с другими сборочными единицами, составляющими агрегат Нервюра (франц. nervure, от лат. nervus - жила, сухожилие) элемент поперечного силового набора каркаса крыла, оперения и других частей летательного аппарата, предназначенный для придания им формы профиля. Нервюры закрепляются на продольном силовом наборе (стрингерах, лонжеронах) и служат основой для крепления обшивки. В данной работе рассматривается нервюра №2. Данная нервюра входит в состав крыла самолета. Внешние контуры как силовых, так и типовых нервюр должны точно соответствовать выбранному профилю крыла. Конструкция как силовых, так и типовых нервюр может быть самой различной. Однако в любом случае нервюра должна иметь полку, воспринимающую изгиб. Роль такой полки в отштампованных нервюрах может выполнять отбортовка. При небольших удельных нагрузках на крыло нервюры могут быть бесстеночными. Изготовление заготовок для таких нервюр, а также заготовок полок силовых нервюр при неизменном профиле крыла можно существенно упростить, сохраняя высокую точность изготовления, при использовании приспособления. Сборка нервюр производится в стапеле с обязательной фиксацией внешнего контура. Конструктивно нервюра представляет собой верхние и нижние пояса, соединяемые стенками. Также в состав нервюры входят стойки и компенсаторы. Для соединения всех деталей используются болты. Все детали нервюры №2 выполнены из авиационного алюминия марки Д16Т.
1.2. Оценка технологичности конструкции с использованием соответствующих ГОСТов Под технологичностью конструкции следует понимать сложный комплекс свойств изделия, обеспечивающий его производство и эксплуатацию с наименьшими для данных условий и времени затратами овеществленного и живого труда. Технологичность - свойство конструкции, заложенное в ней при проектировании и позволяющей получить наиболее рациональными способами изделие с высокими эксплутационными качествами при наименьших затратах труда, средств и материалов. Технологичность определяют по ряду показателей, которые зависят от вида изделия, специфики и сложности конструкции, объема выпуска, типа производства и т.д. Таким образом, показатели технологичности для каждой конструкции могут быть своими. Технологичность определяется рядом факторов в соответствии с ГОСТ 18831-73 и ГОСТ 14201-14205-73: - формой деталей, узлов и агрегатов, - панелированием и рациональность членения, - точностью изготовления агрегатов, - конструкцией стыков, - способами соединений, - материалом и точностью изготовления деталей, - степенью стандартизации и нормализации и т.д. Так же для технологических процессов сборки конструкции узлов должны обеспечивать максимальную механизацию сборочных работ. Это возможно при условии, если узлы имеют открытые двухсторонние подходы к месту сборки, размеры узлов соответствуют параметрам высокопроизводительного оборудования – клепальных прессов, сварочных машин, сверлильного оборудования и т.д., расположение швов на панелях прямолинейно, без закрутки по длине, шаг соединений стандартизирован, заклепки, сварные точки одного размера, пакет постоянной толщины. Оценивая технологичность конструкции нервюры №2, и учитывая требования ГОСТов, можно отметить следующее: 1. нервюра №2 может быть расчленена на рациональное число конструкций, а именно: верхние и нижние пояса, стойки, стенки, компенсаторы. 2. в собираемой конструкции верхние и нижние пояса, стойки, стенки, компенсаторы и детали крепежа изготовлены из стандартных профилей и листа. 3. сборка изделия требует применение сборочного приспособления, т.е. сложного технического оснащения. 4. при сборке нервюры можно использовать средства механизации и автоматизации образования клепаных швов; шаг между заклёпками постоянный, доступ к соединениям двухсторонний. Такие швы можно получить с помощью автоматического прессового оборудования. 5. подконструкции, входящие в состав сборочной единицы, имеют незначительный вес, поэтому отпадает необходимость в специальных конструктивных элементах для захвата грузоподъёмными средствами. 6. конструкция тонкостенная, состоит из нежестких деталей, поэтому в качестве баз при сборке используются базовые поверхности приспособления. 7. нервюру можно собирать без промежуточных разборок. 8. компоновка конструкции обеспечивает доступ ко всем местам, требующим контроля, регулировки и проведения других работ. 9. места соединения составных частей отвечают требованиям минимума соединительных швов. 10. точность, указанную в технических условиях на собираемую нервюру, можно обеспечить только при сборке в приспособлении. 11. сборочная единица не содержит деталей, для изготовления которых необходимо использовать нестандартные технологические процессы. Таким образом, анализируя все факторы технологичности конструкции, можем сделать вывод, что нервюра №2 технологична.
1.3. Разработка технологических условий на изготовление сборочной единицы Все детали, идущие на сборку нервюры, должны соответствовать конструкторской документации. Допускается плавное отклонение от теоретического контура нервюры не более 1,5 мм. Технические требования: 1. требуемая точность изготовления и увязки составляет: δ = ± 2 мм; 2. контролировать сборочную единицу по чертежам; 3. для получения заданного взаимного расположения деталей используется сборочное приспособление с фиксаторами; 4. в паспорт заносится порядковый номер и вес нервюры. 2. Выбор и обоснование метода сборки, схемы сборки узла, панели, секции и увязки оснастки
2.1. Выбор и обоснование метода сборки и схемы сборки Технологическая схема оборки - это документ, укрупнено показывающий порядок выполнения работ по подсборкам и последовательность поступления в них деталей на каждом этапе; порядок подачи подсборок, а также отдельных деталей при окончательной сборке При выборе метода сборки определяющей величиной является точность изготовления агрегата, которая задаётся конструктором и рассчитывается технологом для этапов сборки секций и узлов. Вторым критерием выбора варианта сборки сборочной единицы является её конструктивно – технологические особенности: жесткость обшивки и элементов каркаса, наличие компенсации, возможность подхода при сборке и т.д. И только третьим критерием выбора метода сборки является экономическая эффективность, оцениваемая по расчету затрат сравниваемых вариантов сборки. От метода сборки в значительной степени зависит возможность обеспечения точности собираемого объекта, сложность оснастки и трудоёмкость сборки. Для нервюры №2 наиболее рациональными методами сборки, являются сборка в приспособлении и сборка по сборочным отверстиям. При сборке в сборочном приспособлении координация деталей осуществляется по базовым элементам приспособления. Конечный размер сборочной единицы образуется как результат переноса на нее размера сборочного приспособления. Приспособление позволяет: правильно и быстро расположить детали в пространстве и зафиксировать их; придать заданную форму недостаточно жестким деталям; широко использовать при сборке принцип компенсации погрешностей изготовления деталей. По сборочным отверстиям собираются плоские элементы конструкции или устанавливаются детали, не влияющие на точность обводов агрегата. В данном случае такими элементами являются стойки и компенсаторы.
Рис. 1. Схема сборки.
2.2. Составляющие номенклатуры сборочной оснастки и схемы увязки оснастки Для сборки нервюры №2 необходимо использование специального приспособления. Характерным его признаком является то, что оно позволяет собирать группу однотипных узлов. Наладку на конкретный типоразмер узла производят в соответствии с паспортом СП и информацией о его элементах. В СП выполняют сверление всех отверстий под заклепки и предварительную сборку — соединение деталей между собой, а затем передают узел для клепки на клепальный пресс. Номенклатура На сборку поступают следующие детали: верхние и нижние пояса, стойки, стенки, компенсаторы. Сборка верхнего и нижнего поясов и стенки происходит по поверхности каркаса. Стенки нервюры поступает на сборку обработанной по обводам и торцам. Пояса - верхний и нижний, поступают на сборку окончательно обработанными. Стойки и компенсаторы подаются на сборку с изготовленными в них отверстиями для сборки. По сборочным отверстиям устанавливаются стойки и компенсаторы для придания жесткости конструкции. Схема увязки
Увязка - это соответствие одних и тех же размеров у двух или нескольких объектов. Способы увязки делятся на две большие группы, характеризующиеся зависимым и независимым образованием размеров. К первой группе относятся инструментально-шаблонный и эталонно-шаблонный методы. Инструментально-шаблонный метод предусматривает использование плоских шаблонов и специальных координирующих средств плазкондуктора и инструментального стенда. Метод наиболее прост и дешев, однако наименее точен при увязке приспособлений для сборки агрегатов, применяется в производстве самолетов тяжелого и среднего класса преимущественно средних скоростей полета. Эталонно-шаблонный метод основан на использовании объемного первоисточника формы и размеров - эталона поверхности. Перенос размеров на оснастку осуществляется методом слепка. Данный метод обеспечивает самую высокую точность увязки оснастки по стыкам и обводам, однако цикл подготовки производства и затраты при нем оказываются наибольшими. Используется главным образом для небольших скоростных машин, требующих высокой точности изготовления по аэродинамической поверхности. Ко второй группе относятся машиностроительный метод, основанный на использовании системы допусков и посадок, а также универсальных измерительных средств, и метод, основанный на математическом задании поверхности агрегатов с последующим пересчетом размеров на оснастку с помощью специального математического обеспечения и ЭВМ. Предпочтение следует отдавать методам второй группы, так как они имеют очевидные преимущества: освобождают производство от трудоемких и дорогостоящих в изготовлении шаблонов и эталонов; сокращают цикл подготовки производства; органично сочетаются с использованием оборудования с ЧПУ; повышают точность изготовления объекта за счет резкого сокращения количества этапов переноса размеров. Для увязки расположения элементов сборочных приспособлений на плоскости или в пространстве используются плазкондуктор или инструментальный стенд, а также оптические и лазерные системы. В данной работе используется инструментально-шаблонный метод. В качестве первоисточника размеров принимается теоретический плаз. Промежуточными материальными носителями являются шаблоны (плоские металлические узлы), имеющие определенный контур. Для создания пространственных объектов используются инструментальные средства: плаз-кондуктор и инструментальный стенд. Теоретический плаз – плаз совмещенных сечений теоретического контура, выполненный, как правило, на металлическом листе. Конструктивный плаз - плаз, соответствующий одному какому-либо сечению и в нем прочерчиваются все входящие в сечение детали для последующей увязки. Рабочий шаблон – металлические листы, обработанные по контуру.
Рис. 2. Схема увязки.
2.3. Расчет точности сборки по принятому варианту В данной работе используется сборка в приспособлении при инструментально-шаблонном методе увязки.
1 – пояс нервюры; 2 – стенка нервюры; 3 – упор приспособления. В данном сечении строим размерную цепь, в которой замыкающее звено – это размер погрешности, которую хотим определить, а составляющие звенья – это размеры, точность которых влияет на погрешность искомого размера. LСЕ = LП – LБ , Здесь LCE – замыкающее звено; LП – размер приспособления; LБ – величина зазора между поясом узла и фиксатором приспособления, характеризующая погрешность базирования. Погрешность узла определяется формулой δСЕ = δП + δБ . Погрешность базирования величина очень малая и из статистики δБ = -0,05±0,1 мм. Для того, чтобы найти δП , необходимо знать как настраивается приспособление. приспособление настраиваем с помощью шаблонов приспособления, где шаблон приспособления – это лист с контуром, выполненным по заданной поверхности. Погрешность приспособления δП находиться из рассмотрения его схемы увязки:
±0,1 мм ±0,1 мм ±0,1 мм -0,1 мм Тогда δП
δСЕ
Расчеты показывают, что собранная нервюра будет иметь погрешность меньше Поле допуска 0,9 мм. Далее сравниваем получившийся допуск с ранее заданным допуском, а именно требуемая точность изготовления и увязки составляет: [δ] = ± 2 мм, полученный результат δ = 0,9 мм.
2.4. Выводы, заключения по принятому методу сборки и составление технических условий на поступающие в сборку детали и узлы Выбранный метод сборки и схема увязки обеспечивает сборку конструкции с заданной точностью. Технические условия на поступающие в сборку детали: Верхние и нижние пояса, стойки, стенки, компенсаторы – подавать на сборку согласно чертежу. Стенка нервюры поступает на сборку обработанной по обводам и торцам и с СО по стойкам. Пояса поступают на сборку окончательно обработанными. При ручном управлении перемещением сверлильного агрегата в поясах и стойках сверлят направляющие отверстия, а при автоматическом управлении его перемещением направляющие отверстия не сверлят. Стойки имеют СО для установки их на стенку нервюры. 2.5. Разработка маршрутного технологического процесса Маршрутный технологический процесс содержит перечень операций с указанием их наименования и краткое содержание используемого на каждой операции оборудования, нормы времени, количество специализаций и разряд рабочих для выполнения каждой операции, номер цеха, где она производится. Маршрутный технологический процесс служит для организации, планирования и оценки работы; он определяет маршрут и последовательность прохождения сборочной единицы по цехам и участкам, потребное оборудование, количество и квалификацию рабочих, а также нормы и расценки на выполнение операций. Многообразие сборочных работ можно условно разделить на следующие виды: 1) входной контроль деталей и узлов; 2) установка деталей в заданное чертежом положение и их закрепление; 3) подготовка к соединению (сверление и обработка отверстий под клепку, зачистка швов под сварку, подготовка к оклеиванию, пайке и т.п.); 4) операции скрепления деталей (клепка, сварка, пайка и т.п.); 5) выемка объекта из приспособления; 6) заключительные работы; 7) контроль точности обводов и качества соединений. Маршрутный технологический процесс 1. Контроль деталей. 2. Подготовка деталей. 3. Подготовка сборочного приспособления. 4. Установка стенки нервюры в заданное чертежом положение. 5. Закрепление стенки фиксаторами. 6. Установка поясов в заданное чертежом положение. 7. Закрепление поясов фиксаторами. 8. Установка стоек по СО. 9. Закрепление стоек техническими болтами. 10. Установка компенсаторов по СО. 11. Закрепление компенсаторов техническими болтами. 12. Сверление и обработка отверстий под клепку в местах согласно чертежу. 13. Клепка деталей. 14. Сверление и обработка отверстий под клепку в торцевых концах нервюры. 15. Выемка сборочной единицы из приспособления. 16. Заключительный контроль точности обводов и качества соединений. 3. Разработка операционного технологического процесса сборки
Технологический процесс сборки – это последовательность установки в сборочные положения деталей, их фиксация и соединение между собой способами, указанными конструктором, выбор необходимого инструмента и оборудования, определение необходимого количества рабочих требуемой специальности и разряда, а также расчет норм времени. Весь технологический процесс делится на операции, которые, в свою очередь, состоят из переходов.Операция – законченная часть технологического процесса, выполненная на одном рабочем месте; технологический переход – законченная часть технологической операции, выполняемая одними и теми же средствами технологического оснащения при постоянных режимах и установке.Операционный процесс представляет собой подробное раскрытие каждой операции по переходам с указанием содержания каждого перехода, технологических режимов, используемой оснастки и инструмента. Для каждой операции (перехода) указывают базовые поверхности деталей и приспособления, средства фиксации деталей, применяемый инструмент и оборудование.Операционный технологический процесс является руководством рабочего, он регламентирует способ выполнения работ, оснастку, инструмент и режим работы.
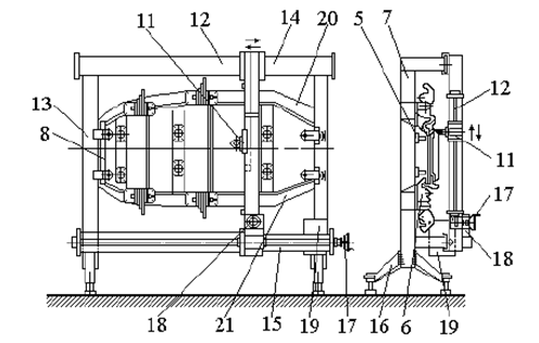
3.1. Составление техпроцесса по операциям и переходам на основании маршрутной технологии, типовых технологических процессов и нормалей операции Заполнение карт процесса сборки, нормирование рабочих операций (См. технологический процесс.) Процесс сборки: Сборку нервюры производят в следующем порядке. На опорные поверхности 5 и поверхности откидных фиксаторов 6, 7 устанавливают стенку нервюры. При этом торец стенки в продольном направлении ориентируют по базовой плите 8 и прижимают к ней подвижным прижимом-фиксатором 9, а в поперечном направлении стенку ориентируют на базовые поверхности нижних откидных фиксаторов 6. Затем на стенку устанавливают пояса и прижимают к рабочим контурам фиксаторов 6, 7 зажимами 10. Стойки устанавливают на стенку по СО и фиксируют технологическими болтами. После этого, как при ручном, так и при автоматическом режимах управления сверлильной головкой сверлят все отверстия под заклепки. В СП производят предварительную сборку — соединение деталей заклепками. Клепку производят переносными прессами и клепальными молотками. При этом устанавливают 15 ... 20 % заклепок, входящих в узел. Затем сверлят по два отверстия СО в торцах нервюры. Сверление СО производят сверлильной головкой 11 при ручном управлении перемещением сверлильного автомата и траверсы 12. Указанные СО в торцах нервюры согласованы с СО в стойках лонжеронов крыла и оперения и служат базой для сборки секции крыла. 4. Разработка технологической оснастки
4.1. Разработка схемы базирования сборочной единицы Детали в сборочное положение устанавливают по базам – поверхностям на деталях и элементах сборочного приспособления. Точность изготовления деталей изделия, образование на них базовых поверхностей и точность изготовления сборочного приспособления является важнейшим условием получения требуемой формы и размеров узлов, отсеков и агрегатов. В самолетостроении детали, узлы, отсеки и агрегаты базируют по: СО, КФО, ПК, НП, ВП, ОСБ, УБО. В ряде случаев вместо УБО используют ТСО. Схемы базирования указывают, какие точки, линии или поверхности деталей приняты в качестве сборочных баз, как и в каком количестве они располагаются на деталях, в какой последовательности изменяются по этапам сборки. Графическое изображение сборочных баз на схеме базирования осуществляется с помощью условных обозначений, отвечающих различным конструктивным решениям базовофиксирующих элементов приспособления. Схемы базирования дают конструктору информацию о размещении базовых элементов приспособления и их конструкции в зависимости от вида реализуемых баз. При разработке схемы базирования необходимо стремиться к соблюдению трех основных принципов: единства, постоянства и совпадения баз. В целях соблюдения принципа единства баз следует за базовые оси приспособления, относительно которых координируются базовые элементы, принимать конструктивные оси изделия. Принцип постоянства баз заключается в соблюдении общности основных базовых осей для узловых, панельных, секционных сборочных приспособлений, относящихся к данному агрегату. Принцип совпадения баз предполагает, что при изготовлении, детали и ее установке в сборочное приспособление попользуются одни и те же ее поверхности в качестве баз. Соблюдение этих принципов обеспечивает наиболее высокую точность сборки. В данной работе в качестве базы приняты поверхности деталей каркаса, опорные поверхности СП и СО.
Рис. 3. Схема базирования.
4.2. Разработка ТУ на проектирование приспособления Сборочное приспособление – устройство, обеспечивающее определенное взаимное расположение, фиксацию и соединение деталей и сборочных единиц (панелей, узлов, секций, отсеков) самолета с заданной точностью. Оно позволяет: собрать из нежестких элементов конструкции жесткую сборочную единицу самолета с заданной точностью и с учетом конструктивно – технологических требований к ним; обеспечить взаимозаменяемость сборочных единиц, как по контуру, так и частично по разъемам; повысить производительность труда на сборочных работах. Приспособление проектируется на основании технического задания. Техническое задание должно содержать следующие сведения: - назначение приспособления; - основные требования к приспособлению (метод сборки, освещение, оборудование, температура, давление, в которых будет работать приспособление); - указания на основные технологические базы и фиксирующие элементы с перечислением узлов и деталей, фиксируемых в приспособлении; - краткая последовательность технологического процесса сборки; - указание на взаимозаменяемые элементы и сопрягаемые поверхности и степени точности их изготовления; - вид механизации приспособления (пневматика, механические зажимы, противовесы и т. д.); - указание по единству баз, в приспособлениях и стапелях для сборки смежных узлов и агрегатов; - указания: передвижная, вращающаяся, стационарная и т.д. - для разъемного приспособления способ разъема (ручной, механизированный, другой). При проектировании приспособления конструктор обязан руководствоваться: - технологическим заданием на данное приспособление; - чертежами на собираемые узлы, агрегаты, на входящие в их состав детали и ТУ к ним; - перечнем средств увязки к данному приспособлению (эталоны, макеты, шаблоны и т.д.); - перечнем готовых изделий; При изготовлении приспособления: - руководствоваться конструкторской документацией; - к изготовлению сборочного приспособления допускаются рабочие, имеющие квалификационный разряд не ниже разряда работы; - для контроля изготовления и приемки деталей и узлов приспособления применять только аттестованные средства контроля. Технические требования: Сборочное приспособление состоит из элементов каркаса (стойки 13, направляющих рам 14 и 15 и опоры 16). На направляющих рамах 14 и 15 установлена траверса 12, а на траверсе установлена сверлильная головка 11. Движение траверсы и сверлильного агрегата осуществляется вручную маховиками 17 или автоматически по программе с помощью приводов 18 и 19. На дополнительных поперечных рамах 20 и 21 установлены пакеты пластинчатых откидных фиксаторов 6 и 7. Базовые поверхности фиксаторов выполнены в соответствии с внешними контурами поясов 2 и 3 и стенки 1 нервюры, собираемой в данном СП. На каждом откидном фиксаторе указан номер нервюры, соответствующий фиксатору. Пакет откидных пластинчатых фиксаторов снабжен эксцентриковым зажимом 22, предназначенным для закрепления требуемого фиксатора в рабочем положении. Перенастройка СП для сборки следующей нервюры осуществляется заменой одного комплекта фиксаторов 6 и 7 на другой комплект соответствующего типоразмера нервюры в соответствии с указанной на них информацией.
4.3. Разработка чертежей общего вида приспособления со спецификацией
4.4. Разработка конструкций фиксатора Фиксаторы и прижимы являются элементами приспособления, с помощью которых собираемые детали устанавливают и закрепляют в сборочном положении.
Список используемой литературы 1. Бабушкин А.И. Методы сборки самолетных конструкций. М.: Машиностроение, 1985. 2. Григорьев В.П., Ганиханов Ш.Ф. Приспособления для сборки узлов и агрегатов самолетов и вертолетов. М.: Машиностроение, 1977. 3. Курс лекций по дисциплине: «Сборка металлических и композиционных конструкций». 4. Лысов М.И., Васильев Г.Н. Проектирование технологического процесса сборки. Методическое руководство к курсовому проектированию. Казань: КАИ, 1980. 5. Лысов М.И., Кузнецов А.М. Проектирование сборочной оснастки. Методическое руководство к курсовому проектированию по технологии сборки самолетов. Казань: КАИ, 1980. 6. Расчёт ожидаемой точности сборки узлов и отсеков: Учебное пособие. Казань: КАИ, 1993. 7. Халиулин В.И. Проектирование технологических процессов и оснастки для сборки отсеков летательных аппаратов. Учебное пособие. Казань: КАИ, 1988. 8. Халиулин В.И., Шапаев И.И. Технология производства композитных изделий. Казань: КАИ, 2004.
|



