Реферат: ППЗ автотранспортного горіння легкових автомобілів
|
Название: ППЗ автотранспортного горіння легкових автомобілів Раздел: Рефераты по астрономии Тип: реферат | |||||||||||||||||||||||||||||||||
ЧІПБ ім. Героїв Чорнобиля МВС України Кафедра пожежної профілактики КУРСОВА РОБОТАз предмету “Пожежна профілактика в будівництві” Тема: “ППЗ автотранспортного горіння легкових автомобілів” ВИКОНАВ: слухач ІІ курсу 1 групи ЧІПБ МВС України ФЗН спеціальність 7.092.107 Вацик Ігор Ярославович ПЕРЕВІРИВ: Шифр: 98008 Черкаси 2000 р. Введення. Людина створює таке штучне середовище, де практично все, починаючи від будівельних матеріалів, технологічних процесів, машин, механізмів і закінчуючи побутовими машинами, речами просякнуте підвищеною пожежною небезпекою. Необхідність підвищення рівня пожежної безпеки об’єктів народного господарства особливо актуальне на сучасному етапі економічного та соціального розвитку України. Аналіз пожеж в Україні за 1999 рік, в порівнянні з 1998 роком, вказує на зменшення кількості пожеж на 2,5% (40237 проти 41294), але при цьому збільшились збитки на 12,6% (33 млн.715 тис. проти 29 млн. 931 тис. грн.). Статистика вказує на необхідність покращення профілактичної роботи на об’єктах народного господарства. Як свідчить досвід, ефективним напрямком в рішенні протипожежного захисту об’єктів народного господарства є впровадження засобів пожежної автоматики, які, якщо так можна сказати, компенсують наслідки науково-технічної революції. Сучасна техніка розвивається на основі безперервного росту рівня автоматизації і механізації виробництва, а також впровадження нових технологічних процесів, які відбуваються при високих температурах, тиску і швидкостях переробки сировини, яка має підвищену пожежну небезпеку. Для будівництва споруд, будинків все більше використовують полегшені конструкції з металу і полімерних матеріалів, які мають низьку вогнестійкість. Необхідність впровадження засобів АППЗ виходить з положень Закону України “Про пожежну безпеку”, де в статті 5 “Обов’язки підприємств, установ та організацій”, чітко говориться, що власники зобов’язані здійснювати заходи по впровадженню засобів виявлення та гасіння пожеж і використання для цієї мети виробничої автоматики. 1. Обґрунтування необхідності використання та виду АППЗ. Для вирішення щодо необхідності АППЗ та його виду (АУП, АПС) використовуються нормативний і розрахунково-графічний методи. Нормативними документами щодо впровадження засобів АППЗ на об’єкти є: · Наказ МВС України № 779 від 20.11.97 р. Про затвердження переліку однотипних за призначенням об’єктів, які підлягають обладнанню автоматичними установками пожежегасіння та пожежної сигналізації. [1] · Перечни зданий и помещений объектов народного хозяйства СССР, подлежащих оборудованию автоматическими средствами пожаротушения и автоматической пожарной сигнализацией. [2] В цих документах необхідність застосування АППЗ та її вид приписуються для конкретних виробничих та інших приміщень чи об’єктів в залежності від призначення приміщень, характеру технологічних процесів, площі (об’єму) приміщень та інших факторів. Відповідно до виданого типового завдання на курсове проектування (009) і Методичних вказівок та завдань до виконання КП з дисципліни “Пожежна автоматика”, розглянемо три заданих приміщення, виходячи з додатку 1 (таблиці 1.1 і 1.2). Виходячи з [1], розділ 2.1, таблиця 3, п.9 – Приміщення виробництва деталей з горючих матеріалів обладнуються АУП при площі >500 кв. м. Виходячи з [2] наказом по міністерству від 28.02.76 р. необхідно обладнувати АУП дільницю пошиття виробів з горючих матеріалів для автомобілів площею 200 кв. м. і більше (п.6) системою АПС площею від 100 до 1000 кв. м. (п.7). ВИСНОВОК: - дільниця пошиття виробів з горючих матеріалів для автомобілів обладнанню автоматичними засобами пожежегасіння і пожежною сигналізацією не підлягає. 2. Приміщення виготовлення та обробки матеріалів з гуми. Розміри приміщення: довжина “А” – 20 м., ширина “В” – 16 м., висота “h” – 4 м., коефіцієнт поверхні горіння К=1,5, кількість згоряємих матеріалів Р=70 кг/куб. м. Виходячи з [1], розділ 2.1, п.9 – Приміщення виробництва деталей з горючих матеріалів обладнують АУП при площі >500 кв. м., а засобами АПС при площі менше 500 кв. м. Виходячи з [2] наказом по міністерству від 28.02.76 р., необхідно обладнувати приміщення виготовлення гумотехнічних виробів площею 500 кв. м. і більше (п.10), при площі від 100 до 500 кв. м. приміщення обладнується автоматичною пожежною сигналізацією (п.5). ВИСНОВОК: - приміщення виготовлення та обробки матеріалів з гуми площею 320 кв. м. підлягає обладнанню АПС. 3. Приміщення для ремонту трансформаторів. Розміри приміщення: довжина “А” – 35 м., ширина “В” – 17 м., висота “h” – 6 м. Виходячи з [1], розділ 2.1, п.12 – Ремонтні приміщення обладнуються АУП при їх площі >750 кв. м., АПС при меншій площі. Виходячи з [2], наказом по міністерству від 28.02.76 р. необхідно обладнувати АУП майстерні по ремонту трансформаторів з площею 500 кв. м. і більше (п.10), майстерні площею від 100 до 500 кв. м. обладнуються АПС. ВИСНОВОК: - приміщення майстерні по ремонту трансформаторів площею Fn =595 кв. м. підлягає обладнанню АУП. 2. Короткий аналіз пожежної небезпеки приміщень що захищаються АУП та АПС. Приміщення для ремонту трансформаторів має розміри в плані 35х17х6 м., призначено для розробки, перемотки, зборки, підготовки до експлуатації потужних трансформаторів. Особливістю технології є необхідність заливки трансформаторів рідинними мастилами (солярове) Температура в приміщенні +140 С, відносна вологість 60%, швидкість повітряних потоків 3,5 м/с. Площа можливого розливу ЛЗР до 10 кв. м. В приміщенні ремонту трансформаторів знаходиться велика кількість лакованого дроту, в ємностях солярове і трансформаторне мастило, нітроемалі. Лакові плівки це горючі тверді речовини, нітроемаль це легкозаймиста рідина, мастило солярове це в’язка горюча рідина, щільність – 892 кг/куб. м., температура кипіння – 264-31-0 С, температура спалаху – 142 0 С, температура самоспалаху – 360о С, температурна межа самоспалаху – нижня – 116о С, 147о С. Мастило трансформаторне це також горюча рідина, щільність – 877 кг/м3 . температура спалаху 47о С, самоспалаху 270о С, температурна межа розповсюдження полум’я: нижня 125о С, верхня 193о С. – горить інтенсивно з виділенням щільного чорного диму. [4] Приміщення для ремонту трансформаторів має категорію виробництва за вибуховою, вибухопожежною та пожежною небезпекою “В” (ОНТП 24-86, табл 1), клас вибухонебезпечної зони за ПУЕ – П-1 (п. 7.4.3.) Характерними ознаками пожежі буде: швидке підвищення температури та значне димоутворення. Приміщення виготовлення та обробки матеріалів з гуми має розміри в плані 20´16´4 м., коефіцієнт поверхні горіння – К =1,5, кількість згоряємих матеріалів Р =70кг/м3 . Температура в приміщенні +21о С, відносна вологість 90%, швидкість повітряних потоків 5 м/с. В виробництві використовують в основному гума яка є горючим твердим матеріалом Дисперсність взірця 74 мкм. Температура самоспалаху 350 о С; нижня межа розповсюдження полум’я 25 г/м3 ; максимальний тиск вибуху 551 кПа; максимальна швидкість нарощування тиску 26.2 МПа/с; мінімальна енергія запалення 50 МДж. В виробництві також застосовується гумова плитка – це також горючий матеріал. Склад, %(мас): рубракс 335, волокниста суміш 35, гумова окрошка 15, мінеральний наповнювач 15. Маса 1 м2 складає 3,8 кг. Показник горючості більше 2.1. Відрізняється великою швидкістю горіння і великим димовиділенням [4]. Приміщення виготовлення та обробки матеріалів з гуми має категорію виробництва за вибуховою, вибухопожежною та пожежною небезпекою “В” (ОНТП 24-86, табл. 1), клас вибухонебезпечної зони за ПУЕ – П-ІІа (п.7.4.5.). Характерними ознаками пожежі буде: значне димоутворення та швидке підвищення температури. 3. Вибір типу установки пожежегасіння. Тип установки пожежегасіння визначається видом вогнегасної речовини, методом гасіння та збуджувальною системою. З урахуванням сумісності властивостей вогнегасної речовини та матеріалу, що підлягає гасінню, аналізу пожежної небезпеки, технологічного процесу, мікроклімату приміщення, його конструктивних, об’ємно-планувальних рішень, економічних міркувань, а також рекомендацій [4] пожежу в приміщенні для ремонту трансформаторів пропоную гасити піною низької кратності. В якості піноутворювача пропоную використовувати ПУ марки П0-6К (основний компонент – натрієві солі сульфокислот, які отримуються при нейтралізації кислого гудронну, призначення – загальне, концентрація в розчині – 6%) – додаток 3, таблиця 3.1. [3] Вибір методу гасіння та збуджувальної системи здійснюємо з урахуванням припустимого часу розвитку пожежі, прийнятого вогнегасного засобу, мікроклімату та архітектурно-планувальних рішень захищаємого приміщення. Вирішальний вплив на вибір методу гасіння і збуджувальної системи є гранично припустимий час розвитку пожежі, що визначається як час від початку виникнення пожежі до моменту досягнення найбільш небезпечних факторів пожежі критичного значення. При пожежі в приміщенні для ремонту трансформаторів гранично допустимий час розвитку пожежі визначається тим моментом який скоріше наступить: чи моментом охоплення пожежею всієї площі приміщення, чи моментом досягнення середньо об’ємної температури у приміщенні, значенням температури самоспалаху мастильних матеріалів, які використовуються в технологічному процесі. а) Визначення залежності площі пожежі в приміщенні від часу. Вихідні дані: Довжина “А” – 35 м.; Ширина “В” – 17 м.; Висота “h” – 6 м.; Площа розливу ЛЗР – до 10 м2 . Стіни з межею розповсюдження вогню (см) – 25. Координати місця виникнення пожежі X – 0; Y – 0.
Виходячи з місця виникнення пожежі її форми, площа пожежі визначається: при до 3 хв. за формулою:
де
В залежності від пожежного навантаження матеріалів по табл. [5], стор. 22, вибираємо лінійну швидкість розвитку пожежі -
Для часу більше 10 хв. розвитку пожежі, площа визначається за формулою:
а) Визначення залежності середньо об’ємної температури в приміщенні де виникла пожежа від часу. Зміна середньо об’ємної температури в приміщенні на стадії розвинутої пожежі характеризується стандартною кривою “температура-час”, яка описується рівнянням [7].
де:
Але при горінні легкозаймистих матеріалів характер зміни середньо об’ємної температури буде відрізнятись від умов які характеризують стандартну пожежу. Необхідно враховувати:
де:
Виходячи з завдання, а також [5], Таким чином температура в приміщенні знаходиться по формулі [7]:
Значення коефіцієнта К
для умов коли
де:
Знаходимо значення К
при При При Отримані дані підставляємо в формулу
З малюнка визначаємо, що визначаючим фактором розвитку пожежі є залежність середньо об’ємної температури в приміщенні від часу її розвитку. Виходячи з визначеного пропоную обладнати приміщення для ремонту трансформатору спринклерною установкою пінного пожежегасіння. Перевірка можливості застосування спринклерної установки пінного пожежегасіння.
4. Гідравлічний розрахунок АУП. Гідравлічний розрахунок виконуємо в відповідності до вимог СНиП 2.04.09-84 [6], а також рекомендації [3]. Нормативні дані для розрахунку: · Група приміщення –2, додаток 2 [6]; · Інтенсивність зрошення · Площа захищаєма одним зрошувачем · Розрахункова площа · Відстань між зрошувачами · Розрахунковий час роботи а) Вибір зрошувача.
де: І інтенсивність зрошення розчином піноутворювача, л/с; F площа захищаєма одним зрошувачем, кв. м.
Підбираємо зрошувач з відповідними витратами, виходячи з даних табл.2, додаток 6 [6] за формулою:
де: К – коефіцієнт витрат через зрошувач; Н – мінімальний вільний напір перед зрошувачем, м.
Приймаємо зрошувач типу ОПСР з діаметром вихідного отвору Уточнюємо значення напору у “диктуючого” зрошувача:
В зв’язку з тим, що Н
менше табличного додат. 6, табл.2 [6], в подальшому розрахунку приймаємо 6) Розміщення зрошувачів. Зрошувачі типу ОПСР розміщуємо на плані приміщення з врахуванням вимог п..п. 2, 13, 2.17-2.20, 2.34. [6]. Відстань між зрошувачами:
Приймаємо відстань між зрошувачами 3.0 м. На плані приміщення намічаємо трасу живильних і розподільчих трубопроводів, а також розміщуємо зрошувачі дотримуючись вимог п.п. 2.28-2.41 [6];
в) Розрахунок мережі. - Діаметр трубопроводу на ділянці “1-2” знаходимо по формулі:
де:
По ГОСТу “Труби стальні електросварні” (табл.3, додат. 6 [6]) приймаємо трубу з внутрішнім діаметром де: - Втрати напору на ділянці “1-2”
- Напір у другого зрошувача.
В подальшому розрахунку окремі записи спрощуємо. - Витрати розчину з другого зрошувача.
- Витрати розчину на ділянці “2-3”
В зв’язку з тим, що галузі рядка симетричні, тобто:
Перший рядок характеризується наступними показниками:
- Характеристика першого рядка.
Як видно з розрахункової схеми, всі рядки конструктивно однакові. Відповідно і їх характеристики також рівні. Подальший розрахунок симетричної тупикової мережі виконуємо методом послідовних наближень від точки “А” до стояка вузла управління при умові одночасної роботи 30 зрошувачів ОПСР-10 ( -Діаметр трубопроводу на дільниці “А-Б”
Приймаємо трубопровід з -Напір у вузловій точці “Б”.
-Витрати розчину з другого рядка:
-Витрати розчину на ділянці “Б-В”:
Приймаємо трубопровід з - Напір у вузловій точці “В”.
-Витрати розчину з третього рядка
- Витрати розчину на ділянці “В-Г”
- Діаметр трубопроводу на дільниці “В-Г”.
Приймаємо трубопровід з - Напір у вузловій точці “Г”.
- Витрати розчину з четвертого рядка
- Діаметр трубопроводу на дільниці “Г-Д”
Приймаємо трубопровід з - Напір у вузловій точці “Д”.
- Витрати розчину з п’ятого рядка
- Витрати розчину на ділянці “Д-Е”
- Діаметр трубопроводу на дільниці “Д-Е”
Приймаємо трубопровід з - Напір у вузловій точці “Ж”.
- Необхідний напір у водоживлювача
де Нg =15 м. – напір у першого (диктуючого) зрошувача; 1,2 – коефіцієнт враховуючий місцеві втрати напору мережі;
z – різниця відміток “диктуючого” зрошувача і вісі насоса. - Сумарні лінійні втрати напору в мережі.
де: hл – лінійні втрати в розподільчих трубопроводах, м .
hСТ – втрати напору в стояку, м.
де 6 м – висота стояка.
де 30 м – відстань від захищаємого приміщення до станції ПГ. - Визначаємо втрати напору в вузлі управління. Виходячи з діаметрів трубопроводів і витрат, застосовую в якості вузла управління клапан типу ВС-100.
де - Визначаємо напір у водоживлювача
Таким чином насос повинен забезпечити: По каталогу додатку 6[3], підбираємо марку насоса – Д-200-95 Технічні дані відцентрового насоса Д-200-95 - кількість обертів 2950 об/хв. - діаметр робочого колеса 265 мм. - витрати 60 л/с - напір 80 м. - потужність двигуна 75 кВт - Визначаємо секундні витрати піноутворювача
де
де
- Необхідний запас піноутворювача з врахуванням резерву:
де Розрахунок дозуючого пристрою. Згідно рекомендацій [15] приймаємо довжину напірного трубопроводу – 2,0 м., подання піноутворювача – 1,5 м. На напірному трубопроводі встановлюємо арматуру: запірний вентиль, регулюючий кран, водомір, 2 відводу. На трубі подання піноутворювача встановлюємо 1 відвід і запірний вентиль.
Мал. 1. Залежність площі розвитку пожежі від часу.
Мал. 2. Залежність середньооб’ємної температури в приміщенні від часу. - Діаметр напірного трубопроводу і труби для подання ПУ
де: QПУ =2,7 л/с – секундні витрати піноутворювача; vp =5 м/с – швидкість подання піноутворювача.
По ГОСТу “Труби стальні електросварні” (табл. 3, додат.6 [6]) приймаємо трубу з внутрішнім діаметром де: - Фактична швидкість руху піноутворювача в трубопроводі.
де: 0,785 Приймаємо водомір марки ВК=4 [16]. -Лінійні втрати напору (в напорному трубопроводі).
де: l= 2 м – довжина напорного трубопроводу. QПУ =2,7 л/с – секундні витрати піноутворювача. - Місцеві втрати напору.
де:
g =9,8 – прискорення земного тяжіння; S =1,3 – коефіцієнт місцевого опору водоміра; QПУ =2,7 л/с – секундні витрати піноутворювача. - Втрати напору в напорному трубопроводі.
Число Рейнольдса
де:
Мал. 3. Схема дозуючого пристрою з трубкою Вентурі. При
- Втрати напору в всмоктуючому трубопроводі.
де:
l= 1,5 м – довжина трубопроводу для подання піноутворювача.
Умовно приймаємо втрати напору в пористій діафрагмі – 0,5 м. додатні втрати напору в системі дозатора складуть:
Витратна характеристика дросельного пристрою.
де:
Отриманій витратній характеристиці відповідно табл. 14 [15], відповідає труба Вентурі з модулем т=
0,2 (діаметр звуження Проектування і розрахунок АПС. Виходячи з розділів 2.2, 2.3 визначена необхідність обладнання приміщення для виготовлення та обробки матеріалів з гуми системою АПС. Пропоную застосувати автономну систему АПС, тобто в виробничому приміщенні встановити автоматичні пожежні сповіщувачі з під’єднанням шлейфами сигналізації до приймальної станції, яку встановити в приміщенні з цілодобовим чергуванням. Одночасно під’єднати до приймальної станції зовнішні пристрої оповіщення. а) Визначаємо необхідний тип пожежного сповіщувача. Виходячи з рекомендацій додатку 3 [6] для обладнання приміщення для виготовлення та обробки матеріалів з гуми системою АПС пропонується використовувати теплові або димові пожежні сповіщувачі. При виборі сповіщувача, враховуючи особливості приміщення (категорію виробництва, пожежну небезпеку, клас зони, специфіку технологічного процесу, застосовуємі матеріали, характер можливого розвитку пожежі, економічні міркування) пропоную застосувати димовий пожежний сповіщувач ИП-212-2 (ДИП-2). б) Визначаємо необхідну кількість пожежних сповіщувачів визначається необхідністю виявлення пожежі по всій контролюємій площі приміщення. При цьому враховуємо вимоги п.п. 4.1-4.9 [6]. Площа контролюєма одним сповіщувачем, а також максимальні відстані між сповіщувачами і стінами залежать від висоти приміщення, і повинні відповідати вимогам табл. 4 [6], але не повинні перевищувати технічні данні вказані в паспортах. Приведена в паспорті площа зменшується в залежності від висоти приміщення – більше 3,5 до 6 м. на 20% [8]. В технічних характеристиках на сповіщувач вказано, що при висоті розміщення 4,0 м. контролюєма площа дорівнює 150 кв. м., але враховуючи вимоги табл. 4 [6], приймаємо значення контролюємої площі – 70 кв. м. Відповідно і зменшується відстань між сповіщувачами, табл. 4, [6] до 8,5 м. і між сповіщувачем і стіною, [6] – 4,0 м. Приблизна кількість сповіщувачів визначається по формулі:
де:
Остаточну кількість пожежних сповіщувачів визначаємо після виконання трасировки сповіщувачів. Визначаємо кількість проміжків між сповіщувачами по довжині приміщення:
де:
Приймаємо два проміжку. Визначаємо кількість рядків сповіщувачів по ширині приміщення:
де: Відстань між сповіщувачем і стіною (по довжині приміщення) – 2 м . Відстань між сповіщувачем і стіною (по ширині приміщення) – 4 м.
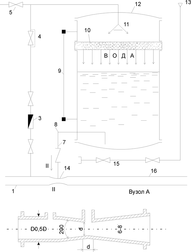
Крім застосування димового сповіщувача ИП-212 (ДИП-2) пропоную встановити біля вихідних дверей ручний пожежний сповіщувач ИПР. В якості приймальної станції пропоную застосувати ППС-3. 6. Компановка основних вузлів та опис роботи АППЗ Приміщення по ремонту трансформаторів обладнується спринклерною пінною установкою автоматичного пожежегасіння. В приміщенні для виявлення пожежі і утворення повітряно-механічної піни низької кратності встановлюємо пінні зрошувачі марки ОПСР-10 (72). Зрошувач ОПСР складається з водяного спринклера, на кий встановлюється дифузор. Зрошувач має наступні характеристики: Живлячий трубопровід запропонован симетричним тупіковим. Трасировка спринклерної мережі прийнята враховуючи від конфігурації приміщення, форми перекрить, наявності опорних колон. Застосовуючи симетричну тупікову спринклерну мережу забезпечуємо зниження питомої ваги трубопроводів приблизно в два рази [15]. Трубопроводи прокладають з врахуванням вимог п.п.2.28-2.42 [6] з стальних труб по ГОСТ 10704—76 з зварним з’єднанням. Трубопроводи прокладають відкритим способом. Відстань між трубопроводом і будівельними конструкціями не менше 0,02 м. Необхідно прокладати труби прямолінійно, з забезпеченням перпендикулярності всіх розгалужень. Трубопроводи повинні надійно кріпитись до будівельних конструкцій. Живлячі і розподільчі трубопроводи прокладають з нахилом для зливу розчинів з трубопроводів. В якості вузла управління використовується клапан марки ВС-100. Контрольно-пускових вузол ВС є з’єднуючою ланкою між магістральним трубопроводом і розподілюючою спринклерною мережею, забезпечує контроль за працездатністю установки, включає сигнали тривоги при спрацюванні спринклерних зрошувачів. Вузол складається з корпусу, в середині є тарільчатий клапан який розділяє внутрішній об’єм вузла на дві камери, які в черговому режимі заповнені водним розчином піноутворювача. При цьому клапан щільно притиснутий до сідла, перекриває прохід розчина до сигнального каналу, який з’єднується з сигнальним трубопроводом. При виникненні пожежі відкривається ОПСР, тиск в верхній камері вузла ВС зменшується, в результаті тарільчатий клапан піднімається і відкриває проходження розчину в розподільчу мережу. Одночасно розчин по трубопроводу надходить до сигнального пристрою. Вузол ВС обладнаний компенсатором, який вмонтований в стержень тарільчатого клапана і призначений для компенсації можливих невеликих втрат розчину з системи, без відкриття вузла, а також для пом’якшення випадкових поштовхів в трубопроводі від вододжерел. Для приведення установки в робочий стан після спрацювання, закривають пробкових кран і вентилі комбінованого крану. Повільно відкривають засувку і заповнюють мережу розчином. Після зарядки вузла покази манометрів повинні бути однаковими. Роботу вузла ВС перевіряють наступним чином. Відкривають малий вентиль комбінованого крану. При цьому тиск в верхній камері вузла знижується. Тарільчатий клапан піднімається і пропускає розчин в мережу. Одночасно розчин йде до СДУ і приводить його до спрацювання. Після закінчення перевірки малий вентиль комбінованого крана закривають. Вимоги до розміщення вузлів управління викладені в [6], [7]. Вузли управління встановлюються в місцях з температурою повітря не менше +50 С, до яких є вільний доступ обслуговуючого персоналу, п.2.41 [6]. Вузли управління розміщують в приміщеннях насосних станцій на перших, цокольних і підвальних поверхах п.2.41 [6]. В насосній станції, яка розташована на віддалі 70 м від захищаємого приміщення розміщують: · щити управління (включаючи щит автоматичного переключення електроживлення з основного на резервний, при пропаданні основного); · вузли управління; · основний і резервний насоси підвищувачі з електродвигунами (насоси повинні бути заповнені водою); · запірна арматура (засувки, вентилі, зворотні клапани, пробкові вентилі); · сигнально-вимірювальні пристрої (ЕКМ, СДУ, надлишкові клапани); · автоматичний водоживлювач (імпульсний пристрій – металева ємність заповнена розчином піноутворювача, не менше 0,5 куб. м. і стиснутим повітрям – п.2.52 [6]) – розрахований на підтримання тиску в підводящій мережі і поданні розчину піноутворювача на час не менше 10 с. · компресор – для підтримання розрахункового тиску в імпульсному пристрою; · дозуючий пристрій (бак з дроселюючим пристроєм). В якості дроселюючого пристрою застосована вставка Вентурі. Робота дозуючого пристрою відбувається наступним чином. При русі води від вододжерела в стиснутому перерізі І-І вставки Вентурі 14 утворюється тиск менший ніж тиск в трубопроводі 16. В результаті перепаду тиску в перерізах І-І і І-ІІ вода по напірній трубці 6 надходить в верхню частину бака-дозатора 12, і витісняє його по трубці 8 в стиснутий переріз трубки Вентурі де і відбувається змішування з водою. В середині бак розділений діафрагмою – шар пористої речовини 10, а напірна подаюча воду трубка обладнана розбризгувачем 11. Діафрагма і розбризкувач забезпечують рівномірне заповнення бака водою, що виключає перемішування ПУ з водою в середині бака. 13 – воронка для заповнення бака ПУ; 9 – мірне скло, 3 – крильчатий водомір, 1 – водомірна вставка, 2 – диференціальний манометр, 4 – регулюючий кран. Принцип роботи спринклерної пінної установки автоматичного пожежегасіння наступний. При виникненні пожежі підвищується температура, відкривається ОПСР. Проходячи через ОПСР розчин піноутворювача перетворюється в ПМП низької кратності і подається на вогнище. При виході з розподільчого і живлячого трубопроводів розчину падає в них тиск. Одночасно з цим падає тиск над тарільчатим клапаном вузла ВС, переважаючий тиск розчину в підводящому трубопроводі (який забезпечує імпульсний пристрій) піднімає таріль клапана вгору і, відкриваючи прохід в живлячу мережу. Одночасно розчин по сигнальному трубопроводу надходить до СДУ, який подає сигнал на щит управління (ЩУ). ЩУ включає пристрої оповіщення і подає електроживлення на електродвигун основного насоса-підвишувача, який забезпечує забір води з вододжерела і подає до дозуючого пристрою. Дозуючий пристрій забезпечує введення піноутворювача в струмінь води для утворення розчину сталої (6%) концентрації. Утворений водний розчин піноутворювача подається в мережу. В випадку не спрацювання основного насоса (тиск в напірному трубопроводі з допомогою ЕКМ контролюється ЩУ) на протязі 10 с., приведе до автоматичного переключення ЩУ електроживлення на електродвигун резервного насоса. Опис системи автоматичної пожежної сигналізації. В приміщенні виготовлення та обробки матеріалів з гуми встановлюються автоматичні пожежні сповіщувачі ИП-212 (ДИП-2), а також ручний пожежний сповіщувач ИПР. В якості приймальної станції прийнята станція ППС-3, яка встановлюється в приміщенні з цілодобовим чергуванням. Пожежні сповіщувачі під’єднуються до приймальної станції одним шлейфом. Сповіщувач представляє собою фотоелектронний пристрій, який забезпечує електричну і оптичну сигналізацію про появу диму в місці його встановлення. Електрична сигналізація виконається шляхом зменшення внутрішнього опору сповіщувача, оптична – включенням оптичного індикатора спрацювання. Сповіщувач складається з розетки, яка встановлюється на стелі і блока сповіщувача. Блок сповіщувача складається з корпуса і кришки. На лицевій поверхні сповіщувача розташована кнопка перевірки працездатності сповіщувача і оптичний індикатор спрацювання. В корпусі блока сповіщувача розташована друкована плата з оптичним вузлом і елементами електричної схеми. Оптичний вузол конструктивно об’єднує фотоприймач (фотодіод) і випромінювач (світлодіод),так, що їх оптичні вісі знаходяться під кутом 1200 , а область, яка утворюється перерізом тілесних кутів поля зору фотоприймача і випромінювача є областю чутливою до диму. Робота сповіщувача наступна: при нормальних умовах через сповіщувач проходить струм 0,5 мА (визначається внутрішнім опором електронної схеми). При пожежі, дим попадає в середину сповіщувача, відбувається заломлення інфрачервоного променя від світлодіода з направленням на фотодіод. При освітлені фотодіода міняються його ел. параметри, виникає електричний сигнал який подається на накопичувач імпульсів, після надходження четвертого імпульсу спрацьовує тригер який відкриває вихідний ключ, при цьому включається оптичний індикатор і збільшується струмопроходження до 20 мА . Технічні характеристики ИП-212 (ДИП-2):
Розміщують димові сповіщувачі на стелі рівномірно (відстані вказані в розрахунковій частині проекту) в відповідності до вимог п. 4.2-4.5. Ручний сповіщувач ИПР складається з корпуса, в середині встановлена плата. Біля корпуса кріпиться на вісі ручка. Особливістю сповіщувача є те що на платі є геркон, в ручці постійний магніт. Принцип роботи в спрощеному вигляді наступний: при повороті ручки на себе – відсувається постійний магніт від геркона, це приводить до розмикання контактів і обриву шлейфа сигналізації. Ручний сповіщувач ИПР встановлюється біля вихідних дверей на висоті 1,5 м від підлоги. В якості приймальної станції використовується ППС-3. Станція має блочну конструкцію. Відмінність від інших приймальних станцій пожежної сигналізації в більш надійній роботі, є можливість перевірити працездатність станції поданням тест-команди. Технічні характеристики ППС-3:
Станція забезпечує відображення всієї інформації, що надходить про стан пожежних сповіщувачів, формування сигналу “Тривога” при спрацюванні сповіщувача в шлейфі, ручне або автоматичне включення ланок управління зовнішніми системами, безперервний контроль за справністю шлейфів сигналізації. Розміщуємо ППС-3 у відповідності до вимог п.п. 4.22-4.32 [6], [7], в приміщенні з цілодобовим чергуванням, на негорючій конструкції на висоті 0,8 від підлоги. Виходячи з вибраної приймальної станції визначаємо, що необхідно один шлейф сигналізації, в який включаємо сповіщувачі ИП-212. В кінці шлейфа в розгалужуючій коробці встановлюємо навантажуючі елементи. Шлейфи прокладаємо в відповідності до вимог п.п. 4.33-4.47 [6]. В черговому режимі на передній панелі станції ППС-3 натиснуті тільки кнопки основного і резервного живлення. Постійно працюють індикатор основного живлення. При спрацюванні сповіщувача в шлейфі різко збільшується струмопроходження, це приводить до переводу станції в тривожний режим роботи, включаються в імпульсному режимі індикатори “ПОЖЕЖА” відповідного шлейфа і в БКУ-2, звуковий сигнал, через 30 с. включається подання команди до зовнішніх систем. 7. Інструкції щодо експлуатації установок АППЗ. Ефективна робота установок АППЗ може бути забезпечена якщо вони правильно спроектовані, якісно у відповідності до проекту змонтовані, технічно грамотно експлуатуються. Під експлуатацією установок АППЗ розуміють їх використання для виявлення і гасіння пожеж, а також технічне обслуговування і ремонт. На об’єкті де знаходяться розглядаємі приміщення, що захищаються установками АППЗ, згідно п.6.1.10 [9] повинна бути розроблена наступна документація: · інструкція з експлуатації установки і посадові інструкції; · графік і журнал обліку ТО і ППР; · журнал обліку спрацювань і несправностей установок АППЗ; Крім цієї документації на об’єкті повинні знаходитись: · наказ про призначення особи відповідальної за експлуатацію установок АППЗ, осіб обслуговуючого і оперативного персоналу; · проектна документація та виконавчі креслення на установку; · акт приймання і здачі установок АППЗ в експлуатацію; · паспорта на змонтоване обладнання установки АППЗ. Інструкції для обслуговуючого і оперативного персоналу складаються на основі рекомендацій по організації нагляду за АППЗ, а також інструкцій заводів-виготовників. Зміст інструкцій повинен розкривати послідовність і методику виконання операцій при проведенні робіт по обслуговуванню АППЗ, а також бути в відповідності до вимог [1]. Інструкція для обслуговуючого персоналу. · Перевірити чистоту і порядок в приміщенні ремонту трансформаторів, приміщенні виготовлення і обробки матеріалів з гуми приміщенні насосної станції. · Перевірити стан трубопроводів, ОПСР, пожежних сповіщувачів і відстані від них до складуємих матеріалів в приміщенні. · Перевірити відповідність приймальної апаратури, щитів управління (АППЗ повинно знаходитись в автоматичному режимі включення). · Перевірити по показникам відповідність рівня розчину і тиск повітря в автоматичному водоживлювачі. · Перевірити напругу на вводах електроживлення основного і резервного). · Перевірити відповідність тиску над і під вузлом управління. · Перевірити робочий стан основного і резервного насосів, компресора. · Відкрити перевірочний вентиль на вузлі управління, по показам манометра, включенню сигналів оповіщення, спрацюванню насоса, зробити висновок про працездатність АУП. · При перевірці працездатності ППС-3 необхідно виконати: 1. Натиснути кнопку “Вкл” вузла “Контроль” – включається індикатор “Нечерговий режим”. 2. Почергово натиснути кнопки перевірки сигналів “Пожежа”, “Обрив”, “К.3.” на час не менше 2 с. Повинні включитись звукові сигнали і оптичні адресні і групові індикатори відповідно тест-команди. 3. Натиснути кнопку “Сброс”. Повинні включитись оптичні адресні і групові індикатори, звуковий сигнал. · В журналі обліку ТО зробити запис про технічний стан установки. Посадова інструкція. У випадку пожежі, необхідно: негайно повідомити про це ПО, керівників підприємства, чергового по об’єкту. Перевірити і забезпечити спрацювання АУП, включення оповіщення людей про пожежу, вжити заходи щодо евакуації людей, забезпечити пожежегасіння. При необхідності викликати аварійно-рятувальні служби. При прибутті підрозділу пожежної охорони подати їм допомогу. Категорично забороняється: · Залишати чергове приміщення без дозволу. · Переводити установку АППЗ в ручний режим включення насосів. · Виключати пристрої оповіщення. · Виконувати роботи які суперечать інструкції з експлуатації АППЗ. · Виконувати дії які не передбачені інструкціями. Працездатність установок АППЗ в великій мірі залежить від правильного проведення регламентних робот при ТО. Згідно [10] ТО установок АППЗ включає заходи як і проводяться: щоденно, щомісячно, один раз в 3 міс., один раз в 6 міс., щорічно, один раз в 3 роки. Крім цього ТО установок АППЗ ділиться на три види: · при підготовці АППЗ до використання; · обслуговування під час чергування; · обслуговування після спрацювання. При щоденному ТО проводять роботи щоденного ТО, а також перевірку основного і резервного живлення, автоматичне переключення, перевірку стану ПУ, перевіряють змащення насосів, їх автоматичне включення, стан, трубопроводів, зрошувачів, їх кріплення. При ТО АПС додатково перевіряється працездатність. При щомісячному ТО проводять щотижневе ТО, а також чистку, поповнення резервуарів ВР, затяжку гаєк на фланцях, перевірку ЕКМ, перевірку роботи АППЗ в різних режимах. При ТО один раз в 3 міс. виконують попередні операції, а також набивку сальників, змащення підшипників. При щорічному ТО проводять повну перевірку КВП, перевірку якості ПУ, водного розчину ПУ, контроль станції, вимір опорів захисного заземлення, ремонт вузлів управління, перебірку сальників всіх вентилів, промивку трубопроводів. При ТО один раз в 3 роки проводиться вимір опору ізоляції електричних ланок, розбірка і чищення насосів, гідравлічні випробування, чистка резервуарів, ремонт гідроізоляційного шару в резервуарі з розчином, промивають і фарбують трубопроводи, перевіряють працездатність установок АППЗ. |



.
















.







м
.










м

шт.
проміжку
