Курсовая работа: Расчеты двухступенчатого цилиндрического косозубого редуктора
|
Название: Расчеты двухступенчатого цилиндрического косозубого редуктора Раздел: Промышленность, производство Тип: курсовая работа | ||||||||||||||||||||||||||||||||||||||||||||||||||||||||||||||||||||||||||||||||
МИНИСТЕРСТВО ОБРАЗОВАНИЯ И НАУКИ УКРАИНЫ СУМСКОЙ ГОСУДАРСТВЕННЫЙ УНИВЕРСИТЕТ КАФЕДРА ОСНОВ ПРОЕКТИРОВАНИЯ МАШИН ПОЯСНИТЕЛЬНАЯ ЗАПИСКАна тему: «Расчеты двухступенчатого, цилиндрического, косозубого редуктора» 080402 КП-09.000.00 Выполнил Студент ИТ-22Остапенко Вариант 9 Проверил Концевич Сумы 2005 Содержание 1 Выбор электродвигателя и кинематический расчет 2 Расчет передач 3 Предварительный расчет валов редуктора 3.1 Ориентировочный расчет валов 3.2 Компоновка редуктора, конструирования зубчатых колес и корпуса редуктора 3.3 Приближенный расчет валов 3.4 Выбор подшипников 3.5 Выбор посадок 3.6 Расчет соединений 4 Выбор смазки 5 Выбор и проверочный расчет муфт 6 Список литературы 1 В ыбор электродвигателя и кинематический расчет Задание : Спроектировать привод цепного конвейера. Исходные данные : Окружная сила на звёздочке : Скорость движения цепи : Диаметр звёздочки :
Рисунок 1. Схема привода цепного конвейера Определяем общий КПД привода : КПД муфты : КПД цилиндрической передачи : КПД пары подшипников качения : КПД цепной передачи :
Мощность на валу звёздочки :
Требуемая мощность электродвигателя :
По требуемой мощности Номинальная частота вращения и угловая скорость :
Угловая скорость барабана :
бщее передаточное отношение :
Частные передаточные числа : - для тихоходной ступени : - для быстроходной ступени : Вал 1 :
Вал 2 :
Вал 3 :
Вал 4 :
Таблица результатов :
Проверка :
2.1 Расчет цилиндрических зубчатых передач 2.1. 1 Определение допускаемых напряжений По условию задания материал шестерни – Сталь 35ХМ, с термообработкой – закалкой. С Допускаемое контактное напряжение:
Допускаемое напряжение изгиба:
[1, с.9, табл. 2.2]. Материал колеса – Сталь 40Х с термообработкой – улучшение, 235-262 НВ и пределом текучести Допускаемое контактное напряжение [1, с.8, табл. 2.1, 2.2]:
Допускаемое напряжение изгиба:
2.1.2 Определения размеров венцов зубчатых колес Расчетное допускаемое напряжение:
В качестве расчетного контактного напряжения принимаем Межосевое расстояние быстроходной ступени:
где для косозубых колес
Срок службы в редуктора в часах:
где Число циклов нагружения редуктора:
где Базовое число циклов нагружений -
где
Коэффициент концентрации загрузки:
Коэффициент эквивалентной нагрузки:
Принимаем: Тогда
Принимаем: Делительный диаметр колеса:
Ширина колеса:
Модуль зацепления:
где
Коэффициент долговечности:
где Коэффициент эквивалентности: m=6 при термической обработке улучшения.
Принимаем
Принимаем m1 =2мм. Минимальный угол наклона зубьев:
Суммарное число зубьев:
Определяем действительный угол наклона зубьев:
Число зубьев шестерни:
Число зубьев колеса:
Уточняем передаточное число:
что допустимо [1, с.13]. Делительный диаметр шестерни:
Диаметры окружностей вершин:
Диаметры окружностей впадин:
Межосевое расстояние тихоходной ступени:
где для косозубых колес
Коэффициент концентрации загрузки:
В качестве расчетного контактного напряжения принимаем
Принимаем: Делительный диаметр колеса:
Ширина колеса:
Модуль зацепления:
где
Принимаем m2 =3мм. Минимальный угол наклона зубьев:
Суммарное число зубьев:
Определяем действительный угол наклона зубьев:
Число зубьев шестерни:
Число зубьев колеса:
Уточняем передаточное число:
что допустимо [1, с.13]. Делительный диаметр шестерни:
Диаметры окружностей вершин:
Диаметры окружностей впадин:
2.1.3 Проверочные расчеты зубчатых передач По напряжению изгиба в зубьях колеса:
Предварительно определим окружную скорость колеса быстроходней ступени:
При такой скорости степень точности зацепления 9 [1, с.14, табл.2.5]. Тихоходной ступени:
Степень точности зацепления – 9 [1, с.14, табл.2.5]. Окружная сила в зацеплении тихоходной ступени:
Быстроходной ступени:
Проверка на изгиб быстроходной ступени:
При переменной нагрузке:
где x=0,75 – коэффициент режима [см. выше],
Эквивалентная окружная сила:
где
Расчетное напряжение изгиба в зубьях шестерни:
Тихоходная ступень:
При переменной нагрузке:
где x=0,75 – коэффициент режима [см.выше],
Эквивалентная окружная сила:
где
Расчетное напряжение изгиба в зубьях шестерни:
Проверка зубьев колес по контактным напряжениям. Для быстроходной ступени:
Тихоходная ступень:
2.1.4 Определения сил действующих в зацеплении Окружная сила на колесе быстроходной ступени:
Тихоходной ступени:
Радиальная сила быстроходной ступени:
где Для тихоходной ступени:
где Осеева сила: Для быстроходной ступени:
Для тихоходной ступени:
3 Предварительный расчет валов редуктора 3.1 Ориентировочный расчет валов Предварительный расчет валов проведем на кручение по пониженным допускаемым напряжениям. Ведущий вал быстроходной ступени:
где С учетом соединения вала шестерни быстроходной ступени с валом электродвигателя муфты МУВП (муфта упруга втулочно-пальцева), принимаем диаметр: Диаметр вала под уплотнением и подшипником: Шестерню выполняем заодно с валом: Ведомый вал быстроходной ступени (и ведущий тихоходной ступени):
где Принимаем диаметр вала под подшипники: Диаметр выходного конца ведомой тихоходной ступени:
где Принимаем: 3.2 Компоновка редуктора, конструирования зубчатых колес и корпуса редуктора 3.2.1 Конструктивные размеры зубчатой передачи Шестерни выполняются заодно с валами. Быстроходный вал:
Колесо быстроходной ступени кованое:
Диаметр вала под колесом: Диаметр ступицы: Длина ступицы: Толщина обода: Толщина диска: Тихоходная ступень: Размер шестерни: Колесо быстроходней ступени кованое:
Диаметр вала под колесом: Диаметр ступицы: Длина ступицы: Толщина обода: Толщина диска: 3.2.2 Конструктивные размеры корпуса редуктора Толщина стенок корпуса и крышки: Принимаем:
Толщина фланцев поясов корпуса и крышки:
Нижний пояс корпуса:
Принимаем Диаметр болтов: Фундаментальных: Принимаем М20. Крепящих крышку к корпусу у подшипников: Соединяющих крышку с корпусом: Компоновка необходима для приближенного определения положения зубчатых колес относительно опор, определения опорных реакций и подбора подшипников. При очерчивании внутренней стенки корпуса: 1) принимаем зазор между корпусами ступицами колеса 2) Принимаем зазор от окружности вершин зубьев колеса до внутренней стенки корпуса А=δ=8мм. Предварительно намечаем радиальные шарикоподшипники. Результаты подбора занесем в таблицу: Таблица 2 - Предварительный подбор подшипников
Подшипники ведомого вала быстроходной ступени будем смазывать пластичной смазкой. Измерением находим расстояния между наружными торцами подшипников:
Для радиально упорных подшипников расстояние от торцов до точки приложения реакции опор:
Ведущий вал быстроходной ступени: (см. рисунок 1)
Ведомый вал быстроходной ступени:
Ведомый вал тихоходной ступени: (см. рисунок 2)
3.3.1 Расчет ведущего вала быстроходной ступени Из предыдущих расчетов:
Расчетная схема вала червячного колеса приведена на Рисунке 1. Определяем реакции в опорах плоскости XZ
Проверка:
-722+2577-1855=0 0=0. Определяем реакции в опорах плоскости YZ
Проверка:
-229+953-724=0, 0=0. Построим эпюры крутящих и изгибающих моментов в горизонтальной плоскости:
Построим эпюры крутящих и изгибающих моментов в вертикальной плоскости:
Опасным сечением является сечение Б-Б:
где
Из условия прочности:
где
По расчету
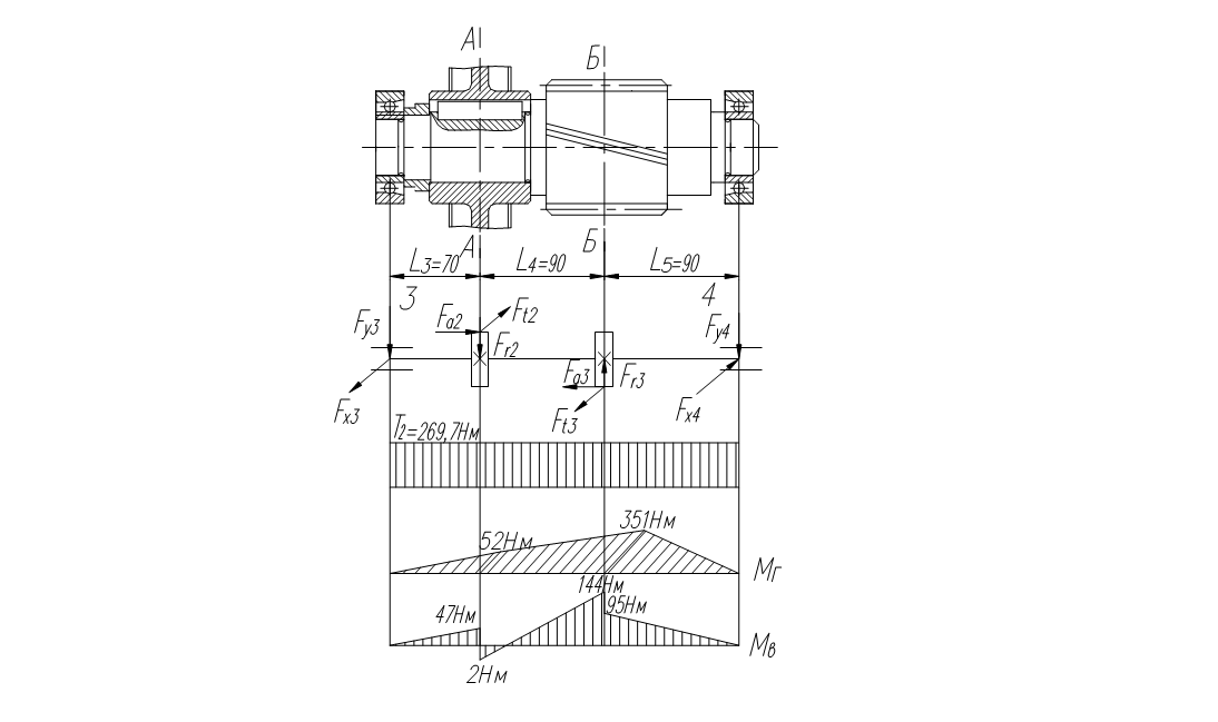
Рисунок 1 – Расчетная схема ведущего вала 3.3.2 Расчеты ведомого вала быстроходной ступени
Рисунок 2 – Расчетная схема ведомого быстроходной ступени Из предыдущих расчетов:
Расчетная схема вала червячного колеса приведена на Рисунке 2. Определяем реакции в опорах плоскости XZ
Проверка:
-746-2577+7225-3902=0 0=0. Определяем реакции в опорах плоскости YZ
Проверка:
-668-953+2674-1053=0, 0=0. Построим эпюры крутящих и изгибающих моментов:
Опасным сечением является сечение Б-Б:
где
Из условия прочности:
где
т.е. по расчету 3.3.3 Расчеты ведомого вала тихоходной ступени
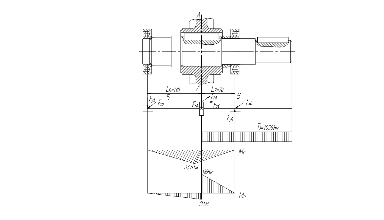
Рисунок 3 – Расчетная схема ведомого вала тихоходной ступени Из предыдущих расчетов:
Расчетная схема вала червячного колеса приведена на Рисунке 2. Определяем реакции в опорах плоскости XZ
Проверка:
4817-7225+2408=0, 0=0. Определяем реакции в опорах плоскости YZ
Проверка:
-21-2674+2695=0, 0=0. Построим эпюры крутящих и изгибающих моментов:
Опасным сечением является сечение Б-Б:
где
Из условия прочности:
где
А у нас по расчету 3.4.1 Ведущий вал быстроходной ступени Суммарные реакции:
Предварительно принимаем подшипники 36208 [см. табл.2] Эквивалентная нагрузка: более нагруженная опора 1.
Где Pr =1991Н, V=1 – вращается внутреннее кольцо подшипника, Fа1 =467Н, kб =1 [2, табл.9.19], kт =1 [2, табл.9.20].
Осевые составляющие:
В нашем случае S1 > S2 , Fa >0, тогдаPa1 =S1 =629H, Pa2 =S1 -Fa =629-467=162H.
Расчетная долговечность, млн. об:
Расчетная долговечность в часах:
3.4.2 Расчет подшипника ведомого вала быстроходной ступени Суммарные реакции:
Предварительно принимаем подшипники 36208 [см. табл.2] Эквивалентная нагрузка: более нагруженная опора 4. Fa =Fa 3 -Fa 4 =1336-467=869H.
Осевые составляющие:
В нашем случае S3 < S4 , тогда Fa 4 =S4 +Fa =1915+869=2284H.
Расчетная долговечность, млн. об:
,млн. об. Расчетная долговечность в часах:
3.4.3 Расчет подшипников ведомого вала тихоходной ступени Суммарные реакции:
Предварительно принимаем подшипники 46215 [см. табл.2] Эквивалентная нагрузка: более нагруженная опора 6. е=0,68 [2, табл.9.18]. Осевые составляющие:
В нашем случае S5 < S6 , тогда Fa 4 =1336H, Fa 5 =1637H, Fa 6 = S5 + Fa 4 =1637+1336=2973Н.
Расчетная долговечность, млн. об:
Расчетная долговечность в часах:
Посадки назначаем в соответствии с указанными данными в табл.10.13 [2]. Посадки зубчатых колес на валы - Посадки муфт на валы редуктора - Шейки валов под подшипники выполняем с отклонением по посадке k6. Отклонений отверстий в корпусе под наружные кольца подшипников по посадке Н7. Мазеудерживающие кольцо сажаем на вал по посадке - Посадка вала под монтажом – h8. 3.6.1 Расчет шпоночных соединений Применяем шпонки призматические по ГОСТ 23360-78. Материал шпонки, сталь 45, нормализованная. Условие прочности:
где Lp =L-b. Допускаемое напряжение смятия при стальной ступицы Ведущий вал: d=36мм; bxh=10x8мм; t1 =5 мм; длина шпонки l=80 мм; момент на ведущем валу Т=55,6٠103 Н٠мм.
т.е. шпонка подходит. Расчет шпонки под зубчатое колесо наведомом валу быстроходной ступени: d=50мм; bxh=14x9мм; t1 =5,5 мм; длина шпонки l=90 мм; момент на ведущем валу Т=269,7٠103 Н٠мм.
т.е. шпонка подходит. Ведомый вал тихоходной ступени: d=65мм; bxh=18x11мм; t1 =7 мм; длина шпонки l=90 мм; момент на ведущем валу Т=1036٠103 Н٠мм.
т.е. шпонка подходит. Расчеты шпонки под зубчатым колесом на ведомом валу: d=85мм; bxh=22x14мм; t1 =9 мм; длина шпонки l=100 мм; момент на ведущем валу Т=1036٠103 Н٠мм.
т.е. шпонка подходит. 4 Выбор смазки 4.1 Выбор смазки зацеплений и подшипников Смазывание зубчатого зацепления производиться окунанием зубчатого колеса в масло, заливаемое внутрь корпуса до уровня, обеспечивающие погружение колеса примерно на 10 мм. Объем масляной ванны V определяем из расчета 0,25 дм3 масла на 1 кВт передаваемой мощности: V=0,25٠5,76=1,44 дм3 . Устанавливаем вязкость масла [2, с.253, табл.10.8]. При контактных напряжениях Камеры подшипников заполняем пластичным смазочным материалом УТ-1 [2, с.204, табл. 9.14] периодически пополняем его шприцом через пресс-масленки. 5 Выбор и проверочный расчет муфт Выбираем для соединения редуктора и электродвигателя упругую втулочно-пальцевую муфту (МУВП). Эту муфту применяют в случаях, когда возможна несоосность валов и работа соединения сопровождается толчками и ударами. Расчет муфты сводится к определению размеров пальцев и упругих элементов. Пальцы рассчитываются на изгиб: Крутящий момент на быстроходном валу Т1 =55,6Н٠м; Тр =2٠55,6=11,2Н٠м.[4, с.386, табл. 17.8 и 17.9]. z=6 – число пальцев; dn =14 мм – диаметр пальцев; D0 =100 мм – диаметр окружности расположения пальцев; ln =33 мм – длина пальцев; dвт =27 мм – диаметр втулки; ln =14 мм – длина втулки.
Проверяем прочность втулки на смятие:
Выбираем туже муфту (МУВП) для соединения редуктора и цепного конвеера. Крутящий момент на быстроходном валу Т3 =1036Н٠м; Тр =1٠1036=1036Н٠м.[4, с.386, табл. 17.8 и 17.9]. z=10 – число пальцев; dn =18 мм – диаметр пальцев; D0 =170 мм – диаметр окружности расположения пальцев; ln =42 мм – длина пальцев; dвт =35 мм – диаметр втулки; ln =36 мм – длина втулки. Расчет пальцев на изгиб:
Проверяем прочность втулки на смятие:
1. Дунаев П.Ф., Леликов О.П. Конструирование узлов и деталей машин.- М.: Высшая школа, 1985.- 125с 2. Чернавский С.А. Курсовое проектирование деталей машин. – М.: Машиностроение, 1987.- 150с 3. Иванов М.Н. Детали машин – М.: Высшая школа, 1991. – 200с. 4. Кузьмин А.В., Чернин И.М., Козницов Б.С. Расчеты деталей машин.- М.: Высшая школа, 1986.- 200с. |
||||||||||||||||||||||||||||||||||||||||||||||||||||||||||||||||||||||||||||||||











- Условие выполняется
, (2.1)
.
, (2.3)
.
, (2.4)
.
, (2.8)
,
.
, (2.9)
,
.
,
,
,

, (3.9)
.




.


.
, (3.29)
млн. об.
млн. об.