| 1. Введение.
2. Линейный асинхронный двигатель.
2.1 Конструкция и принцип действия.
2.2 Разновидности.
2.2.1 Конструктивные параметры.
2.2.2 Дуговой двигатель.
2.2.3 Трубчатый двигатель.
2.3 Применение.
3. Линейный двигатель постоянного тока.
3.1 Конструкция и принцип действия.
3.2 Применение.
4. Линейный синхронный двигатель.
4.1 Применение.
5. Вывод.
1. Введение.
Интересные и широкие перспективы развития электропривода связаны с применением так называемых линейных двигателей. Большое число производственных механизмов и устройств имеют поступательное или возвратно-поступательное движение рабочих органов (подъёмно-транспортные машины, механизмы подач различных станков, прессы, молоты и т.д.). В качестве привода этих механизмов и устройств использовались обычные электродвигатели в сочетании со специальными видами механических передач (кривошипно-шатунный механизм, передача винт-гайка), преобразовавших вращательное движение рабочего органа. Линейные двигатели могут быть асинхронными, синхронными и постоянного тока, повторяя по принципу своего действия соответствующие двигатели вращательного движения.
2. Линейный асинхронный двигатель.
2.1 Конструкция и принцип действия.

Рис. 1
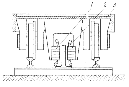
Наибольшее распространение получили асинхронные линейные двигатели. Представление об устройстве линейного асинхронного двигателя можно получить, если мысленно разрезать (рис. 1) статор 1 и ротор 4 с обмотками 2 и 3 обычного асинхронного двигателя вдоль оси по образующей и развернуть в плоскость, как это показано на рисунке. Образовавшаяся «плоская» конструкция представляет собой принципиальную схему линейного двигателя. Если теперь обмотки 2 статора такого двигателя подключить к сети переменного тока, то образуется магнитное поле, ось которого будет перемещаться вдоль воздушного зазора со скоростью, пропорциональной частоте питающего напряжения и длине полюсного деления. Это перемещающееся вдоль зазора магнитное поле пересекает проводники обмотки 3 ротора и индуктирует в них ЭДС, под действием которой по обмотке начнут протекать токи. Взаимодействие токов с магнитным полем приведёт к появлению силы, действующей, по известному правилу Ленца, в направлении перемещения магнитного поля. Ротор – в дальнейшем будем называть его уже вторичным элементом – под действием этой силы начнёт двигаться с некоторым отставанием (скольжением) от магнитного поля, как и в обычном асинхронном двигателе.
2.2 Разновидности.
2.2.1 Конструктивные параметры.

Рис. 2
Представленная на рис. 2 конструкция представляет собой линейный двигатель с одинаковыми размерами статора и вторичного элемента. Помимо такой конструкции, в зависимости от назначения линейного двигателя вторичный элемент может быть длиннее статора (рис. 2а) или короче его (рис. 2б). Такие двигатели получили соответственно название двигателей с коротким статором и коротким вторичным элементом. Вторичный элемент линейного двигателя не всегда снабжается обмоткой. Часто – и в этом одно из достоинств линейного асинхронного двигателя – в качестве вторичного элемента используется металлический лист (полоса), как показано на рис. 2д. Вторичный элемент при этом может располагаться также между двумя статорами (рис. 2в) или между статором и ферромагнитным сердечником (рис. 2г). Двигатель с конструктивной схемой, приведённой на рис. 2д, получил название двигателя с односторонним статором, со схемой по рис. 2в – с двусторонним статором и со схемой по рис. 2г – с односторонним статором и сердечником. Вторичный элемент выполняется из меди, алюминия или стали, причём использование не магнитного вторичного элемента предполагает применение конструктивных схем с замыканием магнитного потока через ферромагнитные элементы, как, например, на рис. 2в, г. Некоторое распространение получили сложные составные вторичные элементы с прилегающими друг к другу полосами из немагнитного и ферромагнитного материала, при этом ферромагнитная полоса выполняет роль части магнитопровода. Принцип действия линейных двигателей с вторичным элементом в виде полосы повторяет работу обычного асинхронного двигателя с массивным ферромагнитным или полым немагнитным ротором. Обмотки статора линейных двигателей имеют те же схемы соединения, что и обычные асинхронные двигатели, и подключаются обычно к сети трёхфазного переменного тока. Отметим, что линейные двигатели очень часто работают в так называемом обращённом режиме движения, когда вторичный элемент неподвижен, а передвигается статор. Такой линейный двигатель, получивший название двигателя с подвижным статором, находит, в частности, широкое применение на электрическом транспорте. 2.2.2 Дуговой двигатель.
Дуговой двигатель характеризуется расположением обмотки на части окружности, как это показано на рис. 3.Особенностью этого двигателя является зависимость частоты вращения его статора 1 от длины дуги, на которой располагаются обмотки 2 статора 3.

Рис. 3
Пусть обмотки статора располагаются на дуге, длина которой соответствует центральному углу α = 2τр, где τ - длина полюсного деления и p – число пар полюсов. Тогда за один период тока вращающееся поле статора совершит поворот на угол 2τр/р = α/р, а в течение одной минуты поле повернётся на n = α/p*60f/2π оборотов, т. е. будет иметь частоту вращения n, об/мин. Выбирая различные α, можно выполнять дуговые двигатели с различными частотами вращения ротора. 2.2.3 Трубчатый двигатель.
Конструкция трубчатого линейного двигателя представлена на рис. 4.

Рис.4
Статор двигателя 1 имеет вид трубы, внутри которой располагаются перемежающиеся между собой плоские дисковые катушки 2 (обмотки статора) и металлические шайбы 3, являющиеся частью магнитопровода. катушки двигателя соединяются группами и образуют обмотки отдельных фаз двигателя. Внутри статора помещается вторичный элемент 4 также трубчатой формы, выполненный из ферромагнитного материала. При подключении к сети обмоток статора вдоль его внутренней поверхности образуется бегущее магнитное поле, которое индуктирует в теле вторичного элемента токи, направленные по его окружности. Взаимодействие этих токов с магнитным полем двигателя создаёт на вторичном элементе силу, действующую вдоль трубы, которая и вызывает (при закрепленном статоре) движение вторичного элемента в этом направлении. Трубчатая конструкция линейных двигателей характеризуется аксиальным направлением магнитного потока в отличие от плоского линейного двигателя, в котором магнитный поток имеет радиальное направление. 2.3 Применение.
Широкое применение линейные двигатели нашли в электрическом транспорте, чему способствовал целый ряд преимуществ этих двигателей. Одно из них, уже отмеченное выше, определяется прямолинейностью движения вторичного элемента (или статора), что естественно сочетается с характером движения транспортных средств. Другое, не менее важное обстоятельство связанно с независимостью силы тяги от силы сцепления колёс с рельсовым путём, что недостижимо длят обычных систем электрической тяги. Поэтому ускорения и скорости движения средств транспорта при использовании линейных двигателей могут быть сколь угодно высокими и ограничиваться только комфортабельностью движения, допустимой скоростью качения колёс по рельсовому пути и дороге, динамической устойчивостью ходовой части транспорта и пути. Исключается при использовании линейных двигателей и буксование колёс электрического транспорта.

Одна из возможных конструктивных схем сочленения линейного двигателя с рельсовым транспортным средством показана на рис. 5.
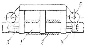
Линейный двигатель, укреплённый на тележке 3 подвижного состава, имеет конструкцию с двусторонним статором 1. Вторичным элементом является укреплённая между рельсами полоса 2. Напряжение на статор двигателя подаётся с помощью скользящих контактов. Известны также конструкции линейных двигателей, где вторичным элементом являются рельс и элементы несущей конструкции. Такие схемы характерны, в частности, для монорельсовых пассажирских и грузовых дорог и механизмов передвижения кранов. На рис. 6 в качестве примера показаны отечественный линейный двигатель, сконструированный для монорельсовой дороги. Этот двигатель имеет двусторонний статор 1 с обмоткой 2, внутри которого находится вторичный элемент в виде полосы 3. Статор двигателя перемещается по полосе с помощью несущих роликов 5. Ролики 4 служат для взаимной фиксации статора и вторичного элемента в горизонтальном направлении.
 Рис. 6
 Рис. 7
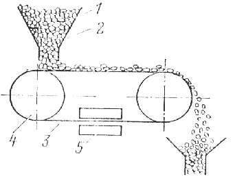
На рис. 7 показан пример использования линейных асинхронных двигателей для механизмов транспортировки грузов различных изделий. Конвейер, предназначенный для перемещения сыпучего материала 1 из бункера 2, имеет металлическую ленту 3, укреплённую на барабанах 4. Металлическая лента проходит внутри статоров 5 линейного двигателя, являясь вторичным элементом. Применение линейного двигателя в этом случае позволяет снизить предварительное натяжение ленты и устранить её проскальзывание, повысить скорость и надёжность работы конвейера. Большой интерес представляет использование линейного двигателя для машин ударного действия, например сваезабивных молотов, применяемых при дорожных работах и строительстве. Конструктивная схема такого молота, показана на рис. 8.Статор линейного двигателя 1 располагается на стреле молота 2 и может перемещаться по направляющим стрелы в вертикальном направлении с помощью лебёдки 3. Ударная часть молота 4 является одновременно вторичным элементом двигателя. Для подъёма ударной части молота двигатель включается таким образом, чтобы бегущее поле было направленно вверх. При подходе ударной части к крайнему верхнему положению двигатель отключается и ударная часть опускается вниз на сваю под действием силы тяжести. В некоторых случаях двигатель не отключается, а реверсируется, что позволяет увеличить энергию удара. По мере заглубления сваи статор двигателя перемещается вниз с помощью лебёдки.
 Рис. 8
Электрический молот, прост в изготовлении, не требует повышенной точности изготовления двигателей, не чувствителен к изменению температуры и может вступать в работу практически мгновенно.
3. Линейный двигатель постоянного тока.
Наряду с асинхронными линейными двигателями применяются линейные двигатели постоянного тока. Они чаще всего используются для получения небольших перемещений рабочих органов и обеспечения при этом высокой точности и значительных пусковых усилий. 3.1 Конструкция и принцип действия.
Линейные электродвигатели постоянного тока состоит из якоря с расположенной на нём обмоткой, служащей одновременно коллектором (направляющий элемент), и разомкнутого магнитопровода с обмотками возбуждения (подвижная часть), расположенными так, что векторы сил, возникающих под полюсами магнитопровода, имеют одинаковое направление. Кроме того, линейные двигатели постоянного тока (как и двигатели вращательного движения) позволяют при необходимости просто регулировать скорость движения рабочих органов. 3.2 Применение.
На рис. 9 показана схема линейного двигателя постоянного тока, который применяется для перемещения промышленных изделий. Этот двигатель по существу представляет собой двигатель постоянного тока с полым цилиндрическим якорем, разрезанный по образующей и развёрнутый в плоскость.
 Рис. 9
Подвижная часть двигателя – якорь - состоит из немагнитного остова 1 и укреплённой на нём обмотки 2 якоря, которая может быть выполнена из изолированного обмоточного провода или изготовлена из медной фольги путём её травления. Ширина витков обмотки в направлении движения, как и в обычных двигателях постоянного тока, близка к полюсному делению (т. е. расстоянию по окружности между полюсами магнитной системы двигателя). Токопровод к обмотке осуществляется с помощью коллектора 3 и щёток 4. На станине двигателя 5 крепится комплект полюсов 6 с обмотками возбуждения 7, размещённых в ряд по направлению движения якоря. Другими частями магнитопровода двигателя являются стальные сердечники 8 и сама станина, выполненная также из ферромагнитного материала. Якорь двигателя вместе со столиком 9 для крепления перемещаемого изделия 10 движется по неподвижным опорам 11 так, что его плоскости с обмотками всё время находятся в зазоре между сердечниками 8 и полюсами 6. На принципе работы линейного двигателя основано действие специальных насосов для перекачки электропроводящих жидкостей и в том числе жидких металлов. Такие насосы, часто называемые магнитогидродинамическими, широко применяются в металлургии для транспортировки, дозировки и перемешивания жидкого металла, а также на атомных электростанциях для перекачки жидкометаллического теплоносителя. Магнитогидродинамические насосы (МГД - насосы) могут быть постоянного или переменного тока. Рассмотрим схему насоса постоянного тока.

Рис. 10.
Первичным элементом – статором двигателя является С – образный электромагнит 1. В воздушный зазор электромагнита помещается трубопровод 2 с жидким металлом. С помощью электродов 3, приваренных к стенкам трубопровода, через жидкий металл пропускается постоянный ток от внешнего устройства. Часто обмотка возбуждения включается последовательно в цепь электродов 3. При возбуждении электромагнита на металл в зоне прохождения постоянного тока начинает действовать электромагнитная сила. Под действием этой силы металл начнёт перемещаться по трубопроводу, причём направление его движения просто определить по известному правилу левой руки. Преимуществами МГД – насосов являются отсутствие движущихся механических частей, и возможность герметизации канала транспортировки металла.
4. Линейный синхронный двигатель.
В последние годы всё шире используются синхронные линейные двигатели. Основной областью применения этих двигателей, где их преимущества проявляются особенно сильно, является высокоскоростной электрический транспорт. Дело в том, что по условиям нормальной эксплуатации такого транспорта необходимо иметь сравнительно большой воздушный зазор между подвижной частью и вторичным элементом. Асинхронный линейный двигатель имеет при этом очень низкий коэффициент мощности, и его применение оказывается экономически не выгодным. Синхронный линейный двигатель, напротив, допускает наличие относительно большого воздушного зазора между статором и вторичным элементом и работает при этом с коэффициентом мощности, близким к единице. Следует отметить, что применение синхронных линейных двигателей в высокоскоростном транспорте сочетается, как правило, с так называемой магнитной подвеской вагонов и применением сверхпроводящих магнитов и обмоток возбуждения, что позволяет повысить комфортабельность движения и экономические показатели работы подвижного состава. 4.1 Применение.
На рис. 11 показана схема путепровода и вагона электропоезда со скоростью движения 400 – 500 км/ч, предназначенного для перевозки 100 пассажиров.
 Рис. 11
Тяговый синхронный линейный двигатель имеет электромагнитное возбуждение с использованием сверхпроводящих магнитов. Обмотка возбуждения 1 состоит из ряда катушек, равномерно укреплённых под днищем вагона 5. В криогенной системе охлаждения обмоток используется жидкий гелий. Плоская трёхфазная обмотка переменного инвертора, преобразующего напряжения постоянного тока в трёхфазное напряжение переменного тока. С помощью инвертора осуществляется пуск, изменение скорости движения и торможение поезда. Путепровод 6 представляет собой бетонное полотно, плоский характер поверхности которого выбран с целью снижения накопления льда и снега. Вагон подвешивается над полотном дороги на высоте 15 см с помощью специальной системы магнитной подвески. Эта система состоит из удлинённых сверхпроводящих электромагнитов 3, расположенных по краям днища вагона, из плоских алюминиевых полос 4, укреплённых в полотне дороги. Принцип работы системы магнитной подвески основывается на действии электродинамических сил, возникающих при взаимодействии потоков сверхпроводящих электромагнитов 3 на борту вагона и вихревых токов, наведённых в алюминиевых полосках 4. Расчёты показали, что при использовании магнитной подвески масса вагона оказывается на 20 т меньше, чем при системе подвески на воздушной подушке. Для обеспечения поперечной устойчивости поезда при его движении применяется специальная система стабилизации. Она предусматривает укладку дополнительной обмотки вдоль оси дорожного полотна и основана на взаимодействии токов в этой обмотке с полем тяговых электромагнитов. Разработанная система электрической тяги с применением описанного выше синхронного линейного двигателя отличается хорошими эксплуатационными показателями, однако для её работы необходима укладка обмоток в полотно дороги, что удорожает изготовление системы и усложняет её обслуживание, особенно при значительной протяжённости дороги. В связи с этим были разработаны конструкции линейных синхронных двигателей, которые не требуют укладки обмоток в железнодорожное полотно. К их числу относятся линейные синхронные двигатели с так называемым униполярным возбуждением и когтеобразными полюсами. Двигатели того и другого исполнения были использованы для привода 50 – тонного состава со скоростью движения 480 км/ч.

Рис. 12
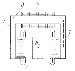
На рис. 12 показана схема синхронного линейного двигателя с униполярным возбуждением. Двигатель имеет два статора 1, установленных на подвижной части состава. Бегущее магнитное поле создаётся с помощью обмоток 2, подключаемых к сети переменного тока. Статоры соединяются магнитопроводом 3, на котором расположена обмотка униполярного возбуждения 4. Эта обмотка создаёт постоянный по направлению магнитный поток, который пронизывает ферромагнитный вторичный элемент 5, укладываемый в магнитопровод. Взаимодействие бегущего магнитного поля с намагниченным вторичным элементом создаёт силу тяги подвижного состава. Сопоставление линейных синхронных двигателей с униполярным возбуждением и когтеобразными полюсами с асинхронным линейным двигателем на то же тяговое усилие показало, что последний имеет худший коэффициент мощности (около 0,6), более низкий КПД (около 80%) и большую массу на единицу мощности двигателя.
5. Вывод.
Применение линейных электродвигателей позволяет упростить или полностью исключить механическую передачу, повысить экономичность и надёжность работы привода и производственного механизма в целом.
6. Список литературы.
1. В.В. Маскаленко, Электрические двигатели специального назначения, Энергоиздат 1981. 2. Кавалёв Ю.М., Электрические машины, – М.: Энергия, 1989.
|