Курсовая работа: Использование современных симметрических DES и асимметрических RSA алгоритмов шифрования
|
Название: Использование современных симметрических DES и асимметрических RSA алгоритмов шифрования Раздел: Рефераты по информатике Тип: курсовая работа | ||||||||||||||||||||||||||||||||||||||||
Использование современных симметрических (DES), и асимметрических (RSA) алгоритмов шифрования Содержание 1. Реализовать алгоритм DES и 4 режима шифрования. Шифрование реализовать для любой длины сообщения и любой длины ключа до 56 бит включительно. 2. Зашифровать сообщения длиной 1 МБ, 10 МБ, 20 МБ и ключом 5,6,7 байт. Для каждого режима, длины сообщения и ключа замерять время и скорость зашифрования 3. В режимах шифрования DESOFB и CFB размер блока шифрования брать равным порядковому номеру в списке группы 4. Реализовать алгоритм RSA. Сгенерировать 3 пары открытый/закрытый ключей. Брать файлы размером 20 Кб, 50 Кб, 100 Кб, 500 Кб, 1 МБ. 5. Каждый файл шифровать с 3 парами ключей. Посчитать время зашифрования/расшифрования и среднюю скорость шифрования/расшифрования для каждой пары ключей и каждого файла. 6. Программа должна предусматривать сохранение зашифрованного и расшифрованного файла на диск, а также вывод на экран скорости и времени шифрования. Примечание. 1. Исходный текст брать произвольный, используя символы из Алфавита (Алфавит брать из Таблицы 1, согласно Вашего варианта) 2. Ваш вариант =(Номер в списке группы) mod 23 3. Буквам поставить в соотвествие числа [0..мощность_алфавита-1 ] (например букве а->0,б->1, в->2 итд.) Таблица 1.
Теоретический материалШифр RSA Алгоритм RSA предложили в 1978 г. три автора: Р.Райвест (Rivest), А.Шамир (Shamir) и А.Адлеман (Adleman). Алгоритм получил свое название по первым буквам фамилий его авторов. Алгоритм RSA стал первым полноценным алгоритмом с открытым ключом, который может работать как в режиме шифрования данных, так и в режиме электронной цифровой подписи. Надежность алгоритма основывается на трудности факторизации больших чисел и трудности вычисления дискретных логарифмов. В криптосистеме RSA открытый ключ КA , секретный ключ КB , сообщение М и криптограмма С принадлежат множеству целых чисел ZN ={0,1,2,...,N-1} (1) где N - модуль: N = P*Q . (2) Здесь Р и Q - случайные большие простые числа. Для обеспечения максимальной безопасности выбирают Р и Q равной длины и хранят в секрете. Множество ZN с операциями сложения и умножения по модулю N образует арифметику по модулю N . Открытый ключ КA выбирают случайным образом так, чтобы выполнялись условия:
(3)
Условие (4) означает, что открытый ключ КA
и функция Эйлера Далее, используя расширенный алгоритм Евклида, вычисляют секретный ключ K B , такой, что
или
Это можно осуществить, так как получатель В знает пару простых чисел (P,Q) и может легко найти Открытый ключ К A используют для шифрования данных, а секретный ключ K B -для расшифрования. Преобразование шифрования определяет криптограмму С через пару (открытый ключ КA , сообщение М ) в соответствии со следующей формулой:
(6) Обращение функции Однако обратную задачу, т.е. задачу расшифрования криптограммы С , можно решить, используя пару (секретный ключ K B , криптограмма С ) по следующей формуле:
(7) Процесс расшифрования можно записать так: DB (ЕА (М)) = М . (8) Подставляя в (8) значения (6) и (7), получаем:
Или
Величина
или в несколько более общей форме
Сопоставляя выражения (9) и (10), получаем или, что то же самое, Именно поэтому для вычисления секретного ключа KB используют соотношение (5). Таким образом, если криптограмму
возвести в степень K B , то в результате восстанавливается исходный открытый текст М , так как
Таким образом, получатель В, который создает криптосистему, защищает два параметра: секретный ключ K B и пару чисел (P,Q) , произведение которых дает значение модуля N . С другой стороны, получатель В открывает значение модуля N и открытый ключ К А . Противнику известны лишь значения К А и N . Если бы он смог разложить число N на множители Р и Q , то он узнал бы "потайной ход" - тройку чисел {Р,Q, К A }, вычислил значение функции Эйлера
и определил значение секретного ключа K B . Однако, как уже отмечалось, разложение очень большого N на множители вычислительно не осуществимо (при условии, что длины выбранных Р и Q составляют не менее 100 десятичных знаков). Алгоритм шифрования и расшифрования в криптосистеме RSA Предположим, что пользователь А хочет передать пользователю В сообщение в зашифрованном виде, используя криптосистему RSA. В таком случае пользователь А выступает в роли отправителя сообщения, а пользователь В - в роли получателя. Как отмечалось выше, криптосистему RSA должен сформировать получатель сообщения, т.е. пользователь В . Рассмотрим последовательность действий пользователя В и пользователя А . 1. Пользователь В выбирает два произвольных больших простых числа Р и Q . 2. Пользователь В вычисляет значение модуля N=Р*Q . 3. Пользователь В вычисляет функцию Эйлера (8):
4. Выбирает случайным образом значение открытого ключа К A с учетом выполнения условий:
5. Пользователь В вычисляет значение секретного ключа kB , используя расширенный алгоритм Евклида при решении сравнения
6. Пользователь В пересылает пользователю А пару чисел (N, К A ) по незащищенному каналу. Если пользователь А хочет передать пользователю В сообщение М , он выполняет следующие шаги. 7. Пользователь А разбивает исходный открытый текст М на блоки, каждый из которых может быть представлен в виде числа Мi =0,1,2,...,N-1 . 8. Пользователь А шифрует текст, представленный в виде последовательности чисел М , по формуле
9. Пользователь А отправляет криптограмму C1 , С2 , С3 ,...,Ci , ... пользователю В . 10. Пользователь В расшифровывает принятую криптограмму C1 , С2 , С3 ,...,Ci , ..., используя секретный ключ kB , по формуле
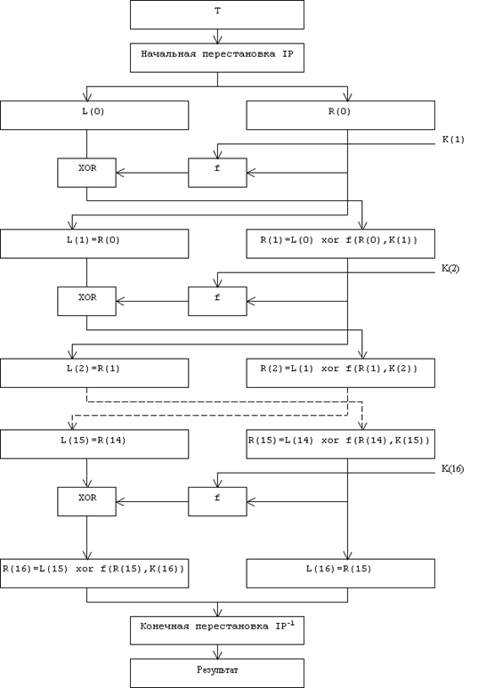
В результате будет получена последовательность чисел Mi , которые представляют собой исходное сообщение М . Чтобы алгоритм RSA имел практическую ценность, необходимо иметь возможность без существенных затрат генерировать большие простые числа, уметь оперативно вычислять значения ключей К A и К B . Шифр DES DES осуществляет шифрование 64-битовых блоков данных с помощью 56-битового ключа. Расшифрование в DES является операцией обратной шифрованию и выполняется путем повторения операций шифрования в обратной последовательности (несмотря на кажущуюся очевидность, так делается далеко не всегда. Позже мы рассмотрим шифры, в которых шифрование и расшифрование осуществляются по разным алгоритмам). Процесс шифрования заключается в начальной перестановке битов 64-битового блока, шестнадцати циклах шифрования и, наконец, обратной перестановки битов (рис.1).
Рис.1. Обобщенная схема шифрования в алгоритме DES Необходимо сразу же отметить, что ВСЕ таблицы, приведенные в данной статье, являются СТАНДАРТНЫМИ, а следовательно должны включаться в вашу реализацию алгоритма в неизменном виде. Все перестановки и коды в таблицах подобраны разработчиками таким образом, чтобы максимально затруднить процесс расшифровки путем подбора ключа. Структура алгоритма DES приведена на рис.2.
Рис.2. Структура алгоритма шифрования DES Пусть из файла считан очередной 8-байтовый блок T, который преобразуется с помощью матрицы начальной перестановки IP (табл.1) следующим образом: бит 58 блока T становится битом 1, бит 50 - битом 2 и т.д., что даст в результате: T(0) = IP(T). Полученная последовательность битов T(0) разделяется на две последовательности по 32 бита каждая: L(0) - левые или старшие биты, R(0) - правые или младшие биты. Таблица 1: Матрица начальной перестановки IP 58 50 42 34 26 18 10 0260 52 44 36 28 20 12 0462 54 46 38 30 22 14 0664 56 48 40 32 24 16 0857 49 41 33 25 17 09 0159 51 43 35 27 19 11 0361 53 45 37 29 21 13 0563 55 47 39 31 23 15 07Затем выполняется шифрование, состоящее из 16 итераций. Результат i-й итерации описывается следующими формулами:
где xor - операция ИСКЛЮЧАЮЩЕЕ ИЛИ. Функция f называется функцией шифрования. Ее аргументы - это 32-битовая последовательность R(i-1), полученная на (i-1)-ой итерации, и 48-битовый ключ K(i), который является результатом преобразования 64-битового ключа K. Подробно функция шифрования и алгоритм получения ключей К(i) описаны ниже. На 16-й итерации получают последовательности R(16) и L(16) (без перестановки), которые конкатенируют в 64-битовую последовательность R(16)L(16). Затем позиции битов этой последовательности переставляют в соответствии с матрицей IP-1 (табл.2). Таблица 2: Матрица обратной перестановки IP-1 40 08 48 16 56 24 64 3239 07 47 15 55 23 63 3138 06 46 14 54 22 62 3037 05 45 13 53 21 61 2936 04 44 12 52 20 60 2835 03 43 11 51 19 59 2734 02 42 10 50 18 58 2633 01 41 09 49 17 57 25Матрицы IP-1 и IP соотносятся следующим образом: значение 1-го элемента матрицы IP-1 равно 40, а значение 40-го элемента матрицы IP равно 1, значение 2-го элемента матрицы IP-1 равно 8, а значение 8-го элемента матрицы IP равно 2 и т.д. Процесс расшифрования данных является инверсным по отношению к процессу шифрования. Все действия должны быть выполнены в обратном порядке. Это означает, что расшифровываемые данные сначала переставляются в соответствии с матрицей IP-1 , а затем над последовательностью бит R(16)L(16) выполняются те же действия, что и в процессе шифрования, но в обратном порядке. Итеративный процесс расшифрования может быть описан следующими формулами:
На 16-й итерации получают последовательности L(0) и R(0), которые конкатенируют в 64-битовую последовательность L(0)R(0). Затем позиции битов этой последовательности переставляют в соответствии с матрицей IP. Результат такой перестановки - исходная 64-битовая последовательность. Теперь рассмотрим функцию шифрования f(R(i-1),K(i)). Схематически она показана на рис. 3.
Рис.3. Вычисление функции f(R(i-1), K(i)) Для вычисления значения функции f используются следующие функции-матрицы: · Е - расширение 32-битовой последовательности до 48-битовой, · S1, S2, ... , S8 - преобразование 6-битового блока в 4-битовый, · Р - перестановка бит в 32-битовой последовательности. Функция расширения Е определяется табл.3. В соответствии с этой таблицей первые 3 бита Е(R(i-1)) - это биты 32, 1 и 2, а последние - 31, 32 и 1. Таблица 3:Функция расширения E 32 01 02 03 04 0504 05 06 07 08 0908 09 10 11 12 1312 13 14 15 16 1716 17 18 19 20 2120 21 22 23 24 2524 25 26 27 28 2928 29 30 31 32 01Результат функции Е(R(i-1)) есть 48-битовая последовательность, которая складывается по модулю 2 (операция xor) с 48-битовым ключом К(i). Получается 48-битовая последовательность, которая разбивается на восемь 6-битовых блоков B(1)B(2)B(3)B(4)B(5)B(6)B(7)B(8). То есть: E(R(i-1)) xor K(i) = B(1)B(2)...B(8) . Функции S1, S2, ... , S8 определяются табл.4. Таблица 4 Функции преобразования S1, S2, ..., S8
К табл.4. требуются дополнительные пояснения. Пусть на вход функции-матрицы Sj поступает 6-битовый блок B(j) = b1b2b3b4b5b6, тогда двухбитовое число b1b6 указывает номер строки матрицы, а b2b3b4b5 - номер столбца. Результатом Sj(B(j)) будет 4-битовый элемент, расположенный на пересечении указанных строки и столбца. Например, В(1)=011011. Тогда S1(В(1)) расположен на пересечении строки 1 и столбца 13. В столбце 13 строки 1 задано значение 5. Значит, S1(011011)=0101. Применив операцию выбора к каждому из 6-битовых блоков B(1), B(2), ..., B(8), получаем 32-битовую последовательность S1(B(1))S2(B(2))S3(B(3))...S8(B(8)). Наконец, для получения результата функции шифрования надо переставить биты этой последовательности. Для этого применяется функция перестановки P (табл.5). Во входной последовательности биты перестанавливаются так, чтобы бит 16 стал битом 1, а бит 7 - битом 2 и т.д. Таблица 5:Функция перестановки P 16 07 20 2129 12 28 1701 15 23 2605 18 31 1002 08 24 1432 27 03 0919 13 30 0622 11 04 25Таким образом, f(R(i-1), K(i)) = P(S1(B(1)),...S8(B(8))) Чтобы завершить описание алгоритма шифрования данных, осталось привести алгоритм получения 48-битовых ключей К(i), i=1...16. На каждой итерации используется новое значение ключа K(i), которое вычисляется из начального ключа K. K представляет собой 64-битовый блок с восемью битами контроля по четности, расположенными в позициях 8,16,24,32,40,48,56,64. Для удаления контрольных битов и перестановки остальных используется функция G первоначальной подготовки ключа (табл.6). Таблица 6 Матрица G первоначальной подготовки ключа 57 49 41 33 25 17 0901 58 50 42 34 26 1810 02 59 51 43 35 2719 11 03 60 52 44 3663 55 47 39 31 23 1507 62 54 46 38 30 2214 06 61 53 45 37 2921 13 05 28 20 12 04Результат преобразования G(K) разбивается на два 28-битовых блока C(0) и D(0), причем C(0) будет состоять из битов 57, 49, ..., 44, 36 ключа K, а D(0) будет состоять из битов 63, 55, ..., 12, 4 ключа K. После определения C(0) и D(0) рекурсивно определяются C(i) и D(i), i=1...16. Для этого применяют циклический сдвиг влево на один или два бита в зависимости от номера итерации, как показано в табл.7. Таблица 7 Таблица сдвигов для вычисления ключа
Полученное значение вновь "перемешивается" в соответствии с матрицей H (табл.8). Таблица 8: Матрица H завершающей обработки ключа 14 17 11 24 01 0503 28 15 06 21 1023 19 12 04 26 0816 07 27 20 13 0241 52 31 37 47 5530 40 51 45 33 4844 49 39 56 34 5346 42 50 36 29 32Ключ K(i) будет состоять из битов 14, 17, ..., 29, 32 последовательности C(i)D(i). Таким образом: K(i) = H(C(i)D(i)) Блок-схема алгоритма вычисления ключа приведена на рис.4.
Рис.4. Блок-схема алгоритма вычисления ключа K(i) Восстановление исходного текста осуществляется по такому же алгоритму, что и для шифрования, однако вначале используется ключ Для шифра RSA использовался алфавит 0123456789@абвгдеёжзиклмнопрстуфхцчшщъыьэюя Текст в файлах состоит из повторений фраз В миску кашу со стен соскребите в@миску@кашей@ Текст программы unit main; interface uses Windows, Messages, SysUtils, Variants, Classes, Graphics, Controls, Forms, Dialogs, StdCtrls, ComCtrls,DES_unit,Podkluchi_unit,DES_ECB_CBC_unit,RSA_unit; type TForm1 = class(TForm) Button17: TButton; Label28: TLabel; Label29: TLabel; Label30: TLabel; Label31: TLabel; Label32: TLabel; Label33: TLabel; Label34: TLabel; Edit10: TEdit; Edit11: TEdit; Edit12: TEdit; Button18: TButton; Button19: TButton; Button20: TButton; Button21: TButton; Button22: TButton; Edit1: TEdit; Button1: TButton; Button2: TButton; Button3: TButton; Button4: TButton; Button5: TButton; Button6: TButton; Label5: TLabel; Button7: TButton; Button8: TButton; RadioButton6: TRadioButton; RadioButton7: TRadioButton; RadioButton8: TRadioButton; RadioButton9: TRadioButton; RadioButton10: TRadioButton; Button9: TButton; Edit4: TEdit; Edit5: TEdit; ListBox3: TListBox; Button10: TButton; ListBox4: TListBox; Label12: TLabel; Label13: TLabel; Label14: TLabel; Label15: TLabel; Label36: TLabel; Label37: TLabel; Label38: TLabel; GroupBox1: TGroupBox; GroupBox2: TGroupBox; Label1: TLabel; Label2: TLabel; Label3: TLabel; procedure Button1Click(Sender: TObject); procedure Button2Click(Sender: TObject); procedure Button3Click(Sender: TObject); procedure Button4Click(Sender: TObject); procedure Button5Click(Sender: TObject); procedure Button6Click(Sender: TObject); procedure Button7Click(Sender: TObject); procedure Button8Click(Sender: TObject); procedure Button9Click(Sender: TObject); procedure Button10Click(Sender: TObject); procedure Button11Click(Sender: TObject); procedure Button12Click(Sender: TObject); procedure FormCreate(Sender: TObject); procedure Button13Click(Sender: TObject); procedure Button14Click(Sender: TObject); procedure Button15Click(Sender: TObject); procedure Button16Click(Sender: TObject); private { Private declarations } public { Public declarations } end; var Form1: TForm1; implementation {$R *.dfm} //Zawifrovanie failov klju4om na 5 bait procedure TForm1.Button1Click(Sender: TObject); var klu4:string; t1,t2:TDateTime; vremja:integer; razmer:integer; begin klu4:=Edit10.text; while( Length(klu4)<8 ) do klu4:=klu4+'0'; Formirovanie_16_podklju4ei(klu4); razmer:=0; t1:=Time; if Form1.RadioButton10.Checked=true then begin Wifrovanie_ECB('20.txt','DES_crypted\Z_20_5_ECB.txt'); razmer:=1024*20; end; if Form1.RadioButton9.Checked=true then begin Wifrovanie_ECB('50.txt','DES_crypted\Z_50_5_ECB.txt'); razmer:=1024*50; end; if Form1.RadioButton8.Checked=true then begin Wifrovanie_ECB('100.txt','DES_crypted\Z_100_5_ECB.txt'); razmer:=1024*100; end; if Form1.RadioButton7.Checked=true then begin Wifrovanie_ECB('500.txt','DES_crypted\Z_500_5_ECB.txt'); razmer:=1024*500; end; if Form1.RadioButton6.Checked=true then begin Wifrovanie_ECB('1.txt','DES_crypted\Z_1_5_ECB.txt'); razmer:=1024*1024; end; t2:=Time; vremja:=round((t2 - t1)*24*60*60)+1; Label33.Caption := IntToStr(vremja-1)+ 'сек'; Label34.Caption := FloatToStr((razmer/vremja)-1)+'байт/сек'; end; //Raswifrovanie failov klju4om na 5 bait procedure TForm1.Button2Click(Sender: TObject); var klu4:string; t1,t2:TDateTime; vremja:integer; razmer:integer; begin klu4:=Edit10.text; razmer:=0; while( Length(klu4)<8 ) do klu4:=klu4+'0'; Formirovanie_16_podklju4ei(klu4); t1:=Time; if Form1.RadioButton10.Checked=true then begin Raswifrovanie_ECB('DES_crypted\Z_20_5_ECB.txt','DES_uncrypted\R_20_5_ECB.txt'); razmer:=1024*20; end; if Form1.RadioButton9.Checked=true then begin Raswifrovanie_ECB('DES_crypted\Z_50_5_ECB.txt','DES_uncrypted\R_50_5_ECB.txt'); razmer:=1024*50; end; if Form1.RadioButton8.Checked=true then begin Raswifrovanie_ECB('DES_crypted\Z_100_5_ECB.txt','DES_uncrypted\R_100_5_ECB.txt'); razmer:=1024*100; end; if Form1.RadioButton7.Checked=true then begin Raswifrovanie_ECB('DES_crypted\Z_500_5_ECB.txt','DES_uncrypted\R_500_5_ECB.txt'); razmer:=1024*500; end; if Form1.RadioButton6.Checked=true then begin Raswifrovanie_ECB('DES_crypted\Z_1_5_ECB.txt','DES_uncrypted\R_1_5_ECB.txt'); razmer:=1024*1024; end; t2:=Time; vremja:=round((t2 - t1)*24*60*60)+1; Label33.Caption := IntToStr(vremja-1)+ 'сек'; Label34.Caption := FloatToStr(razmer/vremja-1)+'байт/сек'; end; //Zawifrovanie failov klju4om na 6 bait procedure TForm1.Button3Click(Sender: TObject); var klu4:string; t1,t2:TDateTime; vremja:integer; razmer:integer; begin klu4:=Edit11.text; while( Length(klu4)<8 ) do klu4:=klu4+'0'; Formirovanie_16_podklju4ei(klu4); t1:=Time; if Form1.RadioButton10.Checked=true then begin Wifrovanie_ECB('20.txt','DES_crypted\Z_20_6_ECB.txt'); razmer:=1024*20; end; if Form1.RadioButton9.Checked=true then begin Wifrovanie_ECB('50.txt','DES_crypted\Z_50_6_ECB.txt'); razmer:=1024*50; end; if Form1.RadioButton8.Checked=true then begin Wifrovanie_ECB('100.txt','DES_crypted\Z_100_6_ECB.txt'); razmer:=1024*100; end; if Form1.RadioButton7.Checked=true then begin Wifrovanie_ECB('500.txt','DES_crypted\Z_500_6_ECB.txt'); razmer:=1024*500; end; if Form1.RadioButton6.Checked=true then begin Wifrovanie_ECB('1.txt','DES_crypted\Z_1_6_ECB.txt'); razmer:=1024*1024; end; t2:=Time; vremja:=round((t2 - (t1))*24*60*60)+1; Label33.Caption := IntToStr(vremja-1)+ 'сек'; Label34.Caption := FloatToStr(razmer/vremja-1)+'байт/сек'; end; //Raswifrovanie failov klju4om na 6 bait procedure TForm1.Button4Click(Sender: TObject); var klu4:string; t1,t2:TDateTime; vremja:integer; razmer:integer; begin klu4:=Edit11.text; while( Length(klu4)<8 ) do klu4:=klu4+'0'; Formirovanie_16_podklju4ei(klu4); t1:=Time; if Form1.RadioButton10.Checked=true then begin Raswifrovanie_ECB('DES_crypted\Z_20_6_ECB.txt','DES_uncrypted\R_20_6_ECB.txt'); razmer:=1024*20; end; if Form1.RadioButton9.Checked=true then begin Raswifrovanie_ECB('DES_crypted\Z_50_6_ECB.txt','DES_uncrypted\R_50_6_ECB.txt'); razmer:=1024*50; end; if Form1.RadioButton8.Checked=true then begin Raswifrovanie_ECB('DES_crypted\Z_100_6_ECB.txt','DES_uncrypted\R_100_6_ECB.txt'); razmer:=1024*100; end; if Form1.RadioButton7.Checked=true then begin Raswifrovanie_ECB('DES_crypted\Z_500_6_ECB.txt','DES_uncrypted\R_500_6_ECB.txt'); razmer:=1024*500; end; if Form1.RadioButton6.Checked=true then begin Raswifrovanie_ECB('DES_crypted\Z_1_6_ECB.txt','DES_uncrypted\R_1_6_ECB.txt'); razmer:=1024*1024; end; t2:=Time; vremja:=round((t2 - t1)*24*60*60)+1; Label33.Caption := IntToStr(vremja-1)+ 'сек'; Label34.Caption := FloatToStr(razmer/vremja-1)+'байт/сек'; end; //Zawifrovanie failov klju4om na 7 bait procedure TForm1.Button5Click(Sender: TObject); var klu4:string; t1,t2:TDateTime; vremja:integer; razmer:integer; begin klu4:=Edit12.text; while( Length(klu4)<8 ) do klu4:=klu4+'0'; Formirovanie_16_podklju4ei(klu4); t1:=Time; if Form1.RadioButton10.Checked=true then begin Wifrovanie_ECB('20.txt','DES_crypted\Z_20_7_ECB.txt'); razmer:=1024*20; end; if Form1.RadioButton9.Checked=true then begin Wifrovanie_ECB('50.txt','DES_crypted\Z_50_7_ECB.txt'); razmer:=1024*50; end; if Form1.RadioButton8.Checked=true then begin Wifrovanie_ECB('100.txt','DES_crypted\Z_100_7_ECB.txt'); razmer:=1024*100; end; if Form1.RadioButton7.Checked=true then begin Wifrovanie_ECB('500.txt','DES_crypted\Z_500_7_ECB.txt'); razmer:=1024*500; end; if Form1.RadioButton6.Checked=true then begin Wifrovanie_ECB('1.txt','DES_crypted\Z_1_7_ECB.txt'); razmer:=1024*1024; end; t2:=Time; vremja:=round((t2 - t1)*24*60*60)+1; Label33.Caption := IntToStr(vremja-1)+ 'сек'; Label34.Caption := FloatToStr(razmer/vremja-1)+'байт/сек'; end; //Raswifrovanie failov klju4om na 7 bait procedure TForm1.Button6Click(Sender: TObject); var klu4:string; t1,t2:TDateTime; vremja:integer; razmer:integer; begin klu4:=Edit12.text; while( Length(klu4)<8 ) do klu4:=klu4+'0'; Formirovanie_16_podklju4ei(klu4); t1:=Time; if Form1.RadioButton10.Checked=true then begin Raswifrovanie_ECB('DES_crypted\Z_20_7_ECB.txt','DES_uncrypted\R_20_7_ECB.txt'); razmer:=1024*20; end; if Form1.RadioButton9.Checked=true then begin Raswifrovanie_ECB('DES_crypted\Z_50_7_ECB.txt','DES_uncrypted\R_50_7_ECB.txt'); razmer:=1024*50; end; if Form1.RadioButton8.Checked=true then begin Raswifrovanie_ECB('DES_crypted\Z_100_7_ECB.txt','DES_uncrypted\R_100_7_ECB.txt'); razmer:=1024*100; end; if Form1.RadioButton7.Checked=true then begin Raswifrovanie_ECB('DES_crypted\Z_500_7_ECB.txt','DES_uncrypted\R_500_7_ECB.txt'); razmer:=1024*500; end; if Form1.RadioButton6.Checked=true then begin Raswifrovanie_ECB('DES_crypted\Z_1_7_ECB.txt','DES_uncrypted\R_1_7_ECB.txt'); razmer:=1024*1024; end; t2:=Time; vremja:=round((t2 - t1)*24*60*60)+1; Label33.Caption := IntToStr(vremja-1)+ 'сек'; Label34.Caption := FloatToStr(razmer/vremja-1)+'байт/сек'; end; //CBC zawifrovanie failov klju4om na 5 bait procedure TForm1.Button7Click(Sender: TObject); var klu4:string; vektor:string; t1,t2:TDateTime; vremja:integer; razmer:integer; begin klu4:=Edit10.text; while( Length(klu4)<8 ) do klu4:=klu4 + '*'; Formirovanie_16_podklju4ei(klu4); vektor:=Edit1.text; while( Length(vektor)<8 ) do vektor:=vektor+ '0'; t1:=Time; if Form1.RadioButton10.Checked=true then begin Wifrovanie_CBC('20.txt','DES_crypted\Z_20_5_CBС.txt',vektor); razmer:=1024*20; end; if Form1.RadioButton9.Checked=true then begin Wifrovanie_CBC('50.txt','DES_crypted\Z_50_5_CBС.txt',vektor); razmer:=1024*50; end; if Form1.RadioButton8.Checked=true then begin Wifrovanie_CBC('100.txt','DES_crypted\Z_100_5_CBС.txt',vektor); razmer:=1024*100; end; if Form1.RadioButton7.Checked=true then begin Wifrovanie_CBC('500.txt','DES_crypted\Z_500_5_CBС.txt',vektor); razmer:=1024*500; end; if Form1.RadioButton6.Checked=true then begin Wifrovanie_CBC('1.txt','DES_crypted\Z_1_5_CBС.txt',vektor); razmer:=1024*1024; end; t2:=Time; vremja:=round((t2 - t1)*24*60*60)+1; Label34.Caption := IntToStr(vremja-1)+ 'сек'; Label34.Caption := FloatToStr(razmer/vremja-1)+'байт/сек'; end; //CBC raswifrovanie failov klju4om na 5 bait procedure TForm1.Button8Click(Sender: TObject); var klu4:string; vektor:string; t1,t2:TDateTime; vremja:integer; razmer:integer; begin klu4:=Edit10.text; while( Length(klu4)<8 ) do klu4:=klu4 + '*'; Formirovanie_16_podklju4ei(klu4); vektor:=Edit1.text; while( Length(vektor)<8 ) do vektor:=vektor+ '0'; t1:=Time; if Form1.RadioButton10.Checked=true then begin Raswifrovanie_CBC('DES_crypted\Z_20_5_CBС.txt','DES_uncrypted\R_20_5_CBС.txt',vektor); razmer:=1024*20; end; if Form1.RadioButton9.Checked=true then begin Raswifrovanie_CBC('DES_crypted\Z_50_5_CBС.txt','DES_uncrypted\R_50_5_CBС.txt',vektor); razmer:=1024*50; end; if Form1.RadioButton8.Checked=true then begin Raswifrovanie_CBC('DES_crypted\Z_100_5_CBС.txt','DES_uncrypted\R_100_5_CBС.txt',vektor); razmer:=1024*100; end; if Form1.RadioButton7.Checked=true then begin Raswifrovanie_CBC('DES_crypted\Z_500_5_CBС.txt','DES_uncrypted\R_500_5_CBС.txt',vektor); razmer:=1024*500; end; if Form1.RadioButton6.Checked=true then begin Raswifrovanie_CBC('DES_crypted\Z_1_5_CBС.txt','DES_uncrypted\R_1_5_CBС.txt',vektor); razmer:=1024*1024; end; t2:=Time; vremja:=round((t2 - t1)*24*60*60)+1; Label33.Caption := IntToStr(vremja-1)+ 'сек'; Label34.Caption := FloatToStr(razmer/vremja-1)+'байт/сек'; end; //CBC zawifrovanie failov klju4om na 6 bait procedure TForm1.Button9Click(Sender: TObject); var klu4:string; vektor:string; t1,t2:TDateTime; vremja:integer; razmer:integer; begin klu4:=Edit11.text; while( Length(klu4)<8 ) do klu4:=klu4 + '*'; Formirovanie_16_podklju4ei(klu4); vektor:=Edit1.text; while( Length(vektor)<8 ) do vektor:=vektor+ '0'; t1:=Time; if Form1.RadioButton10.Checked=true then begin Wifrovanie_CBC('20.txt','DES_crypted\Z_20_6_CBС.txt',vektor); razmer:=1024*20; end; if Form1.RadioButton9.Checked=true then begin Wifrovanie_CBC('50.txt','DES_crypted\Z_50_6_CBС.txt',vektor); razmer:=1024*50; end; if Form1.RadioButton8.Checked=true then begin Wifrovanie_CBC('100.txt','DES_crypted\Z_100_6_CBС.txt',vektor); razmer:=1024*100; end; if Form1.RadioButton7.Checked=true then begin Wifrovanie_CBC('500.txt','DES_crypted\Z_500_6_CBС.txt',vektor); razmer:=1024*500; end; if Form1.RadioButton6.Checked=true then begin Wifrovanie_CBC('1.txt','DES_crypted\Z_1_6_CBС.txt',vektor); razmer:=1024*1024; end; t2:=Time; vremja:=round((t2 - t1)*24*60*60)+1; Label33.Caption := IntToStr(vremja-1)+ 'сек'; Label34.Caption := FloatToStr(razmer/vremja-1)+'байт/сек'; end; //CBC raswifrovanie failov klju4om na 6 bait procedure TForm1.Button10Click(Sender: TObject); var klu4:string; vektor:string; t1,t2:TDateTime; vremja:integer; razmer:integer; begin klu4:=Edit11.text; while( Length(klu4)<8 ) do klu4:=klu4 + '*'; Formirovanie_16_podklju4ei(klu4); vektor:=Edit1.text; while( Length(vektor)<8 ) do vektor:=vektor+ '0'; t1:=Time; if Form1.RadioButton10.Checked=true then begin Raswifrovanie_CBC('DES_crypted\Z_20_6_CBС.txt','DES_uncrypted\R_20_6_CBС.txt',vektor); razmer:=1024*20; end; if Form1.RadioButton9.Checked=true then begin Raswifrovanie_CBC('DES_crypted\Z_50_6_CBС.txt','DES_uncrypted\R_50_6_CBС.txt',vektor); razmer:=1024*50; end; if Form1.RadioButton8.Checked=true then begin Raswifrovanie_CBC('DES_crypted\Z_100_6_CBС.txt','DES_uncrypted\R_100_6_CBС.txt',vektor); razmer:=1024*100; end; if Form1.RadioButton7.Checked=true then begin Raswifrovanie_CBC('DES_crypted\Z_500_6_CBС.txt','DES_uncrypted\R_500_6_CBС.txt',vektor); razmer:=1024*500; end; if Form1.RadioButton6.Checked=true then begin Raswifrovanie_CBC('DES_crypted\Z_1_6_CBС.txt','DES_uncrypted\R_1_6_CBС.txt',vektor); razmer:=1024*1024; end; t2:=Time; vremja:=round((t2 - t1)*24*60*60); Label33.Caption := IntToStr(vremja)+ 'сек'; Label34.Caption := FloatToStr(razmer/vremja)+'байт/сек'; end; //CBC zawifrovanie failov klju4om na 7 bait procedure TForm1.Button11Click(Sender: TObject); var klu4:string; vektor:string; t1,t2:TDateTime; vremja:integer; razmer:integer; begin klu4:=Edit12.text; while( Length(klu4)<8 ) do klu4:=klu4 + '*'; Formirovanie_16_podklju4ei(klu4); vektor:=Edit1.text; while( Length(vektor)<8 ) do vektor:=vektor+ '0'; t1:=Time; if Form1.RadioButton10.Checked=true then begin Wifrovanie_CBC('20.txt','DES_crypted\Z_20_7_CBС.txt',vektor); razmer:=1024*20; end; if Form1.RadioButton9.Checked=true then begin Wifrovanie_CBC('50.txt','DES_crypted\Z_50_7_CBС.txt',vektor); razmer:=1024*50; end; if Form1.RadioButton8.Checked=true then begin Wifrovanie_CBC('100.txt','DES_crypted\Z_100_7_CBС.txt',vektor); razmer:=1024*100; end; if Form1.RadioButton7.Checked=true then begin Wifrovanie_CBC('500.txt','DES_crypted\Z_500_7_CBС.txt',vektor); razmer:=1024*500; end; if Form1.RadioButton6.Checked=true then begin Wifrovanie_CBC('1.txt','DES_crypted\Z_1_7_CBС.txt',vektor); razmer:=1024*1024; end; t2:=Time; vremja:=round((t2 - t1)*24*60*60)+1; Label33.Caption := IntToStr(vremja-1)+ 'сек'; Label34.Caption := FloatToStr(razmer/vremja-1)+'байт/сек'; end; //CBC raswifrovanie failov klju4om na 7 bait procedure TForm1.Button12Click(Sender: TObject); var klu4:string; vektor:string; t1,t2:TDateTime; vremja:integer; razmer:integer; begin klu4:=Edit12.text; while( Length(klu4)<8 ) do klu4:=klu4 + '*'; Formirovanie_16_podklju4ei(klu4); vektor:=Edit1.text; while( Length(vektor)<8 ) do vektor:=vektor+ '0'; t1:=Time; if Form1.RadioButton10.Checked=true then begin Raswifrovanie_CBC('DES_crypted\Z_20_7_CBС.txt','DES_uncrypted\R_20_7_CBС.txt',vektor); razmer:=1024*20; end; if Form1.RadioButton9.Checked=true then begin Raswifrovanie_CBC('DES_crypted\Z_50_7_CBС.txt','DES_uncrypted\R_50_7_CBС.txt',vektor); razmer:=1024*50; end; if Form1.RadioButton8.Checked=true then begin Raswifrovanie_CBC('DES_crypted\Z_100_7_CBС.txt','DES_uncrypted\R_100_7_CBС.txt',vektor); razmer:=1024*100; end; if Form1.RadioButton7.Checked=true then begin Raswifrovanie_CBC('DES_crypted\Z_500_7_CBС.txt','DES_uncrypted\R_500_7_CBС.txt',vektor); razmer:=1024*500; end; if Form1.RadioButton6.Checked=true then begin Raswifrovanie_CBC('DES_crypted\Z_1_7_CBС.txt','DES_uncrypted\R_1_7_CBС.txt',vektor); razmer:=1024*1024; end; t2:=Time; vremja:=round((t2 - t1)*24*60*60); Label33.Caption := IntToStr(vremja)+ 'сек'; Label34.Caption := FloatToStr(razmer/vremja)+'байт/сек'; end; //S4itivaem alfavit dlja RSA procedure TForm1.FormCreate(Sender: TObject); begin alf:=Form1.Label38.Caption; end; //Generacija prostih 4isel s pomowiju reweta Eratosfena procedure TForm1.Button13Click(Sender: TObject); const n = 5000; var a:array[2..n] of boolean; i,j:integer; begin for i:=2 to n do a[i] := false; for i:=2 to n do begin if(a[i] = false) then begin j:=2; while i*j<=n do begin a[i*j]:=true; j:=j+1; end; end; end; ListBox4.Clear; for i:=1 to n do begin if(a[i] = false) then ListBox4.Items.Add(IntToStr(i)); end; end; //Generacija vozmognih variantov klju4a Ka procedure TForm1.Button14Click(Sender: TObject); var i:integer; f:int64;//4islo vzaimno prostih 4isel s N N,P,Q:int64; x,y:int64; k:integer; begin P:=StrToInt(Edit5.Text); Q:=StrToInt(Edit4.Text); N:=Q*P; //Vi4isljaem koli4estvo vzaimno prostih s N 4isel f:=(P-1)*(Q-1); //Vivodim vse vozmognie Ka ListBox3.Clear; k:=0; for i:=(f div 2) to f do begin if(NOD(i,f,x,y)= 1) then begin ListBox3.Items.Add(IntToStr(i)); inc(k); if k=100 then break; end; end; end; //Zawifrovanie failov klju4om Ka procedure TForm1.Button15Click(Sender: TObject); var Ka:int64; Kb:int64; Q,P:int64; i:integer; t1,t2:TDateTime; vremja:integer; razmer:integer; begin P:= StrToInt(Edit5.Text); //S4itivaem P Q:= StrToInt(Edit4.Text); //S4itivaem Q if(ListBox3.ItemIndex <> -1) then begin Ka:= StrToInt(ListBox3.Items[ListBox3.ItemIndex]);//Opredeljaem sly4ainim obrazom Ka Kb := -1; t1:=Time; if Form1.RadioButton10.Checked=true then begin Wifrovanie_RSA(Ka, P, Q, '20RSA.txt','RSA_crypted\Z_20_RSA.txt',Kb); razmer:=1024*20; end; if Form1.RadioButton9.Checked=true then begin Wifrovanie_RSA(Ka, P, Q, '50RSA.txt','RSA_crypted\Z_50_RSA.txt',Kb); razmer:=1024*50; end; if Form1.RadioButton8.Checked=true then begin Wifrovanie_RSA(Ka, P, Q, '100RSA.txt','RSA_crypted\Z_100_RSA.txt',Kb); razmer:=1024*100; end; if Form1.RadioButton7.Checked=true then begin Wifrovanie_RSA(Ka, P, Q, '500RSA.txt','RSA_crypted\Z_500_RSA.txt',Kb); razmer:=1024*500; end; if Form1.RadioButton6.Checked=true then begin Wifrovanie_RSA(Ka, P, Q, '1RSA.txt','RSA_crypted\Z_1_RSA.txt',Kb); razmer:=1024*1024; end; t2:=Time; end; Label13.Caption := IntToStr(Ka);; //Vivodin Ka Label12.Caption := IntToStr(Kb); //Vivodim Kb vremja:=round((t2 - (t1+0.0000001))*24*60*60*1000); Label33.Caption := (IntToStr(vremja-round(0.0000001)))+ 'милисек'; Label34.Caption := FloatToStr((razmer/vremja)-0.0000001)+'байт/милисек'; end; //Raswifrovat faili klju4om Ka1 procedure TForm1.Button16Click(Sender: TObject); var Ka:int64; Kb:int64; Q,P:int64; i:integer; ish_f,vihod_f:TextFile; t1,t2:TDateTime; vremja:integer; razmer:integer; begin P:= StrToInt(Edit5.Text); //S4itivaem P Q:= StrToInt(Edit4.Text); //S4itivaem Q if(ListBox3.ItemIndex <> -1) then begin Ka:= StrToInt(ListBox3.Items[ListBox3.ItemIndex]);//Opredeljaem sly4ainim obrazom Ka Kb:=StrToInt(Label12.Caption); t1:=Time; if Form1.RadioButton10.Checked=true then begin Raswifrovanie_RSA(Kb,P,Q,'RSA_crypted\Z_20_RSA.txt','RSA_uncrypted\R_20_RSA.txt'); razmer:=1024*20; end; if Form1.RadioButton9.Checked=true then begin Raswifrovanie_RSA(Kb,P,Q,'RSA_crypted\Z_50_RSA.txt','RSA_uncrypted\R_50_RSA.txt'); razmer:=1024*20; end; if Form1.RadioButton8.Checked=true then begin Raswifrovanie_RSA(Kb,P,Q,'RSA_crypted\Z_100_RSA.txt','RSA_uncrypted\R_100_RSA.txt'); razmer:=1024*20; end; if Form1.RadioButton7.Checked=true then begin Raswifrovanie_RSA(Kb,P,Q,'RSA_crypted\Z_500_RSA.txt','RSA_uncrypted\R_500_RSA.txt'); razmer:=1024*20; end; if Form1.RadioButton6.Checked=true then begin Raswifrovanie_RSA(Kb,P,Q,'RSA_crypted\Z_1_RSA.txt','RSA_uncrypted\R_1_RSA.txt'); razmer:=1024*20; end; t2:=Time; end; vremja:=round((t2 - t1)*24*60*60)+1; Label33.Caption := IntToStr(vremja-1)+ 'милисек'; Label34.Caption := FloatToStr((razmer/vremja)-1)+'байт/сек'; end; end. Подключаемые модули unit DES_ECB_CBC_unit; interface procedure Wifrovanie_ECB(nazv_ish_f:string;nazv_vih_f:string); procedure Raswifrovanie_ECB(nazv_ish_f:string;nazv_vih_f:string); procedure Wifrovanie_CBC(nazv_ish_f:string;nazv_vih_f:string;vektor:string); procedure Raswifrovanie_CBC(nazv_ish_f:string;nazv_vih_f:string;vektor:string); implementation uses DES_unit; procedure Wifrovanie_ECB(nazv_ish_f:string;nazv_vih_f:string); var i:integer; ish_text,vihod_text:string; bykva:byte; ish_f,vihod_f:file of byte; begin assignfile(ish_f,nazv_ish_f); reset(ish_f); assignfile(vihod_f,nazv_vih_f); rewrite(vihod_f); while not EOF(ish_f) do begin read(ish_f,bykva); ish_text:=ish_text+chr(bykva); if Length(ish_text) = 8 then begin vihod_text:= Kodirovat(ish_text); for i:=1 to 8 do begin bykva:=byte(vihod_text[i]); write(vihod_f,bykva); end; ish_text := ''; end; end; if(Length(ish_text) <> 0) then begin while length(ish_text)<8 do ish_text:=ish_text+'0'; vihod_text := Kodirovat(ish_text); for i:=1 to 8 do begin bykva:=byte(vihod_text[i]); write(vihod_f,bykva); end; end; end; procedure Raswifrovanie_ECB(nazv_ish_f:string;nazv_vih_f:string); var i:integer; ish_text,vihod_text:string; bykva:byte; ish_f,vihod_f:file of byte; begin assignfile(ish_f,nazv_ish_f); reset(ish_f); assignfile(vihod_f,nazv_vih_f); rewrite(vihod_f); while not EOF(ish_f) do begin read(ish_f,bykva); ish_text:=ish_text+chr(bykva); if Length(ish_text) = 8 then begin vihod_text:= Raskodirovat(ish_text); for i:=1 to 8 do begin bykva:=byte(vihod_text[i]); write(vihod_f,bykva); end; ish_text := ''; end; end; if(Length(ish_text) <> 0) then begin while length(ish_text)<8 do ish_text:=ish_text+'0'; vihod_text := Raskodirovat(ish_text); for i:=1 to 8 do begin bykva:=byte(vihod_text[i]); write(vihod_f,bykva); end; end; end; procedure Wifrovanie_CBC(nazv_ish_f:string;nazv_vih_f:string;vektor:string); var i:integer; ish_text,vihod_text:string; bykva:byte; ish_f,vihod_f:file of byte; begin assignfile(ish_f,nazv_ish_f); reset(ish_f); assignfile(vihod_f,nazv_vih_f); rewrite(vihod_f); while not EOF(ish_f) do begin read(ish_f,bykva); ish_text:=ish_text+chr(bykva); if Length(ish_text) = 8 then begin for i:=1 to 8 do ish_text[i]:=chr(ord(ish_text[i]) xor ord(vektor[i])); vihod_text:= Kodirovat(ish_text); vektor := vihod_text; for i:=1 to 8 do begin bykva:=byte(vihod_text[i]); write(vihod_f,bykva); end; ish_text := ''; end; end; if(Length(ish_text) <> 0) then begin while length(ish_text)<8 do ish_text:=ish_text+'0'; for i:=1 to 8 do ish_text[i] := chr(ord(ish_text[i]) xor ord(vektor[i])); vihod_text := Kodirovat(ish_text); for i:=1 to 8 do begin bykva:=byte(vihod_text[i]); write(vihod_f,bykva); end; end; end; procedure Raswifrovanie_CBC(nazv_ish_f:string;nazv_vih_f:string;vektor:string); var i:integer; ish_text,vihod_text,tmp:string; bykva:byte; ish_f,vihod_f:file of byte; begin assignfile(ish_f,nazv_ish_f); reset(ish_f); assignfile(vihod_f,nazv_vih_f); rewrite(vihod_f); while not EOF(ish_f) do begin read(ish_f,bykva); ish_text:=ish_text+chr(bykva); if Length(ish_text) = 8 then begin tmp := ish_text; vihod_text:= Raskodirovat(ish_text); for i:=1 to 8 do vihod_text[i] := chr(ord(vihod_text[i]) xor ord(vektor[i])); vektor := tmp; for i:=1 to 8 do begin bykva:=byte(vihod_text[i]); write(vihod_f,bykva); end; ish_text := ''; end; end; if(Length(ish_text) <> 0) then begin while length(ish_text)<8 do ish_text:=ish_text+'0'; tmp := ish_text; vihod_text:= Raskodirovat(ish_text); for i:=1 to 8 do vihod_text[i] := chr(ord(vihod_text[i]) xor ord(vektor[i])); vektor := tmp; for i:=1 to 8 do begin bykva:=byte(vihod_text[i]); write(vihod_f,bykva); end; end; end; end. unit DES_unit; interface type odnom_1_64=array[1..64] of byte; type odnom_1_56=array[1..56] of byte; type odnom_1_48=array[1..48] of byte; type odnom_1_32=array[1..32] of byte; type dvym_1_17_1_32=array[1..17,1..32] of byte; type dvym_1_17_1_28=array[1..17,1..28] of byte; type dvym_1_16_1_48=array[1..16,1..48] of byte;//16 подключей procedure Perestanovka_IP (var Klju4_64_posle_IP: odnom_1_64); procedure Perestanovka_E (n:integer; Tekst_32_do_E: dvym_1_17_1_32; var Tekst_48_posle_E: odnom_1_48); procedure Perestanovka_P(var Tekst_32_posle_P:odnom_1_32); procedure S_Blok (e: odnom_1_48; var p: odnom_1_32); procedure Perestanovka_IP_1 (var Tekst_64_posle_IP1: odnom_1_64); procedure TextVBinarn (Tekst_bykv: string; var Tekst_64_binar: odnom_1_64); procedure BinarnVText(Tekst_64_binar: odnom_1_64;var Tekst_bykv: string); function Kodirovat(Ish_tekst_bykv:string):string; function Raskodirovat(Wifr_tekst_bykv:string):string; implementation uses podkluchi_unit; var matrica_IP:array[1..64] of byte=(58, 50, 42, 34, 26, 18, 10, 02, 60, 52, 44, 36, 28, 20, 12, 04, 62, 54, 46, 38, 30, 22, 14, 06, 64, 56, 48, 40, 32, 24, 16, 08, 57, 49, 41, 33, 25, 17, 09, 01, 59, 51, 43, 35, 27, 19, 11, 03, 61, 53, 45, 37, 29, 21, 13, 05, 63, 55, 47, 39, 31, 23, 15, 07); matrica_E:array[1..48] of byte=(32, 01, 02, 03, 04, 05, 04, 05, 06, 07, 08, 09, 08, 09, 10, 11, 12, 13, 12, 13, 14, 15, 16, 17, 16, 17, 18, 19, 20, 21, 20, 21, 22, 23, 24, 25, 24, 25, 26, 27, 28, 29, 28, 29, 30, 31, 32, 01); matrica_P:array[1..32] of byte=(16, 07, 20, 21, 29, 12, 28, 17, 01, 15, 23, 26, 05, 18, 31, 10, 02, 08, 24, 14, 32, 27, 03, 09, 19, 13, 30, 06, 22, 11, 04, 25); matrica_IP_1:array[1..64] of byte=(40, 08, 48, 16, 56, 24, 64, 32, 39, 07, 47, 15, 55, 23, 63, 31, 38, 06, 46, 14, 54, 22, 62, 30, 37, 05, 45, 13, 53, 21, 61, 29, 36, 04, 44, 12, 52, 20, 60, 28, 35, 03, 43, 11, 51, 19, 59, 27, 34, 02, 42, 10, 50, 18, 58, 26, 33, 01, 41, 09, 49, 17, 57, 25); procedure Perestanovka_IP (var Klju4_64_posle_IP: odnom_1_64); var Vrem_klju4_64: odnom_1_64; i:integer; begin //Kopirivanie binarnogo predstavlenia for i:=1 to 64 do Vrem_klju4_64[i]:=Klju4_64_posle_IP[i]; //IP perestanovka for i:=1 to 64 do Klju4_64_posle_IP[i]:=Vrem_klju4_64[matrica_IP[i]]; end; procedure Perestanovka_E (n:integer; Tekst_32_do_E: dvym_1_17_1_32; var Tekst_48_posle_E: odnom_1_48); var i:integer; begin for i:=1 to 48 do Tekst_48_posle_E[i]:=Tekst_32_do_E[n,matrica_E[i]]; end; procedure Perestanovka_P(var Tekst_32_posle_P:odnom_1_32); var i:integer; Vrem_tekst_32:odnom_1_32; begin //Kopiy binarnogo predstavlenia for i:=1 to 32 do Vrem_tekst_32[i]:=Tekst_32_posle_P[i]; //P perestanovka bit for i:=1 to 32 do Tekst_32_posle_P[i]:=Vrem_tekst_32[matrica_P[i]]; end; procedure S_Blok (e: odnom_1_48; var p: odnom_1_32); var q,i,j:integer;//s4et4iki k:integer;//4islo na perese4enii neobhodimoi stro4ki i stolbika h:integer; symma_2_krainih,symma_4_vnytrennih:integer; s_blok:array[0..3,0..15] of byte; B_dvym_8_6:array[1..8,1..6] of byte; f:textfile; begin //Razbitie na 8 4astei po 6 bit q:=0; for i:=1 to 8 do for j:=1 to 6 do begin q:=q+1; B_dvym_8_6[i,j]:=e[q]; end; //S4itivaem S blok AssignFile(f,'S.txt'); Reset(f); //!!!!!!!!!!!!!!!!!!!!!!!!!!!!!!!!!!!!!!!!!!!!!! for q:=1 to 8 do begin symma_2_krainih:=B_dvym_8_6[q,6]+B_dvym_8_6[q,1]*2; symma_4_vnytrennih:=B_dvym_8_6[q,2]+2*B_dvym_8_6[q,3]+4*B_dvym_8_6[q,4]+8*B_dvym_8_6[q,5]; for i:=0 to 3 do for j:=0 to 15 do read(f,s_blok[i,j]); k:=s_blok[symma_2_krainih,symma_4_vnytrennih]; h:=4*q; for j:=1 to 4 do begin p[h]:=k mod 2; k:=k div 2; h:=h-1; end end; closefile(f); end; procedure Perestanovka_IP_1 (var Tekst_64_posle_IP1: odnom_1_64); var Vrem_tekst_64: odnom_1_64; i:integer; begin //Kopiy binarnogo predstavlenia for i:=1 to 64 do Vrem_tekst_64[i]:=Tekst_64_posle_IP1[i]; //IP perestanovka bit for i:=1 to 64 do Tekst_64_posle_IP1[i]:=Vrem_tekst_64[matrica_IP_1[i]]; end; //Perevodit text v binarnoe predstavlenie procedure TextVBinarn (Tekst_bykv: string; var Tekst_64_binar: odnom_1_64); var j,h,a,i:integer; alfav_ASCII:array[1..8] of integer; begin //Perevod simvolov v ASCII-kodi for i:=1 to 8 do alfav_ASCII[i]:=ord(Tekst_bykv[i]);//vozvrawaet № simvola v ASC //Perevod chisel v binarniy kod for j:=1 to 8 do begin h:=8*j; a:=alfav_AscII[j]; for i:=1 to 8 do begin Tekst_64_binar[h]:=a mod 2; a:=a div 2;//sdvig vpravo na 1 h:=h-1; end end; end; //+++++++++++++++++++++++++++++++++++++++++++++++++++++++ //Perevodit binarnoe predstavlenie v tekst procedure BinarnVText(Tekst_64_binar: odnom_1_64;var Tekst_bykv: string); var Vrem_tekst:string; a,i,j:integer; begin Vrem_tekst:=''; for i:=1 to 8 do begin a:=0; for j:=(i-1)*8+1 to i*8 do a:= a*2+Tekst_64_binar[j]; Vrem_tekst:=concat(Vrem_tekst,char(a));//prilirljaet k s a end; Tekst_bykv:=Vrem_tekst; end; function Kodirovat(Ish_tekst_bykv:string):string; var Ish_tekst_64_binar:odnom_1_64; i,j:integer; levaja,pravaja:dvym_1_17_1_32; Tekst_48_posle_raswirenija:odnom_1_48; B_tekst_32:odnom_1_32; begin TextVBinarn (Ish_tekst_bykv,Ish_tekst_64_binar); Perestanovka_IP (Ish_tekst_64_binar); //Delim na levyju i na pravyju 4asti j:=0; for i:=1 to 64 do if i<33 then levaja[1,i]:=Ish_tekst_64_binar[i] else begin j:=j+1; pravaja[1,j]:=Ish_tekst_64_binar[i]; end; //16 rayndov wifrovanija for i:=2 to 17 do begin for j:=1 to 32 do levaja[i,j]:=pravaja[i-1,j]; Perestanovka_E(i-1,pravaja,Tekst_48_posle_raswirenija); for j:=1 to 48 do Tekst_48_posle_raswirenija[j]:=Tekst_48_posle_raswirenija[j] xor podklu4i[i-1,j]; s_blok(Tekst_48_posle_raswirenija,B_tekst_32); Perestanovka_P(B_tekst_32); for j:=1 to 32 do pravaja[i,j]:=levaja[i-1,j] xor B_tekst_32[j]; end; //!!! //Menjaem mestami for i:=1 to 32 do begin j:= pravaja[17][i]; pravaja[17][i] := levaja[17][i]; levaja[17][i] := j; end; //Skladivanie levoi i pravoi j:=0; for i:=1 to 64 do if i<33 then Ish_tekst_64_binar[i]:=levaja[17,i] else begin j:=j+1; Ish_tekst_64_binar[i]:=pravaja[17,j]; end; Perestanovka_IP_1(Ish_tekst_64_binar); BinarnVText(Ish_tekst_64_binar,Ish_tekst_bykv); kodirovat:= Ish_tekst_bykv; end; function Raskodirovat(Wifr_tekst_bykv:string):string; var Wifr_tekst_64_binar:odnom_1_64; i,j:integer; levaja,pravaja:dvym_1_17_1_32; Tekst_48_posle_raswirenija:odnom_1_48; B_tekst_32:odnom_1_32; begin TextVBinarn (Wifr_tekst_bykv,Wifr_tekst_64_binar); Perestanovka_IP (Wifr_tekst_64_binar); //Delim na levyju i na pravyju 4asti j:=0; for i:=1 to 64 do if i<33 then levaja[17,i]:=Wifr_tekst_64_binar[i] else begin j:=j+1; pravaja[17,j]:=Wifr_tekst_64_binar[i]; end; //!!!!!!!! //Menjaem mestami for i:=1 to 32 do begin j:= pravaja[17][i]; pravaja[17][i]:=levaja[17][i]; levaja[17][i]:=j; end; //16 raundov wifrovanija for i:=17 downto 2 do begin for j:=1 to 32 do pravaja[i-1,j]:=levaja[i,j]; Perestanovka_E(i,levaja,Tekst_48_posle_raswirenija); for j:=1 to 48 do Tekst_48_posle_raswirenija[j]:=Tekst_48_posle_raswirenija[j] xor podklu4i[i-1,j]; s_blok(Tekst_48_posle_raswirenija,B_tekst_32); Perestanovka_P(B_tekst_32); for j:=1 to 32 do levaja[i-1,j]:=pravaja[i,j] xor B_tekst_32[j]; end; //Skladivanie levoi i pravoi j:=0; for i:=1 to 64 do if i<33 then Wifr_tekst_64_binar[i]:=levaja[1,i] else begin j:=j+1; Wifr_tekst_64_binar[i]:=pravaja[1,j]; end; Perestanovka_IP_1(Wifr_tekst_64_binar); BinarnVText(Wifr_tekst_64_binar,Wifr_tekst_bykv); Raskodirovat:=Wifr_tekst_bykv; end; end. unit Podkluchi_unit; interface uses DES_unit; var podklu4i:dvym_1_16_1_48; matrica_PC1:array[1..56] of byte=(57, 49, 41, 33, 25, 17, 09, 01, 58, 50, 42, 34, 26, 18, 10, 02, 59, 51, 43, 35, 27, 19, 11, 03, 60, 52, 44, 36, 63, 55, 47, 39, 31, 23, 15, 07, 62, 54, 46, 38, 30, 22, 14, 06, 61, 53, 45, 37, 29, 21, 13, 05, 28, 20, 12, 04); matrica_PC2:array[1..48] of byte=(14, 17, 11, 24, 01, 05, 03, 28, 15, 06, 21, 10, 23, 19, 12, 04, 26, 08, 16, 07, 27, 20, 13, 02, 41, 52, 31, 37, 47, 55, 30, 40, 51, 45, 33, 48, 44, 49, 39, 56, 34, 53, 46, 42, 50, 36, 29, 32); matrica_sdvigov:array[1..16] of byte=(1,1,2,2, 2,2,2,2, 1,2,2,2, 2,2,2,1); procedure Formirovanie_16_podklju4ei(Klju4_64:string); implementation //+++++++++++++++++++++++++++++++++++++++++++++++++++++++ procedure Perestanovka_PC1(Klju4_64_do_PC1: odnom_1_64; var Klju4_64_posle_PC1:odnom_1_56); var i:integer; begin for i:=1 to 56 do Klju4_64_posle_PC1[i]:=Klju4_64_do_PC1[matrica_PC1[i]]; end; //+++++++++++++++++++++++++++++++++++++++++++++++++++++++ procedure Perestanovka_PC2(Klju4_56_do_PC2:odnom_1_56; k:integer); var i:integer; begin for i:=1 to 48 do podklu4i[k][i]:=Klju4_56_do_PC2[matrica_PC2[i]]; end; //+++++++++++++++++++++++++++++++++++++++++++++++++++++++ procedure Formirovanie_16_podklju4ei(Klju4_64:string); var i,j,k:integer; c_vrem,d_vrem: dvym_1_17_1_28; c: dvym_1_17_1_28; d: dvym_1_17_1_28; c_d: odnom_1_56; Klju4ik_64:odnom_1_64; Klju4ik_56:odnom_1_56; begin TextVBinarn (Klju4_64,Klju4ik_64);//ключиз 64 в 64 Perestanovka_PC1(Klju4ik_64,Klju4ik_56);//битовыйключ 64, битовыйключ 56 //Razbivaem na c i d j:=0; for i:=1 to 56 do if i<29 then c[1,i]:=Klju4ik_56[i] else begin j:=j+1; d[1,j]:=Klju4ik_56[i]; end; //Kopiryem с i в vo vremennie c_vrem i d_vrem for j:=1 to 28 do begin c_vrem[1,j]:=c[1,j]; d_vrem[1,j]:=d[1,j]; end; //!!!!!!!!!!!!!!!!!!!!!!!!!!!!!!!!!!!!!!!!!!!!!!!!!!!!!!!!!!!!! //Delaem sdvigi LSi for i:=2 to 17 do begin k:=0; for j:=1 to 28 do if j+matrica_sdvigov[i-1]>28 then begin k:=k+1; c[i,j]:=c_vrem[i-1,k]; d[i,j]:=d_vrem[i-1,k]; c_vrem[i,j]:=c[i,j]; d_vrem[i,j]:=d[i,j]; end else begin c[i,j]:=c_vrem[i-1,j+matrica_sdvigov[i-1]]; d[i,j]:=d_vrem[i-1,j+matrica_sdvigov[i-1]]; c_vrem[i,j]:=c[i,j]; d_vrem[i,j]:=d[i,j]; end; end; //Sobiraem с i в vmeste for i:=2 to 17 do begin k:=0; for j:=1 to 28 do begin k:=k+1; c_d[k]:=c[i,j]; end; for j:=1 to 28 do begin k:=k+1; c_d[k]:=d[i,j]; end; Perestanovka_PC2(c_d,i-1); end; end; end. unit RSA_unit; interface function NOD(a{3}:int64;b{fi}:int64;var x:int64;var y:int64):int64; function Nomer_v_alfavite(a:char):byte; function Vozvedenie_po_modylju(osnovanie:int64; stepen:int64;modyl:int64):int64; procedure Wifrovanie_RSA(Ka:int64; P:int64; Q:int64; nazv_ish_f:string;nazv_vih_f:string;var Kb:int64); procedure RasWifrovanie_RSA(Kb:int64; P:int64; Q:int64; nazv_ish_f:string;nazv_vih_f:string); var alf:string; implementation function Vozvedenie_v_stepen(osnovanie:int64; stepen:int64):int64; var rez:longint; i:longint; begin rez:=1; for i:= 1 to stepen do rez := rez*osnovanie; Vozvedenie_v_stepen:= rez; end; function Vozvedenie_po_modylju(osnovanie:int64; stepen:int64;modyl:int64):int64; var rez:int64; i:longint; t:int64;//osnovanie vo vremennoi stepeni begin rez:=1; t:=osnovanie; while(stepen<> 0) do begin if(stepen mod 2 = 1) then rez := (rez * t) mod modyl; t:=(t*t) mod modyl; stepen:= stepen div 2; end; Vozvedenie_po_modylju:=rez; end; //Vozvrawaet nomer bykvi v alfavite function Nomer_v_alfavite(a:char):byte; var i:byte; begin i:=0; while( (i<=Length(alf)) and (alf[i+1] <> a) ) do i:=i+1; Nomer_v_alfavite:= i; end; //Naibolwii obwii delitel function NOD(a{3}:int64;b{fi}:int64;var x:int64;var y:int64):int64; var x1,y1:longint; x2,y2:longint; q:longint; r:longint; begin if(b=0)then begin NOD:=a; x:=1; y:=0; end else begin x2:=1; x1:=0; y2:=0; y1:=1; while (b>0)do begin q:=a div b; r:=a-q*b; x:=x2-q*x1; y:=y2-q*y1; a:=b; b:=r; x2:=x1; x1:=x; y2:=y1; y1:=y; end; NOD:=a; x:=x2; y:=y2; end; end; //RSA wifrovanie failov procedure Wifrovanie_RSA(Ka:int64; P:int64; Q:int64; nazv_ish_f:string;nazv_vih_f:string;var Kb:int64); var N:int64; M,C:int64; f:int64;//4islo vzaimnoprostih 4isel s N i:integer; ish_text,vihod_text:string; bykva:char; ish_f,vihod_f:TextFile; begin N := Q*P; //Nahodim N f := (P-1)*(Q-1); //Nahodin 4islo vzaimnoprostih 4isel s N NOD(Ka,f,Kb,M); //Nahodim Kb while(Kb < 0) do Kb:= Kb + f; //Esli Kb otricatelno to yveli4ivaem ego assignfile(ish_f,nazv_ish_f); reset(ish_f); assignfile(vihod_f,nazv_vih_f); rewrite(vihod_f); while not EOF(ish_f) do begin read(ish_f,bykva); C := Nomer_v_alfavite(bykva); C:=Vozvedenie_po_modylju(C,Ka,N); writeln(vihod_f,C); end; closefile(ish_f); closefile(vihod_f); end; //RSA raswifrovanie failov procedure RasWifrovanie_RSA(Kb:int64; P:int64; Q:int64; nazv_ish_f:string;nazv_vih_f:string); var N:int64; M,C:int64; f:int64;//4islo vzaimnoprostih 4isel s N i:integer; ish_text,vihod_text:string; bykva:char; ish_f,vihod_f:TextFile; begin N := Q*P; //Nahodim N f := (P-1)*(Q-1); //Nahodin 4islo vzaimnoprostih 4isel s N assignfile(ish_f,nazv_ish_f); reset(ish_f); assignfile(vihod_f,nazv_vih_f); rewrite(vihod_f); while not EOF(ish_f) do begin readln(ish_f,C); C:=Vozvedenie_po_modylju(C,Kb,N); bykva:= alf[C+1]; write(vihod_f,bykva); end; closefile(ish_f); closefile(vihod_f); end; end. Зашифрованный и разшифрованный текст записывается в директорию с исходным файлом.
В результате выполнения данной работы были получены практические навыки использования современных как симметрических (DES), так и асимметрических (RSA) алгоритмов шифрования. |





