Реферат: Расчет антенны типа Волновой канал
|
Название: Расчет антенны типа Волновой канал Раздел: Рефераты по коммуникации и связи Тип: реферат |
| 5 Эскиз антенны и схема питания
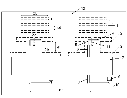
Рисунок 5.1 – Эскиз антенны и схемы питания где, 1 – директоры 2 – активный вибратор 3 – рефлектор 4, 5, 11 – элементы симметрирующего устройства для возбуждения вибратора. 6 – возбуждающая излучатель полосковая линия 7 – фазовращатель 8 – направленный ответвитель 9 – согласованная нагрузка направленного плеча ответвителя 10 – фозбуждающая распределительная полосковая линия 12 – текстолитовая подложка 6 Список литературы Антенны и устройства СВЧ. – Под редакцией Д.И. Воскресенского. – М.: Радио и связь,1972 Антенны и устройства СВЧ (Проектирование фазированных антенных решеток): Учебное пособие для вузов. Д.И.Воскресенский, Р.А.Грановская и др./Под ред. Д.И.Воскресенского.-М.: Радио и связь, 1981 Драбкин А.Л. и др. Антенно-фидерные устройства. Изд.-2е, доп. и переработанное. М.,”Сов. Радио”,1974 Кочержевский Г.Н. Антенно-фидерные устройства: Учебник для вузов. – 3-е изд., доп. и перераб. – М.: Радио и связь,1981 Айзенберг Г.З., Антенны УКВ. – т.1 – М.,1977 Приложение А
Рисунок А.1- Графики зависимости отношения напряженности поля вперед к полю назад в антенне без рефлектора от расстояния между директорами и собственного сопротивления директоров. Рисунок А.2- Графики зависимости отношения напряженности поля вперед к полю назад в антенне c рефлектором от расстояния между рефлектором и активным вибратором и собственного сопротивления рефлектора. Министерство образования РФ Новгородский Государственный Университет имени Ярослава Мудрого __________________________________________________________ Кафедра “Радиофизики” Антенна типа ”волновой канал” в печатном исполнении Курсовой проект по учебной дисциплине «Устройства СВЧ и антенны» Преподаватель _______ Петров Е.В. «___» __________2003 г. Студент группы 9011 _______ Руппель Д.А. «___» __________2003 г. Великий Новгород 2002 |




