Курсовая работа: Статистика образования 2
|
Название: Статистика образования 2 Раздел: Рефераты по маркетингу Тип: курсовая работа | |||||||||||||||||||||||||||||||||||||||||||||||||||||||||||||||||||||||||||||||||||||||||||||||||||||||||||||||||||||||||||||||||||||||||||||||||||||||||||||||||||||||||||||||||||||||||||||||||||||||||||||||||||||||||||||||||||||||||||||||||||||||||||||||||||||||||||||||||||||||||||||||||||||||||||||||||||||||||||||||||||||||||||||||||||||||||||||||||||||||||||||||||||||||||||||||||||||||||||||||||||||||||||||||||||||||||||||||||||||||||||||||||||||||||||||||||||||||||||||||||||||||||||||||||||||||||||||||||||||||||||||||||||||||||||||||||||||||||||||||||||||||||||||||||||||||||||||||||||||||||||||||||||||||||||||||||||||||||||||||||||||||||||||||||||||||||||||||||||||||||||||||||||||||||||||||||||||||||||||
|
Федеральное агентство по образованию Нижегородский государственный архитектурно-строительный университет Кафедра экономики, финансов и статистики Курсовая работа По дисциплине «статистика» Тема: «Статистика образования»
Выполнил: студент 2 курса спец. «Маркетинг» гр. Мр-13 Буянова Ольга Александровна Проверил: к.т.н., доцент Поначугин В.А. Нижний Новгород 2009 г .
Содержание Введение 2 I. Система образования в России, ее модернизация и задачи модернизации статистики образования 5 II. Статистический анализ образования 16 Заключение 44 Список литературы 45
Введение Образование является автономной системой, имеющей относительную самостоятельность, образование способно оказывать активное воздействие на функционирование и развитие общества. Как отрасль социальной сферы образование - это процесс и результат, система учреждений и государственная политика в области получения гарантированного Конституцией образования. Образование всегда было и остается неотъемлемой и важной сферой человеческой деятельности. Являясь фактором социально-экономического прогресса, образование относится к приоритетным аспектам политики государства. Человек как субъект процесса, выступая производительной силой в общественном производстве, должен по своим качествам соответствовать уровню современного социально-экономического развития государства, в котором живет и трудится. От уровня образования напрямую зависит качество трудовых ресурсов, а, следовательно, и состояние экономики, промышленности, производства. Образование выступает фактором воспроизводства социально-профессиональной структуры общества. Система образования формирует гражданина, тем самым оказывает воздействие на политическую сферу общественной жизни. Через культурно-воспитательную функцию образование оказывает влияние на духовную жизнь общества. Формирование общей культуры является условием любой профессиональной подготовки в будущем, создает условия и предпосылки для социальной мобильности человека или социальной группы, сохраняет и передает культурное достояние общества из поколения в поколение. Современное образование - это одно из средств решения важнейших проблем не только общества, но и отдельных индивидов. В любом государстве характер системы образования определяется социально-экономическим и политическим строем, а также культурно-историческими и национальными особенностями страны. Требования общества к образованию выражаются в системе принципов государственной образовательной политики. Целями государственной политики в этой сфере является создание условий для реализации гражданами своих прав на образование, по своей структуре и качеству соответствующее потребностям развития экономики и гражданского общества. Роль образования на современном этапе развития России определяется задачами ее перехода к демократическому и правовому государству, к рыночной экономике, необходимостью преодоления опасности отставания страны от мировых тенденций экономического и общественного развития. В современном мире значение образования как важнейшего фактора формирования нового качества экономики и общества увеличивается вместе с ростом влияния человеческого капитала. Российская система образования способна конкурировать с системами образования передовых стран. При этом необходимы широкая поддержка со стороны общественности проводимой образовательной политики, восстановление ответственности и активной роли государства в этой сфере, глубокая и всесторонняя модернизация образования с выделением необходимых для этого ресурсов и созданием механизмов их эффективного использования. От качества образования зависит экономическое и социальное развитие страны. Цель дипломной работы состоит в теоретическом и практическом исследовании статистики образования. В соответствии с данной целью были поставлены следующие задачи: Исследовать состояние и структуру системы образования России. Изучить состояние системы образования с помощью статистических данных.
Система образования в России Современное российское образование - это непрерывная система последовательных ступеней обучения, на каждой из которых действуют государственные, негосударственные, муниципальные образовательные учреждения разных типов и видов. Образовательная система объединяет дошкольное, общее среднее, среднее специальное, вузовское, послевузовское, дополнительное образование. К образовательным учреждениям относятся: - дошкольные; - общеобразовательные; - учреждения для детей-сирот и детей, оставшихся без попечения родителей; - профессиональные (начальные, средние специальные, высшие и т.п.); - учреждения дополнительного образования; -другие учреждения, предоставляющие образовательные услуги. Образовательные учреждения могут быть платными и бесплатными, коммерческими и некоммерческими. Им дано право заключать между собой соглашения, объединяться в учебно-воспитательные комплексы (детский сад - начальная школа, лицей-колледж-вуз) и учебно-научно-производственные объединения (ассоциации) с участием научных, производственных и других учреждений и организаций. Образование можно получать с отрывом и без отрыва от производства, в форме семейного (домашнего) образования, а также экстерната. Деятельность государственных, муниципальных образовательных учреждений строится на базе типовых положений, утвержденных Правительством РФ, о соответствующих типах и видах образовательных учреждений. На основе типовых положений разрабатываются уставы образовательных учреждений. Центральным звеном системы образования в Российской Федерации является общее среднее образование, которое обеспечивается средними общеобразовательными школами, школами с углубленным изучением отдельных предметов, гимназиями, лицеями, вечерними школами, образовательными учреждениями типа интернатов, специальными школами для детей с отклонениями в физическом и психическом развитии, внешкольными образовательными учреждениями (детские музыкальные и художественные школы, школы искусств, хоровые и хореографические студии, фольклорные ансамбли, детско-юношеские спортивные школы, станции юных техников, центры досуга и др.). Появляются новые виды образовательных учреждений (школы-интернаты искусств, агрошколы-интернаты, школы народных ремесел и др.). Главные задачи общеобразовательных учебных учреждений состоят в том, чтобы создать благоприятные условия для умственного, нравственного, эмоционального и физического развития личности; способствовать выработке научного мировоззрения; обеспечить освоение учащимися системы знаний о природе, обществе, человеке, его труде; сформировать приемы самостоятельной деятельности. 1) Детское дошкольное учреждение - тип образовательного учреждения в Российской Федерации, реализующего общеобразовательные программы дошкольного образования различной направленности. Дошкольное образовательное учреждение обеспечивает воспитание, обучение, присмотр, уход и оздоровление детей в возрасте от 2-х месяцев до 7 лет. В числе учреждений данного типа наиболее распространённым является детский сад. Помимо этого в России существуют и такие виды дошкольных учреждений как:
Основными задачами дошкольного учреждения в России являются:
В Российской Федерации в 2007 году насчитывалось более 45 тыс. детских дошкольных учреждений, в которых воспитывалось 4800 тыс. детей (61,3 % детей в возрасте до 7 лет, что почти приближается к уровню 1991 года — 63,9 %). Вместе с тем в ряде регионов сохраняется очередь на право получения места в дошкольном учреждении, что порой вынуждает родителей подавать заявление о приеме в дошкольное учреждение едва ли не сразу после рождения ребёнка. По данным Росстата, показатели очередности в дошкольные образовательные учреждения составляли на начало 2007 года около 1 млн. детей. На протяжении последних лет активно внедряются в практику работы дошкольных образовательных учреждений группы кратковременного пребывания детей, различные центры дошкольного образования: физкультурно-оздоровительные, ранней коррекции развития ребенка и др. Следует отметить, что сеть групп кратковременного пребывания развивается не вопреки и не вместо традиционных дошкольных учреждений полного дня, а вместе с ними. Наряду с традиционными режимами функционирования дошкольных образовательных учреждений (12-часовым и круглосуточным режимами пребывания детей), начиная с 2000 года используются также 10-часовой и 14-часовой режимы (во многих случаях 14-часовой режим наиболее предпочтителен для родителей и менее затратен, чем круглосуточный). Это позволяет повысить доступность дошкольного образования для различных категорий родителей. Кроме того, в настоящее время параллельно с развитием традиционных форм дошкольного образования апробируются новые модели: дошкольные группы на базе общеобразовательных учреждений, дошкольные группы на базе учреждений дополнительного образования, а также систематическое образование детей дошкольного возраста в условиях семейного воспитания. Количество групп в дошкольном образовательном учреждении определяется учредителем исходя из их предельной наполняемости, принятой при расчете норматива бюджетного финансирования. В группах: от 2 месяцев до 1 года — 10 детей; от 1 года до 3 лет — 15 детей; от 3 лет до 7 лет — 20 детей. В разновозрастных группах: при наличии в группе детей двух возрастов (от 2 месяцев до 3 лет) — 8 детей; при наличии в группе детей любых трех возрастов (от 3 до 7 лет) — 10 детей; при наличии в группе детей любых двух возрастов (от 3 до 7 лет) — 20 детей. 2) Государственное, муниципальное общеобразовательное учреждение (в дальнейшем - общеобразовательное учреждение) реализует общеобразовательные программы начального общего, основного общего, среднего (полного) общего образования. Общеобразовательное учреждение является основным звеном системы непрерывного образования и предоставляет всем гражданам Российской Федерации возможность реализовать гарантированное государством право на получение бесплатного общего образования в пределах государственных образовательных стандартов. Основные цели общеобразовательного учреждения - формирование общей культуры личности обучающихся на основе усвоения обязательного минимума содержания общеобразовательных программ, их адаптация к жизни в обществе, создание основы для осознанного выбора и последующего освоения профессиональных образовательных программ, воспитание гражданственности и любви к Родине. Общеобразовательное учреждение осуществляет обучение и воспитание в интересах личности, общества, государства, обеспечивает охрану здоровья и создание благоприятных условий для разностороннего развития личности, в том числе возможности удовлетворения потребности обучающегося в самообразовании и получении дополнительного образования. С учетом потребностей и возможностей личности общеобразовательные программы осваиваются в следующих формах: очной, очно-заочной (вечерней), заочной; в форме семейного образования, самообразования, экстерната. Допускается сочетание различных форм получения образования в общеобразовательном учреждении. Общеобразовательное учреждение осуществляет образовательный процесс в соответствии с уровнями общеобразовательных программ трех ступеней образования: I ступень - начальное общее образование (нормативный срок освоения - 3 - 4 года); II ступень - основное общее образование (нормативный срок освоения - 5 лет); III ступень - среднее (полное) общее образование (нормативный срок освоения - 2 - 3 года). Для некоторых категорий обучающихся нормативный срок освоения общеобразовательных программ основного общего образования могут быть изменены на основе специальных государственных образовательных стандартов. Общеобразовательные учреждения в зависимости от реализуемых общеобразовательных программ подразделяются на общеобразовательные учреждения начального общего образования, основного общего образования, среднего (полного) общего образования. Общеобразовательное учреждение начального общего образования (I ступень) обеспечивает развитие обучающихся, овладение ими чтением, письмом, счетом, основными умениями и навыками учебной деятельности, элементами теоретического мышления, простейшими навыками самоконтроля учебных действий, культурой поведения и речи, основами личной гигиены и здорового образа жизни. Начальное общее образование является базой для получения основного общего образования. Общеобразовательное учреждение основного общего образования (II ступень) обеспечивает освоение обучающимися общеобразовательных программ основного общего образования, условия становления и формирования личности обучающегося, его склонностей, интересов и способности к социальному самоопределению. Основное общее образование является базой для получения среднего (полного) общего образования, начального и среднего профессионального образования. Получение основного общего образования в общеобразовательном учреждении с отрывом от производства ограничивается восемнадцатилетним возрастом обучающегося. Среднее (полное) общее образование (III ступень) является завершающим этапом общеобразовательной подготовки, обеспечивающим освоение обучающимися общеобразовательных программ среднего (полного) общего образования, развитие устойчивых познавательных интересов и творческих способностей обучающегося, формирование навыков самостоятельной учебной деятельности на основе дифференциации обучения. В дополнение к обязательным предметам вводятся предметы по выбору самих обучающихся, направленные на реализацию интересов, способностей и возможностей личности. Среднее (полное) общее образование является основой для получения среднего профессионального (по сокращенным ускоренным программам) и высшего профессионального образования. 3) Профессионально-техническое и среднего специальное образования - два звена рассматриваются соответственно как начальное и среднее профессиональное образование. Начальное профессиональное образование имеет своей целью подготовку, как правило, на базе общего образования (основной школы), квалифицированных работников по всем основным направлениям общественно полезной деятельности. Оно может быть получено в профессионально-технических Училищах и иных типах учебных заведений данного уровня. Среднее профессиональное образование ориентировано на подготовку на базе основного общего, среднего (полного) общего или начального профессионального образования специалистов среднего звена для всех отраслей народного хозяйства. Среднее профессиональное образование может быть получено в среднем специальном учебном заведении (училище, колледже) или в высшем учебном заведении на первой ступени высшего профессионального образования. Высшая школа в России - наиболее динамично развивающееся звено системы образования. Она представлена следующими видами учебных заведений: университетами (они являются центрами фундаментальных научных исследований и осуществляют подготовку специалистов по разным профилям), академиями, институтами, консерваториями, высшими профессиональными школами. Реформирование высшей школы основано на введении многоступенчатой подготовки специалистов, которая реализуется по содержанию и срокам обучения преемственными общеобразовательными программами. По завершении обучения на каждой из ступеней выпускник получает диплом, который дает право заниматься профессиональной деятельностью или перейти к следующему этапу образования. Такая перестройка высшего образования дает возможность удовлетворить потребности страны в специалистах разного уровня квалификации. Высшее образование включает три ступени: - первая ступень: неполное высшее со сроком обучения 2 года; - вторая ступень: базовое высшее (бакалавриат) со сроком обучения 4 года; -третья ступень - с ней дело обстоит сложнее: к ней отнесена и прежняя модель - "дипломированный специалист" со сроком подготовки 5 лет и новая - "магистр" со сроком подготовки 6 лет; Модернизация российской системы образования Основными признаками кризиса современной системы образования эксперты называют: консерватизм (как следствие - хроническое отставание получаемых знаний от современного уровня развития информатизации и технологии); инерционность; территориальность (означает неспособность предоставить всем проживающим на определенной территории возможность получения необходимого образования); локальность (означает специфичность образования, получаемого в отдельном учебном заведении); ограниченность (относится, прежде всего к региональным вузам, которые не могут обучать желающих всему спектру специальностей на отдельной территории). Для России эксперты отмечают следующие расхождения между провозглашенными целями и реальными фактами, свидетельствующими о неспособности системы образования соответствовать данным целям. Российская система образования (РСО) не решает должным образом задачи социализации молодежи, так как сегодняшняя школа не выполняет воспитательные функции, не дает необходимых социальных и коммуникационных навыков; РСО не обеспечивает формирование необходимых квалификаций для перспективного рынка труда: так ПТУ присваивают своим выпускникам лишь 2-3-й разряды, хотя работодателям нужны специалисты, начиная с 4-5 разрядов, наблюдается переизбыток выпускников высшей школы, структуры, подготовки которых не совпадают со структурой потребностей рынка труда. РСО не обеспечивает социальную мобильность населения, нет условий «равного старта», качественное высшее образование на сегодня фактически недоступно без связей и/или денег, нет системы социальной (грантовой) поддержки учащихся из малодоходных семей. Не происходит отбора и формирования профессиональных элит в рамках РСО. В лице студентов ВУЗы чаще приобретают связи и источники дохода вместо способностей и растущей в будущем репутации, научные школы в учебных заведениях не имеют в достаточном количестве ресурсов и не воспроизводятся. Согласно Концепции модернизации российского образования до 2010 г., одобренной Правительством 25 октября 2001 г., образование предполагалось реформировать в два этапа: 1) 2001–2003 гг. требовалось в полном объеме восстановить ответственность государства в сфере образования, с выходом на минимальные необходимые бюджетные нормативы, решением социально значимых проблем; 2) 2004–2005 гг. предполагалось провести расширение ресурсного обеспечения образования, в первую очередь со стороны бюджетов всех уровней; 3) В 2006–2010 гг. должны были обозначиться первые результаты модернизации образования. Однако к настоящему времени не наблюдается заметного роста ресурсообеспеченности российской системы образования; реального повышения качества общего и профессионального образования; снижения социальной напряженности в обществе; не обеспечены рост социального статуса и улучшение качественного состава педагогического корпуса, его омоложение и т.п. [5]. Для эффективной модернизации образования необходимы базовые условия:
Последняя задача, по всей видимости, является самой сложной и требующей максимального напряжения ресурсов и концентрации усилий всего общества. Очевидно также, что общество не может экономить на образовании, но образование обязано эффективно использовать свои ресурсы - как выделенные государством и обществом, так и заработанные на рынке. Ограничения действующей статистики образования и задачи ее модернизации Статистика образования изучает деятельность дошкольных учреждений, общеобразовательных учреждений, учреждений начального, среднего и высшего профессионального образования, дополнительного образования. Действующая в Российской Федерации государственная система статистического наблюдения в сфере общего образования предусматривает прохождение статистической информации через органы Министерства образования Российской Федерации и Государственного комитета Российской Федерации по статистике. Министерство образования Российской Федерации осуществляет сбор и разработку статистической информации по общеобразовательным учреждениям, интернатным учреждениям для детей, учреждениям дополнительного образования, учебным заведениям начального профессионального образования. Госкомстат России собирает и обобщает отчетные данные о деятельности дошкольных учреждений, государственных высших и средних профессиональных учебных заведений, негосударственных общеобразовательных школ и вузов. Информация об уровне образования населения собирается Госкомстатом России при проведении переписей и микропереписей населения. Государственный комитет по высшему образованию осуществляет сбор и обработку информации по негосударственным средним специальным учебным заведениям. Реальное состояние образования, и в первую очередь статистика образования, не отвечает требованиям как федеральных и региональных органов управления образованием, так и потребностям самих образовательных учреждений. Набор показателей образовательной статистики представляет собой не логически выдержанную содержательную конструкцию, а скорее перечень тех позиций, которые были включены в формы статистической отчетности образовательных учреждений в прошлом и теперь во многом устарели. Именно поэтому сегодняшняя статистика, отличаясь чрезмерным объемом, не охватывает всех современных аспектов развития сферы образования и не позволяет обеспечить расчет многих необходимых индикаторов. Статистика, и статистика образования в частности, аккумулирует обширную и разнообразную информацию. При этом в образовательной статистике до сих пор не нашла адекватного отражения кардинально изменившаяся ситуация в институциональной структуре, финансировании в сфере образования, условиях ее функционирования. Здесь имеют место серьезные противоречия и недостатки. Наиболее общим из них является нечеткое позиционирование статистики образования в национальной статистической системе. Статистика образования до сих пор несет в себе многие черты, характерные для ранее господствовавшей практики директивного планирования с присущим ей жестким централизованным контролем. В то же время принятие управленческих решений сегодня происходит в условиях рыночных отношений, что требует качественно иного информационного обеспечения. Отсутствует собственно система показателей образования, которая пока подменяется набором данных, агрегированных по разным уровням и основаниям. При этом значительная часть необходимой информации формируется преимущественно в рамках административной отчетности, представляемой учебными заведениями вышестоящим организациям в порядке ведомственной подчиненности и не ставшей до настоящего времени предметом систематизации и комплексного анализа. Существуют значительные пробелы в полноценном отображении многих процессов и явлений, происходящих в обществе в целом и конкретно в системе образования. Так, недостаточен социально-демократический блок показателей образовательной статистики. Слабо представлены экономические аспекты образования, в частности, ограничен доступ к и без того неполной финансовой информации, которая должна была бы представлять все разнообразные источники финансирования образования, включая расходы домохозяйств на оплату соответствующих услуг. В образовательной статистике не нашли адекватного отображения многие новые формы образовательной деятельности. Отсутствует полная характеристика не только не государственного, но и государственного секторов образования. Весьма ограничена информация о реальных масштабах подготовки рабочих и специалистов и их выводе на рынок труда; нет корреляционных показателей объемов и структуры подготовки работников различных категорий и спроса на них на рынке труда, в том числе на уровне регионов. Отсутствуют достоверные статистические оценки неформальной (теневой) образовательной деятельности. Из статистики образования практически полностью выпали такие явления как обучение детей и молодежи за границей, деятельность зарубежных образовательных центров в России. И, наконец, слабо представлены качественные аспекты образовательной деятельности. Особо следует сказать об организационных проблемах. Так, существующая система сбора и движения образовательной информации не обеспечивает полноценного представления сферы образования. Не определены единые методы, средства и технологии формирования и обработки информационных потоков не только в системе Рособразования, но и в органах управления образованием большинства субъектов РФ. В процессе сбора данных участвует большое число агентов, обязанности, и ответственность которых не имеют четкого распределения. Отсутствует координация в использовании методологических, инструментальных и технических средств. Сохраняется многоканальная и многоступенчатая система сбора и обработки информации, не обеспечивающая адекватного представления данных и их единой интерпретации. Неудовлетворительны сроки сбора и представления информации, что часто не позволяет использовать полученные данные при принятии решений, как на федеральном уровне, так и на региональном. В последнем случае ситуация усугубляется проблемами удаленности территорий от областных центров. Отсутствие электронной связи в регионах значительно увеличивает сроки представления отчетов. Соответственно, сокращается время, необходимое для контроля качества и первичной обработки данных. Специфические проблемы касаются презентации статистической информации и ее использования. До сих пор не сформировался окончательно перечень регулярных публикаций в сфере образования: недостаточно четко определен круг пользователей информации; не решены вопросы финансирования статистических работ. Понимание информационных потребностей, как и слабых сторон действующей статистики образования, позволяет четко сформулировать стоящие перед ней актуальные задачи:
Статистический анализ образования Система показателей статистики образования Таблица 1. Основные социально-экономические показатели образования за 2007 год по Приволжскому федеральному округу
*Расходы консолидированного бюджета на образование на душу населения, руб. (с учетом коэффициента удорожания стоимости бюджетных услуг) **Расходы консолидированного бюджета на общее образование в расчете на 1 учащегося за 2006 год, руб. ***Доля расходов на образование в расходах регионального консолидированного бюджета, проценты ****Среднемесячная заработная плата в отрасли "Образование", руб. *****Соотношение среднемесячной заработной платы в отрасли "Образование" с величиной прожиточного минимума трудоспособного населения Дошкольное образование
Общее образование
Начальное профессиональное образование
Среднее профессиональное образование
Высшее профессиональное образование
Индикаторы образования Преподаватели Рис. 1. Доля преподавателей, проходивших за последние 3 года повышение квалификации в разных формах (стажировки, летние школы, аспирантура и т.д.) (%)
Более 60% преподавателей на каждом образовательном уровне в течение последних трех лет проходили процесс повышения квалификации в той или иной форме. Чаще всего это прохождение обучения по программам повышения квалификации, прежде всего касающееся учителей школ (73,2% в 2006 г., 73,9% в 2008 г.), преподавателей системы НПО (63,3 и 62,6% соответственно), воспитателей детских садов (66,7% в 2007 г.). Существенно реже преподаватели разных уровней участвуют в стажировках (чаще всего — преподаватели вузов, 20,4% в 2006 г. и 23,3% в 2008 г.), в летних и т.п. выездных школах и семинарах (чаще всего — учителя школ, 22,5% в 2006 и 18.5% в 2008), в поездках и стажировках в рамках научного обмена и обмена преподавателями (чаще всего — преподаватели вузов, 7,9 и 8.9% соответственно), в магистерских программах и аспирантуре (чаще всего — преподаватели вузов, 14,5% в 2006 и 15,1% в 2008 г.). В целом в динамике участие преподавателей в различных формах повышения квалификации по большинству уровней образования несколько снизилось (школы, СПО), и лишь в системе ВПО наблюдался рост.
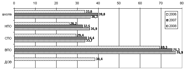
Рис. 2. Доля преподавателей, занимавшихся в течение последних 2-х лет научной работой в разных формах (%)
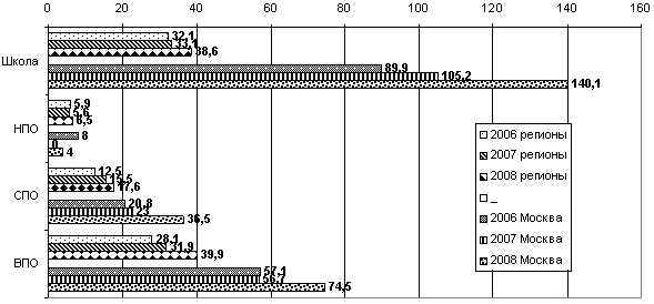
По всем категориям преподавателей в целом доля занимающихся научной работой за 2 года выросла. Чаще всего ведут научные исследования преподаватели вузов (69,3% в 2006 г и 76,9% в 2008 г.), на остальных уровнях образования эта доля не превышает 40%. Занятость научными разработками выросла среди школьных учителей с 33.6% до 36,3%, преподавателей СПО — с 29,4 до 33,7%, НПО — с 26,2 до 35,9%. Учащиеся Рис. 3. Стоимость одного года обучения для учащихся, обучающихся на платной основе, тыс.руб.
Самая низкая стоимость года обучения — в системе НПО (около 6 тыс.руб. в регионах, 8 тыс. руб. в 2006 и 4 тыс.руб. в 2006 г. в Москве). Учащиеся учреждений СПО в среднем платили в регионах 12,5 тыс. руб. в 2006 г. и 17,6 тыс. руб. в 2008, а в Москве — соответственно 20,8 и 36,5 тыс. руб. Выросла стоимость обучения в региональных вузах (с 28,1 до 39,9 тыс. руб.) и Московских вузах с 57,1 до 74,5 тысяч рублей. Умеренный рост платы за обучение наблюдался в региональных школах (с 32,1 до 38,4 тыс.руб.), а в Московских школах оплата выросла в полтора раза: с 89,9 до 140,1 тыс.руб. Рис. 4. Доля учащихся, занимавшихся с репетитором (%)
Более четверти учащихся школ (28,4% в 2006 г. и 28,3% в 2008 г.) пользуются частными образовательными услугами (занимаются с репетитором). На остальных уровнях образования (НПО, СПО, ВПО) эта доля, как правило, не превышает 10%. Среди учащихся НПО занимались 9,1% в 2006 г., 12% в 2007 и 8,8% в 2008 г.; среди студентов вузов — соответственно 8,1%, 9%, 7,9%. Доля имевших репетитора студентов СПО выросла 7,5 до 9,7%. Показатели уровня образования населения в странах мира Интерес мирового академического сообщества к проблемам и перспективам развития образования продолжает возрастать столь стремительно, что возникают трудности по переработке, обобщению и анализу растущего потока информации. С учетом этого для определения мировых тенденций развития высшего образования целесообразно провести классификацию образовательных систем по ряду признаков, отражающих наиболее существенные стороны системы. При рассмотрении таких системообразующих факторов важно определить круг вопросов, с ними связанных, выделить крайние и промежуточные позиции, соотнести векторы их развития с социально-экономическим уровнем разных стран. Данные международной образовательной статистики предоставляют возможность увидеть реальную картину состояния образования в большинстве стран мира. Сопоставительный анализ систем образования различных стран на основе этих данных позволяет оценить положительные и отрицательные моменты развития национальных образовательных систем и определить общемировые тенденции развития образования. Наиболее обширная база данных по высшему образованию стран мира - WHED (World Higher Education Database) - создана Всемирной Ассоциацией Университетов IAU (International Association of Universities). В ней содержатся сведения по 180 странам, имеющим сформировавшиеся системы образования. Однако эти сведения носят в основном описательный характер, поэтому при сопоставительном статистическом анализе образовательных систем различных стран могут использоваться лишь в качестве дополнительного источника информации. В основе анализа должны лежать данные образовательной статистики, сгруппированные по системообразующим международным показателям. Признанными источниками такой информации являются: - ежегодные всемирные доклады по образованию Института статистики ЮНЕСКО (Global Education Digest); - материалы Организации экономического содружества и развития (ежегодные отчеты по образованию по странам ОЭСР и партнеров: Education at a Glance - OECD Indicators); - доклады Всемирного банка. Для сопоставления данных образовательной статистики разных стран используется Международная стандартная классификация образования (МСКО) утвержденная Генеральной конференцией ЮНЕСКО в ноябре 1997г. Схема МСКО–1997 предлагает методологию перевода национальных учебных программ в международно-сопоставимый набор категорий для определения ступеней образования. Характеристика уровней МСКО и соответствующие эквиваленты российского образования представлены в табл.2. Таблица 2. Характеристика ступеней МСКО
Основные критерии выбора стран-лидеров Для рассмотрения различных аспектов развития систем высшего образования важно выделить группу стран, наиболее продвинутых в этой области. При выборе ведущих стран в сфере образования мы исходили из трех основных критериев: Уровень охвата населения высшим образованием. · индекс образования, характеризующий образовательный потенциал населения страны. · количество студентов высших учебных заведений, характеризующее масштаб развития высшего образования в стране. · уровень охвата населения высшим образованием представляется целесообразным оценивать с учетом двух показателей: · доли лиц с высшим образованием во взрослом населении (25-64 года), · доли студентов высших учебных заведений в населении страны. Первый из этих показателей относительно статичен (характеризует результаты многолетнего функционирования образовательной системы), второй позволяет оценить динамику развития образовательной системы и перспективы изменений в уровне образования населения. Следует подчеркнуть, что здесь и в дальнейшем речь идет о высшем образовании по российской классификации (третичное образование типа А или уровень 5А по международной классификации МСКО - табл.2). Индекс образования является составной частью общего показателя – индекса развития человеческого потенциала (ИРЧП), методика расчета которого разработана специалистами ООН. Индекс образования измеряет относительные достижения страны как в повышении грамотности взрослого населения, так и в увеличении общего показателя поступивших в начальные, средние и высшие учебные заведения страны. Вес в две трети приходится на индекс грамотности взрослого населения и вес в одну треть – на индекс общего показателя поступивших в учебные заведения. Ведущие страны по индексу образования и охвату населения высшим образованием Данные международной статистики по индексу образования и доле взрослого населения с высшим образованием представлены в табл.3. Для выявления взаимосвязи рассматриваемых критериев с уровнем экономического развития страны в таблице приводятся также значения валового внутреннего продукта (ВВП) на душу населения по паритету покупательной способности. В зависимости от уровня охвата населения высшим образованием страны условно разделены на 3 группы: в I группе стран доля взрослого населения с высшим образованием составляет не менее 15%; в странах II группы - от 10 до 14%; в III группе – менее 10%. Таблица 3. Охват населения законченным высшим образованием, индекс образования и величина ВВП на душу населения
Доля взрослого населения с законченным высшим образованием Как видим (табл.3), лидирующие позиции по уровню образования взрослого населения занимают три страны - США, Норвегия, Израиль, в которых 30% населения в возрасте 25-64 года имеют законченное высшее образование. Россия, занимавшая в 2002 году 7-е место, в 2005 году уступила свои позиции еще четырем странам, разделив 11-13-е места с Великобританией и Швецией. В подавляющем числе рассматриваемых стран в 2005 году отмечается положительная динамика по сравнению с 2002 годом (рис.5).
а)
б) Рис.5 Динамика роста доли взрослого населения с законченным высшим образованием за период с 2002 по 2005 год: а) сопоставление показателей 2002 и 2005 года (в процентах); б) увеличение показателя за рассматриваемый период. В двенадцати странах прирост доли взрослого населения с высшим образованием составляет от 3 до 6% (рис.), из них десять - страны I группы: 6% - Исландия, Дания, Нидерланды; 5% - Новая Зеландия, Польша, Люксембург, Корея; 4% - Израиль; 3% - Швеция, Австралия. Во II группе стран динамично развивается Португалия (6%). Соединенные Штаты увеличили свой показатель всего на 1% и, хотя они сохранили в 2005 году лидирующую позицию, но, в отличие от 2002 года, разделили первое место с Норвегией и Израилем. В России за рассматриваемый период (2002-2005) не отмечено положительной динамики. По сравнению с 2002 годом ее обогнали интенсивно развивающиеся страны - Исландия, Дания, Корея, Австралия. Индекс образования Как видно из данных табл.3, страны с высоким уровнем охвата населения высшим образованием (МСКО 5А) имеют высокий индекс образования. В странах I группы он составляет от 0,94 до 0,99; в среднем 0,97. В первых 13 странах этой группы (от 21 до 30% лиц с высшим образованием в населении возрастом 25-64 года) среднее значение индекса образования составляет 0,98. В основном это наиболее богатые страны: 10 стран из 13 имеют ВВП на душу населения более $30000 (от 30610 в Австралии до 41950 в США). Исключение - Россия ($10640), Корея ($21850), Израиль($25280). В целом в странах I группы средняя величина ВВП на душу населения - $ 30335.Среднее значение индекса образования по I группе стран составляет 0,97. Во второй группе преобладают страны со средним уровнем подушевого ВВП; исключение – Бельгия и Италия с высоким уровнем (более $25000), Бразилия, Турция и Малайзия с низким уровнем (менее $10000). Значения индекса образования имеют больший разброс (от 0,81 в Турции до 0,98 в Бельгии) и в среднем (0,90) существенно ниже, чем в первой группе. В третьей группе преобладают страны с низким ВВП (в среднем около $9000) и с относительно низким индексом образования (от 0,75 до 0,86 в шести странах из девяти). Исключения: Австрия, Аргентина, Уругвай с индексом образования 0,97; 0,95 и 0,94 соответственно. Среднее значение индекса образования стран этой группы 0,87. Внутри всех трех групп зависимости рассматриваемых показателей от величины ВВП на душу населения не наблюдается. Лидеры по индексу образования: Австралия, Дания, Ирландия, Испания, Канада, Новая Зеландия, Норвегия, Финляндия (индекс образования 0,99). Фактор масштаба На первом этапе отбора стран-лидеров исходим из следующих значений рассматриваемых показателей: · доля лиц с высшим образованием во взрослом населении - не менее 15%, · индекс образования, характеризующий образовательный потенциал населения, - не менее 0,94. В качестве дополнительных условий дальнейшего отбора ведущих стран с учетом масштабов и динамики развития высшего образования были приняты: · количество студентов высших учебных заведений - не менее 0,5 млн.; · доля студентов высших учебных заведений в населении страны – не менее 2%. Сопоставительный анализ с проведением соответствующих расчетов показал, что всего двенадцать стран удовлетворяют совокупности всех перечисленных требований. Абсолютное и относительное количество студентов этих стран приведено в табл.4. В той же таблице представлены другие страны с высоким индексом образования и уровнем охвата населения законченным высшим образованием, а также страны с количеством студентов более 5 млн. По абсолютному количеству студентов, характеризующему масштабность системы высшего образования (МСКО 5А/6), лидируют США (13,2 млн.). В группе стран с высоким уровнем охвата взрослого населения законченным высшим образованием второе место принадлежит России (6,9 млн. – почти вдвое меньше, чем в США), третье место – Японии (3млн). Особый интерес с точки зрения организации системы высшего образования представляют страны, в которых количество студентов вузов превышает 5 млн. Помимо США (13,2 млн.) и России (6,9 млн.), таких стран всего две – Индия (11,8 млн.) и Китай (10,2 млн.). В вузах этих четырех стран учатся более 40% от общемировой численности студентов, составившей в 2005 году 104,8 млн. чел. (МСКО 5А/6) – рис.6. И хотя процент студентов в численности населения Индии и Китая значительно ниже соответствующего среднего показателя по миру в целом (табл.3), тем не менее, с учетом фактора масштаба, особенности национальных образовательных систем Индии и Китая представляют безусловный интерес для более подробного рассмотрения. Таблица 4. Количество студентов высших учебных заведений (МСКО 5А/6)
Рис. 6. Распределение по странам общемировой численности студентов вузов (МСКО 5А/В) По доле студентов в населении страны (рис.7) лидирует Финляндия (5,6%). Среди стран с количеством студентов более 0,5 млн. первое место занимает Польша (5,4%), второе – Россия (4,8%), далее следуют Новая Зеландия (4,5%) и США (4,4%).
Рис. 7. Доля студентов высших учебных заведений (МСКО 5А/6) в численности населения страны (%) Как видно из гистограммы, изображенной на рис.4, средний процент количества студентов вузов в населении 12 стран-лидеров по охвату населения высшим образованием с учетом фактора масштаба более чем вдвое превышает соответствующий средний показатель для всего мира. Показатели Польши, России и США, лидирующих в этой группе стран, превышают общемировой уровень в 2,8 – 3,4 раза. В Индии и Китае данный показатель значительно ниже общемирового.
Рис. 8. Процент студентов высших учебных заведений (МСКО 5А/В) в численности населения ряда стран по сравнению с общемировым уровнем 12 стран-лидеров – группа стран с высоким уровнем охвата населения законченным высшим образованием и количеством студентов более 0,5 млн. (табл. 4) Доля взрослого населения с третичным образованием (МСКО 5А/5Б/6) Третичное образование, включающее уровни 5В (среднее профессиональное по российской классификации), 5А (высшее) и 6 (послевузовское), в ряде источников информации трактуется как высшее. Эта терминологическая неточность может явиться причиной ошибочной оценки степени охвата населения высшим образованием, тем более что в странах мира соотношение доли лиц с разными уровнями третичного образования (5А и 5В) колеблется в весьма широких пределах. На рис.9 представлена гистограмма, заимствованная из Книги фактов ОЭСР. Как видим, по доле лиц с третичным образованием всех уровней (возрастная группа 25-64 года) лидирует Россия (55%) с достаточно большим отрывом от других стран, далее следуют Канада (45%), Япония(39,9%) и США (39%). Напомним, что по доле лиц с высшим образованием (МСКО 5А/6) в той же возрастной группе Россия и Канада не занимают лидирующих позиций: Россия - 11-13 места, Канада – 7-е место (табл.3, рис.5а).
Рис. 9. Доля лиц с третичным образованием (все уровни) в населении страны в возрасте 25-64 года (данные 2005 г.) В этом контексте представляется целесообразным более подробно рассмотреть соотношение количества лиц с разными уровнями третичного образования. Необходимые для этого данные международной статистики приведены в табл.5 и на рис.10. Как видно из гистограммы на рис. , иллюстрирующей соотношение степени охвата взрослого населения страны высшим образованием (МСКО 5А/6) и третичным (все уровни), помимо России и Канады имеется еще ряд стран с высоким охватом населения третичным образованием за счет относительно многочисленной группы лиц с образованием 5В. Так, Япония, занимает 10-е место по доле взрослого населения с высшим образованием и 4-е по соответствующей доле с третичным образованием (МСКО 5В/5А/6); Швеция занимает 11-13-е и 5-е места соответственно; Финляндия -17-18-е и 6-е места. В первую десятку стран по доле лиц с законченным третичным образованием в возрасте 25-64 года входит Бельгия (7 место), которая по соответствующей доле лиц с высшим образованием не вошла в число стран 1 группы. Гистограмма, изображенная на рис. , иллюстрирует соотношение долей взрослого населения с разными уровнями третичного образования - 5А/6 и 5В (долей «А» и «В» соответственно). Как видим, в большинстве стран имеет место явное превосходство доли населения с высшим образованием. Приблизительно равные доли «А» и «В» отмечаются всего в четырех странах: Канаде, Финляндии, Бельгии, Австрии. Россия является единственной в мире страной, в которой доля взрослого населения со средним профессиональным образованием («В») значительно выше доли населения с высшим образованием («А»). Третичное образование имеют около 55% россиян в возрасте 25-64 года, из них 34% лиц со средним профессиональным образованием. Таблица 5. Соотношение количества лиц с разными уровнями третичного образования
а)
б) Рис. 10. Доля лиц в населении возрастной группы 25-64 года, имеющих третичное образование, % (по данным табл.) а) МСКО 5А/6 (суммарно высшее и послевузовское образование) – белый столбик, МСКО 5В/5А/6 (суммарно все уровни) - темный столбик; б) МСКО 5А/6– белый столбик, МСКО 5В (среднее профессиональное по российской классификации) - темный столбик В свете изложенного важным показателем, характеризующим развитие российской образовательной системы, следует считать соотношение количества студентов вузов и средних профессиональных учебных заведений. Динамика изменения этого показателя в течение последних 15 лет свидетельствует о процессе выравнивания диспропорций в развитии российского образования. Процент студентов российских вузов (уровень 5А) в общем количестве студентов в третичном образовании в 2005 г. составил 76%. Это вполне соответствует современному уровню ведущих стран (например, в США этот показатель в 2005 г. составил 77%, в Великобритании– 73%, в Канаде – 73%, во Франции – 72%). Аналогичное соотношение долей взрослого населения с образованием 5А/6 и ко всему третичному (5А/6+5В) в том же году составило всего 38% (табл.5). Как видно из гистограммы на рис.11, не только в России, но и в ряде других стран отмечается тенденция к увеличению доли лиц с образованием 5А/6 в общем числе лиц с третичным образованием за счет высокого процента студентов уровня 5А/6 в общем числе студентов. Наиболее яркие примеры помимо России – Финляндия, Канада, Германия; исключение – Бельгия, в которой каждый из рассматриваемых показателей составляет менее 50%.
Рис. 11. Процентное соотношение долей взрослого населения с законченным образованием уровня 5А/6 (высшим и послевузовским по российской классификации) и третичным образованием всех уровней (включая 5В – среднее профессиональное по российской классификации) * в сопоставлении с соотношением долей студентов на уровне 5А/6 и в третичном образовании всех уровней. В целом, несмотря на отмеченные диспропорции в российском третичном образовании, приведенные выше данные, безусловно, свидетельствует об очень высоком уровне образования населения России. Позиции ведущих стран по результатам международных рейтингов Помимо группы стран, отобранных по совокупности четырех количественных критериев, безусловный интерес представляют национальные образовательные системы, лидирующие хотя бы в одной из следующих областей: · Экспорт образовательных услуг как отражение сложившейся репутации национальной системы образования в международном сообществе; · Международные рейтинги университетов мира, позволяющие оценить национальную систему высшего образования по составляющим ее университетам; · Международное исследование качества обучения PISA (Programme for International Student Assessment) - состояние обучения на уровне средней школы, являющейся фундаментом вузовского образования; · Доступность высшего образования и финансовые возможности его получения; · Масштабы дистанционного образования; При рассмотрении перечисленных областей становится очевидным, что лидирующие позиции в них в основном принадлежат странам с высоким уровнем охвата населения высшим образованием и высоким индексом образования. Исключение составляют Индия и Китай, выступающие на первый план не только по количеству студентов в высшем образовании, но и уверенно лидирующие в динамике роста студентов и в развитии дистанционного образования. К 12 странам-лидерам, отобранным с учетом фактора масштаба, помимо Индии и Китая, добавляются всего две страны: Финляндия, лидирующая в трех рейтингах: 1) качество школьного обучения PISA – 2006, 2) финансовые возможности получения высшего образования, 3) доступность высшего образования (2-е место); Швеция – лидер рейтинга по финансовым возможностям получения высшего образования. Таким образом, по совокупности рассмотренных показателей представляется целесообразным выделить следующую группу ведущих стран в сфере образования: Австралия, Великобритания, Германия, Индия, Испания, Канада, Корея, Китай, Нидерланды, Польша, Россия, США, Финляндия, Франция, Швеция, Япония. Из этой группы стран наиболее высокие показатели уровня образования населения имеют: · индекс образования - Австралия, Испания, Канада, Финляндия (индекс образования 0,99); · доля взрослого населения с высшим образованием (МСКО 5А/6) – США (30%), Нидерланды (28%), Канада, Австралия, Корея (23%); · количество студентов вузов (МСКО 5А/6) - США (13,2 млн.), Индия (11,8 млн.), Китай (10,8 млн.), Россия (6,9 млн.); · доля студентов вузов (МСКО 5А/6) в населении страны: с учетом фактора масштаба – Польша (5,4% при количестве студентов 2 млн.), Россия (4,8% при количестве студентов 6,9 млн.), США (4,4% при количестве студентов 13,2 млн.); без учета фактора масштаба – Финляндия (5,6% при количестве студентов 0,3 млн.); · доля взрослого населения с третичным образованием – Россия (54,6%), Канада (44,6%), США (39,1%). В международных рейтингах в области образования в последние годы лидируют: · США (с огромным отрывом от других стран), Великобритания, Германия, Франция, Австралия - по экспорту образовательных услуг. · США, Великобритания - в международных рейтингах университетов мира. · Финляндия, Корея, Япония - в международном исследовании функциональной грамотности учащихся PISA. · Китай, Индия, США - по масштабу развития дистанционного образования. · Индия, Китай, Россия - по динамике роста числа студентов в высшем образовании В заключение следует подчеркнуть, что США намного опережают другие страны по большинству показателей, в том числе в таких важных областях как экспорт образовательных услуг, международные рейтинги университетов, дистанционное образование. Единственное слабое место – результаты международных исследований функциональной грамотности школьников. Россия во всех перечисленных областях значительно уступает не только США, но и ряду других стран, особенно Великобритании, занимающей 2-е место по численности иностранных студентов (у России 7-е место) и результатам международных рейтингов университетов мира. Слабые места российского образования – недостаточная функциональная грамотность школьников (на уровне США) и низкий академический рейтинг российских университетов. В качестве положительных результатов следует отметить 8-е место в мире по количеству вузов, вошедших в число лучших 5000 в конкурсе университетских веб-сайтов, а также наличие в стране мегауниверситета с численностью студентов более 180 000 (8-е место). Заключение
Список используемой литературы 1. Модернизация российского образования . Документы и материалы. – М.: ГУ-ВШЭ, 2002. – 332 с. 2. Письмо Минобразования РФ от 19 января 2000 г. № 14-51-59 ин /04 «О соблюдении законодательства о защите прав потребителей при оказании платных образовательных услуг» // Бюллетень Министерства образования Российской Федерации. – 2000. -№ 4. 3. Булкин А.П. Социокультурная динамика образования. Исторический опыт России . - Дубна: «Фсникс+», 2001. - 208 с. 4. Конкурентоспособность и модернизация экономики: в 2-х кн. / Отв. Ред. Е.Г.Ясин. КН.2. – М.: Издательский дом ГУ ВШЭ, 2004. – 480 с. 5. Миронов В. Проблемы образования в современном мире и философия / «Отечественные записки» № 2, 2002. С. 30-35. 6. Модернизация российского образования . Ресурсный потенциал и подготовка кадров. Под ред. Т.Л.Клячко. – М.: ГУ-ВШЭ, 2002. – 182 с. 7. Wolferson J.D. Announcement to the World Development Report “Sustainable Development with a Dynamic Economy” // www.worldbank.org. 2001. 8. О некоммерческих организациях : Федеральный закон от 12 января 1996 г. № 7-ФЗ (в редакции от 8 июля 1999 г.). 9. Основы экономики столичного мегаполиса / Российская академия естественных наук, Российская муниципальная академия Институт региональных экономических исследований. – М.: Экономика, 2006. – 575 с.
|
|||||||||||||||||||||||||||||||||||||||||||||||||||||||||||||||||||||||||||||||||||||||||||||||||||||||||||||||||||||||||||||||||||||||||||||||||||||||||||||||||||||||||||||||||||||||||||||||||||||||||||||||||||||||||||||||||||||||||||||||||||||||||||||||||||||||||||||||||||||||||||||||||||||||||||||||||||||||||||||||||||||||||||||||||||||||||||||||||||||||||||||||||||||||||||||||||||||||||||||||||||||||||||||||||||||||||||||||||||||||||||||||||||||||||||||||||||||||||||||||||||||||||||||||||||||||||||||||||||||||||||||||||||||||||||||||||||||||||||||||||||||||||||||||||||||||||||||||||||||||||||||||||||||||||||||||||||||||||||||||||||||||||||||||||||||||||||||||||||||||||||||||||||||||||||||||||||||||||||||












