Реферат: Турбобуры односекционные бесшпиндельные типа Т12
|
Название: Турбобуры односекционные бесшпиндельные типа Т12 Раздел: Промышленность, производство Тип: реферат | |||||||||||||||||||||||||||||||||||||||||||||||||||||||||||||||||||||||||||||||||||||||||||||||||||||||||||||||||||||||||||||||||||||||||||||||||||||||||||||||||||||||||||||||||||||||||||||||||||||||||||||||||||||||||||||||||||||||||||||||||||||||||||||||||||||||||||||||||||||||||||||||||||||||||||||||||||||||||||||||||||||||||||||||||||||||||||||||||||||||||||||||||||||||||||||||||||||||||||||||||||||||||||||||||||||||||||||||||||||||||||||||||||||||||||||||||||||||||||||||||||||||||||||||||||||||||||||||||||||||||||||||||||||||||||||||||||||||||||||||||||||||||||||||||||||||||||||||||||||||||||||||||||||||||||||||||||||||||||||||||||||||||||||||||||||||||||||||||||||||||||||||||||||||||||||||||||||||||||||||||||||||||||||||||||||||||||||||||||||||||||||||||||||||||||||||||||||||||||||||||||||||||||||||||||||||||||||||||||||||||||||||||||||||||||||||||||||||||||||||||||||||||||||||||||||||||||||||||||||||||||||||||||||||||||||||||||||||||||||||||||||||||||||||||||||||||||||||||||||||
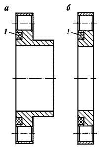
| Турбобуры односекционные бесшпиндельные типа Т12 Технические характеристики турбобуров типа Т-12 Турбобуры односекционные бесшпиндельные типа Т12 (Т12МЗЕ-172, Т12МЗБ-195 и Т12МЗБ-240) с наружным диаметром 172, 195 и 240 мм предназначены для бурения верхних интервалов глубоких вертикальных и наклонно-направленных скважин различного назначения, а также для комплектации роторно-турбинных буров типа РТБ диаметрами от 394 до 640 мм. Они применяются при бурении скважин шарошечными и безопорными долотами различных типов и серий диаметром от 190,5 до 393,7 мм, обеспечивающими технологически обоснованный зазор между корпусом забойного двигателя и стенками скважин . Турбобуры типа Т12МЗ Турбобуры типа Т12МЗ (рис. 3.1) изготавливаются в односекционном бесшпиндельном исполнении.
Рис. 3.1. Турбобур типа Т12М3Б-240: 1 - переводник вала; 2 - вал; 3 - ниппель; 4 - упор; 5 - ротор; 6 - статор; 7 - опора средняя; 8 - гайка роторная; 9 - контргайка; 10 - корпус; 11 - переводник верхний На валу турбинной секции размещается от 104 до 106 ступеней турбины в зависимости от диаметра турбобура. Каждая ступень турбины состоит из ротора и статора, имеющих (у разных типов турбин) различное число лопаток соответствующей осевой высоты. На валу турбобура установлены роторы и вращающиеся детали радиальных опор и резинометаллической пяты. Эти детали на валу зажимаются роторной гайкой. Для предохранения роторной гайки от самоотвинчивания предусмотрен колпак с внутренним конусом, закрепленным контргайкой. В корпусе турбобура установлены невращающиеся детали: статоры, резино-металлические средние опоры и подпятники, которые закрепляются ниппелем. Корпус турбобура присоединяется к бурильной колонне с помощью верхнего переводника. Вал турбобура оснащен радиальными опорами, воспринимающими поперечные нагрузки, и осевыми опорами, воспринимающими осевые нагрузки, действующих на вал в процессе эксплуатации. В нижней части вала имеются окна для прохода бурового раствора и к нему снизу через предохранительный переводник присоединяется долото. Основные параметры турбобуров типа Т12МЗ Основные технические и энергетические параметры турбобуров типа Т12МЗ при различных расходах промывочной жидкости — воды приведены в табл. 3.2. Турбобуры типа Т12РТ К этому же типу забойных двигателей относятся турбобуры типа Т12РТ , предназначенные для комплектации роторно-турбинных и реактивно-турбинных буров (РТБ), с помощью которых осуществляется бурение верхних интервалов глубоких и сверхглубоких скважин, а также шахтных стволов диаметрами от 640 до 5000 мм. Турбобур типа Т12РТ-240 Турбобур типа Т12РТ-240 в отличие от базового турбобура типа Т12МЗБ-240 имеет на наружной поверхности корпуса напрессованное упорное кольцо для передачи осевой нагрузки на долото, создаваемой с помощью грузов-утяжелителей агрегатов РТБ, а резинометаллическая пята содержит 12 ступеней турбин вместо 18. Присоединительные резьбы на переводниках корпуса и вала турбобура позволяют осуществлять его соединение с долотом соответствующего диаметра, применяемого для конкретного типоразмера РТБ. Технические характеристики выпускаемых турбобуров Таблица 3.2. Технические характеристики выпускаемых турбобуров
Турбобуры односекционные бесшпиндельные унифицированные типа ТУ240К Техническая характеристика турбобуров типа ТУ240К Турбобуры односекционные бесшпиндельные унифицированные типа ТУ240К являются двигателями нового поколения и предназначены для бурения верхних интервалов глубоких вертикальных и наклонно направленных скважин различного назначения, а также для использования в качестве нижней секции для комплектации двух- и трехсекционных шпиндельных унифицированных модульных турбинно-винтовых двигателей типа 2ТУ240КД. Турбобуры с наружным диаметром 240 мм применяются при бурении скважин шарошечными и безопорными долотами различных типов и серий диаметром от 269 до 393,7 мм и более, обеспечивающими технологически обоснованный зазор между корпусом турбобура и стенкой скважины в конкретных горно-геологических условиях разрезов месторождений. Унифицированный турбобур типа ТУ240К содержит турбинный и опорный валы со стандартными габаритами, соединяемые между собой с помощью разъемных муфт эксцентрикового или конусно-винтового типа, обеспечивающих высокую надежность передачи момента силы, легкость сборки — разборки и ревизию двигателя. На турбинном валу устанавливается комплект из 107 турбин нового типа с пониженной осевой высотой, обеспечивающих в существующих стандартных габаритах серийных турбобуров повышение на 25 % момента силы с единицы длины вала турбобура. Новые турбины пониженной высоты изготавливаются методом точного литья по выплавляемым моделям — турбина 37/11-240ТЛ, либо полукокильным методом в земляные формы — турбина 37/11-240ТВШ. В случае необходимости в корпусе турбобура может быть смонтировано 85 ступеней серийной турбины. На опорном валу устанавливается резинометаллическая опора скольжения с упрочненными дисками пяты или опора качения с упрочненными обоймами. Полость опоры защищена дроссельным устройством с автоматически регулируемым зазором в площади контакта рабочих поверхностей трения, упрочненного наплавкой твердого сплава, ограничивающего утечки бурового раствора на выходном валу и предотвращающего опасность зашламления опорного узла турбобура, особенно при использовании гидромониторных долот, требующих высоких перепадов давления в промывочных каналах. В турбобуре предусмотрены унификация турбинных секций с возможностью замены их непосредственно на буровой площадке и узлы установки опорно-центрирующих элементов. Основные параметры и характеристики Основные параметры и энергетические характеристики унифицированных односекционных бесшпиндельных турбобуров типа ТУ240К и двухсекционных турбобуров типа 2ТУ240К при различных расходах воды, приведены в табл. 3.2.
|
|||||||||||||||||||||||||||||||||||||||||||||||||||||||||||||||||||||||||||||||||||||||||||||||||||||||||||||||||||||||||||||||||||||||||||||||||||||||||||||||||||||||||||||||||||||||||||||||||||||||||||||||||||||||||||||||||||||||||||||||||||||||||||||||||||||||||||||||||||||||||||||||||||||||||||||||||||||||||||||||||||||||||||||||||||||||||||||||||||||||||||||||||||||||||||||||||||||||||||||||||||||||||||||||||||||||||||||||||||||||||||||||||||||||||||||||||||||||||||||||||||||||||||||||||||||||||||||||||||||||||||||||||||||||||||||||||||||||||||||||||||||||||||||||||||||||||||||||||||||||||||||||||||||||||||||||||||||||||||||||||||||||||||||||||||||||||||||||||||||||||||||||||||||||||||||||||||||||||||||||||||||||||||||||||||||||||||||||||||||||||||||||||||||||||||||||||||||||||||||||||||||||||||||||||||||||||||||||||||||||||||||||||||||||||||||||||||||||||||||||||||||||||||||||||||||||||||||||||||||||||||||||||||||||||||||||||||||||||||||||||||||||||||||||||||||||||||||||||||||||
| Показатели |
ТБД-320¹ |
ТБД-280¹ |
1Т-240 |
2Т-240 |
| Наружный диаметр корпуса, мм |
320 |
280 |
240 |
240 |
| Длина в сборе, мм |
10000 |
10000 |
9500 |
16310 |
| Масса, кг |
5000 |
4500 |
2500 |
4300 |
| Расход жидкости плотностью 1000 кг/м3 , л/с |
55 |
48 |
36-50 |
34-35 |
| Частота вращения вала в рабочем режиме, об/мин |
300 |
300 |
900-1250 |
850-1180 |
| Перепад давления, МПа |
3,0 |
3,5 |
3,4-6,5 |
6,1-11,6 |
| Момент силы на валу, кН∙м |
3,0 |
2,7 |
2,8-5,4 |
5,0-9,6 |
| Диаметры рекомендуемых долот, мм |
215,9 |
215,9-244,5 |
269,9-393,7 |
269,9-393,7 |
¹ Резьба к долоту - З-152, З-172, З-189, РКТ-208.
Примечание.
Резьба к бурильным трубам - любая по заказу потребителя, через переходный переводник.
Турбобуры типов 1Т-240 и 2Т-240
Турбобуры типов 1Т-240 (с одной турбинной секцией и серийным шпинделем) и 2Т-240 (с двумя турбинными секциями и серийным шпинделем), (рис. 3.19, б, в) включают в себя одну или две турбинно-редукторные секции турбины типа ТВШ-240 по 120 ступеней в секции и шпиндельную секцию. Они обладают более высоким моментом силы и могут реализовать более высокую мощность при бурении, чем турбобуры типа ЗТСШ1-240 и А9Ш.
Технические характеристики и общий вид турбобуров типов Т1-240 и Т2-240
Технические характеристики турбобуров типов Т1-240 и Т2-240 приведены в табл. 3.9 , а общий вид изображен на рис. 3.19, б, в.
далее..
Турбобуры для бурения скважин большого диаметра типа ТБД и Т
Технические характеристики и общий вид турбобуров типов Т1-240 и Т2-240
Технические характеристики турбобуров типов Т1-240 и Т2-240 приведены в табл. 3.9, а общий вид изображен на рис. 3.19, б, в.

Рис. 3.19, б, в. Турбобуры типов Т1-240 и Т2-240:
б — типа Т1-240; в – типа Т2-240; 1 — секция турбинная верхняя; 2 — центратор лопастной межсекционный; 3 — секция турбинная нижняя; 4 — секция шпиндельная; 5 — центратор ниппельный; 6 — калибратор наддолотный.
Турбобуры секционные бесшпиндельные типа ТС
Техническая характеристика турбобуров типа ТС
Турбобуры секционные бесшпиндельные типа ТС (ТС4А-104,5; ТС4А-127; ТС5Б-172; ТС5Б-195; ТС5Б-240 и ЗТС5Б-240) предназначены для бурения глубоких вертикальных и наклонно направленных скважин различного назначения с использованием буровых растворов при температуре не выше 120 °С. Турбобуры этого типа, в зависимости от технологических требований, выпускаются с наружным диаметром от 104,5 до 240 мм в одно-, двух- или трехсекционном исполнении и применяются при бурении скважин шарошечными и безопорными долотами различных типоразмеров и серий в соответствии с рекомендуемыми сочетаниями в различных горно-геологических условиях месторождений.
Секционные турбобуры типа ТС (рис. 3.5) в виде отдельных секций доставляются на буровую, где осуществляется их сборка непосредственно перед спуском в скважину. При этом корпуса секций соединяются между собой на замковых резьбах, а их валы — с помощью конусно-шлицевых (или конусно-фрикционных) полумуфт, закрепленных на валу резьбой или гладким конусом (1:10).
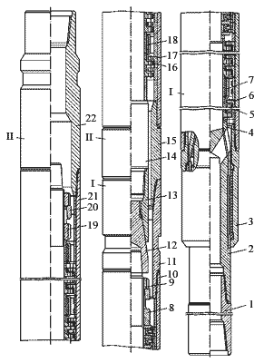
Рис. 3.5. Турбобур секционный бесшпиндельный типа ТС (ТС5Б-240):
I - секция нижняя; II - секция верхняя; 1 - переводник вала; 2 - вал; 3 - ниппель; 4 - упор; 5 - ротор; 6 - статор; 7, 18 - опора средняя; 8 - гайка роторная; 9 - контргайка; 10 - корпус; 11 - переводник; 12 - полумуфта нижняя; 13 - полумуфта верхняя; 14 - вал верхней секции; 15 - переводник соединительный; 16 - ротор; 17 - статор; 19 - гайка роторная; 20 - колпак; 21 - корпус; 22 - переводник корпуса
Конструктивно нижняя секция выполнена таким образом, что позволяет использовать ее в качестве обычного односекционного турбобура.
Верхняя и средние секции этого турбобура отличаются от нижней тем, что в них отсутствует упорный подшипник — пята, который в нижней секции воспринимает гидравлическую нагрузку всех секций и вес вращающихся деталей и конструкций вала.
Положение роторов относительно статоров в верхней и средних секциях фиксируется с помощью регулировочных колец турбины, имеющих различную толщину, которые устанавливаются между соединительным переводником и турбиной.
Система статоров в корпусах верхней и средних секций закрепляется соответственно с помощью верхнего переводника корпуса, соединяющего турбобур с бурильной колонной, и соединительного переводника этих секций с установкой регулировочного кольца резьбы определенной высоты путем их подбора.
Параметры и энергетические характеристики
Основные параметры и энергетические характеристики секционных турбобуров при различных расходах воды приведены в табл. 3.2.
Турбобуры секционные шпиндельные типа ТСШ
Техническая характеристика турбобуров типа ТСШ
Турбобуры секционные шпиндельные типа ТСШ (ЗТСШ-172, ЗТСШ-195, ЗТСШ-195ТЛ и ЗТСШ-240) предназначены для бурения глубоких вертикальных и наклонно направленных скважин различного назначения с применением буровых растворов при температуре не выше 120 °С.
Турбобуры типа ТСШ (рис. 3.6) выпускаются с наружным диаметром 172, 195 и 240 мм в одно-, двух- или трехсекционном исполнении и в зависимости от технологических требований строительства скважин могут применяться при бурении шарошечными и безопорными долотами различных серий в соответствии с рекомендуемыми сочетаниями диаметров долот и турбобуров в конкретных горно-геологических условиях месторождений.
Рис. 3.6.
Турбобур секционный шпиндельный типа ТСШ (3ТСШ-240):
I - шпиндель; II - секция нижняя; III - секция средняя; IV - секция верхняя; 1 - вал нижней секции; 2, 13, 25 - переводник соединительный; 3, 14, 26 - ротор; 4, 15, 27 - статор; 5, 16, 18, 28 – опора средняя; 6, 19, 29- гайка роторная; 7, 21, 31 - корпус; 8, 20, 32, 41 - контргайка; 9, 22, 42 – полумуфта нижняя; 10, 23, 43 - переводник корпуса; 11, 12 - вал средней секции; 17 - втулка средней опоры; 33 - переводник верхний; 24 - вал верхней секции; 30 - колпак; 34 - переводник вала; 35 - вал; 36 - ниппель; 37 – опора осевая (внешнее кольцо пяты, кольцо пяты, подпятник, диск пяты); 38 - опора радиальная; 39 - втулка корпуса; 40 - гайка шпинделя.
Отличительные особенности турбобуров типа ТСШ
Отличительной особенностью этих турбобуров является то, что осевая опора как быстроизнашивающаяся часть, вынесена в самостоятельный узел — шпиндельную секцию, присоединяемую к нижней (турбинной) секции турбобура.
Турбинные секции конструктивно (крепление деталей в корпусе и на валу, соединение корпусов и валов) аналогичны верхним и средним секциям секционных бесшпиндельных турбобуров типа ТС, а в шпиндельной секции размещаются непроточные осевые и радиальные опоры. Такая конструкция шпиндельной секции позволяет заменять ее без разборки турбинных секций турбобура непосредственно на буровой.
Турбобур типа ЗТСШ-195ТЛ оснащен турбинами, изготовленными методом точного литья, что существенно улучшает его энергетическую характеристику.
Основные параметры и энергетические характеристики
Основные параметры и энергетические характеристики турбобуров типа ТСШ при различных расходах воды приведены в табл. 3.2.
Турбобуры секционные шпиндельные унифицированные ТСШ1, 2Т195К и ЗТ195К
Техническая характеристика турбобуров типа ТСШ1
Турбобуры секционные шпиндельные унифицированные типа ТСШ1 (ЗТСШ1-172, ЗТСШ1-195, ЗТСШ1-195ТЛ и ЗТСШ1-240) предназначены для бурения глубоких вертикальных и наклонно направленных скважин различного назначения (на нефть, газ и другие полезные ископаемые) с использованием буровых растворов при температуре не более 120 °С.
Турбобуры типов ЗТСШ1-172, ЗТСШ1-195, ЗТСШ1-195ТЛ и ЗТСШ 1-240 выпускаются с наружным диаметром соответственно 172, 195 и 240 мм. В зависимости от технологических требований строительства скважин эти турбобуры могут применяться в одно-, двух- и трехсекционном исполнении в сочетании с шарошечными и безопорными долотами различных серий с рекомендуемыми зазорами между стенками скважины и корпусом турбобура в конкретных горно-геологических условиях месторождений.
Устройство турбобура типа ТСШ1
Рабочий орган турбобура типа ТСШ1
Устройство турбобура типа ТСШ1
Турбобура типа ТСШ1
Рабочий орган турбобура типа ТСШ1 (рис. 3.7) представляет собой многоступенчатую гидравлическую турбину осевого типа, выполненную в турбобурах типов ЗТСШ1-172 и ЗТСШ1-195 цельнолитой, а в турбобурах типов ЗТСШ1-195ТЛ — составной.
Рис. 3.7. Турбобур секционный шпиндельный унифицированный типа ЗТСШ1:
1 — переводник к бурильным трубам; 2 — секция турбинная; 3 — секция шпиндельная; 4 — переводник вала
Проточная часть последнего турбобура оснащена турбинами, изготовляемыми методом точного литья. Осевая опора у этих турбобуров так же, как и у турбобуров типа ТСШ, вынесена в самостоятельную шпиндельную секцию, которая может быть заменена непосредственно на строящейся скважине.
В турбобурах типа ТСШ1 проведена межтиповая унификация, т.е. различные типы турбин, корпусы, валы, опоры, полумуфты и переводники в пределах одного габаритного размера имеют одинаковые посадочные и присоединительные размеры, благодаря чему представляется возможным применять в них турбины и осевые опоры любого типа. В секциях турбобура предусмотрена возможность монтажа высоко- и низкооборотных цельнолитых турбин, составных турбин точного литья и пластмассовых, а в шпиндельной секции — как опоры скольжения (резино-металлической пяты), так и качения (радиально-упорных подшипников).
В отличие от турбобуров типа ТСШ в верхней части вала турбинных секций турбобуров типа ТСШ1 монтируются три предохранительные ступени резинометаллической проточной пяты, предотвращающей посадку роторов турбины на статоры, которая может произойти в случае неправильной регулировки осевых зазоров в турбине, износа осевой опоры турбобура выше допустимой нормы или по другим причинам. Благодаря этому надежность работы турбинных секций повышается в 1,5 — 2,0 раза.
Валы турбинной и шпиндельной секций в турбобуре типа ТСШ1 соединяются с помощью конусно-шлицевых полумуфт, а детали на валах турбинных секций крепятся с помощью полумуфты с конической резьбой с внутренним упорным торцом, исключающей срыв ее на валу, благодаря чему возрастает надежность регулировки секций и распределения осевых зазоров в турбине.
(рис. 3.7) представляет собой многоступенчатую гидравлическую турбину осевого типа, выполненную в турбобурах типов ЗТСШ1-172 и ЗТСШ1-195 цельнолитой, а в турбобурах типов ЗТСШ1-195ТЛ — составной.
Основные параметры и энергетические характеристики турбобура типа ТСШ1
Основные параметры и энергетические характеристики турбобуров типа ТСШ1 при различных расходах воды приведены в табл. 3.2.
Турбобуры типов 2Т195К и ЗТ195К
К этому же типу забойных двигателей относятся унифицированные двух- и трехсекционные турбобуры типов 2Т195К и ЗТ195К нового поколения с улучшенной энергетической характеристикой, базирующейся на турбине нового типа, обеспечивающей повышение не менее чем на 30 % величины момента силы на выходном валу.
Ступени турбины изготавливаются методом точного литья по выплавляемым моделям. Они выполнены в цельнолитом варианте и не требуют применения дорогостоящего трубного проката для изготовления ступиц.
В унифицированных турбобурах диаметром 195 мм применяются все типы турбин, в том числе и комбинированные (металлопластмассовые) турбины типа Т195К.
Применение современных технологических процессов упрочнения рабочих поверхностей дисков пяты, втулок радиальных опор, опор качения, а также новых ударопрочных марок чугуна, резин и трудно вымываемых смазок гарантирует 1,5 — 2-кратное увеличение наработки на отказ шпиндельных и турбинных секций и снижение металлоемкости.
Благодаря использованию нового типа дроссельного устройства снижаются утечки промывочной жидкости из-под ниппеля турбобура и предотвращается зашламление опорных элементов, особенно при бурении гидромониторными долотами.
Опорно-центрирующие устройства могут быть установлены на корпусе турбобура непосредственно перед спуском в скважину.
Основные параметры и характеристики турбобуров типов 2Т195К и ЗТ195К
Основные параметры и энергетические характеристики турбобуров типов 2Т195К и ЗТ195К при различных расходах воды приведены в табл. 3.2.
Турбобуры уменьшенного диаметра типа ЗТ105К
Техническая характеристика турбобуров типа 3Т105К
В последнее десятилетие двадцатого столетия созданы гидравлические забойные двигатели уменьшенного диаметра с улучшенной энергетической характеристикой, увеличенной наработкой на отказ и уменьшенной металлоемкостью. К ним относятся секционные шпиндельные турбобуры типа ЗТ105К с наружным диаметром 105 мм, предназначенные для бурения скважин малого диаметра и разбуривания цементных мостов (стаканов), песчаных пробок, отложений солей в обсадных колоннах при капитальном ремонте скважин с использованием долот различных типов и серий диаметром от 118 до 139,7 мм.
Конструкция турбобура типа ЗТ105К существенно отличается от известных конструкций турбобуров типов ТС4А-104.5, ТПС-105 и др. Турбобур типа ЗТ105К состоит из трех турбинных и одной шпиндельной секций и базируется на турбине нового типа пониженной осевой высоты — 24/8-105. Турбины изготавливаются методом точного литья по выплавляемым моделям и обеспечивают увеличение мощности на 30 % (за счет повышения частоты вращения и момента силы на выходном валу, снимаемого с единицы осевой длины турбобура), а также надежность в эксплуатации (в части предотвращения зашламления турбины) и простоту изготовления и ремонта.
Все три турбинные секции идентичны по конструкции и требуют минимальной индивидуальной регулировки.
В шпиндельной секции турбобура установлена резинометаллическая пята с утопленной резиновой подушкой и упрочненными дисками. С целью исключения возможности зашламления опоры над пятой размещен дроссель с автоматическим регулированием зазора между уплотняющими рабочими поверхностями трения.
Для предотвращения зашламления турбобура «снизу» в его конструкции предусмотрен обратный клапан, в котором использован принцип эшелонированной защиты уплотняющих резиновых манжет.
Основные параметры и энергетические характеристики турбобура типа ЗТ105К
Основные параметры и энергетические характеристики турбобура типа ЗТ105К при различных расходах воды приведены в табл. 3.2.
Турбобуры секционные шпиндельные типа ТСША и ТШД
Техническая характеристика турбобуров типа ТСША
Турбобуры секционные шпиндельные типа ТСША — ЗТСШ-195ТЛ, ЗТДШ-195А и ЗТДШ-240А (рис. 3.9) предназначены для бурения алмазными долотами вертикальных и наклонно направленных скважин различного назначения с применением буровых растворов при температуре до 120 °С.
Рис. 3.9.
Турбобур секционный шпиндельный ЗТСША для бурения алмазными долотами:
1 — переводник к бурильным трубам; 2 — секция турбинная; 3 — секция шпиндельная; 4 — переводник вала
Отличительные особенности турбобуров типа ТСША
Эти турбобуры созданы на базе унифицированных секционных шпиндельных турбобуров типа ЗТСШ1 и выпускаются с наружным диаметром 195 и 240 мм.
В отличие от базового, турбинные секции турбобура типа ЗТСША-195ТЛ укомплектованы специальной высокооборотной, высокомоментной турбиной типа 21/16,5-195ТЛ, изготовленной методом точного литья по выплавляемым моделям, благодаря чему обеспечивается возможность бурения нефтяных и газовых скважин долотами с вооружением из натуральных и искусственных алмазов.
Отличительной особенностью конструкции шпиндельных секций турбобуров типа ЗТСША-195ТЛ является наличие узла лабиринта, который предохраняет 25-ступенчатую резинометаллическую осевую опору — пяту от проникновения в нее крупных абразивных частиц.
Для увеличения стойкости опоры в резинометаллической пяте этого турбобура увеличена ширина опорной резиновой поверхности подпятников и улучшена конструкция последних.
На валу и в корпусе турбобура детали крепятся так же, как и в турбобурах типа ЗТСШ1-195.
Основные параметры и энергетические характеристики
Основные параметры и энергетические характеристики турбобуров типов ЗТСША-195ТЛ, ЗТДШ-195А и ЗТДШ-240А при промывке водой приведены в табл. 3.6.
Турбобуры секционные шпиндельные типа ТСША и ТШД
Основные параметры и энергетические характеристики
Основные параметры и энергетические характеристики турбобуров типов ЗТСША-195ТЛ, ЗТДШ-195А и ЗТДШ-240А при промывке водой приведены в табл. 3.6.
Таблица 3.6 Технические характеристики турбобуров для бурения скважин алмазными долотами
| Показатель |
ЗТДШ-195А |
ЗТСША-195ТЛ |
ЗТДШ-240А |
| Наружный диаметр корпуса, мм |
195 |
195 |
240 |
| Длина в сборе, мм |
26700 |
25700 |
23200 |
| Масса, кг |
4750 |
4750 |
5975 |
| Число секций: |
|
|
|
| Расход жидкости плотностью 1000 кг/м3 , л/с |
24 |
23 |
26 |
| Частота вращения вала в рабочем режиме, об/мин |
750 |
535 |
680 |
| Перепад давления, МПа |
8,3 |
6,1 |
8,1 |
| Момент силы на валу, Н∙м |
1800 |
1800 |
2500 |
| Диаметр рекомендуемых долот, мм |
215,9 |
215,9-244,5 |
269,9-295,3 |
Шпиндели типа ШД
Шпиндели типа ШД
Техническая характеристика шпинделей типа ШД
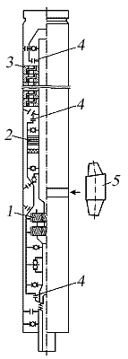
С учетом проведенных стендовых и промысловых исследований различных конструкций турбобуров диаметром 195 мм разработаны новые конструкции шпинделей типа ШД с шаровой опорой и дисковым лабиринтным уплотнением.
В шпинделе типа ШД (рис. 3.8) часть промывочной жидкости дросселируется через дисковое лабиринтное уплотнение 3 и сбрасывается в кольцевое пространство скважины через дренажные отверстия 4 в корпусе шпинделя. Тем самым исключается принудительное прокачивание бурового раствора через шаровую осевую опору 6. От попадания в шаровую опору песка и шлама подшипник защищен резинометаллическим уплотнителем 5.
Рис. 3.8. Шпиндель типа ШД: 1, 8 — переводник-стабилизатор лопастной; 2 — опора радиальная верхняя; 3 — уплотнение лабиринтное; 4 — отверстие дренажное; 5 — уплотнение резинометаллическое; 6 — опора осевая; 7 — опора нижняя радиальная.
Новые конструкции нижней 7 и верхней 2 радиальных опор обеспечивают надежную стабилизацию низа вала, являющуюся весьма важным фактором при направленном бурении. При необходимости корпус шпинделя типа ШД может быть оснащен двумя лопастными стабилизаторами, один из которых 8 устанавливается вместо ниппеля, а другой 1 — вместо верхнего соединительного переводника.
С учетом проведенных стендовых и промысловых исследований различных конструкций турбобуров диаметром 195 мм разработаны новые конструкции шпинделей типа ШД с шаровой опорой и дисковым лабиринтным уплотнением.
Турбобуры секционные шпиндельные с наклонной линией давления типа АШ
Техническая характеристика турбобуров типа АШ
Турбобуры секционные шпиндельные с наклонной линией давления типа АШ (А6Ш, А7Ш, А7Ш2, А9, А9Ш2) предназначены для бурения вертикальных и наклонно направленных скважин различного назначения с использованием утяжеленных буровых растворов при температуре выше 120 °С.
Турбобуры типа АШ (рис. 3.10) выпускаются с наружным диаметром от 164 до 240 мм и состоят из двух или трех турбинных и одной шпиндельной секций. Турбины этих турбобуров имеют наклонную к тормозному режиму линию давления. Турбобур с тремя турбинными секциями имеет шифр ЗА6Ш.
Рис. 3.10.
Турбобур секционный шпиндельный типа А7Ш с наклонной линией давления:
а
— секция турбинная; б
— секция шпиндельная; 1 — переводник к бурильным трубам; 2 — верхняя полумуфта; 3 — статор; 4 — ротор; 5 — опора радиальная; 6 — вал; 7 — корпус; 8 — переводник нижний; 9 — полумуфта нижняя; 10 — переводник верхний шпинделя; 11 — полумуфта шпинделя; 12 — опора радиальная; 13 — опора осевая шариковая; 14 — ниппель шпинделя; 15 — вал шпинделя; 16 — переводник нижний к долоту
Отличительные особенности турбобуров типов А6Ш, А7Ш2, А9Ш2
Отличительная особенность турбобуров типов А6Ш, А7Ш2, А9Ш2 состоит в том, что они выполнены с независимой подвеской вала турбинной секции, т.е. каждая секция имеет свою осевую опору — вал в ней подвешен в верхней части на отдельном многорядном упорно-радиальном подшипнике, комплектуемом из шарикоподшипников серии 128700.
Турбобуры секционные шпиндельные с наклонной линией давления типа АШ
Отличительные особенности турбобуров типов А6Ш, А7Ш2, А9Ш2
Отличительная особенность турбобуров типов А6Ш, А7Ш2, А9Ш2 состоит в том, что они выполнены с независимой подвеской вала турбинной секции, т.е. каждая секция имеет свою осевую опору — вал в ней подвешен в верхней части на отдельном многорядном упорно-радиальном подшипнике, комплектуемом из шарикоподшипников серии 128700.
Для протока промывочной жидкости в турбину с обеих сторон подшипника предусмотрены специальные фонари. По всей длине вала расположены ступени турбин и резинометаллические средние опоры. Соединение валов турбинной и шпиндельной секций осуществляется с помощью полумуфт с квадратным сечением. Благодаря описанной конструкции в турбобурах типа А6Ш достигается независимая регулировка секций в зависимости от присоединительных размеров расположенной ниже секции.
Базовые детали турбобуров типов А7Ш и А9Ш (корпусы, валы, переводники и средние опоры турбинных секций) в соответствующих габаритах унифицированы с турбобурами типов ЗТСШ1-195, ЗТСШ1-195ТЛ и ЗТСШ1-240.
Важной особенностью турбобуров типов А7Ш и А9Ш является: наличие в верхней части шпиндельной секции торцевого уплотнения (сальника), позволяющего вести бурение с использованием гидромониторных долот при перепаде давления в них до 6 МПа; применение в турбинных секциях промежуточных радиальных шаровых опор вала в виде однорядного шарикоподшипника серии 350700 и в шпиндельной секции осевой опоры в виде многорядного упорно-радиального шарикоподшипника серии 128700, обеспечивающих улучшение запуска турбобура в скважине, бурение при высоких осевых нагрузках и температуре бурового раствора выше 120 °С.
Основные параметры и энергетические характеристики турбобуров типа АШ
Основные параметры и энергетические характеристики турбобуров типа АШ при различных расходах воды приведены в табл. 3.2.
Турбобуры секционные шпиндельные со ступенями гидродинамического торможения типа АГТШ
Техническая характеристика турбобуров типа АГТШ
Турбобуры секционные шпиндельные со ступенями гидродинамического торможения типа АГТШ (А6ГТШ, А7ГТШ и А9ГТШ) предназначены для бурения глубоких вертикальных и наклонно направленных скважин различного назначения с применением буровых растворов плотностью до 2200 кг/м3 при температуре выше 120 °С.
Турбобуры типа АГТШ (рис. 3.11) выпускаются с наружным диаметром от 164 до 240 мм и состоят из четырех секций: трех идентичных турбинных секций (верхней, средней и нижней) и одной шпиндельной секции.
Рис. 3.11
. Турбобур секционный шпиндельный типа АГТШ (А9ГТШ, А7ГТШ1) со ступенями гидродинамического торможения:
1 — переводник к бурильным трубам; 2 — секция турбинная верхняя; 3 — секция турбинная средняя; 4 — секция турбинная нижняя; 5 — секция шпиндельная
Эти турбобуры снабжены решетками гидродинамического торможения, что обеспечивает их работу с более низкой частотой вращения, чем у турбобуров типа АШ, благодаря чему достигается большой эффект при проводке нижних интервалов скважин в сочетании как с шарошечными, так и с безопорными долотами в соответствии с конкретными горно-геологическими условиями месторождения.
Турбобуры типа АГТШ по конструкции турбинных секций в основном аналогичны турбобурам типа ТСШ1, кроме турбобура типа А6ГТШ, который имеет независимую подвеску валов, аналогичную турбобуру типа А6Ш.
Основные параметры и энергетические характеристики
Основные параметры и энергетические характеристики турбобуров типа АГТШ при различных расходах воды приведены в табл. 3.2.
Модификации серийных турбобуров типа А7Ш
Техническая характеристика турбобуров типа А7Ш
В 90-е годы создано несколько новых модификаций серийных турбобуров типа А7Ш , в частности типов А7ПЗ-БК, А7П5 и А7П5-Т2, которые комплектуются турбинами различных типов.
Турбобуры диаметром 172, 195 и 240 мм, которыми осуществляется бурение верхних интервалов скважин до глубины 2000 м в Западной Сибири с частотами вращения 350 — 400 об/мин, оснащаются ступенями турбин с повышенным вращающим моментом. Они обеспечивают в двухсекционном исполнении энергетическую характеристику, аналогичную трехсекционному турбобуру соответствующего диаметра. Подтверждение этому приведено в табл. 3.7 для турбобуров с наружным диаметром 195 мм.
Таблица 3.7 Сравнительные энергетические характеристики турбин турбобуров диаметром 195 мм
| Тип турбины |
Число турбинных секций |
Число ступеней турбины |
Расход жидкости, л/с |
Параметр |
||
| Момент силы на валу, кгс∙м |
Частота вращения, об/мин |
Перепад давления, МПа |
||||
| 26/16,5-195 |
3 |
330 |
40 |
250-280 |
520-570 |
7,2 |
| А7Ш |
2 |
220 |
32 |
170-190 |
450-510 |
8,0-8,6 |
| А7ПЗ-БК |
1, 2, 3 |
110 |
32 |
140-160 |
390-430 |
3,6-4,2 |
| А7П5-195 |
1, 2 |
110 |
32 |
110-130 |
450-490 |
3,4-3,8 |
| А7П5-Т2 |
2 |
220 |
32 |
160-180 |
425-470 |
4,6 |
| А7П5-195 + 26/16,5-195 |
1 + 1 |
110+110 |
32 |
160-190 |
430-470 |
5,0-5,4 |
Примечания: Рабочая жидкость — вода. Указанные параметры получены пересчетом данных по стендовым испытаниям 5-ти ступеней турбины.Турбины предназначены для оснащения турбобуров типа ЗТСШ1-195 и турбинных отклонителей.
Турбобур секционный типа ТПР-105
Техническая характеристика турбобура типа ТПР-105
Турбобур секционный типа ТПР-105 предназначен для бурения вертикальных, наклонно направленных и горизонтальных скважин , а также для разбуривания цементных мостов, стаканов и различных пробок долотами диаметром от 117 до 140 мм.
Турбобур состоит из одной шпиндельной и двух турбинных секций. В турбинной секции установлена многоступенчатая стальная турбина, выполненная методом литья по выплавляемым моделям. Конструкция турбобура выполнена по схеме с «плавающим ротором на профильном валу», что упрощает их сборку и регулировку секций, обеспечивает их заменяемость и позволяет полностью отрабатывать осевую (шариковую) опору шпинделя.
Основные параметры турбобура типа ТПР-105 следующие:
- диаметр корпуса — 105 мм;
- длина в сборе — 8700 мм;
- масса — 400 кг.
Турбобур выполнен с присоединительными резьбами: к долоту (внизу) — 3 — 76; к трубам (вверху) — МК-94.
Рабочий режим турбобура обеспечивается параметрами: расход бурового раствора — 10 л/с; частота вращения вала — 800 об/мин; вращающий момент — 250 Н∙м; перепад давления — 4,5 МПа.
Секционный шпиндельный турбобур с плавающими статорами типа ТПС-172
Техническая характеристика турбобура типа ТПС-172
Секционный шпиндельный турбобур с плавающими статорами типа ТПС-172 (рис. 3.12) предназначен для бурения глубоких вертикальных и наклонно направленных скважин различного назначения с промывкой буровым раствором при температуре до 90 °С.
Рис. 3.12.
Турбобур типа ТПС с плавающими статорами:
1, 6 — переводник; 2 — секция турбинная верхняя; 3 — вал турбобура; 4 — нижняя турбинная секция; 5 — шпиндель
Турбобур ТПС-172 с наружным диаметром корпуса 172 мм, состоит из трех турбинных и одной шпиндельной секций и в зависимости от технологических требований строительства скважин может применяться при бурении с шарошечными и безопорными долотами различных типоразмеров и серий в соответствии с рекомендациями по их применению в конкретных горно-геологических условиях месторождений.
Турбобур типа ТПС-172 выполнен по новой конструктивной схеме, отличающейся от обычной схемы тем, что система деталей в корпусе турбинной секции не закреплена путем сжатия осевым усилием и имеет возможность осевого перемещения на 100—150 мм вдоль корпуса вместе с валом секции и деталями, закрепленными на нем. Для этого в корпусах турбинных секций по всей длине внутренней поверхности выполнен шпоночный паз глубиной 2,5 мм.
Статор турбины
Статор турбины (рис. 3.13) изготовлен из полимерного материала и имеет вид незамкнутого кольца, во внутреннем ободе которого размещена кольцевая пружина.
Секционный шпиндельный турбобур с плавающими статорами типа ТПС-172
Статор турбины
Статор турбины (рис. 3.13) изготовлен из полимерного материала и имеет вид незамкнутого кольца, во внутреннем ободе которого размещена кольцевая пружина.
Рис. 3.13. Статор турбины разъемный: 1 — проточная часть статора; 2, 3 — пружина; 4 — шпонк.
От проворота под действием реактивного вращающего момента в корпусе секции статора турбины удерживаются подпружиненными шпонками, взаимодействующими с пазом в корпусе (рис. 3.14), а также за счет сил трения, возникающих от действия упругой силы кольцевой пружины.
Рис. 3.14. Схема положения статора в корпусе секции: 1 — корпус; 2 — статор
Наружный диаметр статора в сборе больше внутреннего диаметра корпуса секции, поэтому при монтаже турбины в корпусе кольцевая пружина статора сжимается и удерживает статор в корпусе силами упругости пружины.
Роторы турбинные
В процессе работы вибрационная и гидравлическая нагрузки на статор преодолевают удерживающую силу от силы упругости кольцевой пружины.
Секционный шпиндельный турбобур с плавающими статорами типа ТПС-172
Роторы турбинные
В процессе работы вибрационная и гидравлическая нагрузки на статор преодолевают удерживающую силу от силы упругости кольцевой пружины.
Статоры смещаются вдоль корпуса сверху вниз и опираются торцами кольцевых пружин на резиновые кольцевые элементы в роторах турбины (рис. 3.15).
Рис. 3.15. Ступень турбины: 1 — кольцо; 2 — статор; 3 — ротор
Роторы турбины отлиты из стали и снабжены привулканизированными резиновыми кольцевыми элементами, которые могут взаимодействовать с кольцевыми пружинами статоров, что исключает соприкосновение лопаточных венцов ротора и статора, их осевой износ и разрушение.
Роторы изготавливаются способом точного литья и полукокильным способом, чем объясняется некоторое различие энергетических характеристик турбобура. Ротор полукокильного исполнения в отличие от ротора точного литья изготавливается со ступицей (рис. 3.16).
Рис. 3.16. Роторы турбинные: а — полукокильного исполнения; б — точного литья; 1 — резиновый кольцевой элемент
Преимущества турбобура типа ТПС-172
В каждой турбинной секции установлено 142 ступени турбины и 4 обрезиненные радиальные опоры.
Секционный шпиндельный турбобур с плавающими статорами типа ТПС-172
Преимущества турбобура типа ТПС-172
В каждой турбинной секции установлено 142 ступени турбины и 4 обрезиненные радиальные опоры.
В шпиндельной секции размещена 12-ступенчатая амортизированная шаровая опора качения типа ШШО и 8-ступенчатое лабиринтное уплотнение дроссельного типа в виде чередующихся радиальных опор и дисков. Кроме того, в нижней части шпинделя установлена радиальная резинометаллическая опора.Такое конструктивное решение обеспечивает определенные эксплуатационные преимущества турбобура типа ТПС-172 перед турбобурами, выполненными по обычной конструктивной схеме, а именно:
- существенно увеличена наработка на отказ турбинных секций;
- увеличена наработка на отказ шпиндельной секции (критерий отказа - предельно допустимый люфт в шпинделе — до 12 мм);
- исключена наиболее сложная и ответственная операция сборки турбобура — регулировка турбины;
- улучшена энергетическая характеристика турбины в направлении снижения частоты вращения вала, снижения перепада давления в турбине, увеличения момента силы на валу за счет появившейся возможности увеличить средний диаметр турбины и увеличить число ступеней турбины в секциях;
- полностью исключена возможность осевого износа турбины в результате «посадки» ротора на статор при своевременной замене шпинделя турбобура;
- имеется возможность взаимозаменяемости турбинных секций при сборке турбобура на скважине — при условии изготовления валов и корпусов в пределах допусков, указанных в чертежах, а также возможность сборки любого числа секций турбобура для обеспечения необходимой энергетической
Основные параметры и энергетические характеристики
Основные параметры и энергетические характеристики турбобуров типа ТПС-172 при различных расходах воды приведены в табл. 3.2.
Турбобуры типов ТСШ1М-195, ТПС-195М, ТПС-172У и ТПС-105
Разработаны конструкции турбобуров типов ТСШ1М-195, ТПС-195М, ТПС-172У и ТПС-105 на базе описанной схемы турбобура с плавающими статорами, обладающего значительными энергетическими и эксплуатационными преимуществами по сравнению с турбобурами, выполненными по обычной схеме. Их отличает повышенная надежность и безотказность в работе.
Турбобуры с независимой подвеской валов секций типа ТНБ
Техническая характеристика турбобуров типа ТНБ
К настоящему времени созданы шпиндельные турбобуры типа ТНБ с наружным диаметром 184 и 195 мм с независимой подвеской валов секций. Конструкция этих турбобуров (рис. 3.19, а) позволяет устанавливать центраторы между секциями и на корпусе турбобура, а также производить сборку в любом числе секций с быстроходными и тихоходными ступенями турбин в зависимости от горно-геологических условий разреза строящейся скважины.

Рис. 3.19, а.
Турбобур типа ТНБ :
а
— ТНБ для направленного бурения; 1 — секция турбинная верхняя; 2 — центратор лопастной межсекционный; 3 — секция турбинная нижняя; 4 — секция шпиндельная; 5 — центратор ниппельный; 6 — калибратор наддолотный.
Технические характеристики турбобуров типа ТНБ
Основные параметры турбобуров типа ТНБ приведены в табл. 3.8.
Таблица 3.8 Технические характеристики турбобуров типа ТНБ
| Показатель |
ТНБ-184 |
ТНБ-195 |
| Наружный диаметр, мм |
184 |
195 |
| Длина, мм |
24500 |
25800 |
| Масса, кг |
4750 |
4810 |
| Присоединительная резьба: |
|
|
| Расход жидкости плотностью 1000 кг/м3 , л/с |
30 |
30 |
| Частота вращения вала, об/ мин |
500 |
400 |
| Перепад давления, МПа |
5,0 |
6,0 |
| Момент силы, Н∙м |
1900 |
2100 |
Термостойкие турбобуры типа ТТА
Техническая характеристика турбобуров типа ТТА
Для бурения глубоких и сверхглубоких скважин с температурой на забое до 240 °С, в условиях разрезов с высоким температурным градиентом (термальные источники энергии и др.) созданы термостойкие турбобуры типа ТТА . В них отсутствуют резинометаллические опоры и они могут быть оснащены специальной турбиной, способной работать при плотности бурового раствора до 2400 кг/м3 . Основные параметры таких турбобуров приведены в табл. 3.8.
При использовании термостойких турбобуров рекомендуется работать ими совместно с забойным регулятором частоты вращения вала, который устанавливается под турбобуром или в колонне УБТ. Термостойкие турбобуры выполнены с диаметром корпуса 164 и 184 мм.
Технические характеристики турбобуров типа ТТА
Основные параметры турбобуров типа ТТА приведены в табл. 3.8.
Таблица 3.8 Технические характеристики турбобуров типа ТТA
| Показатель |
ТТА-164 |
ТТА-184 |
| Наружный диаметр, мм |
164 |
184 |
| Длина, мм |
24600 |
24500 |
| Масса, кг |
2580 |
4750 |
| Присоединительная резьба: |
|
|
| Расход жидкости плотностью 1000 кг/м3 , л/с |
20 |
30 |
| Частота вращения вала, об/ мин |
400 |
500 |
| Перепад давления, МПа |
7,0 |
5,0 |
| Момент силы, Н∙м |
1200 |
1900 |
Примечание. Турбобур типа ТТА рассчитан на применение в условиях температур до 240º С.
Типы редукторных турбобуров
Типы редукторных турбобуров
В настоящее время разработаны редукторные турбобуры нескольних типов
Технические характеристики редукторных турбобуров
Таблица 3.10 Технические характеристики редукторных турбобуров
| Показатели |
ТРВ-142 |
ТР-145 |
ТР-175/178 |
ТРМ-195 |
ТРМ1-195Ш |
ТРМЗ-195 |
ТР-195СТ |
ТР-240 |
ТРШ-195 |
ТРОЗ-195М |
| Наружный диаметр корпуса, мм |
142 |
145 |
178 |
195 |
195 |
195 |
195 |
240 |
195 |
195 |
| Длина, мм |
8600 |
8000 |
12987 |
25105 |
9200 |
6000 |
13000 |
10680 |
12100 |
14300 |
| Масса, кг |
650 |
800 |
2000 |
4620 |
1370 |
800 |
2400 |
2800 |
2230 |
2600 |
| Рекомендуемый диаметр долота, мм |
158,7- 215,9 |
158,7- 165,1 |
212,7- 215,9 |
215,9- 269,9 |
215,9- 269,9 |
215,9- 269,9 |
215,9- 269,9 |
269,9- 490,0 |
212,7- 215,9 |
212,7- 215,9 |
| Передаточное число редукторов: |
||||||||||
| с одной |
3,83 |
3,83 |
3,86 |
3,69 |
3,69 |
— |
3,70 |
3,05 |
3,69 |
3,69 |
| с двумя |
— |
— |
14,88 |
— |
— |
13,69 |
— |
— |
— |
— |
| Турбинные секции: |
||||||||||
| тип (секции или |
ТРВ-142 |
ТРВ-142 |
ТР-178 |
3ТСШ1-195 |
17/8-195 |
15/18- 195ТЛ |
3ТСША- 195ТЛ |
ЗТСШ1- 240 |
17/8-195 |
15/18- 195ТЛ |
| число ступеней |
100 |
100 |
101-151 |
204 |
— |
— |
— |
— |
— |
— |
| Расход бурового раствора (воды), л/с |
20-24 |
18-22 |
18-30 |
26-34 |
24-30 |
24-30 |
24-32 |
34-45 |
28-32 |
28-32 |
| Момент силы на выходном валу редуктора, кН∙м: |
||||||||||
| с одной |
1-1,3 |
0,7-1 |
4,1-8,3 |
1,5-2,5 |
1,1-1,7 |
— |
1,8-3 |
2,8-3,5 |
6,9-9,0 |
7,1-9,2 |
| с двумя |
— |
— |
2-3,5 |
— |
2-3 |
2-0,3 |
— |
— |
— |
— |
| Частота вращения выходного вала редуктора, об/мин: |
||||||||||
| с одной |
186-260 |
180-220 |
260-575 |
120-170 |
250-320 |
— |
85-235 |
145-260 |
350-400 |
350-400 |
| с двумя |
— |
— |
125-150 |
— |
100-125 |
120-140 |
— |
— |
— |
— |
| Максимальная мощность, кВт |
20-30 |
13-23 |
35-68 |
22-50 |
27-52 |
30-47 |
33-78 |
43-96 |
63-94 |
65-96 |
| Перепад давления в турбобуре, МПа |
3,3-4,8 |
4,1-5,9 |
5,0-9,2 |
2,8-4,9 |
2,1-3,3 |
2,4-3,8 |
3,3-5,9 |
2,4-4,2 |
4,1-5,3 |
4,2-5,4 |
| Максимальная температура в скважине, °С |
250 |
300 |
250 |
147 |
147 |
107 |
300 |
147 |
250 |
250 |
| Присоединительная резьба по ГОСТ 28487: |
||||||||||
| к трубам |
З-122 |
З-121 |
З-147 |
З-147 |
З-147 |
З-147 |
З-147 |
З-171 |
З-171 |
З-171 |
| к долоту |
З-102 |
З -88 |
З-117 |
З-117 |
З-117 |
З-117 |
З-117 |
З-152 |
З-102 |
З-88 |
Турбобур ТРВ-142
ТРВ-142 — вставной редукторный турбобур, предназначенный для использования в составе комплекса вставного инструмента для бурения без подъема бурильной колонны труб.
Турбобур ТРВ-142
ТРВ-142 — вставной редукторный турбобур, предназначенный для использования в составе комплекса вставного инструмента для бурения без подъема бурильной колонны труб.
При бурении вставным инструментом существенно ускоряется процесс смены долота — турбобур с долотом транспортируется на поверхность восходящим потоком бурового раствора при обратной циркуляции. После смены долота турбобур под собственным весом опускается к забою и при создании циркуляции автоматически приводится в рабочее положение.
Турбобур ТР-145Т
ТР-145Т — турбобур с маслонаполненным редуктором диаметром 145 мм предназначен для бурения глубоких и сверхглубоких скважин при высоких температурах до 300 °С и давлении (до 250 МПа) долотами диаметром от 158 до 165 мм при сниженной частоте вращения и увеличенном моменте силы на выходном валу турбобура с использованием воды или бурового раствора.
Турбобур ТР-145Т
ТР-145Т — турбобур с маслонаполненным редуктором диаметром 145 мм предназначен для бурения глубоких и сверхглубоких скважин при высоких температурах до 300 °С и давлении (до 250 МПа) долотами диаметром от 158 до 165 мм при сниженной частоте вращения и увеличенном моменте силы на выходном валу турбобура с использованием воды или бурового раствора.
Турбобур редукторный типа ТР-145Т состоит из турбинной и редукторной секций. Редукторная секция турбобура представляет собой оригинальный узел, размещенный в отдельном корпусе и состоит из ведущего вала, ведомого вала, системы маслозащиты и планетарной зубчатой передачи. Ведущий и ведомый валы редукторной секции имеют комбинированные опорные узлы, включающие амортизированные шарикоподшипники, работающие в масляной полости, радиальные опоры скольжения из композиционных материалов, работающих в среде промывочной жидкости. Система маслозащиты снижает перепады давлений на уплотнениях и компенсирует утечки масла из маслонаполненной камеры. Планетарная передача предназначена для понижения частоты вращения и увеличения момента силы на выходном валу. Двухрядное исполнение позволяет снизить нагрузки в зубчатой передаче.
Турбобур ТР-175/178
ТР-175/178 — редукторный турбобур с уменьшенным наружным диаметром.
Турбобур редукторный ТР-175/178
Техническая характеристика турбобура ТР-175/178
ТР-175/178 — редукторный турбобур с уменьшенным наружным диаметром с целью снижения гидродинамических давлений в скважине при спуске и подъеме бурильной колонны и циркуляции бурового раствора. Турбобур представляет собой новый универсальный гидравлический забойный двигатель для бурения нефтяных и газовых скважин долотами диаметром 212,7 — 215,9 мм. Уменьшение диаметра турбобура и требуемого расхода промывочной жидкости позволяет вести бурение скважин с соблюдением современной технологии, обеспечивающей повышение качества их строительства. Благодаря применению в турбобуре комбинации высокомоментной скоростной, специально разработанной для редукторного турбобура, и низкооборотной турбин удалось создать универсальный турбобур. Путем подбора рационального качества быстроходных и низкооборотных турбин можно иметь характеристику как для бурения шарошечными долотами, так и долотами с алмазно-твердосплавными вставками. Редуктор в сочетании с быстроходной турбиной позволяет иметь необходимый для бурения вращающий момент на выходе при кратном уменьшении длины турбобура.
Технические и энергетические характеристики
Технические и энергетические характеристики турбобура приведены в табл. 3.10.
Характеристика турбобура с турбинами двух типов
Расчетные характеристики турбобура с турбинами двух типов приведены в табл. 3.11.
Таблица 3.11 Техническая характеристика турбобура с турбинами двух типов
| Расход бурового раствора, л/с |
Частота вращения в режиме холостого хода, об/мин |
Момент силы в тормозном режиме, Нм |
Давление в рабочем режиме, МПа |
||||
| при плотности раствора, кг/м3 |
при плотности раствора, кг/м3 |
||||||
| 1000 |
1200 |
1400 |
1000 |
1200 |
1400 |
||
| 101 ступень турбины 18/18-172ТЛ |
|||||||
| 18 |
431 |
3384 |
4061 |
4738 |
3,6 |
4,3 |
5,0 |
| 20 |
479 |
4178 |
5013 |
5849 |
4,4 |
5,3 |
6,2 |
| 22 |
527 |
5055 |
6066 |
7077 |
5,3 |
6,4 |
7,4 |
| 24 |
575 |
6016 |
7219 |
8422 |
6,3 |
7,6 |
8,9 |
| 75 ступеней турбины18/18-172ТЛ + 39 ступеней турбины 36/10-172ТЛ |
|||||||
| 20 |
385 |
3892 |
4671 |
5449 |
3,9 |
4,7 |
5,4 |
| 22 |
423 |
4710 |
5652 |
6594 |
4,7 |
5,6 |
6,6 |
| 24 |
462 |
5065 |
6726 |
7847 |
5,6 |
6,7 |
7,8 |
| 26 |
500 |
6578 |
7894 |
9209 |
6,6 |
7,9 |
9,2 |
| 50 ступеней турбины 18/18-172ТЛ + 77 ступеней турбины 36/10-172ТЛ |
|||||||
| 20 |
315 |
3628 |
4354 |
5079 |
3,4 |
4,1 |
4,8 |
| 22 |
346 |
4390 |
5268 |
6146 |
4,1 |
5,0 |
5,8 |
| 24 |
378 |
5224 |
6269 |
7314 |
4,9 |
5,9 |
6,9 |
| 26 |
409 |
6131 |
7357 |
8584 |
5,8 |
6,9 |
8,1 |
| 25 ступеней турбины 18/18-172ТЛ +114 ступеней турбины 36/10-172ТЛ |
|||||||
| 22 |
287 |
4045 |
4855 |
5664 |
3,5 |
4,2 |
4,9 |
| 24 |
313 |
4814 |
5777 |
6740 |
4,2 |
5,0 |
5,9 |
| 26 |
339 |
5650 |
6780 |
7910 |
4,9 |
5,9 |
6,9 |
| 28 |
365 |
6553 |
7864 |
9174 |
5,7 |
6,9 |
8,0 |
| 151 ступень турбины 36/10-172ТЛ |
|||||||
| 24 |
260 |
4405 |
5286 |
6166 |
3,5 |
4,2 |
4,9 |
| 26 |
281 |
5169 |
6203 |
7237 |
4,1 |
4,9 |
5,7 |
| 28 |
303 |
5995 |
7194 |
8393 |
4,7 |
5,7 |
6,6 |
| 30 |
325 |
6882 |
8259 |
9635 |
5,4 |
6,5 |
|
Турбобур ТРМ-195 с редуктором РМ-195
ТРМ-195 с редуктором РМ-195 — наиболее широко применяемая конструкция редукторного турбобура, в которой осевые опоры вынесены в отдельные узлы (в виде промежуточного и нижнего шпинделя).
Турбобур ТРМ-195 с редуктором РМ-195
ТРМ-195 с редуктором РМ-195 — наиболее широко применяемая конструкция редукторного турбобура, в которой осевые опоры вынесены в отдельные узлы (в виде промежуточного и нижнего шпинделя).
Компонуется в основном с турбобурами типов ЗТСШ1-195 с турбиной 26/16,5 — 195, А7Ш (секция), 2ТСШ-195, 1ТСША-195ТЛ и др. С его помощью пробурена глубочайшая в мире Кольская сверхглубокая скважина СГ-3, (глубина 12266 м). Высокая надежность турбобура обеспечила его успешное применение при бурении высокостойкими шарошечными долотами типов ГНУ и ГАУ с герметизированной маслонаполненной опорой и подшипниками скольжения отечественных и зарубежных фирм.
Турбобур ТРШ-195
ТРШ-195— редукторный турбобур с одной или двумя турбинными секциями и редуктором-шпинделем с усиленными опорными узлами качения повышенной грузоподъемности, размещенными в маслонаполненной камере редуктора, воспринимающими осевые нагрузки от турбины и реакцию забоя скважины.
Турбобур ТРШ-195
ТРШ-195— редукторный турбобур с одной или двумя турбинными секциями и редуктором-шпинделем с усиленными опорными узлами качения повышенной грузоподъемности, размещенными в маслонаполненной камере редуктора, воспринимающими осевые нагрузки от турбины и реакцию забоя скважины.
Редукторный шпиндель типа РШЗ-195 длиной 4,50 м имеет два передаточных числа i = 3,69 и i = 13,62 и обеспечивает два режима работы долот серий ГНУ и ГАУ. Опорные узлы этого турбобура расположены непосредственно в редукторе, который выполнен в качестве одной секции, за счет чего уменьшается длина редуктора и всего турбобура по сравнению с наиболее широко применяемым в настоящее время редукторным турбобуром ТРМ-195. Обычно турбобуры типов ТРМ-195 и ТРШ-195 используются с двумя турбинными секциями турбобура типа ЗТСШ1-195. Дальнейшее увеличение механической скорости бурения возможно при использовании редуктора типа РШЗ-195 в компоновке с турбинной секцией быстроходного высокомоментного турбобура типа ЗТСША-195ТЛ. Выполнение турбобура типа ТРШ-195 в виде одной редукторной секции и компоновки его с одной турбинной секцией уменьшает затраты на ремонт и обслуживание турбобура.
Турбобур ТРМЗ-195
ТРМЗ-195 — турбобур с уменьшенной длиной редуктора-шпинделя и короткой турбиной, предназначенный для бурения горизонтальных скважин и искривленных участков наклонно направленных скважин с малым радиусом.
Турбобур ТРМЗ-195
ТРМЗ-195 — турбобур с уменьшенной длиной редуктора-шпинделя и короткой турбиной, предназначенный для бурения горизонтальных скважин и искривленных участков наклонно направленных скважин с малым радиусом.
В этой схеме гидравлическая нагрузка от турбины передается через водила планетарных передач на выходной вал и уравновешивает нагрузку от долота. Канал для потока бурового раствора в редукторной вставке выполнен периферийным. Редукторный шпиндель типа РМЗ-195 имеет две ступени планетарной передачи с общим передаточным числом i = 13,62. Турбинная секция содержит 40 ступеней высокооборотной турбины 17/18-195 или 15/18-195ТЛ. В качестве осевых опор применены новые упорные роликовые подшипники (с цилиндрическими роликами увеличенного диаметрa.
Турбобур ТР-195СТ
ТР-195СТ — турбобур в термостойком исполнении с механизмом стопорения вала для бурения сверхглубоких скважин при температуре до 300 °С и давлении до 250 МПа. Механизм стопорения предназначен для освобождения долота при его заклинивании и срабатывает при вращении бурильной колонны «вправо». Максимальный момент, передаваемый стопорным устройством заклиненному долоту ротором, составляет 20 кН∙м.
Турбобур ТРОЗ-195М
ТРОЗ-195М — редукторный турбобур, представляет собой новый универсальный гидравлический забойный двигатель для бурения нефтяных и газовых скважин долотами диаметром 212,7 — 215,9 мм.
Турбобур ТРОЗ-195М
ТРОЗ-195М — редукторный турбобур, представляет собой новый универсальный гидравлический забойный двигатель для бурения нефтяных и газовых скважин долотами диаметром 212,7 — 215,9 мм.
Благодаря применению планетарной передачи необходимый для бурения вращающий момент на выходе вала достигается при кратном уменьшении длины турбобура. Оптимальное сочетание энергетических параметров (частоты вращения, вращающего момента и других) с геометрическими размерами турбобура обеспечивается также использованием высокооборотной и высокомоментной турбины турбобура типа ЗТСША-195ТЛ. Малая длина шпинделя позволяет эффективно управлять траекторией скважины. Универсальность турбобура заключается в том, что он одинаково эффективен по сравнению с обычными турбобурами при бурении как прямых, так и искривленных участков скважины. Это достигается установкой кривого переводника с утлом перекоса от 0,5 до 2° между шпинделем и редуктором непосредствнно на буровой в зависимости от технологических требований. Поэтому на буровой нет необходимости иметь два и более двигателей разных типов одновременно. Турботур типа ТРОЗ-195М обеспечивает выполнение всех функций с помощью простой замены переводников.
Технические параметры турбобура типа ТРОЗ-195М приведены в табл. 3.10.
Редукторные турбобуры диаметром 240 мм
Рис. 3.21. Редукторные турбобуры диаметром 240 мм
Рис. 3.21 . Редукторные турбобуры диаметром 240 мм : а – типа ТР 240; б - типа ТРЗ-240; в -редукторно-шпиндельная секция типа РШ3-240
Турбобуры типов ТР-240 и ТРЗ-240
Семейство турбобуров типов ТР-240 и ТРЗ-240 (рис. 3.21, а, б ) -редукторные турбобуры являются универсальными и предназначены для бурения верхних интервалов глубоких скважин долотами диаметром от 269,9 до 490 мм.
Турбобуры типов ТР-240 и ТРЗ-240
Семейство турбобуров типов ТР-240 и ТРЗ-240 (рис. 3.21, а, б)
Редукторные турбобуры диаметром 240 мм
Рис. 3.21. Редукторные турбобуры диаметром 240 мм
Рис. 3.21 . Редукторные турбобуры диаметром 240 мм : а – типа ТР 240; б - типа ТРЗ-240; в -редукторно-шпиндельная секция типа РШ3-240
-редукторные турбобуры являются универсальными и предназначены для бурения верхних интервалов глубоких скважин долотами диаметром от 269,9 до 490 мм.
Их универсальность заключается в том, что в зависимости от технологических условий бурения у него можно изменять в широком диапазоне частоту вращения и момент силы. Это достигается использованием в турбобуре турбин с различными скоростными и моментными характеристиками; с целью получения промежуточных частот вращения сборкой турбинных секций с комбинированной турбиной в различном сочетании числа тихоходных и быстроходных турбин; компоновкой турбобура с обычным или редукторным шпинделем; выполнением редукторного шпинделя с одной или двумя ступенями передачи, понижающими частоту вращения выходного вала.
В зависимости от компоновки турбобура ему присваиваются типы:
- ТР-240 — с редукторным шпинделем с одной ступенью передачи;
- ТРЗ-240 — с двухступенчатым редуктором, размещенным в турбинной секции, шпинделем и сменным переводником между шпинделем и турбинно-редукторной секцией, имеющим угол перекоса от 0 до 2°.
Редукторный маслонаполненный шпиндель типа РШЗ-240
Редукторный маслонаполненный шпиндель типа РШЗ-240 (рис. 3.21, в) представляет собой отдельный узел, присоединяемый на буровой к турбинной секции взамен серийного шпинделя.
далее..
Турбобуры типов ТР-240, ТРЗ-240
Турбобур типа ТР-240 состоит из одной турбинной секции и короткого маслонаполненного редукторного шпинделя РШЗ-240.
Турбобуры типов ТР-240, ТРЗ-240
Техническая характеристика турбобуров типов ТР-240, ТРЗ-240
Турбобур типа ТР-240
Турбобур типа ТР-240 состоит из одной турбинной секции и короткого маслонаполненного редукторного шпинделя РШЗ-240. Тип турбинной секции выбирается в зависимости от технических условий бурения. Турбобур может быть собран с секцией тихоходной турбины ТВШ-240 или в комбинации ее с быстроходной высокомоментной турбиной А9ПЗ-ТЗ. Применение различных турбинных секций позволяет изменять частоту вращения и момент силы в широком диапазоне. Ведущий вал редуктора соединяется с валом турбинных секций конусно-шлицевой муфтой.
Турбобур типа ТРЗ-240
Турбобур типа ТРЗ-240 является универсальным гидравлическим забойным двигателем для бурения скважин диаметром 269,9 — 445 мм. Его универсальность заключается в том, что он может использоваться для бурения прямых и искривленных участков скважин.
Это обеспечивается малой длиной турбобура и установкой между турбинно-редукторной и шпиндельной секциями сменного переводника, который может быть прямым или с утлом перекоса осей резьб от 0 до 2°. Оптимальные энергетические параметры при малой длине турбобура достигаются использованием уменьшенного числа ступеней быстроходной, высокомоментной турбины и двух ступеней планетарного редуктора.
Применение редукторного турбобура позволяет изменять мощность, момент силы и частоту вращения выходного вала забойного двигателя непосредственно на строящейся скважине путем изменения числа секций турбин, смены или последовательного соединения нескольких редукторов с различными передаточными числами. Этим обеспечиваются оптимальные режимы работы долот всех типов и серий при сниженных расходах бурового раствора.
Технические характеристики турбобуров типов ТР-240, ТРЗ-240
Технические характеристики редукторных турбобуров типов ТР-240, ТРЗ-240.
| Показатели |
ТР-240 |
ТРЗ-240 |
| Наружный диаметр, мм |
240 |
240 |
| Диаметры применяемых долот, мм |
269,9-393,7 |
269,9-393,7 |
| Длина турбобура, мм |
10680 |
9647 |
| Длина турбинной секции, мм |
6740 |
7175 |
| Длина редукторно-шпиндельной секции, мм |
3940 |
2472 |
| Присоединительная резьба: |
|
|
| Передаточное число планетарной передачи |
3,53 |
12,46 |
| Максимальная плотность бурового раствора, кг/м3 |
1900 |
1900 |
| Максимальный момент силы на выходном валу, кНм |
16,8 |
36,0 |
| Предельная осевая нагрузка, кН |
300 |
300 |
| Предельно допустимая температура в скважине, °С |
250 |
150 и 250 |
| Масса, кг |
2800 |
2400 |
| Тип турбинной секции |
ТВШ-240 |
А9П3-Т3 |
| Число турбинных секций |
1 |
1 |
| Расход бурового раствора, л/с |
34-45 |
32-40 |
| Частота вращения в режиме холостого хода, об/мин |
250-330 |
133-166 |
| Перепад давления, МПа |
3,0-5,3 |
3,8-6,4 |
| Максимальная мощность, кВт |
57-133 |
51 |
Редукторные турбобуры типов ТРМ-105 и ТСМ-105
Редукторные турбобуры типов ТРМ-105 и ТСМ-105 предназначены для бурения глубоких скважин.
Редукторные турбобуры типов ТРМ-105 и ТСМ-105
Технические характеристики турбобуров типов ТРМ-105 и ТСМ-105
Редукторные турбобуры типов ТРМ-105 и ТСМ-105 предназначены для бурения глубоких скважин шарошечными и безопорными долотами диаметром от 120,6 до 139,7 мм в условиях высоких температур.
Рабочим органом турбобура ТРМ-105 являются одна или две турбинные секции с наружным диаметром 105 мм, работающих в компоновке с понижающим частоту вращения редукторным шпинделем. Редукторный шпиндель выполнен маслонаполненным и включает двухрядную планетарную передачу, опорные узлы, воспринимающие гидравлические и забойные нагрузки вала турбинных секций и реакцию забоя, систему маслозащиты с твердосплавными торцовыми уплотнениями. Турбобур обеспечивает легкий запуск и эксплуатацию.
Турбобур ТСМ-105 — секционный шпиндельный маслонаполненный предназначен для ремонта скважин. Включает три секции турбины и маслонаполненный шпиндель с шариковым упорно-радиальным подшипником. Подшипник имеет тороидальные дорожки качения.
В турбинных секциях и шпинделе установлены твердосплавные радиальные опоры. Нижняя опора шпинделя имеет увеличенную длину и выполняет роль сальника, предупреждающего выход бурового раствора в затрубное пространство между валом и корпусом. Благодаря работе осевого подшипника в масляной камере облегчается запуск турбобура и повышается стойкость подшипника и турбобура в целом.
Основные параметры турбобуров типов ТРМ-105 и ТСМ-105
Основные параметры и энергетическая характеристика турбобуров типов ТРМ-105 и ТСМ-105 приведены в табл. 3.13.
Таблица 3.13. Технические характеристики турбобуров типов ТРМ-105 и ТСМ-10
| Показатели |
ТРМ1-105 |
ТРМ2-105 |
ТСМ-105 |
| Наружный диаметр корпуса, мм |
105 |
||
| Диаметр применяемых долот, мм |
120,6-139,7 |
||
| Длина, мм |
6130 |
9960 |
10570 |
| Максимальный момент, Н∙м |
3000 |
3000 |
|
| Максимальная плотность бурового раствора, кг/м3 |
1400 |
1400 |
|
| Максимальная осевая нагрузка, кН |
50 |
50 |
|
| Предельно допустимая температура, °С |
250 |
250 |
|
| Тип турбинных секций |
3Т-105К |
ТПВ-105 |
|
| Число турбинных секций |
1 |
2 |
3 |
| Расход бурового раствора, л/с |
12-14 |
10-12 |
10-12 |
| Перепад давления при прокачке раствора плотностью 1200 кг/м3 , МПа |
4,2-5,7 |
5,6-8,3 |
5,0-6,2 |
| Момент на тормозном режиме, Н∙м |
1115-1517 |
1560-2230 |
360-480 |
| Частота вращения вала в режиме холостого хода, об/мин |
530-618 |
440-530 |
940-1130 |
| Максимальная мощность, кВт |
15,5-24,6 |
18,0-30,9 |
10,7-17,1 |
| Масса, кг |
302 |
490 |
560 |
Редукторные турбобуры типов TP2-120FL и ТРЗ-120Т
Редукторные турбобуры типов TP2-120FL и ТРЗ-120Т - турбобуры нового поколения.
Редукторные турбобуры типов TP2-120FL и ТРЗ-120Т
Технические характеристки турбобуров типов TP2-120FL и ТРЗ-120Т
Редукторные турбобуры типов TP2-120FL и ТРЗ-120Т турбобуры нового поколения. Их конструкция основана на сочетании высокооборотной повышенной энергоемкости турбины с частотой вращения до 3000 — 4000 об/мин и планетарной передачи. Это позволяет получить требуемые энергетические параметры для привода шарошечных, алмазных долот и долот с алмазно-твердосплавными пластинами.
Турбобур представляет соединенные кривым переводником турбинно-редукторную и шпиндельную секции. В верхней секции размещены ведущий вал с 90 ступенями турбины, планетарные передачи, система маслозащиты и опорный узел. Твердосплавные радиальные опоры обеспечивают надежную работу конструкции в условиях повышенных частот вращения и абразивной среды бурового раствора. В шпиндельной секции размещены радиальные опоры, многорядный осевой подшипник и нижнее торцевое уплотнение, замыкающее маслонаполненную камеру. Передача вращения от планетарной передачи на вал шпинделя осуществляется торсионным валом, допускающим перекос до 1,5°. Все узлы редуктора и шпинделя работают в масляной среде одной маслонаполненной камеры. Для уменьшения утечек бурового раствора между валом шпинделя и корпусом на валу шпинделя устанавливается твердосплавная радиальная опора увеличенной длины.
Благодаря малой длине шпиндельной секции редукторный турбобур TP2-120FL может использоваться для корректировки направления скважины в скользящем режиме и стабилизации направления в ротационном режиме.
Основные параметры турбобуров типов TP2-120FL и ТРЗ-120Т
Основные параметры и энергетические характеристики турбобуров типов TP2-120FL и ТРЗ-120Т приведены в табл. 3.14.
Таблица 3.14 Технические характеристики типов TP2-120FL и ТРЗ-120Т
| Показатель |
ТР2-120FL |
ТР3-120Т |
| Наружный диаметр корпуса в зоне расположения резьб, мм |
122 |
122 |
| Диаметр применяемых долот, мм |
146,0-171,4 |
|
| Длина турбинно-редукторной секции + шпиндельной секции, мм |
5991 + 1634 |
4000+1570 |
| Максимальный момент силы на выходном валу, Н∙м |
3400 |
|
| Максимальная плотность бурового раствора, кг/м3 |
1400 |
|
| Максимальная осевая нагрузка, кН |
50 |
|
| Предельно допустимая температура, °С |
250 |
|
| Тип турбин турбинной секции |
21/10-120 |
|
| Число турбинных секций |
1 |
|
| Число планетарных передач |
1 |
2 |
| Передаточное число планетарной передачи |
3,5 |
12,6 |
| Расход бурового раствора, л/с |
12-14 |
10-12 |
| Перепад давления при прокачке раствора плотностью 1200 кг/м3 , МПа |
6,2-8,5 |
2,3-3,7 |
| Момент силы в тормозном режиме, Нм |
925-1080 |
2365-3400 |
| Частота вращения вала в режиме холостого хода, об/мин |
530-618 |
214-256 |
| Максимальная мощность, кВт |
44-69 |
10-17 |
| Масса, кг |
550 |
420 |
Редукторные турбобуры типов ТР2-120Г и ТРЗ-120Г
Редукторные турбобуры типов ТР2-120Г и ТРЗ-120Г предназначены для забуривания новых стволов и бурения наклонных и горизонтальных интервалов глубоких скважин.
Редукторные турбобуры типов ТР2-120Г и ТРЗ-120Г
Техническая характеристика турбобуров типов ТР2-120Г и ТРЗ-120Г
Редукторные турбобуры типов ТР2-120Г и ТРЗ-120Г предназначены для забуривания новых стволов и бурения наклонных и горизонтальных интервалов глубоких скважин шарошечными и безопорными долотами диаметром от 151 до 158,7 мм с промывкой буровым раствором в условиях высоких температур.
Турбобуры типов ТР2-120Г и ТРЗ-120Г разработаны из условий применения высокооборотной энергонасыщенной турбины с частотой вращения до 3000 — 4000 об/мин и одной или двух ступеней планетарной передачи. Это позволяет получить требуемые энергетические параметры для привода шарошечных и алмазных долот и бурголовок.
Турбобур состоит из соединенных искривленным переводником турбинно-редукторной и шпиндельной секций. В верхней секции размещены ведущий вал с 40 — 90 ступенями турбины, планетарные передачи, система маслозащиты и опорный узел. Твердосплавные радиальные опоры обеспечивают надежность работы двигателя в условиях повышенных частот вращения и абразивной среды бурового раствора. В шпиндельной секции размещены радиальные опоры, многорядный осевой подшипник и торцовое уплотнение, герметизирующее нижнюю часть маслонаполненной камеры. Передача вращения от планетарной передачи осуществляется через торсионный вал, допускающий перекос до 2°. Все узлы редуктора и шпинделя работают в масляной среде единой маслонаполненной камеры. Для уменьшения утечек бурового раствора через ниппельную часть нижняя радиальная опора выполнена с увеличенной длиной.
Благодаря небольшой длине шпиндельной секции редукторные турбобуры типов ТР2-120Г и ТРЗ-120Г могут использоваться для корректировки направления скважины в оперативном порядке и стабилизации направления в ротационном режиме.
Основные параметры турбобуров типов ТР2-120Г и ТРЗ-120Г
Основные параметры и энергетические характеристики турбобуров типов ТР2-120Г и ТРЗ-120Г приведены в табл. 3.15 .
Таблица 3.15. Технические характеристики турбобуров типов ТР2-120Г и ТРЗ-120Г
| Показатель |
ТР2-120Г |
ТРЗ-120Г |
| Наружный диаметр, мм: |
|
|
| Диаметр применяемых долот, мм |
151- 158,7 |
|
| Длина, мм: |
|
|
| Число планетарных передач |
1 |
2 |
| Максимальный момент, Н∙м |
3400 |
3400 |
| Максимальная плотность бурового раствора, кг/м3 |
1 400 |
1 400 |
| Максимальная осевая нагрузка, кН |
50 |
50 |
| Предельно допустимая температура, °С |
250 |
250 |
| Расход бурового раствора, л/с |
10-14 |
8-12 |
| Перепад давления при прокачке бурового раствора плотностью 1200 кг/м3 , МПа |
3,1-7,0 |
2,3-3,7 |
| Момент на тормозном режиме, Н∙м |
1550-3040 |
1470-3310 |
| Частота вращения вала в рабочем режиме, об/мин |
385-538 |
100-150 |
Короткий редукторный турбобур
Короткий редукторный турбобур предназначен для бурения наклонных и горизонтальных скважин различного назначения.
Короткий редукторный турбобур
Техническая характеристика турбобура
Короткий редукторный турбобур (рис. 3.22) предназначен для бурения наклонных и горизонтальных скважин различного назначения.
Рис. 3.22.
Короткий редукторный турбобур:
1 — планетарная передача; 2 — насос масляный; 3 — турбина высокоскоростная специальная; 4 — уплотнения валов; 5 — переводник кривой.
В отличие от существующих турбобуров в нем применена специальная высокоскоростная турбина 3 с планетарной передачей 1 с передаточным отношением 1/6, что позволяет за счет редуцирования оборотов и мощности многократно снизить длину турбинной секции по сравнению с современными турбобурами. При этом все опорные узлы вала работают в масляной среде. Маслозащита работает исключительно надежно благодаря созданию постоянного перепада давления с помощью масляного насоса 2 на вращающиеся уплотнения валов 4. Оригинальное предохранительное устройство предупреждает об израсходовании масла в системе из-за возникших утечек. Для бурения наклонных и горизонтальных скважин этот турбобур комплектуется регулируемым кривым переводником 5, позволяющим устанавливать на поверхности требуемый угол искривления. Термостойкий вариант турбобура типа ТРМ-195 позволяет бурить высокотемпературные скважины с забойной температурой до 300 °C.
Турбобуры типов ТВ 1-102, ТШ-108Б и ТГ-124 для бурения и ремонта скважин
Техническая характеристика турьобуров типов ТВ 1-102, ТШ-108Б и ТГ-124
Для привода шарошечных долот и долот режуще-истирающего типа при проведении работ по капитальному ремонту скважин , а также при бурении прямолинейных и наклонно направленных участков нефтяных и газовых скважин малого диаметра созданы малогабаритные двух-, трех- и четырехсекционные турбобуры диаметром 102, 108 и 124 мм типов ТВ 1-102, ТШ-108Б и ТГ-124 (табл. 3.5).
Таблица 3.5 Техническая характеристика малогабаритных турбобуров
| Показатель |
ТВ1-102 |
ТШ-108Б |
ТГ-124 |
|||
| 3 секции |
4 секции |
2 секции |
3 секции |
2 секции |
3 секции |
|
| Наружный диаметр, мм |
102 |
102 |
108 |
108 |
124 |
124 |
| Длина, мм |
14600 |
19200 |
8850 |
12270 |
9160 |
12940 |
| Масса, кг |
630 |
740 |
435 |
610 |
930 |
1330 |
| Диаметр долота, мм |
118-151 |
120,6-151,0 |
139,7-158,7 |
|||
| Присоединительная резьба: |
|
|
|
|||
| Расход жидкости плотностью 1000 кг/м3 , л/с |
8 |
11 |
10 |
10 |
12 |
12 |
| Частота вращения вала, об/мин |
900 |
900 |
9090 |
790 |
900 |
750 |
| Момент силы, Н∙м |
100 |
135 |
215 |
205 |
450 |
470 |
| Перепад давления, МПа |
9,0 |
12,0 |
9,4 |
9,0 |
8,9 |
9,3 |
Турбинные отклонители
Характеристика турбинных отклонителей
Турбинные отклонители типов ТО и ШО конструктивно выполняются посредством соединения нижнего узла турбобура с верхним узлом через кривой переводник, а валов — через специальный шарнир. В настоящее время освоено производство турбинных отклонителей типов ТО-172, ТО2-195, ТО2-240 и шпинделей-отклонителей типа ШО1-195.
На конусную часть вала отклонителя установлен специальный шарнир. Верхняя секция турбобура-отклонителя представляет собой верхнюю секцию серийного турбобура. Угол искривления кривого переводника — 1, 1,5 и 2°.
Турбинные отклонители типа ТО
Основные технические и энергетические параметры ряда турбинных отклонителей типа ТО приведены в табл. 3.16 и 3.17 , общий вид показан на рис. 3.38.
Основные параметры турбобуров-отклонителей типа ТО2
Основные параметры и энергетические характеристики турбобуров-отклонителей типа ТО2
Таблица 3.16 Технические характеристики турбобуров-отклонителей типа ТО2
| Показатели |
ТО2-172 |
ТО2-195 |
ТО2-240 |
| Диаметр корпуса, мм |
172 |
195 |
240 |
| Длина в сборе, мм |
9712 |
10110 |
10170 |
| Масса, кг |
1363 |
1774 |
2507 |
| Расстояние от плоскости искривления до места присоединения долота, мм |
2200 |
2200 |
2600 |
| Расход рабочей жидкости, л/с |
28 |
30 |
45 |
| Частота вращения вала турбобура, об/мин |
705 |
520 |
420 |
| Перепад давления, МПа |
3,9 |
3,6 |
3,0 |
| Момент силы на валу, Н·м |
785 |
870 |
1370 |
| Диаметры рекомендуемых долот, мм |
190,5 |
215,9-244,5 |
269,9-295,3 |
| Присоединительная резьба: |
|
|
|
Таблица 3.17 Технические характеристики турбобуров-отклонителей типа ТО2 для бурения наклонно направленных скважин и зарезки вторых стволов из аварийных скважин
| Показатели |
ТО2-172 |
ТО2-195 |
ТО2-240 |
| Диаметр корпуса, мм |
172 |
195 |
240 |
| Длина в сборе, мм |
9715 |
10110 |
10170 |
| Масса, кг |
1363 |
1774 |
2506 |
| Число ступеней в турбобуре |
106 |
105 |
93 |
| Расход рабочей жидкости, л/с |
25-28 |
30 |
45 |
| Частота вращения вала турбобура, с-1 |
10,4-11,7 |
8,7 |
7,0 |
| Перепад давления, МПа |
2,9-3,9 |
3,5 |
2,9 |
| Момент силы на валу, Н·м |
637-785 |
853 |
1343 |
| Диаметры рекомендуемых долот, мм |
190,5 |
215,9-244,5 |
269,9-295,3 |
| Присоединительные резьбы |
|
|
|
| Присоединительный размер к шпинделю, мм |
320 ± 2 |
320 ± 2 |
285±2 |
Рис. 3.38. Турбинный отклонитель типа ТО2:
1 — турбинная секция; 2 — шарнирное соединение вала; 3 — секция шпиндельная.
Турбинные отклонители
Турбинные отклонители типа ТО
Основные технические и энергетические параметры ряда турбинных отклонителей типа ТО приведены в табл. 3.16 и 3.17 , общий вид показан на рис. 3.38.
Рис. 3.38. Турбинный отклонитель типа ТО2:
1 — турбинная секция; 2 — шарнирное соединение вала; 3 — секция шпиндельная.
Техническая характеристика турбинных отклонителей приведена в табл. 3.30.
Таблица 3.30. Техническая характеристика турбинных отклонителей
| Показатель |
ТО-172 |
ТО2-195 |
ТО2-240 |
| Наружный диаметр отклонителя, мм |
172 |
195 |
240 |
| Длина отклонителя, мм |
10745 |
10110 |
10170 |
| Масса расчетная, кг |
1500 |
1848 |
2593 |
| Число ступеней турбины |
109 |
95 |
106 |
| Длина нижнего плеча отклонителя, мм |
2000 |
2020 |
2350 |
| Присоединительная замковая резьба: |
|
|
|
| Расход жидкости (вода), л/с |
25 |
30 |
50 |
| Частота вращения турбины, мин-1 |
670 |
660 |
660 |
| Крутящий момент при максимальной мощности, Н·м |
650 |
810 |
2040 |
| Максимальная мощность турбины, кВт |
45,6 |
55,9 |
139,1 |
| Перепад давления при максимальной мощности, МПа |
3,8 |
3,3 |
4,1 |
| КПД турбины, % |
50,7 |
53,0 |
69,0 |
Турбинные отклонители типа ШО
Шпиндель-отклонитель типа ШО1-195 (рис. 3.39) эксплуатируется с секционным турбобуром или винтовым забойным двигателем, вместо обычного шпинделя.

Рис. 3.39. Шпиндель-отклонитель типа ШО-195:
1 — переводник присоединительный; 2 — корпус; 3 — опора осевая; 4 — вал.
Он представляет собой осевую опору забойного двигателя, выполненную в виде отдельного узла, искривленного под определенным углом относительно оси турбобура.
Преимущество этих отклонителей — малое расстояние от долота до точки перекоса, что снижает деформацию этого участка и повышает отклоняющую способность отклонителей.
Техническая характеристика шпинделя-отклонителя типа ШО1
| Наружный диаметр корпуса, мм |
195 |
| Длина, мм |
4600 |
| Масса, кг не более |
875 |
| Длина от плоскости искривления до места присоединения долота, мм |
2485 |
| Присоединительная резьба (ГОСТ 5286): |
|
| Допустимая частота вращения выходного вала турбобура на рабочем режиме, об/мин |
500 |
| Максимальный момент силы, кГ·м |
7000 |
Турбинные отклонители типа ДГ
Для бурения горизонтальных скважин со средним радиусом кривизны в пределах от 30 до 80 м разработан ряд типоразмеров отклонителей, техническая характеристика которых приведена в табл. 3.31.
Таблица 3.31 Технические характеристики отклонителей типа ДГ для бурения горизонтальных скважин
| Показатель |
ДГ-95 |
ДГ-108 |
ДГ1-106 |
ДГ2-106 |
ДГ-155 |
ДГ-172 |
| Наружный диаметр, мм |
95 |
108 |
106 |
106 |
155 |
172 |
| Длина секции, мм: |
|
|
|
|
|
|
| Максимальный угол изгиба искривленного переводника, градус |
4,0 |
3,5 |
3,5 |
3 |
3 |
3,5 |
| Радиус кривизны скважины, м |
30-50 |
50-80 |
20-30 |
20-40 |
50-80 |
50-80 |
| Диаметр долота, мм |
120,6- 139,7 |
120,6- 151,0 |
120,6- 151,0 |
120,6- 151,0 |
190,5- 215,9 |
215,9 |
| Расход промывочной жидкости, л/с |
6-10 |
6-12 |
6-12 |
6-14 |
24-30 |
25-35 |
| Частота вращения, мин-1 |
120-200 |
80-160 |
80-160 |
80-160 |
130-160 |
80-110 |
| Вращающий момент, Н·м |
600-900 |
800-1300 |
500-550 |
1000-1200 |
3500-4000 |
1500-3000 |
| Перепад давления, МПа |
4,5-6,0 |
3,5-5,5 |
3,0-5,5 |
6,5-7,5 |
6,5-7,5 |
3,5-4,5 |
Шпиндели типов ТШ1-195 и ШП-240
Техническая характеристика шпинделей типов ТШ1-195 и ШП-240
Разработаны шпиндели типов ТШ1-195 (рис. 3.17) и ШП-240 (рис. 3.18) к турбобурам диаметром 195 и 240 мм, оснащенные новыми конструкциями радиальных и осевых опор.
Рис. 3.17.
Секция шпиндельная типа ТШ1-195:
1 — опора радиальная; 2 — опора осевая
Рис. 3.18.
Секция шпиндельная типа ШП-240:
1 — пробка с резьбой РКТ-208; 2 — переводник верхний; 3 — полумуфта; 4 — корпус; 5 — опора радиальная; 6 — втулка радиальной опоры; 7 — диск пяты; 8 — подпятник; 9 — вал; 10 — ниппель; 11 — переводник наддолотный; 12 — пробка нижняя с резьбой 3-152.
Радиальные и осевая опоры выполнены непроточными, что обеспечивает возможность применения шарошечных и безопорных долот, оснащенных гидромониторными насадками.
Технические характеристики турбобуров
В соответствии с ГОСТ 26673 — 85 предусмотрено изготовление широкой номенклатуры турбобуров различных конструкций (табл. 3.1), предназначенных для бурения вертикальных и наклонно направленных скважин.
Турбинные забойные двигатели
Технические характеристики турбобуров
В соответствии с ГОСТ 26673 — 85 предусмотрено изготовление широкой номенклатуры турбобуров различных конструкций (табл. 3.1) , предназначенных для бурения вертикальных и наклонно направленных скважин.
Таблица 3.1 Технические характеристики турбобуров по ГОСТ 26673-85
| Показатель |
Т12МЗЕ-172 |
Т12МЗБ-195 |
Т12РТ-240 |
А6Ш |
ТПС-172 |
ЗТСШ1-172 |
А7ГТШ |
ЗТСШ-195 |
ЗТСШ-195ТЛ |
А9ГТШ |
ЗТСШ1-240 |
| Бурение верхних интервалов скважин и шахтных стволов агрегатами РТБ |
Бурение вертикальных и наклонно направленных нефтяных и газовых скважин |
Бурение вертикальных и наклонно направленных нефтяных и газовых скважин |
|||||||||
| Наружный диаметр корпуса, мм |
172 |
195 |
240 |
164 |
172 |
172 |
195 |
195 |
195 |
240 |
240 |
| Предельное отклонение, мм |
-1 |
-1,15 |
-1,15 |
-1 |
-1 |
-1 |
1,15 |
-1,15 |
-1,15 |
-1,15 |
1,15 |
| Длина, мм (предельное отклонение ±2 %) |
7940 |
8060 |
8210 |
17250 |
26250 |
25400 |
24950 |
25700 |
25700 |
23290 |
23225 |
| Число секций, всего |
1 |
1 |
1 |
3 |
4 |
4 |
4 |
4 |
4 |
4 |
4 |
| В том числе: |
|||||||||||
| турбинных |
1 |
1 |
1 |
2 |
3 |
3 |
— |
3 |
3 |
— |
3 |
| с турбинами и решетками гидродинамического торможения |
— |
— |
— |
— |
— |
— |
3 |
— |
— |
3 |
— |
| шпиндельных |
— |
— |
— |
1 |
1 |
1 |
1 |
1 |
1 |
1 |
1 |
| Число ступеней в турбобуре: |
|||||||||||
| турбин |
106 |
105 |
105 |
212 |
426 |
336 |
228 |
330 |
318 |
210 |
315 |
| решеток гидродинамического торможения (предельное отклонение ±2 %) |
— |
— |
— |
— |
— |
— |
114 |
— |
— |
99 |
— |
| Присоединительная резьба по ГОСТ 5286: |
|||||||||||
| к бурильной колонне |
З-147 |
З-147 |
З-189 |
З-121 |
З-121 |
З-121 |
З-147 |
З-147 |
З-147 |
З-171 |
З-171 |
| к долоту |
З-117 |
З-117 |
З-171 |
З-117 |
З-117 |
З-171 |
З-117 |
З-117 |
З-117 |
З-152 |
З-152 |
| Расход жидкости плотностью 103
кг/м3
(вода) |
28 |
45 |
55 |
20 |
25 |
25 |
30 |
30 |
40 |
45 |
32 |
| Момент силы на выходном валу, Н∙м: |
|||||||||||
| на тормозном режиме М т |
1373 |
2120 |
4099 |
1125 |
3394 |
2344 |
3660 |
2215 |
2960 |
3900 |
5300 |
| на рабочем режиме М р (предельное отклонение ± 5 %) |
687 |
1060 |
2049 |
563 |
1570 |
1172 |
1800 |
1061 |
1480 |
1950 |
2650 |
| Частота вращения выходного вала, об/мин: |
|||||||||||
| на режиме холостого хода n х |
1400 |
1200 |
1170 |
940 |
800 |
1000 |
800 |
620 |
650 |
530 |
890 |
| на рабочем режиме n р |
700 |
580 |
690 |
400 |
400 |
560 |
350 |
385 |
320 |
250 |
445 |
| Перепад давления, МПа: |
|||||||||||
| на режиме холостого хода ∆ р х |
2,75 |
2,1 |
6,6 |
4,9 |
3,5 |
7,6 |
11,5 |
4,8 |
3,6 |
9,7 |
4 |
| на рабочем режиме ∆ р р |
3,5 |
2,9 |
8,1 |
4,2 |
4,8 |
9,1 |
10,5 |
5,3 |
4 |
8,4 |
5,5 |
| на тормозном режиме ∆ р т |
3,2 |
2,6 |
7,3 |
3,4 |
4,6 |
8,4 |
8,5 |
5,1 |
3,3 |
7,2 |
4,9 |
| КПД, %, не менее |
50 |
50 |
69 |
38 |
55 |
39 |
26 |
50 |
40 |
31 |
61 |
| Масса m , кг, не более |
1057 |
1440 |
800 |
2095 |
3325 |
3530 |
4425 |
4790 |
6125 |
6125 |
5975 |
| Назначенный ресурс, ч, не менее |
800 |
800 |
800 |
800 |
900 |
800 |
800 |
800 |
900 |
800 |
900 |
| Установленный срок службы, лет, не менее |
3 |
3 |
3 |
3 |
3 |
3 |
3 |
3 |
3 |
3 |
3 |
| Установленная безотказная наработка, ч, не менее: |
|||||||||||
| турбинной секции |
30 |
30 |
30 |
240 |
300 |
200 |
240 |
240 |
240 |
240 |
200 |
| шпиндельной секции |
— |
— |
— |
60 |
150 |
55 |
70 |
80 |
80 |
60 |
60 |
Конструкция турбобуров
Турбинные забойные двигатели выпускаются с турбинами:
- металлическими цельнолитыми отливкой в землю;
- металлическими составными точного литья (ТЛ);
- пластмассовыми составными, в которых металлические ступицы и пластмассовые проточные части.
Опоры турбобуров — скольжения (резинометаллические проточные) и качения (шаровые), в том числе проточные и непроточные с уплотнением различной конструкции.
В связи с постоянными доработками конструкций фактические конструкции и характеристики турбобуров могут отличаться от приведенных ниже таблиц и рисунков.
В соответствии с требованиями ГОСТ 26673 — 85 предусмотрено изготовление турбобуров односекционных, двухсекционных и трехсекционных, шпиндельных и бесшпиндельных, с наружными диаметрами 172, 195 и 240 мм, предназначенных как для бурения вертикальных и наклонно-направленных скважин, так и для комплектования реактивно-турбинных и роторно-турбинных буров типа РТБ.
За последние 17 лет (после принятия ГОСТ 26673 — 85) в конструкцию турбобуров внесено множество усовершенствований и разработано значительное число новых типов и конструкций турбобуров (табл. 3.2).
