Контрольная работа: Теплотехнический расчет здания
|
Название: Теплотехнический расчет здания Раздел: Рефераты по строительству Тип: контрольная работа | ||||||||||||||||||||||||||||||||||||||||||||||||||||||||||||
| Содержание Исходные данные....................................................................................................2 Расчет коэффициента теплопередачи наружной стены…………...........………4 Расчет коэффициента теплопередачи чердачного перекрытия…………..........6 Расчет коэффициента теплопередачи пола первого этажа над подвалом.......11 Расчет коэффициента теплопередачи через заполнение световых проемов...13 Определение потерь тепла по укрупненным показателям……………............14 Список литературы………………………………………………………………17 Исходные данные 1.Район постройки здания- п. Верхняя Гутара 2. Климатические здания: а) Температура наружного воздуха наиболее холодной пятидневки б) Средняя температура отопительного периода в) Продолжительность отопительного периода г) Ориентация главного фасада на юго-восток. 3. Характеристика здания: Жилой дом-3этажа, Высота этажа-4,8 м. План 3.
4. Характеристика помещений: а) Жилая комната б) Расчетная температура в помещении в) Расчетная относительная влажность воздуха φв=50%. 5. Характеристика наружных ограждений: а) Конструкция наружной стены:
Утеплитель- маты минераловатные прошивные плотностью 75кг/м³ б) Конструкция чердачного перекрытия:
Утеплитель- Перлитопласт-бетон (ТУ 480-1-145-74) плотностью 200 кг/м³ в) Конструкция пола:
Утеплитель- Пенопласт ПВХ-1 (ТУ 6-05-1179-75) и ПВ-1 (ТУ 6-05-1158-78) плотностью 100 кг/м³. Расчет коэффициента теплопередачи наружной стены
Конструкция стены: Штукатурка цементно-песчаная (ρ=1800кг/м³) Кирпичная кладка из керамического кирпича ρ=1400 кг/м³ на цементно-песчаном растворе (ρ=1600кг/м³) Маты минераловатные прошивные (ρ=75 кг/м³) Воздушная прослойка ( Плита гипсовая (ρ=1200 кг/м³) Для того, чтобы найти коэффициент теплопередачи наружной стены необходимо найти сопротивление теплопередаче, вычисляемой по формуле:
где
δ1, δ2, δ3- толщина слоя, м;
λ1, λ2, λ3- коэффициент сопротивления теплопередачи, Вт/м²* По приложению 3 СНиПа II-3-79* находим коэффициенты сопротивления теплопередачи для каждого слоя: λ1= 0,19 Вт/м²* λ2= 0,58 Вт/м²* λ3= 0,41 Вт/м²*
Коэффициент теплопроводности По зонам влажности п. Верхняя Гутара попадает в зону 3 – сухая зона. Режим помещения – сухой, условия эксплуатации – А.
Определяем градусосутки отопительного периода:
где
Из таблицы 1б * СНиП № II-3-79* "Строительная теплотехника": При При Методом интерполяции вычисляем требуемое сопротивление теплопередачи ограждающих конструкций:
Из формулы 1.2 выражаем толщину утеплителя:
Находим коэффициент теплопередачи:
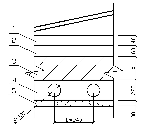
Расчет коэффициента теплопередачи чердачного перекрытия Доска сосновая плотностью 500 кг/м³, коэффициент теплопроводности λ1=0,29 Стяжка – цементный песчаный раствор, плотностью 1800 кг/м³, коэффициент теплопроводности λ2=0,76 Перлитопласт-бетон (ТУ 480-1-145-74) плотностью 200 кг/м³, коэффициент теплопроводности Железобетонная пустотная плита толщиной 0,28 м, плотностью 2500 кг/м³, диаметр пустот d=0,18 м и расстояние между ними L=0,24 м, коэффициент теплопроводности железобетона λ3=1,92 Сухая штукатурка плотностью 800 кг/м³, коэффициент теплопроводности λ4=0,19
Находим требуемое сопротивление теплопередачи ограждающих конструкций по следующей формуле:
Поскольку железобетонная плита неоднородная, то для этого круглые пустоты заменяются на квадратные. Считаем приведенную (эквивалентную) площадь этих пустот.
где а – сторона квадратных пустот. a=
Сопротивление теплопередачи пустотной плиты находится по формуле:
Для того чтобы найти Плоскостью параллельно тепловому потоку; Плоскостью перпендикулярно тепловому потоку.
где F1, F2– площадь сечения; R 1, R2– сопротивление теплопередачи сечения. F1=a*l=0,16 м (2.7) F2=(L-a)*l=0,08 м (2.8) где l – единичная длина. R1= Термическое сопротивление замкнутой воздушной прослойки горизонтальной при потоке тепла снизу вверх принимаем R2= По формуле 2.6 находим
где R1,R2 и R3 определяем соответственно по формулам:
R2=R’1+R’’2= По формуле 2.5 находим сопротивление теплопередачи пустотной плиты:
Градусосутки отопительного периода:
Из таблицы 1б * СНиП № II-3-79* "Строительная теплотехника": При При
Толщина утеплителя :
Находим коэффициент теплопередачи:
Расчет коэффициента теплопередачи пола первого этажа над подвалом
Доска сосновая плотностью 500 кг/м³, коэффициент теплопроводности λ1=0,29 Стяжка – цементный песчаный раствор, плотностью 1800 кг/м³, коэффициент теплопроводности λ2=0,76 Пенопласт ПВХ-1 (ТУ 6-05-1179-75) и ПВ-1 (ТУ 6-05-1158-78) плотностью 100 кг/м³, Железобетонная плита толщиной 0,28 м, плотностью 2500 кг/м³, коэффициент теплопроводности железобетона λ3=1,92 Сухая штукатурка плотностью 800 кг/м³, коэффициент теплопроводности λ4=0,19 Находим сопротивление теплопередаче, вычисляемой по формуле:
Градусосутки отопительного периода:
Из таблицы 1б * СНиП № II-3-79* "Строительная теплотехника": При При
Находим коэффициент теплопередачи:
Расчет коэффициента теплопередачи через заполнение световых проемов Градусосутки отопительного периода из пошлых расчетов При При Методом интерполяции определяем требуемое сопротивление теплопередачи:
По приложению 6 СНиП «Строительная теплотехника» выбираем приведенное сопротивление теплопередачи.
В результате получаем следующий коэффициент теплопередачи:
Определение потерь тепла по укрупненным показателям
Теплопотери через ограждающие конструкции здания определяются по формуле:
Где а- коэффициент учета района строительства здания; q- удельная тепловая характеристика здания;
Удельную тепловую характеристику здания определяем по следующим формулам:
где S – площадь здания S=12.2*10=122 м², P – периметр здания P=2*(12.2+10)=44.4 м; F – площадь наружных стен; d – степень остекления здания; k – коэффициент теплопередачи ограждающих конструкций; H – высота здания H=4.8*3=14,4 м. Ведомость окон
Степень остекления здания находим как отношение суммарной площади окон к площади наружных стен: d= Таким образом, мы получили
Находим нормативный коэффициент тепловой характеристики здания:
где
Поправочный коэффициент для жилых и общественных зданий берем из следующей таблицы:
Поскольку в нашем случае
Из двух найденных нами значений Список литературы 1. СНиП 23-02-2003 «Тепловая защита зданий»- М:Госстрой России, 2004г. 2. СНиП II-3-79* «Строительная теплотехника», 1998г. 3. СНиП 23-01-99* «Строительная климотология», 2003г. 4. Тихомиров К.В., Сергеенко Э.С. «Теплотехника, теплогазоснабжение и вентеляция»-4 изд., перераб. и доп. – М: Стройиздат,1991.-480с. |
||||||||||||||||||||||||||||||||||||||||||||||||||||||||||||





, (2.6)

