Лабораторная работа: Изучение потерь напора по длине при равномерном движении жидкости
|
Название: Изучение потерь напора по длине при равномерном движении жидкости Раздел: Рефераты по физике Тип: лабораторная работа |
| Лабораторная работа№ 2 Изучение потерь напора по длине при равномерном движении жидкости 2.1. Цель работы Данная работа заключается в экспериментальном определении потери напора по длине при установившемся движении воды в круглоцилиндрической трубе и практического использования основного уравнения гидродинамики – уравнения Даниила Бернулли. Проведение опытов по данной теме знакомит с методикой экспериментального определения коэффициента гидравлического трения λ (коэффициента Дарси), и позволяет рассмотреть влияние скорости движения жидкости на потерю напора по длине. Кроме того, эти опыты способствуют приобретению навыков экспериментального измерения расхода и гидродинамических давлений Рис. 1. Схема опытной установки для определения потерь напора по длине 2.2 Исходные данные - материал трубы – сталь; - внутренний диаметр опытного трубопровода в = 21 мм; - средняя высота выступов шероховатости стенок трубы Δ = …, мм; - площадь поперечного сечения опытного трубопровода S =0.000346, м2 ; - длины участков опытного трубопровода ℓ1 = 1,61 м и ℓ2 = 1,42 м; - температура воды t =19, о С (по термометру Т) - для первого опыта t=18, о С (по термометру Т) - для второго и третьего опытов - коэффициент кинематической вязкости ν =0,0103*10-4 , м2 /с - для первого опыта ν=0,0106*10-4 , м2 /с – для второго и третьего опытов
2.4 Выводы
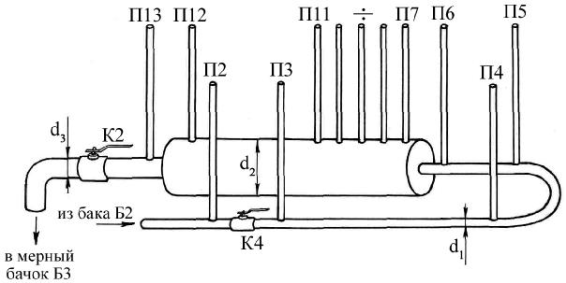
Лабораторная работа№3 Определение коэффициентов местных сопротивлений 3.1. Цель работы В данной лабораторной работе экспериментально изучается один из видов потерь энергии жидкости при ее движении – потери напора на местные сопротивления. В качестве местных сопротивлений выбраны наиболее часто встречающиеся в повседневной жизни местные гидравлические сопротивления: - кран шаровой; - поворот трубы; - внезапное расширение – сужение потока (внезапное изменение площади поперечного сечения трубопровода). Проведение опытов, связанных с данной темой, дает возможность ознакомится с методикой экспериментального определение коэффициентов местных сопротивлений. В задачу данной работы входит также сравнение опытных и теоретиче- ских значений коэффициентов местных сопротивлений.
Рис. 1. Схема опытного трубопровода для определения местных потерь напора 3.2 Исходные данные - внутренний диаметр опытного трубопровода d1 = 21 мм, d2 =70 мм, d3 =31 мм - температура воды t =18, о С (по термометру Т); - коэффициент кинематической вязкости ν =0,0106*10-4 , м2/с
3.4 Выводы |
