Реферат: Расчет насадочного абсорбера 2
|
Название: Расчет насадочного абсорбера 2 Раздел: Рефераты по химии Тип: реферат | ||||||||||||||||||||||||||||||||||||||
Содержание Задание Введение Технологический расчет Определение массы поглощаемого вещества и расхода поглотителя Расчет движущей силы процесса Расчет скорости газа и диаметра абсорбера Расчет коэффициентов массоотдачи и коэффициента массопередачи Расчет поверхности массопередачи и высоты абсорбера Гидравлический расчет Конструктивный расчет Расчет диаметра входных и выходных патрубков для подачи и отвода газа и жидкости Механический расчет 5.1. Расчет толщины цилиндрических обечаек 5.2. Расчет толщины эллиптических днищ 5.3 Расчет фланцевого соединения 5.4.Выбор опоры Заключение Список литературы Приложение А Приложение В Абзалетдинов Панков СОДЕРЖАНИЕ Пояснительная записка
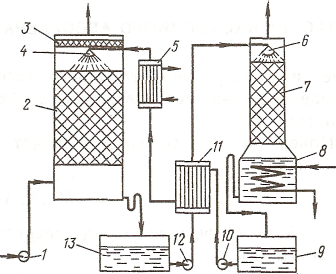
Задание № 22 Исходные данные: Абсорбтив (вещество А) – сероводород. Абсорбент (вещество L) – пропиленкарбонат Абсорбат (вещество G) – природный газ Давление в абсорбере р – 5 МПа. Температура в абсорбере t – 250С. Содержание абсорбтива в исходной газовой смеси уН = 15% объем. Расход исходной газовой смеси (н.у.) V0 = 35 000 м3/ч. Степень поглощения Размер колец Рашига N = 35х35х4 мм. Отношение скорости газа в абсорбере к скорости захлебывания n = 80%. Коэффициент избытка поглотителя r = 1,8. Задание: Определить высоту и диаметр насадочного абсорбера, работающего в пленочном режиме, в который поступает V0 газовой смеси, содержащей уН вещества А в инертном носителе G. Степень поглощения Введение Области применения абсорбционных процессов в промышленности весьма обширны: получение готового продукта путем поглощения газа жидкостью; разделение газовых смесей на составляющие их компоненты; очистка газов от вредных примесей; улавливание ценных компонентов из газовых выбросов. Абсорбцией называют процесс поглощения газов и паров из газовых или парогазовых смесей жидкими поглотителями (абсорбентами). В абсорбционных процессах участвуют две фазы – жидкая и газовая и происходит переход вещества из газовой фазы в жидкую. Жидкая фаза состоит из поглотителя и абсорбированного компонента. Во многих случаях поглотитель представляет собой раствор активного компонента, вступающего в химическую реакцию с абсорбируемым компонентом; при этом вещество, в котором растворен активный компонент, называют растворителем. Инертный газ и поглотитель являются носителями компонента соответственно в газовой и жидкой фазах. Современные абсорбционные аппараты можно классифицировать в зависимости от технологического назначения, давления и вида внутреннего устройства, обеспечивающего контакт пара и жидкости. В зависимости от применяемого давления аппараты подразделяются на вакуумные, атмосферные и работающие под давлением. В зависимости от внутреннего устройства: поверхностные и пленочные; насадочные; барботажные (тарельчатые); распыливающие. В пленочныхабсорберах поверхностью соприкосновения фаз является зеркало неподвижной или медленно движущейся жидкости, или же поверхность текущей жидкой пленки. Поверхностныеабсорберы используют для поглощения хорошо растворимых газов. В этих аппаратах газ проходит над поверхностью неподвижной или медленно движущейся жидкости. Так как поверхность соприкосновения в таких абсорберах мала, то устанавливают несколько последовательно соединенных аппаратов, в которых газ и жидкость движутся противотоком друг к другу. Для того чтобы жидкость перемещалась по абсорберам самотеком, каждый последующий по ходу жидкости аппарат располагают несколько ниже предыдущего. Для отвода тепла, выделяющегося при абсорбции, в аппаратах устанавливают змеевики, охлаждаемые водой или другим охлаждающим агентом, либо помещают абсорберы в сосуды с проточной водой. Пленочные абсорберы более эффективны и компактны, чем поверхностные абсорберы. В пленочных абсорберах поверхностью контакта фаз является поверхность текущей пленки жидкости. Различают следующие разновидности аппаратов данного типа: трубчатые абсорберы; абсорберы с плоско – параллельной или листовой насадкой; абсорберы с восходящим движением пленки жидкости. Трубчатый абсорбер сходен по устройству с вертикальным кожухотрубчатым теплообменником. Абсорбент поступает на верхнюю трубную решетку, распределяется по трубам и стекает по их внутренней поверхности в виде тонкой пленки. В аппаратах с большим числом труб для более равномерной подачи и распределения жидкости по трубам используют специальные распределительные устройства. Газ движется по трубам сверху вниз навстречу стекающей жидкой пленке. Для отвода тепла абсорбции по межтрубному пространству пропускают воду или другой охлаждающий агент. Насадочные абсорберы представляют собой колонны, загруженные насадкой из тел различной формы (кольца, кусковой материал, деревянные решетки). Соприкосновение газа с жидкостью происходит в основном на смоченной поверхности насадки, по которой стекает орошающая жидкость. Поверхность насадки в единице объема аппарата может быть довольно большой и поэтому в сравнительно небольших объемах можно создать значительные поверхности массопередачи. Насадочный абсорбер состоит из колонны, в которой помещены поддерживающие решетки, на которые уложены слои насадки. Орошающая жидкость подается на насадку при помощи распределительного устройства. Иногда насадку укладывают несколькими слоями, устанавливая под каждым слоем отдельные поддерживающие решетки. Движение газа и жидкости в насадочных абсорберах обычно осуществляется противотоком. Рис. 1 Насадочный абсорбер 1-насадка; 2-опорная решетка; 3-разбрызгиватель; 4- перераспределительная жидкость Недостаток насадочных абсорберов - трудность отвода тепла в процессе абсорбции. Обычно применяют циркуляционный отвод тепла, используя выносные холодильники. Виды насадок Насадки, представляю собой твердые тела различной формы, которые загружают в корпус колонны внавал или укладывают определенным образом. Развитая поверхность насадок создает эффективную поверхность контакта пара и жидкости. Насадки должны обладать большой удельной поверхностью (поверхностью на единицу объема) и большим свободным объемом. Кроме того насадка должна оказывать малое сопротивление газовому потоку, хорошо распределять жидкость и обладать коррозионной стойкостью в соответствующих средах. Для уменьшения давления на поддерживающее устройство и стенки насадка должна иметь малый объемный вес. Рис.2 Типы насадок: а — кольца Рашига; б — кольца с перегородками; в — спиральные кольца; г — шары; д — пропеллерная насадка; е — седлообразная насадка; ж — хордовая насадка Применяемые в абсорберах насадки можно подразделить на два типа: регулярные (правильно уложенные) и беспорядочные (засыпаемые внавал) насадки. К регулярным относятся хордовая, кольцевая (при правильной укладке) и блочная насадки. К беспорядочным относятся кольцевая (при загрузке внавал), седлообразная и кусковая насадки. Кольцевая насадка- насадочные тела, представляющие собой цилиндрические тонкостенные кольца, наружный диаметр которых обычно равен высоте кольца. Насадочные кольца изготавливают чаще всего из керамики или фарфора. Применяют также тонкостенные металлические кольца из стали или других металлов. Кольца Рашига представляют собой простые кольца без дополнительных устройств. Эти кольца наиболее дешевы и просты в изготовлении; они хорошо зарекомендовали себя на практике и являются самым употребительным видом насадок. Для увеличения поверхности применяются кольца с перегородкой (кольца Лессинга), кольца с крестообразной перегородкой и спиральные кольца, имеющие внутри одну, две или три спирали. При регулярной укладке кольца с крестообразной перегородкой и спиральные применяют размером 75 мм и более. В ФРГ предложены кольца с прободенными стенками (Палля). Эти кольца предназначены в основном для засыпки внавал и обладают меньшим гидравлическим сопротивлением и несколько большей эффективностью по сравнению с кольцами Рашига. Но указанные преимущества нельзя считать весьма существенными, если учесть большую стоимость и сложность изготовления колец Палля. Изготавливают эти кольца из стали и пластических масс. Схема абсорбционной установки На рисунке 3 дана схема абсорбционной установки. Газ на абсорбцию подается газодувкой в нижнюю часть колонны 2, где равномерно распределяется перед поступлением на контактный элемент (насадку). Абсорбент из промежуточной емкости 9 насосом 10 подается в верхнюю часть колонны и равномерно распределяется по поперечному сечению абсорбера с помощью оросителя 4. В колонне осуществляется противоточное взаимодействие газа и жидкости. Газ после абсорбции, пройдя брызгоотбойник 3, выходит из колонны. Абсорбент стекает через гидрозатвор в промежуточную емкость 13, откуда насосом 12 направляется на регенерацию в десорбер 7 после предварительного подогрева в теплообменнике-рекуператоре 14. Исчерпывание поглощенного компонента из абсорбента производится в кубе 8, обогреваемом, как правило, насыщенным водяным паром. Перед подачей на орошение колонны абсорбент, пройдя теплообменник-рекуператор 14, дополнительно охлаждается в холодильнике 5. Рис.3 Принципиальная схема абсорбционной установки: 1 — вентилятор (газодувка); 2 — абсорбер; 3 — брызгоотбойник; 4, 6 — оросители; 5 — холодильник; 7—десорбер; 8—куб абсорбера; 9, 13 — емкости для абсорбента; 10, 12 — насосы; 14 —теплообменник-рекуператор 1. Технологический расчет Геометрические размеры колонного массообменного аппарата определяются в основном поверхностью массопередачи, необходимой для проведения данного процесса, и скоростями фаз. Поверхность массопередачи может быть найдена из основного уравнения массопередачи: где M– количество вещества, переходящее из газовой смеси в жидкую фазу в единицу времени, или нагрузка аппарата, кг/с; Рис.4 Схема материального баланса
1.1 Определение массы поглощаемого вещества и расхода поглотителя Обозначим: А- абсорбтив (сероводород), В – инертный газ (природный газ), С – абсорбент (пропиленкарбонат). Массу абсорбтива (сероводорода), переходящего из газовой смеси в абсорбент, можно найти из уравнения материального баланса: где Рис.5 Равновесная (1) и рабочая (2) линии процесса абсорбции; АС- рабочая линия при Переведем объемные концентрации концентрации где y- мольные (объемные) доли, %; yk = yн (1-Ψ)=16%(1-0,85)=2,4 % объемных Ῡн = 0,16 . 34/(1-0,16) . 18=0,36 кг/кг Ῡк = 0,024 . 34/(1-0,024) . 18=0,046 кг/кг Исходная концентрация сероводорода в пропиленкарбонате Уравнение равновесной линии в относительных массовых концентрациях: где где Рассчитаем E по закону Генри: растворимость газа при заданной температуре пропорциональна его давлению над раствором где х – растворимость, м3/м3. Определим Еср., исходя из справочных данных о растворимости сероводорода в пропиленкарбонате, м3/м3 (объем газа при н.у.) при температуре 250С: Таблица 1
m=2,5/4 = 0,625 m´ = 0,625 . 102,09/19 =3,36 Определим Для этого нужно определить массовый расход инертного газа (природного газа) где Приведем объемный расход воздуха к условиям в абсорбере: где V0 = 90 000 м3/ч = 9,7 м3/с Т0 = 273 К t = 250С V´0 = 25 . (273+25) .0,1/273.4 = 0,7 м3/с Пересчитаем плотность инертного газа (природного газа) на условия в абсорбере: где t - температура в абсорбере , 0С, t = 250С; pr =0,7 . 273 . 4 / (273+25) . 0,1 = 25,65 кг/м3 0,7 . 25,65 = 17,96 кг/с П 17,96 . (0,36 -0,046) = 5,64 кг/с По уравнению равновесной линии определим относительную массовую концентрацию сероводорода в жидкой фазе (пропиленкарбонате): 0,36/3,36 = 0,107 кг/кг Определим 52,7 кг/с Расход абсорбента (пропиленкарбоната) принимаем из условия г 1,6 . 52,7 = 84,32 кг/с Конечную относительную массовую концентрацию откуда конечная концентрация где С 84,32/17,96 = 4,96 1.2 Расчет движущей силы процесса В насадочных абсорберах жидкая и газовая фаза движутся противотоком. Движущую силу процесса определяем по уравнению где Значение 3,36 .0,07 = 0,2352 кг/кг Д 0,36-0,235 = 0,125 кг/кг Д 0,046 – 0,0 = 0,046 кг/кг Средняя движущая сила процесса абсорбции: 0,079/0,999 = 0,079 кг/кг 1.3 Расчет скорости газа и диаметра абсорбера Определим скорость в точке захлебывания или предельную скорость газа в насадочном абсорбере где А,В- коэффициенты, зависящие от типа насадки; В рассматриваемом проекте используются в качестве насадки кольца Рашига (керамические неупорядоченные) с размером а = 90 м2/м3 А=-0,073; В=1,75 (1.107) (W32 . 90 . 25,65 . 2,6570,16 /9,81 . 0,035. 0,793 . 1199) = = - 0,073 – 1,75(84,32/17,96)0,25 . (25,65/1199)0,125 Рабочая скорость газа в насадочном абсорбере: Диаметр абсорбера находим по уравнению объемного расхода где в = 1,66 м Принимаем стандартный диаметр абсорбера 1,6 м 1.4 Расчет коэффициентов массоотдачи и коэффициента массопередачи Коэффициент массопередачи Кy находят по уравнению аддитивности фазовых диффузионных сопротивлений где Для колонн с неупорядоченной насадкой коэффициент массоотдачи где Находим где Определим критерий Рейнольдса: где Приведем 10 . 10-6 . 273 . 4/298 . 0,1 = 0,00037 Па.с 0,32 . 0,035 . 25,65/ 0,79 . 0,00037 = 989,65 Критерий Прандтля определим по формуле : где ρ г- плотность газа, 32, 06 кг/м3; Определим где Определим критерий Прандтля: 36,99 Определим коэффициент массоотдачи в газовой фазе по формуле: Выразим Коэффициент массоотдачи в жидкой фазе где Находим где Определим критерий Рейнольдса: где Плотность орошения найдем по формуле : где Площадь поперечного сечения абсорбера, м2 3,14 . 1,62 / 4 = 2 м2 0,035 м/с 4 . 0,035 . 1199 / 93 . 2,657 . 10-3 = 679,32 Приведенную толщину стекающей пленки жидкости определим по формуле: где g - ускорение свободного падения, 9,81м/с2 Критерий Прандтля определим по формуле: где Коэффициент диффузии где М- молекулярная масса растворителя (пропиленкарбоната); Т- температура процесса абсорбции, К; М = 102,09 г/моль Т=298 К; Определим критерий Прандтля по формуле: Определим критерий массоотдачи в жидкой фазе по формуле: 679,320,75 . 21520,5 = 0,00015 м/с Выразим Найдем коэффициент массопередачи по газовой фазе по формуле : 1/(1/0,032+2,84/0,18) = 0,021 кг/м2 1.5 Расчет поверхности массопередачи и высоты абсорбера Поверхность массопередачи в абсорбере определяется по формуле: где F= 6.64/0.021. 0.079 = 3400 м2 Высоту насадки, требуемую для создания этой поверхности массопередачи, рассчитаем по формуле: где H= 3400/0.785 . 93 . 1.62 . 0.95 = 19 м Во избежание значительных нагрузок, а нижние слои насадки ее укладывают в колонне ярусами, по 20-25 решеток в каждом. Каждый ярус устанавливают на самостоятельные поддерживающие опоры. Расстояние между ярусами хордовой насадки 0,3-0,5 м Определим высоту насадочной части абсорбера: Принимаем число решеток в каждом ярусе 25, расстояние между ярусами 0,3 м 19+0,3(19/25 .0,1 – 1)= 21 м Определим высоту абсорбера по формуле: Расстояние между днищем абсорбера и насадкой определяется необходимостью равномерного распределения газа по поперечному сечению колонны. Обычно это расстояние принимают равным 1-1,5 Расстояние от верха насадки до крышки абсорбера принимаем равным 2 м На = 21 +1,05 . 1,6 + 2,4 = 25 м 3. Гидравлический расчет Величина гидравлического сопротивления колонных аппаратов (ректификационных, абсорбционных, экстракционных) влияет на технологический режим работы аппарата. При расчете колонн определяют гидравлическое сопротивление аппарата, для того чтобы выбрать оптимальные скорости фазовых потоков, обеспечивающих эффективный массообмен. По гидравлическому сопротивлению колонны подбирают вентилятор, компрессор или насос для подачи газов и жидкостей, обеспечивающих скорость движения фаз. Величину где U- плотность орошения, м/с; b - коэффициент. Гидравлическое сопротивление сухой насадки где H - высота насадки, м; Скорость газа в свободном сечении насадки определим из соотношения: где 0 Для беспорядочных кольцевых насадок коэффициент сопротивления насадки можно рассчитать по формуле: - при ламинарном режиме ( - при турбулентном режиме ( Так как в нашем случае 16/679,650,2 = 4,35 Тогда сопротивление сухой насадки: 4,666. 19 . 25,65 . 0,41/0,035 . 2 = 5460,79 Па Коэффициент b=178 (для колец Рашига) (1.108) U=0,032 м/с 4. Конструктивный расчет 4.1 Расчет диаметра входных и выходных патрубков для подачи и отвода газа и жидкости Подсоединение трубопроводов к сосудам и аппаратам осуществляется с помощью вводных труб или штуцеров. Штуцерные соединения могут быть разъемными (резьбовыми, фланцевыми, сальниковыми) и неразъемными (сварными, паяными, клеевыми). Наиболее распространены разъемные соединения с помощью фланцевых штуцеров. Стальные фланцевые штуцера представляют собой короткие куски труб с приваренными к ним фланцами либо с фланцами, удерживающимися на отбортовке, либо с фланцами, откованными за одно со штуцером. В зависимости от толщины стенок патрубки штуцеров могут быть тонкостенными и толстостенными. Типы штуцеров зависят от номинального (условного) давления и температуры среды. Присоединение фланцевых штуцеров к корпусу аппарата, днищу или крышке выполняется с определенным вылетом, который зависит от условного диаметра и условного давления, а также от толщины изоляции аппарата, если он таковую имеет. По назначению все фланцевые соединения в химическом аппаратостроении подразделяют на фланцы для трубной арматуры и труб (сюда же относятся все фланцы штуцеров и аппаратов) и фланцы для аппаратов (с их помощью осуществляется крепление крышек, днищ и т.д.) Диаметр штуцеров рассчитываем по формуле где W - скорость подачи газа или жидкости Диаметр штуцера для ввода и вывода газовой фазы примем W = 15 м/с. Примем стандартный диаметр 200 мм и соответствующие размеры (6.659) сведем в таблицу 2 Таблица 2
Диаметр штуцера для ввода вывода жидкости равен где W- скорость подачи жидкости, примем 2 м/с, Vж – объемный расход жидкости, м3/с. Примем стандартный диаметр фланца 150 мм и соответствующие размеры сведем в таблицу 3 Таблица 3
5. Механический расчет Механический расчет состоит из проверки на прочность отдельных узлов и деталей и сводится к определению номинальных размеров (толщины стенок обечаек, фланцев, днищ и т.д.), которые должны обеспечить им необходимую долговечность. 5.1 Расчет толщины цилиндрических обечаек Расчет толщины цилиндрических обечаек производится по формуле: где Коэффициент прочности сварного шва = 1,0 при контроле шва на длине 100% и = 0,9 при 50% -ном контроле длины шва. Исполнительную толщину стенки выбирают из стандартного ряда толщин труб или листового проката. Фактическая толщина должна быть больше расчетной величины и обеспечивать также необходимую жесткость обечайки. Минимальная толщина цилиндрических обечаек без прибавки на коррозию и эрозию зависит от их диаметра: Таблица 4
Толщину обечайки принимаем равной 25 мм. Допускаемое давление в обечайке определим по формуле: где 5.2. Расчет толщины эллиптических днищ Необходимую толщину эллиптических днищ вычисляют по уравнению: где Максимальный радиус кривизны днища определяется по формуле: где в - внутренний диаметр абсорбера, 1200 мм; H – высота днища, мм H=1200∙0,25=300 мм Толщину эллиптического днища принимаем равным 25 мм. 5.3. Расчет фланцевого соединения Фланцевые соединения применяют для разъемного соединения составных частей корпусов и крышек. На фланцах присоединяют к аппаратам трубы, арматуру Выбираем прокладку из паронита ПОН-1 Dсн=1269 мм D1=1229 мм S=3 мм Фланцы и прокладки, подобранные по стандартам, в расчете не нуждаются. При конструировании аппаратов выполняют проверочный расчёт болтов в соответствии с ОСТ 26-373-82 1 .Определяют нагрузку, действующую на фланцевое соединение от внутреннего давления Р=5 МПа Рассчитывают реакцию прокладки где: Р=5 Мпа давление в аппарате m=2,5 для прокладок из паронита; b0- эффективная ширина прокладок; При b >0,015 м 3.Определяют болтовую нагрузку при сборке. Это значение выбирают наибольшим из трёх: где: q=20Мпа для прокладок из паронита где: na=16 число болтов (3.557) ДляСтали 3 Проверяют прочность болтов при монтаже но условию Условие прочности при монтаже выполняется 5.4. Выбор опоры Расчет ведем по (3. 691) При Использую цилиндрические опоры тип 1 (1.79) Определяем вес аппарата при гидроиспытании: Принимаем Задаются количеством опор. Их должно быть не менее двух, выбираем Z=12. Расчетная нагрузка на один болт Расчетный внутренний диаметр резьбы болтов Принимаем М24 Заключение В данном курсовом проекте был рассмотрен и изучен процесс абсорбции с целью уменьшения концентрации паров сероводорода в инертном газе (метане) с помощью пропиленкарбоната. Основным аппаратом данного процесса является насадочный абсорбер с беспорядочно уложенными керамическими кольцами Рашига, работающий в плёночном режиме, в который поступает В результате расчетов были определены следующие параметры: 1) производительность колонны – 2) диаметр абсорбера – 1200 мм; 3) поверхность массопередачи – 1800 м2; 4) высота насадки – 12 м. Список литературы Основные процессы и аппараты химической технологии: Пособие по курсовому проектированию/Под ред. Ю.И. Дытнерского.– М: Химия, 1983.–272 с. Павлов К.Ф., Романков П.Г., Носков А.А. Примеры и задачи по курсу процессов и аппаратов химической технологии. – Л.:Химия, 1987. - 576 с. Лащинский А.А., Толчинский А.Р. Основы конструирования и расчета химической аппаратуры. – Л.: Машиностроение, 1970. –752 с. Касаткин А.Г. Основные процессы и аппараты химической технологии. – М.: Химия, 1971. – 784 с. Кувшинский А.Г., Соболева А.П. Курсовое проектирование по предмету «Процессы и аппараты химической промышленности»: Учеб. Пособие. – 2-е изд., перераб. и доп. – М.: Высшая школа, 1980. – 223 с. Плановский А.Н., Гуревич Д.А. Аппаратура промышленности полупродуктов и красителей.– М.: ГНТИ ХЛ, 1961. – 504 с. Гороновский И.Т., Назаренко Ю.П., Некряч Е.Ф. Краткий справочник по химии. – Киев: Наукова думка, 1987. – 830 с. Казанская А.С., Скобло В.А. Расчеты химических равновесий. Сборник примеров и задач. – М.: Высшая школа, 1974. – 288 с. Александров И.А. Ректификационные и абсорбционные аппараты: Методы расчета и основы конструирования. – М.: Химия, 1978. – 277 с. Альперт Т.З. Основы проектирования химических установок: Учебное пособие. – М.: Высшая школа, 1082. – 304 с. Лебедев Н.Н. Химия и технология основного органического и нефтехимического синтеза: Учеб. пособие. – М.: Химия, 1971. – 840 с. Расчеты химико-технологических процессов: Учебное пособие/ под общей ред. И.П. Мухленова. – Л.: Химия, 1976. – 304 с.
Задание № 30 Исходные данные: Абсорбтив (вещество А) – сероводород. Абсорбент (вещество L) – пропиленкарбонат Абсорбат (вещество G) – природный газ Давление в абсорбере р – 4 МПа. Температура в абсорбере t – 250С. Содержание абсорбтива в исходной газовой смеси уН = 16% объемных. Расход исходной газовой смеси (н.у.) V0 = 90 000 м3/ч. Степень поглощения = 0,85. Размер колец Рашига N = 50х50х5 мм. Отношение скорости газа в абсорбере к скорости захлебывания n = 80%. Коэффициент избытка поглотителя r = 1,6. Задание: Определить высоту и диаметр насадочного абсорбера, работающего в пленочном режиме, в который поступает V0 газовой смеси, содержащей уН вещества А в инертном носителе G. Степень поглощения . Процесс абсорбции происходит при р и t. Поглотитель L после регенерации вновь подается в абсорбер при концентрации вещества А, соответствующей равновесному составу, причем расход его в r раз превышает минимально необходимый. Абсорбер заполнен керамическими кольцами Рашига (неупорядоченная насадка) размером N. Скорость газа в абсорбере соответствует n % от скорости захлебывания.
Абзалетдинов Панков Задание Казанский государственный технологический университет Кафедра процессов и аппаратов химической технологии Пояснительная записка к курсовому проекту по процессам и аппаратам на тему: Расчет насадочного абсорбера Выполнил студент гр. 4263-21, 5 курса, 6 факультета Абзалетдинов А.К. Руководитель проекта Панков А.О. Проект защищен с оценкой Комиссия Казань 2011
Содержание Задание Введение Технологический расчет Определение массы поглощаемого вещества и расхода поглотителя Расчет движущей силы процесса Расчет скорости газа и диаметра абсорбера Расчет коэффициентов массоотдачи и коэффициента массопередачи Расчет поверхности массопередачи и высоты абсорбера Гидравлический расчет Механический расчет 4.1 Расчет толщины стенок обечаек, эллиптических днищ. Конструктивный расчет Расчет диаметра трубопроводов 5.1. Расчет фланцев Заключение Список литературы Приложение А Приложение В
Абзалетдинов Панков СОДЕРЖАНИЕ Пояснительная записка |

КГТУ гр.4263-21





























Министерство образования Российской Федерации