Контрольная работа: Принципы расчета выпрямителя для электропривода постоянного тока
|
Название: Принципы расчета выпрямителя для электропривода постоянного тока Раздел: Рефераты по физике Тип: контрольная работа | ||||||||||||||||||||||||||||||||||||||||||||
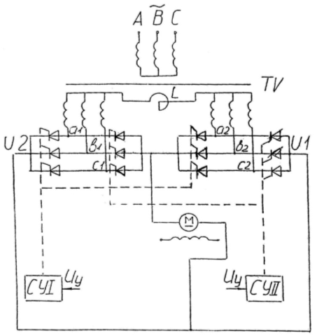
Введение Преобразовательные устройства служат для преобразования переменного напряжения (тока) в постоянное, постоянного напряжения (тока) в переменное, переменное напряжение (тока) одной частоты в переменное напряжение (ток) другой частота. Также они служат для преобразования низкого постоянного напряжения в высокое постоянное напряжение и т. Д. Основными характеристиками преобразовательных устройств является КПД, коэффициент мощности и другие энергетические характеристики. Преимущества полупроводниковых преобразовательных устройств по сравнению с другими преобразователями неоспоримы. Они обладают высокими регулировочными характеристиками и энергетическими показателями, имеют малые габариты и массу, просты и надежны в эксплуатации. Преобразовательная техника является одним из наиболее эффективных направлений электротехники. Широкое внедрение силовых полупроводниковых устройств в различные отрасли промышленности способствует техническому прогрессу. Основными видами преобразователей электрической энергии являются: Выпрямители, преобразующие мощность переменного тока в мощность постоянного тока; Инверторы, преобразующие мощность постоянного тока в мощность переменного; Преобразователи частоты. Выпрямитель – это устройство, предназначенное для преобразования переменного напряжения в постоянное. Основными элементами выпрямителя являются трансформатор и вентили, с помощью которых обеспечивается протекание тока в цепи нагрузки, в результате чего переменное напряжение преобразуется в пульсирующее. В зависимости от числа фаз напряжения питания различают однофазные и трехфазные выпрямители, независимо от мощности все выпрямители подразделяют на однотактные и двухтактные. К однотактным относят выпрямители, в которых по вторичным обмоткам трансформатора ток проходит в одном направлении за период (полупериод или его часть). Отношение частоты пульсаций к частоте сети в однотактных выпрямителях равно числу фаз вторичной обмотки трансформатора. В таких схемах кроме простейшего однополупериодного выпрямителя обязательно имеется вывод нулевой точки трансформатора. Таким образом, однотактные выпрямители – это выпрямители с нулевым выводом. К двухтактным выпрямителям относят выпрямители, в которых в каждой фазе вторичной обмотки трансформатора ток проходит дважды за период в противоположных направлениях. Кратность пульсаций выпрямленного напряжения в подобных схемах в два раза больше числа фаз вторичной обмотки трансформатора. Двухтактные выпрямители называют также мостовыми, в которых ток во вторичной цепи всегда проходит последовательно по двум тиристорам. 1. Описание выпрямителя Анализ технико-экономических показателей выпрямителей показывает, что для тиристорных электроприводов постоянного тока средней и большой мощности трехфазная мостовая схема выпрямителя является наиболее экономичной. Выбираем ее как заданную базовую схему в режиме управляемого выпрямителя, именуемой в дальнейшем полупроводниковой группой (ПГ). Для реверсивных быстродействующих электроприводов используются двухкомплектные выпрямители, отдельные ПГ которых соединяются по следующим типам схем: перекрестная, параллельная и «Н»-схема. Согласно заданию используется «Н»-схема (рис.1.1.)
Рис.1.1. Схема управляемого выпрямителя. При согласованном управлении управляющие импульсы поступают одновременно на обе ПГ, при этом фазировка управляющих импульсов в одной из них соответствует выпрямленному режиму, а в другой - инверторному. Основным недостатком такого способа является наличие уравнительных токов. Для уменьшения которых используют уравнительные реакторы, индуктивность которых зависит от требуемого ограничения величины уравнительного тока, а количество определяется типом реактора и видом силовой схемы выпрямителя. На рисунке 1.2. представлены временные диаграммы токов и напряжений при работе выпрямителя при α=0. В каждый момент времени ток проводит один тиристор катодной группы, у которого напряжение на аноде наиболее положительно, и один анодной группы, у которого напряжение на катоде наиболее отрицательно. Моментами естественного отпирания тиристоров катодной группы являются точки пересечения синусоид ua, ub, uc при положительных напряжениях, для тиристоров анодной группы – точки пересечения синусоид при отрицательных напряжениях. От моментов естественного отпирания отсчитывают углы управления α,которыми регулируется величина выпрямленного напряжения. Среднее значение выходного напряжения выпрямителя находим, интегрируя кривые ud при различных узлах уравнения α, т.е. Ud=Ud0cosα. На той временной диаграмме показан выпрямленный ток id. Также, на рисунке изображенные кривые токов вентилей и обратного напряжения.
2. Выбор трансформатора для питания выпрямителя Выпрямитель содержит трансформатор, который служит для согласования напряжения питающей сети с напряжением на нагрузке выпрямителя и ограничения скорости изменения тока ( Выбор этого трансформатора будет производиться в предположении, что нагрузка на валу электродвигателя не зависит от направления ее вращения. В этом случае каждая ПГ в двухкомплексном ВП будет работать совершенно одинаково, следовательно, расчет можно проводить только для одной ПГ. При определении величины необходимого фазного напряжения на вторичной обмотке трансформатора возникают трудности, связанные с тем, что в начальной стадии проектирования оказывается неизвестными многие падения напряжения на отдельных силовых элементах. В этом случае расчет приходиться вести следующим образом. Сначала ориентировочно задаются возможными падения напряжения в различных элементах схемы выпрямителя и определяют необходимое фазное напряжение на вторичной обмотке U2ф трансформатора, а затем, после того как будут выбраны все элементы схемы, принятая ранее величина U2ф уточняется. Ориентировочная величина U2ф может быть определена из соотношения:
где
αmin – минимальный угол управления выпрямителя , αmin= эл. град.; - ЭДС электродвигателя при его работе в номинальном режиме:
А - коэффициент, характеризующий наклон нагрузочных характеристик выпрямителя или ПГ от влияния коммутаций тиристоров,…
Величина ориентировочно может быть принята равной (0,01÷0,02) Решая (2.1) относительно (2.2)
Величина требуемого фазного напряжения на вторичной стороне трансформатора определяется соотношением:
где: Pd0 – максимальная расчетная мощность на стороне выпрямленного напряжения: Pd0=Ud0Iдн=866·7450=6451700Вт=6452 кВт S1=S2= Действующее значение тока вторичной обмотки равно:
В первичной обмотке:
где К – коэффициент трансформации трансформатора
U1ф – действующее значение фазного напряжения сети при соединении обмоток трансформатора «звезда – звезда»: U1ф= Таким образом, типовая мощность трансформатора: Sт=S1=S2=6,8 МВА По типовой мощности Sт, значение которой округляется до сотен, выбирается стандартный трансформатор. Таблица 2.1. Паспортные данные трансформатора ТДП – 10000/10У2
3. Выбор тиристоров 3.1 Выбор класса тиристоров по напряжению Тиристоры выбираются по напряжению с учетом рекомендуемого рабочего напряжения схемы выпрямителя U2ф, возможного повторяющегося перенапряжения Uн и возможного неповторяющегося (случайного) перенапряжения Uн. Необходимый класс тиристора по напряжению может быть выбран на основании соотношения
где: Кпн, Кнн - коэффициенты, учитывающие повторяющиеся Uп и кратковременные неповторяющиеся перенапряжения Uн на тиристорах; Кпн=1.25; Кнн=1.5 Uкл=1.25·1.5· Класс тиристора Ктир выбирается из условия, что
Ктир=17 Таблица 3.1. Параметры тиристора Т253-1250
3.2 Расчет числа последовательно включенных тиристоров Определим допустимые Uп и Uн тиристора как: Uп=100Ктир=100·17=1700 Uн=111Ктир =111·21=1887 Число последовательно включенных тиристоров по повторяющемуся напряжению находим из выражения:
где: Кпд – коэффициент неравномерного распределения напряжений между последовательно включенными тиристорами, Кпд=1.15; S0 – число, округляющее расчет до целого.
Число последовательно включенных тиристоров по неповторяющемуся напряжению находят из соотношения:
Окончательно принимаем число последовательно включенных тиристоров Sтир=1. 3.3 Расчет числа параллельно включенных тиристоров Число параллельно включенных тиристоров зависит от максимального среднего значения тока, проходящего через вентильное плечо ПГ выпрямителя, вычисляемое по формуле:
Реальный предельный ток для выбрнного типа тиристора рассчитывается по формуле, включающей параметры вольтамперной характеристики, условий охлаждения и формы реального тока: где
Так как , то необходимо применять параллельное включение тиристоров. В этом случае их следует выбирать с таким расчетом, чтобы при выходе из строя одного из параллельно включенных тиристоров, выпрямитель мог завершить работу с последующей заменой поврежденного тиристора. Число параллельно включенных тиристоров рассчитывается по формуле: (3.5) где
Проверяют число параллельно включенных тиристоров по ударному току для наиболее тяжелого режима – внутреннего КЗ, возникающего при пробое тиристора в момент окончания коммутации. При этом не должно происходить выгорание тиристоров, подпитывающих контур КЗ. Для расчета теплового эквивалента тока КЗ можно сделать допущение о наличии быстродействующей «сеточной» защиты, блокирующей управляющие импульсы тиристоров. В этом случае в контуре КЗ протекает единичный импульс тока, амплитуды и тепловой эквивалент которого могут быть рассчитаны. Определяем параметры контура КЗ по данным трансформатора: где
Активное сопротивление обмотки трансформатора может быть найдено исходя из мощности потерь КЗ:
Где
Индуктивная составляющая сопротивления обмотки трансформатора равна:
Тогда базисный ток определяется по формуле: где предельно действующее напряжение на вторичной обмотке трансформатора при максимально допустимом напряжении питающей сети:
Соотношение между базисным током и ударным током КЗ, а также репловым эквивалентом тока КЗ зависит от реактивности контура КЗ:
где ω – круговая частота напряжения питающей сети;
Амплитуда ударного тока КЗ будет определяться из соотношения: где коэффициент, зависящий от соотношения
График 3.1. Зависимость коэффициента Куд от параметра
Таким образом, исходя из графика, Тепловой эквивалент тока КЗ определяется по формуле:
где
График 3.2. Зависимость теплового эквивалента Таким образом, исходя из графика Полученное значение теплового эквивалента не должно превышать защитный показатель принимаемых тиристоров Wтир, т.е.: Wтир≥i2t 3920∙103≥3046∙103 Число параллельно включенных тиристоров по ударному току проверяется из соотношения: (3.7) Увеличение в Окончательное число параллельно включенных тиристоров в плечах выпрямителя принимаем по большему значению, вычисленному по формулам (3.5) и (3.7) , т.е. Nn=20. 3.4 Расчет количества тиристоров в выпрямителе Расчет количества тиристоров в выпрямителе определяется по формуле: NΣ где - количество ПГ в выпрямителе, |
||||||||||||||||||||||||||||||||||||||||||||


=1,24∙(0,00157+0,001461+0,000556)=0,00444788 Ом
получим:
(2.3)
(2.4)



(3.2)



