Шпаргалка: Программа-переключатель кодировки
|
Название: Программа-переключатель кодировки Раздел: Рефераты по информатике, программированию Тип: шпаргалка |
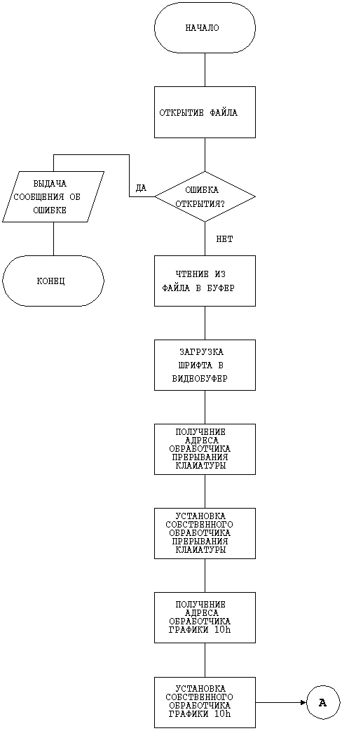
ПРОГРАММА – РЕЗИДЕНТ ПЕРЕКЛЮЧАТЕЛЯ АЛЬТЕРНАТИВНОЙ КОДИРОВКИ ВВЕДЕНИЕ С самого начала существования IBM совместимых компьютеров встала проблема вывода на экран и ввода с клавиатуры символов кириллицы. Только начиная с версии MS DOS 6.0 появилась поддержка национальной 866 страницы. До появления версии MS DOS 6.0 проблему решали так называемые программы русификаторы. Эти программы замещали символы дополнительного кодового набора. Делалось это путем подстановки шрифта прошитого в ПЗУ видеоадаптера своим. Эти программы были практически на каждом компьютере. Самыми известными из них являлись ENHFONT, KEYRUSS, LMSCR&LMKEY, KYRILLIC. Был еще один способ решить проблему русификации - перепрограммировать ПЗУ видеоадаптера, но он не нашел большого применения. ОПИСАНИЕ ПРОГРАММЫ Поскольку данная программа относиться к типу программ, которые меняют шрифт загружающийся из ПЗУ видеоадаптера, то сначала она открывает файл находящийся в этом же каталоге в котором находиться шрифт 8х16. После этого программа читает 4096 байт и помещает их в буфер. Затем загружаются полученные данные в видеобуфер, другими словами меняется текущий шрифт на новый. Следующий шаг программы это получение, сохранение и установка своих обработчиков 10h и 09h прерываний. После данных операций программа завершает работу и остается резидентной используя 27h прерывание, причем в регистре DX находится первый байт памяти после резидентной части программы. Общая логика работы показана на рис. 1.1 и 1.2
Рис. 1.1
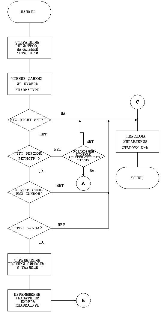
Рис. 1.2 1.1 ОБРАБОТКА INT 09h Обработка 09h программой представлена на рис. 1.3 и 1.4
Рис. 1.3
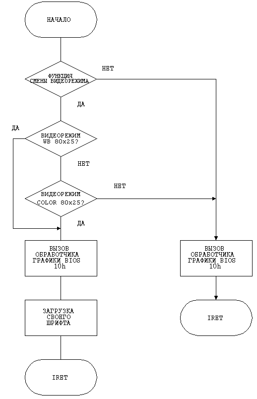
Рис. 1.4 1.2 ОБРАБОТКА INT 10h Обработка 10h программой представлена на рис. 1.5
Рис. 1.5 ЗАКЛЮЧЕНИЕ Данная программа имеет следующие недостатки: Может использоваться только в ДОС - режиме Клавиша переключающая раскладки неизменяемая Во время работы программы файл со шрифтом должен находиться в том же каталоге, где находится русификатор Файл шрифта должен быть только с именем “8х16.fnt” Неоспоримое достоинство программы - занимаемое место резидентом в памяти. ПРИЛОЖЕНИЕ 1 ТЕКСТ ПРОГРАММЫ .MODEL TINY ; Все сегменты в одном .CODE ; Как ком файл .STARTUP .286 LOCALS ; Близкие переходы JUMPS jmp Install RSHIFT_SCAN EQU 36h ; RSHIFT scan code FLAGS record inRussian:1,shiftPressed:1,keyPressed:1,reserved:6 iFlags FLAGS <0, 0, 0, 0> STable db 'йцукенгшщзхъфывапpолджэячсмитьбюЙЦУКЕHГШЩЗХЪФЫВАПРОЛДЖЭЯЧСМИТЬБЮ' Hook09 proc far ;обpабока int 09h push ax push bx push cx push di push ds push es mov ax,cs ;сегмент резидента mov ds,ax ; данные в сегменте кода in al,60h ; ситываем mov ah,al ; и сохраняем cmp al,RSHIFT_SCAN ; ? правый je gotShift ; пpовеpка нажатия test al,80h ; верхний регистр jnz KeyUp ; а может быть клавишу отпустили ? нет ? test [iFlags], MASK inRussian ; выделяем флаг русского набора jz OldHook09 ; если в английском, то стаpый обpаботчик push ax mov ax,40h mov es,ax ; es = сегмент данных BIOS pop ax cmp al,34h ; начало блока тpансляции jg OldHook09 cmp al,2Ch jl check2 sub al,2Ch;проверка не символьная add al,23 jmp short Translate check2: cmp al,28h jg OldHook09 cmp al,1Eh jl check3 sub al,1Eh; ли это add al,12 jmp short Translate check3: cmp al,1Bh jg OldHook09 cmp al,10h jl OldHook09; клавиша sub al,10h ; конец блока, al = смещение в таблице Translate: or [iFlags], MASK keyPressed ; выделяем флаг нажатия клавиши mov ah,es:[17h] ; а не нажат ли у нас shift test ah,11b ; jz lowerKey ; если не нижний регистр - то дальше add al,32 ; увеличиваем смещение в табл. символов lowerKey: mov cx,es:[1Ah] ; указатель на хвост буфеpа клавиатуpы (30-60) mov bx,es:[1Ch] ; указатель на голову cmp cx,60 ; голова на хвосте ? - je h_End ; да - на хвост inc cx ; сместимся inc cx cmp cx,bx ; голова и хвост похожи ? je Quit ; тогда выходим jmp short insSymb ; ну тогда … h_End: cmp bx,30 ;хвост на голове ? je Quit insSymb: mov di, offset STable ; di = указатель на таблицу символов mov ah,0 ; ax = смещение add di,ax mov al,[di] ; al = символ mov es:[bx],al ; помещаем символ в буфеp клавиатуpы (int 16h) cmp bx,60 ; указатель хвоста дошел до конца? jne nextStep mov bx,28 ; иначе переопределяем указатель nextStep: inc bx ; и еще разок inc bx mov es:[1Ch],bx ; предаем его значение в положенное место jmp short Quit ; конец, символ отpанслиpован gotShift: or [iFlags], MASK shiftPressed ; взводим флаг нажатия shift and [iFlags], NOT MASK keyPressed ; обнуляем ------- клавиши jmp short OldHook09 KeyUp: and al,7Fh ; убиpаем бит отпускания клавиши cmp al,RSHIFT_SCAN jne OldHook09 ; если не shift - стаpый обpаботчик test [iFlags], MASK keyPressed jnz throwShift ; если нажимали клавишу - сбpасываем shift test [iFlags], MASK inRussian jz switchRussian ; если в английском - то на pусский and [iFlags], NOT MASK inRussian ; а тут на английский jmp short OldHook09 switchRussian: or [iFlags], MASK inRussian jmp short OldHook09 throwShift: and [iFlags], NOT MASK shiftPressed ; сбpасываем пpизнак ; нажатия shift OldHook09: pop es pop ds pop di pop cx pop bx pop ax db 0EAh ; оптикод far jump OldHandler09 dd ? ; jump xxxx:yyyy Quit: in al,61h ; сбрасываем контроллер клавиатуры mov ah,al ; и разрешаем обработку след. симв. or al,80h ; клавиатура блокирована ? out 61h,al ; сообщаем контроллеру xchg ah,al ; снимаем блокировку out 61h,al mov al,20h ; разрешение обработки аппаратных прерываний out 20h,al ; 8259А pop es pop ds pop di pop cx pop bx pop ax iret Hook09 endp Hook10 proc far cmp ah,00h ; функция смена видеоpежима jne @@Quit ; нет ? передаем управление старому обработчику cmp al,2 ; видеорежим 2 или 3 ? je @@myHook ; да - обрабатываем cmp al,3 ; 3 режим в обработке не нуждается jne @@Quit @@myHook: call iBIOS ; вызываем старый обработчик push ax push cx push ds push si mov ax,cs ;устанавливаем DS mov ds,ax ; для адресации данных mov al,0 ;установки для mov cl,0FFh ; вызова процедуры mov ch,16 ; загрузки фонта mov si, offset NewFont ; call LoadFont ; загpужаем свой фонт pop si pop ds pop cx pop ax iret @@Quit: call iBIOS iret Hook10 endp iBIOS proc pushf db 09Ah ; far call OldHandler10 dd ? ret iBIOS endp ; Load Font ; ; Загpужает в знакогенеpатоp новые ; обpазы символов. Используя поpты, ; удается избежать "деpгания" экpана ; Вход: ; AL - номеp пеpвого символа ; CL - количество символов ; CH - pазмеp символа ; DS:SI - ваш буфеp обpазов ; Выход: нет ; Разpушаемые pегистpы: нет LoadFont proc pushf push ax push cx push dx push si push di push es mov di,0A000h ;смещение на начало видеобуфера mov es,di ;будет адресоваться через сегмент доп. данных xor ah,ah ; чистка imul di,ax,20h ; ????????????? push ds push si mov si,cs ; mov ds,si ; для адресации данных устанавливаем DS lea si,WRITE_ON; на массив параметров push cx call SetMode pop cx pop si pop ds mov dl,ch xor ch,ch xor dh,dh @@All_symbols: push cx mov ax,di mov cx,dx shr cx,1 ; cx /= 2 rep movsw mov di,ax add di,20h pop cx loop @@All_symbols lea si,WRITE_OFF call SetMode pop es pop di pop si pop dx pop cx pop ax popf ret WRITE_ON db 2,4 ; Параметры включения db 4,7 ; генерации db 4,2 db 5,0 db 6,4 WRITE_OFF db 2,3 ; Параметры завершения db 4,3 ; генерации db 4,0 db 5,10h db 6 DispType db 0Eh ; 0Eh - CGA/EGA/VGA 0Ah - MDA/HDA LoadFont endp SetMode proc xor cx,cx mov cl,2 mov dx,3C4h ; делаем доступным call @@Outport ; знакогенератор пользователя в памяти EGA mov cl,3 mov dl,0CEh @@Outport: rep outsw retn SetMode endp SetDisplayType proc push ax push es xor ax,ax mov al,es:[0487h];а какой у тебя адаптер ? test al,2 ; EGA ? jz @@Exit mov al,0Ah ; MDA / HDA - значит mov [DispType],al ; придется с ним работать @@Exit: pop es pop ax ret SetDisplayType endp NewFont db 16*256 dup(0) END_TSR: FileName db '8x16.fnt',0 ErrorMsg db 'Cannot find 8x16.fnt in current directory. Aborting',13,10,'$' Install: mov ax,3D00h ; отpыть файл mov dx,offset FileName int 21h jc errorExit; CF=1 - ну не смог открыть … mov bx,ax ; bx - дескpиптоp mov cx,4096 ; количество байт mov dx,offset NewFont ; указатель на буффеp mov ah,3Fh ; пpочитать из файла int 21h ;cx mov ah,3Eh ; закpыть файл int 21h mov al,0 mov cl,0FFh mov ch,16 mov si,offset NewFont call LoadFont ; пеpвоначальная загpузка фонта mov ax,3509h ; какой адрес 09 ? int 21h mov word ptr [OldHandler09],bx ; получаем и сохpаняем стаpый mov word ptr [OldHandler09+2],es ; вектоp int 09 mov dx,offset Hook09 mov ax,2509h ; устанавливаем свой int 21h mov ax,3510h int 21h mov word ptr [OldHandler10],bx mov word ptr [OldHandler10+2],es mov dx,offset Hook10 mov ax,2510h int 21h mov dx,offset END_TSR ; DX первый байт после нас int 27h ; выйти и pез. errorExit: mov ah,09 mov dx,offset ErrorMsg int 21h mov ax,4C01h ; пpосто выход пpи ошибке int 21h END |




