Курсовая работа: Тепловой расчет и эксергетический анализ парогенераторов
|
Название: Тепловой расчет и эксергетический анализ парогенераторов Раздел: Рефераты по физике Тип: курсовая работа | |||||||||||||||||||||||||||||||||||||||||||||||||||||||||||||||||||||||||||||||||||||||||||||||||||||||||||||||||||||||||||||||||||||||||||||||||||||||||||||||||||||||||||||||||||||||||||||||||||||||||||||||||||||||||||||||||||||||||||||||||||||||||||||||||||||||||||||||||||||||||||||||||||||||||||||||||||||||||||||||||||||||||||||||||||||||||||||||||||||||||||||||||||||||||||||||||||||||||||||||||||||||||||||||||||||||||||||||||||||||||||||||||||||||||||||||||||||||||||||||||||||||||||||||||||||||||||||||||||||||||||||||||||||||||||||||||||||||||||||||||||||||||||||||||||||||||||||||||||||||||||||||||||||||||||||||||||||||||||||||||||||||||||||||||
Содержание Введение 1. Исходные данные 2. Принципиальная схема котельного агрегата 3. Теплотехнический расчет котельного агрегата 3.1 Расчет процесса горения топлива в топке котла 3.2 Расчет процесса горения и ht – диаграмма продуктов сгорания топлива 3.3 Тепловой баланс котельного агрегата 3.4 Упрощенный эксергетический баланс котельного агрегата 4. Тепловой расчет котла – утилизатора 4.1 Выбор типа котла – утилизатора 4.2 Расчет поверхности теплообмена котла – утилизатора 4.3 Термодинамическая эффективность работы котла – утилизатора 4.4 Графическая зависимость по исследовательской задаче 4.5 Термодинамическая эффективность совместной работы котельного агрегата с котлом – утилизатором 5. Схема котла – утилизатора 6. Схема экономайзера 7. Схема воздухоподогревателя 8. Схема горелки Заключение Литература Введение Наука, изучающая процессы получения и использования теплоты в различных производствах, а также машин и аппаратов, предназначенных для этих целей, называется теплотехникой. В настоящее время роль теплотехники значительно возросла в связи с необходимостью экономного использования топливно – энергетических ресурсов, решения проблем охраны окружающей среды и создания безотходных технологий. Принятый Федеральный закон “Об энергосбережении” (№ 28 – ФЗ от 03.04.1996 г.) предусматривает комплекс мер, в том числе по подготовке кадров, направленных на координальное изменение ситуации в области энергоиспользования. В реализации этого закона большая роль отводится специалистам любого технического профиля, чем и объясняется особая актуальность теплотехнической подготовки соответствующих инженерных кадров, в том числе и технологических специальностей. Оценка потенциала энергосбережения свидетельствует о возможностях российской экономики к 2010 г. сократить потребность в энергоресурсах в результате роста эффективности их использования в размере 350…360 млн.т условного топлива при ожидаемом энергопотреблении на уровне 1050 млн. т у.т.. Нефтеперерабатывающая, нефтехимическая и химическая промышленности являются наиболее энергоемкими отраслями народного хозяйства. В себестоимости производства отдельных видов продукции в этих отраслях промышленности на долю энергетических затрат приходится от 10 до 60 %, например, на переработку 1 т нефти затрачивается 165 – 180 кг условного топлива. Энергетическое хозяйство НПЗ и НХЗ включает собственно энергетические установки (ТЭЦ, котельные, компрессорные, утилизационные, холодильные, теплонасосные установки и др.), энергетические элементы комбинированных энерго-, химико-технологических систем (ЭХТС), производящих технологическую и энергетическую продукцию. В данной работе на примере котельного агрегата рассматриваются методы расчета процесса сжигания и расхода топлива, КПД, теплового и эксергетического балансов. Экономия топлива при его сжигании является одной из важнейших задач в решении топливно-энергетической проблемы. Вопросы экономии топлива и рационального использования теплоты решаются в курсовой работе применением в схеме установки экономайзера, воздухоподогревателя, котла – утилизатора. 1. Исходные данные
СО 0,10 CH4 98,00 C2H6 0,40 С3Н8 0,20 N2 1,30 Исследовательская задача Используя аналитические выражения построить зависимость влияния температуры окружающего воздуха t0 (t0=0…250 °С с шагом 50 °С) на КПД брутто котельного агрегата. 2. Принципиальная схема котельного агрегата [1]
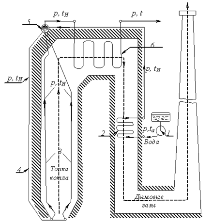
Рисунок 1 – Принципиальная схема котельного агрегата В котельном агрегате вода подается питательным насосом 1 в подогреватель ( водяной экономайзер) 2, где за счет теплоты дымовых газов (показаны пунктиром) подогревается до температуры кипения Таким образом, процесс получения перегретого пара состоит из трех п последовательных стадий: подогрев воды до температуры кипения, парообразования и е перегрева пара до требуемой температуры. Все эти стадии протекают при постоянном давлении. 3. Теплотехнические расчеты котельного агрегата 3.1 Расчет процесса горения топлива в топке котла Коэффициент избытка воздуха за установкой
Теоретическое количество воздуха, необходимого для полного сгорания
Объем трехатомных газов
Теоретический объем азота
Объем избытка воздуха в топочном пространстве
Объем водяных паров
Объемное количество продуктов сгорания, образующихся при сжигании
Плотность топливного газа при нормальных условиях
Массовое количество дымовых газов, образующихся при сжигании газообразного топлива
Определим калориметрическую температуру горения, для чего вычислим энтальпию продуктов сгорания при температуре 1400 и 2000 °С
где Энтальпию продуктов сгорания а. с воздухоподогревателем
где
где
б. без воздухоподогревателя
Зная Построили диаграмму Определяем энтальпию уходящих газов а. с воздухоподогревателем
б. без воздухоподогревателя
Для этого случая определяем приближенное значение температуры уходящих газов
где 1,295 и 1,293 – плотности дымовых газов и воздуха при нормальных условиях;
принимаем
принимаем отсюда
3.2 Расчет процесса горения и Исходные данные содержание компонентов смеси
Q – НИЗШАЯ ТЕПЛОТВОРНАЯ СПОСОБНОСТЬ, кДж/м3 Q = 36700.000 Определяем энтальпию продуктов сгорания
Сумма теплоты сгорания топлива и физической теплоты подогретого воздуха
Расчет теплового баланса производится по уравнению
где
Разделив обе части уравнения (3.1) на
в котором величина
численно равна КПД котельного агрегата. При сжигании газообразного топлива принимаем
Зная коэффициент αТ=1,20, выбираем горелку. Нам подходит камерная топка для сжигания жидких и газообразных топлив, с потерей теплоты от химической неполноты сгорания q3=2.8%. По паропроизводительности котельного агрегата, которая равна D=21 т/ч, можно определить потери тепла на наружное охлаждение q5=1,28%.
Потери теплоты с уходящими газами определяем для двух случаев [1] а. с воздухоподогревателем
б. без воздухоподогревателя
где КПД брутто котельного агрегата а. с воздухоподогревателем
б. без воздухоподогревателя
Часовой расход натурального топлива а. с воздухоподогревателем
где в – паропроизводительность котельного агрегата, кг/ч;
б. без воздухоподогревателя [1]
Часовой расход условного топлива а. с воздухоподогревателем
б. без воздухоподогревателя
Диаграмма тепловых потоков
Рисунок 4 - Диаграмма тепловых потоков (кДж/м3) котельного агрегата 3.4 Упрощенный эксергетический баланс котельного агрегата Эксергия топлива с достаточной для приближенных практических расчетов точностью может быть принята равной низшей теплоте сгорания топлива
Эксергия теплоты продуктов сгорания топлива, образующихся в топке котла а. с воздухоподогревателем
где
б. без воздухоподогревателя
Потери при адиабатном горении (без учета потери эксергии за счет теплообмена топки с окружающей средой) а. с воздухоподогревателем
б. без воздухоподогревателя
или в % а. с воздухоподогревателем
б. без воздухоподогревателя
Определяем уменьшение эксергия продуктов сгорания за счет [1] теплообмена в нагревательно – испарительной части котла. а. с воздухоподогревателем
б. без воздухоподогревателя
Приращение эксергии в процессе превращения воды в перегретый пар а. с воздухоподогревателем
б. без воздухоподогревателя
или в % а. с воздухоподогревателем
б. без воздухоподогревателя
где Потеря эксергии от теплообмена по водопаровому тракту а. с воздухоподогревателем
б. без воздухоподогревателя
или в % а. с воздухоподогревателем
б. без воздухоподогревателя
Уменьшение эксергии продуктов сгорания за счет теплообмена в воздухоподогревателе
Увеличение эксергии воздуха в воздухоподогревателе
Потеря эксергии за счет теплообмена в воздухоподогревателе
или в %
Составим эксергетический баланс котельного агрегата и определим эксергию уходящих газов а. с воздухоподогревателем
Отсюда
б. без воздухоподогревателя [1]
Отсюда
или в % а. с воздухоподогревателем
б. без воздухоподогревателя
Определим среднетермодинамическую температуру при теплоподводе
Эксергетический КПД котельного агрегата, оценим через среднетермодинамическую температуру при тепловоде а. с воздухоподогревателем
б. без воздухоподогревателя
Диаграмма потоков эксергии котельного агрегата
Рис. 5. Диаграмма Грассмана – Шаргута для эксергетического баланса котельного агрегата 4. Тепловой расчет котла – утилизатора 4.1 Расход газов через котел – утилизатор
где
По расходу газов через котел – утилизатор выбираем по каталогу его тип – КУ-40.
где
Определяем среднюю температуру продуктов сгорания в котле – утилизаторе
Выписываем теплофизические свойства продуктов сгорания при
Вычисляем площадь поперечного (“живого”) сечения дымогарных труб
Определяем скорость газов в дымогарных трубах
Условие выполняется, так как рекомендуемая скорость газов от По скорости газов в дымогарных трубах выбираем котел утилизатор. В данном случае нам подходит 2 котла - утилизатора КУ-40. 4.2 Расчет поверхности теплообмена котла – утилизатора Коэффициент теплоотдачи газов к стенкам дымогарных труб.
где
Коэффициент теплопередачи от газов к воде через дымогарные трубы испарительной части котла – утилизатора
где Теплота, отданная газами в котле – утилизаторе
Выписываем из технической характеристики котла – утилизатора параметры получаемого пара (перегретого), питательной воды и давление в котле утилизаторе где
Из таблиц термодинамических свойств воды и водяного пара определяем параметры пара при
Паропроизводительность котла – утилизатора при 5% потерях теплоты в окружающую среду а. в случае получения перегретого пара
Температура газов на входе в нагревательный участок
Отсюда
где
Температура газов на выходе из участка перегрева
Отсюда
Средний температурный напор а. нагревательного участка
б. испарительного участка
в. участка перегрева [1]
Поверхность нагрева котла – утилизатора а. нагревательного участка
б. испарительного участка
где в. участка перегрева
Общая поверхность нагрева котла – утилизатора
Длина труб
где Строим график изменения температур вдоль поверхности нагрева котла – утилизатора 4.3 Термодинамическая эффективность работы котла – утилизатора Уменьшение эксергии продуктов сгорания в котле – утилизаторе [1]
Приращение эксергии пара, образующегося в котле – утилизаторе а. в случае получения перегретого пара
Потери эксергии в котле – утилизаторе
Эксергетический КПД котла – утилизатора
4.4 Графическая зависимость по исследовательской задаче Используя аналитические выражения построить зависимость влияния температуры окружающего воздуха t0 (t0=0…250 °С с шагом 50 °С) на КПД брутто котельного агрегата. Расчетные формулы:
q3=2.8%.
q5=1,28%
Составим таблицу:
Рисунок 7 - Графическая зависимость по исследовательской задаче 4.5 Термодинамическая оценка эффективности совместной работы котельного агрегата с котлом – утилизатором Составляем эксергетический баланс котельного агрегата без воздухоподогревателя, но с котлом – утилизатором
или в %
При использовании котельного агрегата с воздухоподогревателем, эксергия уходящих газов составляет или 17,86% - меньше, чем при использовании котла – утилизатора, т.е. работа совершаемая уходящими газами в процессе, в первом случае меньше. Таким образом, использование котлов – утилизаторов делает работу котельного – агрегата эффективнее и энергетически совершеннее. 5 Схема котла утилизатора [1]
Рисунок 8- Схема котла – утилизатора Котлы – утилизаторы типа КУ – 40 устанавливают за нагревательными, мартеновскими, обжиговыми печами, а также используют в химических и других отраслях промышленности. Разработаны для установки в закрытом помещении. Рассчитаны на работу под разряжением. Сейсмичность района установки 6 баллов. Котлы – газотурбинные, с естественной циркуляцией, с горизонтальным расположением испарительных поверхностей. Внутренний диаметр барабана котла КУ – 2586 мм, толщина стенки обечайки – 16, днищ – 20 мм. Материал обечайки и днищ - сталь 20К. Барабан имеет внутрибарабанное паросепарационное устройство в виде дырчатого листа и жалюзи. Газ в котле КУ – 40 проходит по 239 дымогарным трубам, диаметр труб 60*3 мм (сталь 20). К барабану котла крепятся входная и выходная газовые камеры. Внутри входной газовой камеры имеется пароперегреватель с горизонтальным расположением змеевиков. Диаметр труб пароперегревателя котла КУ – 40 – 32*3 мм (сталь 20). Обмуровка входной газовой камеры многослойная, состоит из слоев шамотобетона, термоизоляционного бетона и матрацев из шлаковаты. Для очистки поверхностей нагрева дымогарных труб котла предусмотрено обдувное устройство. Котел снабжен необходимой арматурой, гарнитурой, устройством для отбора проб пара и воды, а также контрольно – измерительного приборами. Питание котлов и сигнализация уровня воды в барабане автоматизированы. 6 Схема экономайзера [1]
Рисунок 9 - Схема экономайзера Металлоемкий контактный теплообменник дает возможность не только сократить стоимость утилизационной установки, но и обеспечивает глубокое охлаждение уходящих газов ниже точки росы, которая для сгорания природного газа составляет 50 – 60 оС. При этом используется не только физическое тепло уходящих газов, но и теплота конденсации содержащихся в них водяных паров. Насадкой в контактном экономайзере служат керамические кольца Рашига размером 50*50 мм. Рабочая насадка укладывается высотой 1 м в шахматном порядке. Каплеулавливающая насадка высотой 0,2 м загружается “внавал”. Вода может нагреваться в этих экономайзерах до 50 – 60 оС. Нагретая вода используется для производственных и бытовых нужд. Аналогичные теплообменники можно применять для утилизации тепла уходящих газов некоторых промышленных печей, сушилок, газовых турбин и других тепловых установок, работающих на природном газе. 7 Схема воздухоподогревателя [4] Рисунок 10 - Схема воздухоподогревателя В настоящее время наибольшее распространение получили стальные трубчатые воздухоподогреватели. Их изготавливают из труб диаметром 43..51 мм и толщиной стенок 1,5..2 мм. Трубы располагают вертикально в шахматном порядке и приваривают к двум трубным решеткам, образуя отдельную секцию, называющую кубом воздухоподогревателя. Воздухоподогреватель собирают обычно из нескольких кубов, соединенных между собой перепускными коробами. Дымовые газы движутся внутри труб, воздух, нагнетаемый вентилятором омывает их снаружи в поперечном сечении. 8 Схема горелки [3]
Рисунок 11- Схема горелки Для разделенного сжигания мазута и природного газа под котлами применяют комбинированные горелки типа ГМГм. Газообразное топливо через патрубок 3 попадает в кольцевую камеру 4 газораспределительного устройства, состоящего из газовых насадок с отверстиями, через которые часть газа подается в камеру первичного воздуха 6, а часть поступает в зону вторичного воздуха 5. Воздухонаправляющее устройство первичного воздуха состоит из подводящего трубопровода 9 и лопаточного завихрителя с прямыми лопатками. Зона вторичного воздуха образуется подводящем трубопроводом и лопаточным завихрителем с прямыми лопатками под углом 60 оС. Закрутка первичного и вторичного воздуха производится в одну сторону. Таким образом, в горелках происходит подача газа в массу воздуха мелкими струйками, а также завихрение газовоздушного потока, что обеспечивает качественное и быстрое смешение газа воздуха. Газомазутная горелка снабжена паромеханической форсункой для сжигания мазута, состоящей из корпуса 1, центрального ствола 2 и распыляющей головки 7. Мазут подается по внутренней трубе ствола 2, проходит через распределенную шайбу и поступает в топливный завихритель. Пар подается по наружной трубе 10 и попадает в паровой завихритель в зоне головки форсунки 7. Таким образом достигается паромеханическое распыление топлива. Образовавшаяся взвесь смешивается с необходимым количеством воздуха, после чего поступает в топку, где и сгорает. Заключение В данной работе произведен расчет котельного агрегата и котла – утилизатора, применяемых в химической нефтяной промышленности. Эти установки отличаются высокой эффективностью процесса сжигания и расхода топлива. Приведены диаграммы тепловых потоков и диаграмма Грассмана – Шаргута для эксергетического баланса котельного аппарата, график изменения температур вдоль поверхности нагрева котла – утилизатора. Также приведен расчет процесса горения на ЭВМ и ht – диаграмма продуктов сгорания топлива. Исследована зависимость влияния температуры подогрева воздуха в воздухоподогревателе на калориметрическую температуру горения топлива и построена графическая зависимость. Проведен тепловой расчет котла – утилизатора и подобран котел – утилизатор типа КУ – 40. Сегодня экономические факторы заставляют резко увеличить степень использования добывания топлива. Выгоднее вкладывать средства на увеличение добычи топлива, чтобы продолжать расходовать его с низкой эффективностью, а в разработку технологических процессов, обеспечивающих более экономное его использование. Список использованной литературы 1. Латыпов Р.Ш. Шарафиев Р.Г. Техническая термодинамика и энерготехнология химических производств: Учебник для вузов. – М.: Энергоиздат, 1988. – 344 с. 2. Чечеткин А.В. Занемонец Н.А. Теплотехника. – М.: Высшая школа, 1986. – 264 с. 3. Алабовский А.Н., Константинов С.М., Недужий И.Н. Теплотехника. – Киев: Высшая школа. 1986. – 256 с. 4. Ривкин С.Л., Александров А.А. Термодинамические свойства воды и водяного пара: Справочник. – М.: Энероиздат, 1984. – 80 с. 5. Роддатис К.Ф., Соколовский Я.Б. Справочник по котельным установкам малой производительности. – М.: Энергия, 1975. – 240 с. 6. Теплотехнический справочник. – М.: Энергия, 1975, 1976. |

,
кг/м3.
,
м3/ч.
,
м3/ч.
,
,
,
,
,
,
,
,
,
,
°С.
,
°С.
,
°С.
,
,
,
,
,

