|
Введение.
Классификация и система условных обозначений конденсаторов. Конденсатор - это элемент электрической цепи, состоящий из проводящих электродов(обкладок), разделённых диэлектриком и предназначенный для использования его ёмкости. Ёмкость конденсатора - есть отношение заряда конденсатора к разности потенциалов, которую заряд сообщает конденсатору. В качестве диэлектрика в конденсаторах используются органические и неорганические материалы, в том числе оксидные плёнки некоторых металлов. При приложении к конденсатору постоянного напряжения происходит его заряд; при этом затрачивается определённая работа, выражаемая в джоулях. Классификация конденсаторов. В зависимости от назначения конденсаторы разделяются на две большие группы: общего и специального назначения. Группа общего назначения включает в себя широко применяемые конденсаторы, используемые в большинстве видов и классов аппаратуры. Традиционно к ней относят наиболее распространённые низковольтные конденсаторы, к которым не предъявляются особые требования. Все остальные конденсаторы являются специальными. К ним относятся: высоковольтные, импульсные, помехоподавляющие, дозиметрические, пусковые и др. В зависимости от способа монтажа конденсаторы могут выполняться для печатного и навесного монтажа, а также в составе микромодулей и микросхем или для сопряжения с ними. Выводы конденсаторов для навесного монтажа могут быть жёсткие или мягкие, аксиальные или радиальные из проволоки круглого сечения или ленты, в виде лепестков, с кабельным вводом, в виде проходных шпилек, опорных винтов и т. п.
По характеру защиты от внешних воздействий конденсаторы выполняются: незащищёнными, защищёнными, неизолированными, изолированными, уплотнёнными и герметизированными. Незащищённые конденсаторы допускают эксплуатацию в условиях повышенной влажности только в составе герметизированной аппаратуры. Защищённые конденсаторы допускают эксплуатацию в аппаратуре любого конструктивного исполнения. Неизолированные конденсаторы (с покрытием или без него) не допускают касаний своим корпусом шасси аппаратуры. Изолированные конденсаторы имеют достаточно хорошее изоляционное покрытие и допускают касания корпусом шасси аппаратуры. Уплотнённые конденсаторы имеют уплотнённую органическими материалами конструкцию корпуса. Герметизированные конденсаторы имеют герметичную конструкцию корпуса, который исключает возможность сообщения окружающей среды с его внутренним пространством. Герметизация производится с помощью керамических и металлических корпусов или стеклянных колб.
Технологическая часть.
Все конденсаторы по виду диэлектрика можно разделить на группы: с органическим, неорганическим, газообразным и оксидным диэлектриком. Конденсаторы с органическим диэлектриком. Эти конденсаторы изготовляют намоткой тонких длинных лент конденсаторной бумаги, плёнок или их комбинации с металлизированными или фольговыми электродами. По назначению конденсаторы можно разделить на : низкочастотные и высокочастотные. К низкочастотным плёночным относятся конденсаторы на основе полярных и слабополярных плёнок (бумажные, металлобумажные, полиэтилентерефталатные, комбинированные, лакоплёночные, поликарбонатные и полипропиленовые). Они способны работать на частотах до 104-105Гц при существенном снижении амплитуды переменной составляющей напряжения с увеличением частоты. К высокочастотным плёночным относятся конденсаторы на основе неполярных плёнок (полистирольные и фторопластовые). Они допускают работу на частотах до 105-107Гц. Верхний предел по частоте зависит от конструкции обкладок, контактного узла и от ёмкости. К этой группе относят некоторые типы конденсаторов на основе слабополярной полипропиленовой плёнки. Полистирольные Фторопластовые. Высоковольтные конденсаторы можно разделить на высоковольтные постоянного напряжения и импульсные. В качестве диэлектрика высоковольтных конденсаторов постоянного напряжения используют: бумагу, полистирол, политетрафторэтилен, полиэтилентерефталат и сочетание бумаги и синтетических плёнок. Транзисторы высоковольтные, импульсные делают на основе бумажного и комбинированного диэлектриков. Основное требование к высоковольтным конденсаторам - это высокая электрическая прочность изоляции. Импульсные конденсаторы наряду с высокой электрической прочностью и сравнительно большими ёмкостями должны допускать быстрые разряды. Импульсные Дозиметрические конденсаторы работают в цепях с низким уровнем токовых нагрузок, поэтому они должны обладать малым саморазрядом, большим сопротивлением изоляции, а следовательно и большой постоянной времени. Фторопластовые Помехоподавляющие конденсаторы предназначены для ослабления электромагнитных помех в широком диапазоне частот. Они имеют малую индуктивность, в результате чего повышается резонансная и полоса подавляемых частот. Эти конденсаторы делают бумажные, комбинированные и плёночные. 2.1Конденсаторы с неорганическим диэлектриком.
Конденсаторы с неорганическим диэлектриком можно разделить на три группы: низковольтные, высоковольтные и помехоподавляющие. В качестве диэлектрика в них используется керамика, стекло, стекло эмаль, стеклокерамика, слюда. Обкладки выполняются в виде тонкого слоя металла, нанесённого на диэлектрик путём непосредственной его металлизации, или в виде тонкой фольги. Группа низковольтных конденсаторов включает в себя низкочастотные и высокочастотные конденсаторы. По назначению они подразделяются на три типа: Тип 1- конденсаторы, предназначенные для использования в резонансных контурах, где малые потери и высокая стабильность ёмкости имеют существенное значение. Тип 2- конденсаторы, предназначенные для использования в цепях фильтров, блокировки и развязки или в других цепях, где малые потери и высокая стабильность ёмкости не имеют существенного значения. Тип 3-керамические конденсаторы с барьерным слоем, предназначенные для работы в тех же цепях, что и второго типа, но имеющие меньшее значение сопротивления изоляции и большее значение тангенса угла диэлектрических потерь, что ограничивает область применения низкими частотами. Слюдяные и стеклоэмалевые конденсаторы относятся к конденсаторам первого типа, стеклокерамические могут быть первого и второго типов, керамические - всех типов. Высоковольтные конденсаторы большой и малой реактивной мощности. По назначению они могут быть 1 и 2 типов и так же, как низковольтные, они разделяются на высокочастотные и низкочастотные. Основным параметром является удельная энергия, поэтому керамику для них подбирают с большой диэлектрической проницаемостью. Для увеличения реактивной мощности выбирают керамику с малыми потерями, а конструкцию и выводы конденсаторов рассчитывают на возможность прохождения больших токов. Высоковольтные слюдяные конденсаторы делают фольговыми, т. к. они предназначены для работы при повышенных токовых нагрузках. Помехоподавляющие конденсаторы разделяются на опорные и проходные, их основное назначение-подавление индустриальных и высокочастотных помех, создаваемых промышленными и бытовыми приборами, т. е. они являются фильтрами нижних частот. Опорные конденсаторы - это конденсаторы, одним из выводов которых является опорная металлическая пластина с резьбовым креплением. Проходные конденсаторы делают коаксиальными - один из, выводов которых представляет собой тонко несущий стержень, по которому протекает полный ток внешней цепи и не коаксиальными - через выводы которых протекает полный ток внешней цепи.
2.2.Кондерсаторы переменной емкости. Емкость этих конденсаторов может плавно изменяться в процессе эксплуатации РЭА, например, для настройки колебательных контуров. Так же, как и подстроечный конденсатор, он состоит из статора и ротора, но в отличие от подстроечных количество роторных и статорных пластин велико, что необходимо для получения максимальной емкости порядка 500 пф. Как правило, эти конденсаторы имеют воздушный диэлектрик. На рис.2.19 показано устройство трехсекционного конденсатора переменной емкости. Каждая секция служит для настройки своего колебательного
контура. Такие конденсаторы применяются в радиоприемной аппаратуре. Конструктивной основой является корпус 4, содержащий валики крепления 7 и планку крепления 9, в котором размещены статорная и роторная секции. Ста-торная секция 5 изолирована от корпуса, а роторная секция 1 состоит из неразрезных (внутренних) пластин 11 и разрезных (внешних) пластин 10. .Отгибая или подгибая часть сектора внешней пластины, можно изменять емкость в небольших пределах, что бывает необходимо в процессе заводской настройки аппаратуры. Роторные пластины закреплены на оси 2. Плавность вращения оси обеспечивается шариковым подшипником 3 и подпятником 8. На корпусе конденсатора около каждой роторной секции установлены специальные пружины -токосъемы 6, которые плотно прижимаются к ротору. Посредством токосъемов производится подключение роторных секций к соответствующим точкам схемы аппаратуры.
Пакетная конструкция.
Она применяется в слюдяных, стеклоэмалевых, стеклокерамических и некоторых типах керамических конденсаторов и представляет собой пакет диэлектрических пластин (слюды) I толщиной около 0,04 мм, на которые напылены металлизированные обкладки 2, соединяемые в общий контакт полосками фольги 3 (рис.2.12). Собранный пакет спрессовывается обжимами 4, к которым присоединяются гибкие выводы 5, и покрывается влагозащитной эмалью. Количество пластин в пакете достигает 100 .
Емкость такого конденсатора зависит от числа пластин в пакете, пФ ,
| 
|
(2.20)
|
Трубчатая конструкция.
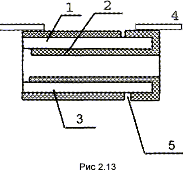
Она характерна для высокочастотных трубчатых конденсаторов и представляет собой керамическую трубку I (рис.2.13) с толщиной стенок около 0,25 мм, на внутреннюю и внешнюю поверхность которой методом вжигания нанесены серебряные обкладки 2 и 3. Для присоединения гибких проволочных выводов 4 внутреннюю обкладку выводят на внешнюю поверхность трубки и создают между ней и внешней обкладкой изолирующий поясок 5, снаружи на трубку наносится защитная пленка из изоляционного вещества.
Емкость такого конденсатора
| 
|
(2.21)
|
где / - длина перекрывающейся части обкладок в см,
D1
и D2
-
наружный и внешний диаметры трубки

Дисковая конструкция.
Эта конструкция (рис.2.14) характерна для высокочастотных керамических конденсаторов: на керамический диск I с двух сторон вжигаются серебряные обкладки 2 и 3, к которым присоединяются гибкие выводы 4. Емкость такого конденсатора определяется площадью обкладок и рассчитывается по (2.19).

Литая секционированная конструкция.
Эта конструкция характерна для монолитных многослойных керамических конденсаторов (рис.2.15), получивших в последние годы широкое распространение, в том числе в аппаратуре с ИМС.

Такие конденсаторы изготовляют путем литья горячей керамики, в результате которого получают керамическую заготовку I с толщиной стенок около 100 мкм и прорезями (пазами) 2 между ними, толщина которых порядка 130-150 мкм. Затем эта заготовка окунается в серебряную пасту, которая заполняет пазы, после чего осуществляют вжигание серебра в керамику.
В результате образуются две группы серебряных пластин, расположенных в пазах керамической заготовки, к которым припаиваются гибкие выводы. Снаружи вся структура покрывается защитной пленкой. В конденсаторах, предназначенных для установки в гибридных ИМС, гибкие выводы отсутствуют, они содержат торцевые контактные поверхности, которые присоединяются к контактным площадкам ГИС.
Рулонная конструкция.
Эта конструкция (рис.2.16) характерна для бумажных пленочных низкочастотных конденсаторов, обладающих большой емкостью. Бумажный конденсатор образуется путем свертывания в рулон бумажной ленты 1 толщиной около 5-6 мкм и ленты из металлической фольги 2 толщиной около 10-20 мкм. В металлобумажных конденсаторах вместо фольги применяется тонкая металлическая пленка толщиной менее 1 мкм, нанесенная на бумажную ленту.
Рулон из чередующихся слоев металла и бумаги не обладает механической жесткостью и прочностью, поэтому он размещается в металлическом корпусе, являющемся механической основой конструкции.

Емкость таких конденсаторов
| 
|
(2.22)
|
где b -
ширина ленты, l
- длина ленты, d -
толщина бумаги.
Емкость бумажных конденсаторов достигает 10 мкф, а металлобумажных 30 мкф.
Подстроенные (полупеременные) конденсаторы.
Особенностью этих конденсаторов является то, что их емкость изменяется в процессе производства РЭА (регулировки), а в процессе эксплуатации емкость таких конденсаторов должна сохраняться постоянной и не изменяться под воздействием вибрации и ударов.
Они могут быть с воздушным или твердым диэлектриком. На рис.2.17 показано устройство подстроенного конденсатора с твердым диэлектриком типа КПК (конденсатор подстроечный керамический). Такой конденсатор состоит из основания 2 (статора) и вращающего диска 1 (ротора). На основание и диск напылены серебряные пленки полукруглой формы. При вращении ротора изменяется площадь перекрытия пленок, а следовательно, емкость конденсатора. Как правило, минимальная емкость (когда пленки не перекрыты) составляет несколько пикофарад, а при полном перекрытии пленок емкость конденсатора будет максимальной, величина этой емкости составляет несколько десятков пикофарад. От ротора и статора сделаны внешние выводы 3 и 4. Плотное прилегание ротора к статору обеспечивается прижимной пружиной 5.
На рис.2.18 показано устройство подстроечного конденсатора с воздушным диэлектриком. На керамическом основании 1 установлены колонки 2 для крепления пластин статора 3. Пластины ротора 4 закреплены на оси ротора 5. Посредствам пружины - токосъема 6 ротор подключается к соответствующим точкам принципиальной схемы. Крепление конденсатора осуществляется с помощью колонок 7, имеющих внутреннюю резьбу.
| 
|

|
2.3.Конденсаторы с оксидным диэлектриком.
В качестве диэлектрика в них, используется оксидный слой, образуемый электрохимическим путём на аноде - металлической обкладке из некоторых металлов. В зависимости от материала анода оксидные конденсаторы подразделяют на алюминиевые, танталовые и ниобиевые. Конденсаторы группы общего назначения имеют униполярную проводимость, их эксплуатация возможна только при положительном потенциале на аноде. Неполярные конденсаторы могут включены в цепь постоянного и пульсирующего тока без учёта полярности, а также допускать смену полярности в процессе эксплуатации. Высокочастотные конденсаторы широко применяются в источниках вторичного питания, в качестве накопительных и фильтрующих эл.,они работают в диапазоне частот пульсирующего тока от десятков до сотен Кгц. Импульсные конденсаторы используются в цепях с относительно длительным зарядом и быстрым разрядом. Пусковые конденсаторы используются в асинхронных двигателях, в которых ёмкость включается только на момент пуска двигателя. Система условных обозначений и маркировка конденсаторов. Условное обозначение конденсаторов может быть сокращённым или полным.В соответствии с действующей системой сокращённое условное обозначение состоит из букв и цифр. Первый элемент - буква или сочетание букв, обозначающее подкласс конденсатора: К - постоянной ёмкости КТ - подстроечные КП - переменной ёмкости.
Второй элемент - обозначение группы конденсатора в зависимости от материала диэлектрика.
Третий эл. - пишется через дефис и обозначает регистрационный номер конкретного типа конденсатора. В состав третьего эл. может входить также буквенное обозначение. КД - конденсаторы дисковые КМ - керамические монолитные КЛС - керамические литые секционные КСО - конденсаторы слюдяные опрессованные СГМ - слюдяные герметизированные малогабаритные КБГИ - конденсаторы бумажные герметизированные изолированные МБГЧ - металлобумажные герметизированные частотные КЭГ - конденсаторы электролитические герметизированные ЭТО - электролитические танталовые объёмно-пористые КПК - конденсаторы подстроечные керамические Параметры и характеристики, входящие в полное условное обозначение, указываются в следующей последовательности: Обозначение конструктивного исполнения Номинальное напряжение Номинальная ёмкость Допускаемое отклонение ёмкости Группа и класс по t стабильности ёмкости Номинальная реактивная мощность Другие, необходимые дополнительные характеристики. Основные электрические параметры и характеристики конденсаторов. Номинальная ёмкость и допускаемое отклонение ёмкости. Номинальная ёмкость - ёмкость, значение которой обозначено на конденсаторе или указано в нормативно-технической документации и является исходным для отчёта допускаемого отклонения. Номинальные напряжение и ток. Номинальное напряжение - значение напряжения, обозначенное на конденсаторе или указанное в НТД, при котором он может работать в заданных условиях в течение срока службы с сохранением параметров в допустимых пределах. Амплитуда переменного напряжения не должна превышать значения напряжения, расчитанного исходя из допустимой реактивной мощности. 2.4.Тангенс угла потерь.
Тангенс угла потерь хар-ет потери энергии в конденсаторе и определяется отношением активной мощности к реактивной при синусоидальном напряжении определённой частоты. Сопротивление изоляции, ток утечки. Электрическое сопротивление конденсатора постоянному току опр. Напряжения называется сопротивлением изоляции конденсатора. Сопротивление изоляции хар-ет кач-во изготовления kd и зависит от типа диэлектрика. Для kd, допускающих касание своим корпусом шасси и токоведущих шин, вводится понятие сопротвление изоляции между корпусом и соединёнными вместе выводами. Ток проводимости, проходящий через конденсатор при постоянном напряжении на его обкладках в установившемся режиме, называют током утечки. Температурный коэффициент ёмкости(ТКЕ). Величина, применяемая для хар-ки kd с линейной зависимостью ёмкости от температуры и равная относительному изменению ёмкости при изменении температуры окружающей среды на один градус Цельсия (Кельвина), называется температурным коэффициентом ёмкости. Диэлектрическая абсорбция конденсаторов. Явление, обусловленное замедленными процессами поляризации в диэлектрике, приводящее к появлению напряжения на электродах после кратковременной разрядки конденсатора, называется диэлектрической абсорбцией. Полное сопротивление конденсатора. Резонансная частота. Под полным сопротивлением конденсатора понимают сопротивление конденсатора переменному синусоидальному току определённой частоты, обусловленное наличием у реального конденсатора наряду с ёмкостью также активного сопротивления и индуктивности. Значения активного сопротивления и индуктивности зависят от характеристик используемых материалов и конструктивного исполнения конденсатора. 2.5.Реактивная мощность.
Понятие реактивной мощности введено для высокочастотных и особенно высоковольтных конденсаторов и используется для установления допустимых электрических режимов эксплуатации. При этом в области низких частот ограничения определяются допустимой амплитудой напряжения переменного тока, а на высоких частотах - допустимой реактивной мощностью конденсатора. Таким образом, реактивная мощность характеризует нагрузочную способность конденсатора при наличии на нём больших напряжений высокой частоты. Вносимое затухание и сопротивление связи. Вносимое затухание и сопротивление связи - это величины, хар-щие способность помехоподавляющих конденсаторов и фильтров подавлять помехи переменного тока заданной частоты. Вносимое затухание и сопротивление связи зависят от частоты переменного тока, ёмкости, индуктивности, добротности и конструкции конденсаторов и фильтров, а также от выходного сопротивления генератора и сопротивления нагрузки. Специфические электрические параметры и характеристики подстроечных и вакуумных конденсаторов. Подстроечные и переменные конденсаторы наряду с основными параметрами, имеют дополнительные, учитывающие особенности их функционального назначения и конструктивное исполнение. Вместо параметра номинальная ёмкость используются параметры максимальная и минимальная ёмкости. Это максимальное и минимальное значение ёмкости конденсатора, которое может быть получено перемещением его подвижной системы. Момент вращения - минимальный момент, необходимый для непрерывного перемещения подвижной системы конденсатора. Цикл перестройки ёмкости - перестройка ёмкости от минимальной до максимальной и обратно. Износоустойчивость - это способность конденсатора сохранять свои параметры(противостоять изнашиванию) при многократных сращениях подвижной системы. Электрическая прочность - способность конденсаторов выдерживать определённое время(до нескольких минут) приложенное к нему напряжение выше номинального без изменения его эксплуатационных характеристик и пробоя диэлектрика. Применение и эксплуатация конденсаторов. Эксплуатационные факторы и их воздействие на конденсаторы. Эксплуатационная надёжность конденсаторов в аппаратуре во многом определяется воздействием комплекса факторов, которые по своей природе можно разделить на следующие группы: электрические нагрузки. климатические нагрузки. механические нагрузки. радиационное воздействие. Под воздействием указанных факторов происходит изменение параметров конденсаторов. В зависимости от вида и длительности нагрузки, уходы параметров складываются из обратимого (временного) и необратимого изменения. Обратимые изменения это когда после снятия нагрузки параметры конденсаторов принимают значения, близкие к начальным параметрам. 2.6.Климатические нагрузки.
Температура и влажность окружающей среды важнейшими факторами, влияющими на надежность, долговечность и сохраняем ость конденсаторов. Длительное воздействие, повышенной температуры вызывает старение диэлектрика, в результате чего параметры конденсаторов претерпевают необратимые изменения. Тепловое воздействие на конденсатор может быть, как периодически изменяющимся. Наряду с внешней t на конденсаторы в составе аппаратуры может дополнительно воздействовать теплота, выделяемая другими сильно нагревающимися при работе аппаратуры изделиями. С ростом t окружающей среды напряжения на конденсаторы должно снижаться. В условиях повышенной влажности на электрические характеристики конденсаторов влияет как плёнка воды, образующаяся на поверхности, так и внутреннего поглощения влаги диэлектриком. Длительное воздействие повышенной влажности наиболее сильно сказывается на изменении параметров негерметизированных конденсаторов. Проникновение влаги внутрь конденсатора снижает сопротивление конденсатора и электрическая прочность. Влага вызывает коррозию металлических деталей и контактной арматуры конденсаторов, облегчает развитие различных плесневых грибков. 2.7.Механические нагрузки.
При эксплуатации и транспортировании аппаратуры конденсаторы подвергаются воздействию различного вида механических нагрузок: вибрации, одиночным и многократным ударам, линейному ускорению, акустическим нагрузкам. Наиболее опасными являются вибрационные и ударные нагрузки. Воздействием механических нагрузок, превышающих допустимые нормы, может вызвать обрывы выводов и внутренних соединений, увеличения тока утечки, появление трещин в корпусах и изоляторах, снижение электрической прочности, изменение установленной ёмкости у построечных конденсаторов. 2.8.Радиационные воздействия.
Воздействие, ионизирующих излучений может, как непосредственно вызывать изменение электрических и эксплуатационных характеристики конденсаторов, так и способствовать ускоренному старению конструкционных материалов при последующем воздействии др. Факторов. Процессы, протекающие в конденсаторах в условиях воздействия, ионизирующих излучений, коренным образом отличаются от процессов старения в обычных условиях эксплуатации. В результате воздействия в конденсаторах также могут возникать явления, приводящие к обратимым или остаточным изменениям их пар-ров. Радиационные нарушения структуры материалов могут приводить и к ухудшению основных характеристик конденсаторов - срока службы, мех-кой и эл. прочности, влагостойкости. 2.9.Электрические нагрузки.
Необратимые наибольшие изменения пар-ров вызываются длительным воздействием электрической нагрузки при которой происходят процессы старения, ухудшающие электрическую прочность. При постоянном напряжении основной причиной старения являются электрохимические процессы, возникающие в диэлектрике под действием постоянного поля и усиливающиеся с повышением t и влажности окружающей среды. При переменном напряжении и импульсных режимах основной причиной старения являются ионизационные процессы, возникающие внутри диэлектрика или у краёв обкладок, преимущественно в местах газовых включений. Напряжение электрического поля в диэлектрике конденсатора при его испытаниях выбираются с некоторым запасом, эксплуатация под электрической нагрузкой превышающей номинальное напряжение, резко снижает надёжность конденсаторов.
Передовой производственный опыт.
Обзор материнской платы Albatron KX18D PRO 
Компания Albatron уже прочно укоренилась в сознании пользователей как производитель материнских плат и видеокарт, рассчитанных на экстремалов. Обычно материнские платы Albatron, и без того быстрые, обладают широкими возможностями по разгону процессоров из BIOS, причём эти возможности зачастую шире, чем предоставляемые продуктами от остальных производителей. Сегодня мы рассмотрим материнскую плату KX18D PRO II под процессоры формата Socket A от компании AMD.
Плата KX18D PRO II построена на системном чипсете nForce2 Ultra 400, и прежде, чем переходить к описанию самой материнки, поговорим немного о её "сердце". Компания nVidia не просто вошла, а ворвалась на рынок чипсетов под процессоры AMD, не просто подвинув, а растолкав компании SiS и VIA. Со своим чипсетом nForce2, основное преимущество которого было в двухканальном контроллере памяти, nVidia заставила считать лучшей платформой под Socket A именно чипсеты nForce2. Но с переходом Hi-End процессоров AMD Athlon XP на 400-МГц шину, положение вещей немного изменилось. nVidia, как и принято в среде производителей железа для персональных компьютеров, разделила свою продукцию на два сектора - Mainstream и Enthusiast. И чипсет nForce2 постигло раздвоение личности.
С оригинальным nForce2 всё ясно - этот чипсет имеет двухканальный контроллер памяти и официально не поддерживает 400 МГц шину FSB, хотя материнские платы на его основе прекрасно работают на этой шине. А вот с чипсетами, в названии которых присутствует число "400", имеется некоторая неразбериха. Дело в том, что nVidia выпустила два чипсета под 400 МГц шину процессоров Athlon XP. Первый - nForce2 Ultra 400. Это реинкарнация обычного nForce2. Сами по себе, оригинальные nForce2 уже прекрасно работали на 400 МГц шине и nForce2 Ultra 400 - это всего лишь новый степпинг оригинального nForce2 с официальной поддержкой FSB 400. Северный мост официально поддерживает шину 400 МГц, имеет двухканальный контроллер памяти DDR400 и может комплектоваться двумя версиями южного моста - MCP-T и MCP. Первый - со встроенным звуковым ядром nVidia Soundstorm и контроллером IEEE1394, а второй - без оных. Для тех, кто не привык платить за материнскую плату лишний доллар, была выпущена версия чипсета nForce 400 (без приставки Ultra). Единственное отличие этого чипа состоит в том, что его северный мост имеет одноканальный контроллер DDR400. А материнские платы на базе nForce2 400, большей частью, используют упрощённый южный мост MCP без звукового ядра SoundStorm и FireWire.
Характеристики Albatron KX18D PRO II
Материнская плата от Albatron поставляется в большой блестящей Retail упаковке. Компания Albatron не расходует лишние средства на дизайн коробок системных плат, потому что привлекательной здесь является не обложка коробочки, а цена и характеристики материнской платы.
Система
Платформа: Socket A
Процессоры: AMD Duron и Athlon, Athlon XP с 256 и 512 Кб кэшем
Поддержка процессоров с 200/333/400 МГц шиной FSB
Чипы
Северный мост nVidia nForce2 Ultra 400 SPP
Двухканальный контроллер памяти DDR266/333/400
Поддержка графической шины AGP 8x
Поддержка 100/133/166/200 МГц системной шины (200/266/333/400 МГц шина FSB)
Южный мост nVidia MCP-T
Контроллер USB 2.0 с поддержкой до шести портов
Контроллер UDMA 133 с поддержкой до четырёх устройств с интерфейсом UltraATA 133 и ниже
5.1-канальное звуковое ядро nVidia SoundStorm с поддержкой DolbyDigital
Встроенный в южный мост сетевой контроллер с поддержкой 10/100 МБит/с. Ethernet
Контроллер Serial-ATA Silicon Image SATALink Sil312ACT144 с поддержкой до двух устройств с интерфейсом Serial-ATA 150 и возможностью организации RAID массивов уровня 0 и 1 на программном уровне
LPC-контроллер Winbond SmartIO 83627HF-AW
Контроллер IEEE1394 Texas Instruments TSB41AB2PAP с поддержкой до двух портов
BIOS
BIOS Mirror с защитой от повреждения вирусом
Voice Genie - голосовая диагностика POST-статуса
Поддержка Suspend To RAM
Изменение напряжения на CPU, AGP, DDR
Изменение частоты системной шины с точностью до 1 МГц
Специальная защита от перегрева процессора CPU OverTemperature Protection.
Контроль отключения вентиляторов
Частота PCI/AGP не зависит от частоты FSB
Изменение напряжения AGP и DDR
Системная память
Три 184-контактных слота DIMM для DDR SDRAM модулей PC1600/PC2100/PC2700/PC3200
Модули памяти устанавливаются парами или по одиночке для реализации двухканальной или одноканальной шины памяти
Поддержка до трёх гигабайт памяти
Поддержка 200/266/333/400 МГц шины памяти
Поддержка только unbuffered non-ECC DIMM.
Асинхронная работа шин процессора и памяти
Не поддерживает двухсторонние x16DDR DIMM модули
Порты ввода/вывода (внутренние)
Два порта для IDE устройств, подключаемых к встроенному в южный мост IDE контроллеру
Два порта для Serial ATA устройств
Один порт для FDD
Два райзера для подключения панельки с двумя портами FireWire
Два райзера для подключения панельки с четырьмя портами USB 2.0
Райзер для подключения одного COM-порта
Порты ввода/вывода (внешние)
Коннекторы PS/2 для клавиатуры и мыши
Два USB порта на панельке платы
Один EPP/ECP параллельный порт
Один COM порт
RJ45 сетевой порт
Аудио порт (три коммутируемых звуковых гнезда)
Как видно, материнская плата от Albatron экипирована по полной программе: здесь вам и контроллер FireWire, и Serial-ATA и сетевой порт. Южный мост MCP-T поддерживает не только интерфейс IEEE1394, но и ещё одну интересную возможность - Dual LAN, то есть, сдвоенный сетевой адаптер. Помимо встроенного nVidia MAC, южный мост MCP-T поддерживает использование 3Com Ethernet MAC для установки ещё одного сетевого порта. Двойной сетевой адаптер может показаться серверной экзотикой, но не на серверный рынок рассчитан nForce 2 Ultra. С помощью двух сетевых портов можно подключить компьютер к двум сетям, например - Internet и домашней Ethernet или точке беспроводного доступа Wi-Fi. Пока у российских пользователей на одну семью установлен один компьютер и тот зачастую, не в сети, то Dual LAN не нужен, а вот когда в доме будут установлены и ноутбук и центральных компьютер, и barebone-медиа центр, вот тогда понадобится и Dual LAN и Triple LAN и даже Quadro LAN. Наверное, поэтому компания Albatron не воспользовалась возможностями MCP-T и установила только один сетевой порт.
Комплект поставки и аксессуары
Материнская плата KX18D PRO II укомплектована достаточно хорошо. Кроме самой системной платы, в коробочке пользователь найдёт инструкцию по установке платы, инструкцию по использованию Serial-ATA RAID контроллера, диск с программным обеспечением и утилитами, а так же:
 
 
планка с четырьмя с USB 2.0 портами, планка с двумя 9-контактными FireWire портами, планка с цифровыми звуковыми выходами и кабели для подключения Serial-ATA жёстких дисков. Если сравнивать аксессуары платы KX18D PRO II с продукцией конкурентов, то вот, к примеру, у материнских плат Gigabyte планка с портами стандарта IEEE1394 имеет порты FireWire (6-контактные) и I-Link (4-контактные). Таким образом, к материнским платам Gigabyte проще подключить цифровую камеру, имеющую 4-контактный разъём I-Link. Но это не недостаток, потому что он легко решается покупкой кабеля IEEE 1394 с одним 4-контактным и одним 6-контактным разъёмами.
Но достаточно ходить вокруг да около - перейдём к рассмотрению конструкции самой материнской платы.
Экономический вопрос.
РАСЧЕТЫ ВЛИЯЮЩИХ ТОКОВ КОНТАКТНОЙ СЕТИ ПРИ КОРОТКОМ ЗАМЫКАНИИ И ВЫНУЖДЕННОМ РЕЖИМЕ
Общие положения
Для расчета наводимого напряжения за счет магнитного влияния необходимо определиться с влияющим током контактной сети. Сложившиеся подходы для определения тока и рассмотрены в этом разделе.
С опасными влияниями приходится иметь дело в основном в случае тяговой сети переменного тока 1х25 кВ, когда наводимые напряжения на порядок выше, чем для тяговой сети постоянного тока. Тяговые сети 2х25 кВ по степени опасности занимают промежуточное положение, но они отличаются усложненным расчетом наводимых напряжений, который лучше всего проводить с применением вычислительной техники. В данном случае речь пойдет о тяговой сети 1х25 кВ.
С точки зрения безопасности работы принято рассматривать наихудший возможный вариант, при котором наводимые напряжения будут наибольшими, и предпринимать защитные меры в его отношении.

Рис. 24
В этом плане наиболее опасными являются два следующих режима в тяговой сети:
·короткое замыкание, при котором протекают наибольшие токи; в качестве расчетного рассматривают случай, когда создаются максимальные напряжения, что соответствует короткому замыканию на краю зоны влияния, как на рис. 24а; при коротком замыкании в середине зоны влияния наводимые напряжения меньше из-за меньшей длины сближения, да еще возможна компенсация при протекании тока короткого замыкания со стороны второй подстанции;
·вынужденный режим, при котором одна из тяговых подстанций, питающих межподстанционную зону, отключается, токи протекают по большей длине (по сравнению с нормальным режимом, рис. 24б) и в одном направлении (рис. 24в).
8.2. Расчет влияющего тока при коротком замыкании в тяговой сети
В наиболее распространенном случае питания тяговой сети от трехфазного трансформатора по схеме "звезда-треугольник" короткое замыкание в тяговой сети относится к двухфазному короткому замыканию и рассчитывается с удвоением сопротивлений прямой последовательности для ЛЭП и трансформатора:

где 2Z
лэп
=2jX
лэп
- сопротивление ЛЭП без учета активного сопротивления, приведенное к напряжению 27.5 кВ, , Sкз - мощность трехфазного короткого замыкания на шинах подстанции;
2Zт=2jXт - сопротивление тягового трансформатора без учета активного сопротивления, приведенное к 27.5 кВ, , uк - напряжение короткого замыкания трансформатора в процентах, Sн - номинальная мощность трансформатора;
Zкс=(R0+jX0) lкз - сопротивление тяговой сети от подстанции до точки короткого замыкания.
Таким образом, ток короткого замыкания можно рассчитать по величине по формуле
. (24)

Рис. 25
Как это видно из векторной диаграммы рис. 25, потеря напряжения на тяговой сети до последнего электровоза определяется с некоторым приближением (при небольшом отличии напряжений на шинах подстанции и на последнем электровозе) вещественной частью падения напряжения 
,
откуда результирующий ток при максимальной потере напряжения определится выражением.
.
Эквивалентный влияющий ток определим, исходя из некоторой похожести распределения тока по рис. 25 на треугольник. Наводимое напряжение магнитного влияния определяется площадью под этим ступенчатым треугольником, которая равна площади под пунктирной линией 1 (это равенство немного нарушается, если начало и конец смежного провода располагаются не по серединам ступеней или не по их концам). Пунктирная линия 2 спущена относительно линии 1 на величину I1 и составляет с осями координат треугольник, в котором можно определить токи I' и I" на краях трапеции, площадь которой (с корректировкой на I1) будет определять наводимое напряжение при длине сближения меньшей, чем длина межподстанционной зоны. Iэкв в таком случае будет средним между I' и I", увеличенным на I1:
.
Токи I' и I" определяются по рис. 25 из подобных треугольников:

и формула для подсчета эквивалентного влияющего тока выглядит так:
или
,
где Km
- коэффициент, характеризующий уменьшение эквивалентного тока по сравнению с результирующим в зависимости от количества поездов m, одновременно находящихся в пределах расчетного плеча питания при вынужденном режиме.
Максимальная потеря напряжения в тяговой сети между подстанцией и наиболее удаленным от нее электровозом принимается равной 8500 В при длине межподстанционной зоны lт более 30 км (19 кВ на токоприемнике наиболее удаленного электровоза) и 5500 В при lт от 15 до 30 км включительно (при этом потребляемая от подстанции мощность настолько велика, что подстанция просто не сможет обеспечить большее значение и потеря напряжения не может быть больше по этой причине); при lт менее 15 км принимают m=1, Iрез=300 А. Коэффициент мощности электровоза при расчетах принимают равным 0.8.
Формула для расчета напряжения магнитного влияния при вынужденном режиме несколько отличается от формулы (17) в связи с несинусоидальностью тока контактной сети и необходимостью как-то учесть эту несинусоидальность:

В формуле Kф - коэффициент, характеризующий увеличение наведенного напряжения вследствие несинусоидальности тока тяговой сети, обусловленной работой выпрямительных устройств электровозов. Для проводов воздушных линий принимают Kф=1.15.
Техника безопасности.
Указания по выбору и эксплуатации конденсаторов. Эксплуатационная надёжность конденсаторов во многом определяется правильным выбором типов конденсаторов при проектировании аппаратуры и использовании их в режимах, не превышающих допустимые. Указания по монтажу и креплению конденсаторов. Крепёжные приспособления не должны повреждать корпус и защитные покрытия конденсаторов. Устройства для крепления не должны ухудшать условий отвода теплоты от конденсаторов. Не разрешается использовать лепестковые выводы конденсаторов для припайки к ним других деталей. Крепить конденсаторы при установки в аппаратуру следует без перекосов. Пайку следует производить бес кислотными флюсами; при этом не должно происходить опасного перегрева выводных узлов конденсатора. При монтаже неполярных конденсаторов с оксидным диэлектриком необходимо обеспечить изоляцию их корпусов от других электрических, шасси и друг от друга. При плотном монтаже конденсаторов для обеспечения изоляции корпусов допускается надеть на них изолирующие трубки. При этом они не должны нарушать покрытие конденсаторов, ухудшать электрические характеристики, вызывать перегрев конденсаторов сверх допустимой нормы. Особую осторожность следует соблюдать при установке конденсаторов в микросхемы, микросборки и на малогабаритные печатные платы. Защита конденсаторов от воздействия механических нагрузок. Максимальная нагрузка на конденсатор достигается при резонансе, когда частота вибраций равна частоте собственных колебаний конденсатора. Кроме изменения частоты конденсатора применяют дополнительные способы крепления. Защита конденсаторов от воздействия повышенной влажности. Наиболее эффективным способом защиты является герметизация в металлическом или керамическом корпусе. Другие способы защиты (покрытие эпоксидными компаундатами, опресовка пластмассами и др.) менее эффективны. При недостаточной собственной защите применяется герметизация блоков аппаратуры или всей аппаратуры. Чтобы избежать повышения влажности и выпадение росы внутри герметизированных блоков необходимо помещать влагопоглащающие вещества. Указания по применению конденсаторов при повышенном или пониженном атмосферном давлении. Повышенное (до 3 ат.) давление не влияет на работоспособность конденсаторов, однако резкие его изменения могут вызвать нарушение герметизации и уплотнения корпусов. Во избежании перегрева у конденсаторов необходимо снижать допустимую мощность рассеяния.
|