Реферат: Зануление электрооборудования, защитное отключение устройство, принцип защиты
|
Название: Зануление электрооборудования, защитное отключение устройство, принцип защиты Раздел: Рефераты по безопасности жизнедеятельности Тип: реферат | ||||||||||||||||||||||||||||||||||||||||||||||||||||||||||||||||||||||||||||||||||||||||||||||||||||||||||||||||||||||||||||||||||||||||||||||||||||||||||||||||||||||||||||||||||||||||||||||||||||||||||||||||||||||||||||||||||||||||||||||||||||||||||||||||||||||||||||||||||||||||||||||||||||||||||||||||||||||||||||||||||||||||||||||||||||||||||||||||||||||||||||||||||||||||||||||||||||||||||||||||||||||||||||||||||||||||||||||||||||||||||||||||||||||||||||||||||
24) Зануление электрооборудования, защитное отключение – устройство, принцип защитыЗАЩИТНЫЕ ЗАНУЛЕНИЕ, ЗАЗЕМЛЕНИЕ И ОТКЛЮЧЕНИЕОбщие понятия. Прикосновение к частям электроустановок, находящимся под напряжением, может вызвать поражение электрическим током. Так, например, ток силой 20 - 25 мА (0,02 - 0,025 А) парализует мышцы человека и лишает его возможности самому оторваться от контакта с частями электроустановки, находящимися под напряжением. При токах силой 50 - 100 мА сердце начинает работать аритмично, нормальная циркуляция крови нарушается и через 1 - 2 сек. у потерпевшего прекращаются сердцебиение, пульс и дыхание. Если за это время не будет оказана первая помощь и не проведено искусственное дыхание возможна смерть потерпевшего. Основными причинами поражения электрическим током являются прикосновения к токоведущим частям электрооборудования, нормально находящимся под напряжением, и прикосновения к частям электрооборудования нормально не находящимся под напряжением, но которые могут случайно оказаться под напряжением при замыкании на них одной из фаз сети в результате повреждения изоляции проводов, обмоток электрических машин, кабелей и т. п. Для предохранения персонала от прикосновения к неизолированным токоведущим частям, находящимся под напряжением, применяют сетчатые ограждения, барьеры, кожухи и другие средства, рекомендуемые правилами техники безопасности. При прикосновении к частям электроустановок, которые не должны находиться под напряжением, но могут случайно оказаться под напряжением в результате повреждения изоляции токоведущих частей или по другим причинам, принимаемые меры защиты от поражения электрическим током зависят от того, как работает электрическая сеть - с глухозаземленной или с изолированной нейтралью. В сетях с глухозаземленной нейтралью нейтраль трансформатора (нулевая точка обмоток, соединенных в звезду) присоединена к заземляющему устройству; в сетях с изолированной нейтралью нейтраль трансформатора к заземляющему устройству не присоединена (т. е. изолирована от земли). Электроустановки напряжением до 1000 В переменного тока могут быть как с глухозаземленной, так и с изолированной нейтралью; постоянного тока - с глухозаземленной или изолированной средней точкой. В четырехпроводных сетях переменного тока и трехпроводных сетях постоянного тока глухое заземление нейтрально или средней точки обязательно. Для защиты от поражения электрическим током при прикосновении к частям электрооборудования, нормально не находящимся под напряжением, но могущими оказаться под напряжением при повреждении изоляции или по другим причинам, применяют защитные зануление, заземление и отключение. Защитное зануление. В сетях с глухозаземленной нейтралью замыкание одной из фаз на землю или на проводник, соединенный с глухозаземленной нейтралью, является однофазным коротким замыканием. Если замыкание произошло на корпус электрооборудования, не связанного с землей, то человек, стоящий на земле и прикоснувшийся к этому электрооборудованию, окажется под полным фазовым напряжением и через него пройдет ток однофазного замыкания. Для предупреждения возможности поражения электрическим током при замыкании на корпус поврежденный участок должен быть отключен от сети в возможно короткий срок, чтобы ограничить до минимума время, в течение которого это оборудование будет представлять опасность для персонала. В этих целях в сетях с глухозаземленной нейтралью применяют защитное зануление. Защитным занулением называется преднамеренное металлическое соединение с глухозаземленной нулевой точкой (нейтралью) трансформатора в сетях переменного тока и с глухозаземленной средней точкой источника электроснабжения в трехпроводных сетях постоянного тока частей электроустановок, нормально не находящихся под напряжением, но которые могут случайно оказаться под таковым. Соединение это выполняют проводником, который называется зануляющим, или нулевым защитным проводником. При замыкании одной из фаз на корпусе электрооборудования, имеющего соединения нулевым защитным (зануляющим) проводником с глухозаземленной нейтралью трансформатора в сетях переменного тока или с глухозаземленной средней точкой в сетях постоянного тока, возникает однофазное короткое замыкание, которое вызывает срабатывание соответствующего защитного аппарата (предохранителя, автомата) и отключение поврежденного участка. Схема присоединения электрооборудования к защитному занулению показана на рис. XV.1, а.
Защитное зануление применяют в сетях переменного тока с глухозаземленной нейтралью или с глухозаземленным нулевым проводом в трехпроводных сетях постоянного тока для автоматического отключения поврежденного участка сети в минимально возможное короткое время. Защитное заземление. В сетях напряжением до 1000 В с изолированной нейтралью токи замыкания на землю, возникающие при повреждении изоляции одной из фаз, обусловлены величиной сопротивления изоляции проводников и емкостью относительно земли двух других оставшихся неповрежденных фаз. Эти токи (называемые токами утечки) относительно невелики (2 - 3 А и менее) и часто недостаточны для приведения в действие аппаратов защиты и автоматического отключения. Но они могут стать смертельными для человека, стоящего на земле и прикоснувшегося к частям оборудования, оказавшимся под напряжением при замыкании на землю и не соединенными с землей. Поэтому в сетях переменного тока с изолированной нейтралью, а в сетях постоянного тока с изолированной средней точкой для защиты от поражения электрическим током при прикосновении к частям электрооборудования, оказавшимся под напряжением в результате повреждения изоляции токоведущих проводников, применяют защитное заземление. Защитным заземлением называется преднамеренное металлическое соединение с землей в сетях переменного тока с изолированной нейтралью или в сетях постоянного тока с изолированной средней точкой частей электроустановок, нормально не находящихся под напряжением, но которые могут случайно оказаться под напряжением по тем или иным причинам. Соединение это выполняют проводником, который называют заземляющим. Заземляющий проводник присоединяют к заземлителю, имеющему непосредственное соединение с землей. При замыкании фазы на корпус электрооборудования большая часть тока замыкания пройдет через заземляющий проводник, а меньшая через тело человека, прикоснувшегося к электрооборудованию, так как сопротивление металлического проводника во много раз меньше, чем сопротивление тела человека. Схема присоединения электрооборудования к защитному заземлению показана на рис. XV.1, б. Защитное заземление применяется в сетях с изолированной нейтралью для уменьшения проходящего через тело человека тока замыкания на землю до безопасной величины. Поскольку сети с изолированной нейтралью могут работать с неотключенным замыканием на землю или на корпус электрооборудования, в таких сетях необходим тщательный контроль за состоянием изоляции и своевременное устранение возникших повреждений. Сети напряжением до 1000 В с изолированной нейтралью, связанные через трансформатор с сетями напряжением выше 1000 В, должны быть защищены от опасности перехода высшего напряжения на сторону низшего при повреждении изоляции между обмотками низкого и высокого напряжения. Такой защитой является пробивной предохранитель, устанавливаемый в нейтрали или в одной из фаз на стороне низшего напряжения трансформатора. Защитное отключение. Приведенные выше способы предупреждения и защиты от поражения электрическим током имеют свои недостатки. Так, например, заземленное электрооборудование в сетях с изолированной нейтралью при однофазных замыканиях не отключается и остается под напряжением и при неблагоприятных обстоятельствах может служить причиной несчастного случая. Зануление электрооборудования в сетях с глухозаземленной нейтралью дает возможность автоматически отключить поврежденный участок сети, но с задержкой до нескольких секунд (время срабатывания плавкой вставки предохранителя или расцепителя автомата). За время задержки отключения может произойти поражение электрическим током обслуживающего персонала. Эти недостатки защитных зануления и заземления устраняет система защитного отключения. Защитным отключением называется система защиты, обеспечивающая автоматическое отключение быстродействующим устройством всех фаз аварийного участка с полным временем отключения с момента возникновения однофазного замыкания не более 0,2 с. Защитное отключение может применяться при снижении уровня изоляции в сетях напряжением до 1000 В с изолированной нейтралью и при однофазном замыкании на корпус электрооборудования в сетях с глухозаземленной нейтралью. Устройства защитного отключения имеют высокую чувствительность и быстродействие. Их токи срабатывания весьма малы (10 - 30 мА), поэтому они реагируют как на токи замыкания на землю, так и на токи утечки при снижении сопротивления изоляции сети, а их быстродействие (0,1 - 0,2 с) обеспечивает почти мгновенное отключение установки. Эти качества устройств защитного отключения почти полностью исключают возможность поражения от токов замыкания, опасных как по величине, так и по продолжительности действия.
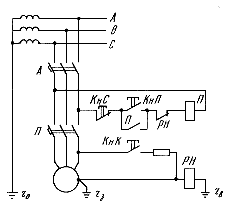
Схема защитного отключения с быстродействующим реле показана на рис. XV.2. Между корпусом электрооборудования и вспомогательным заземлителем rв включено защитное реле напряжения РН, реагирующее на величину напряжения по отношению к земле. Электрооборудование может быть заземлено через заземлитель rз или занулено через заземлитель r0 . При замыкании фазы на корпус электрооборудования на нем появляется напряжение. Если это напряжение превысит заданную величину, реле РН срабатывает, его контакт в цепи обмотки пускателя П размыкается и магнитный пускатель отключает электродвигатель от сети. Кнопка КнК служит для проверки действия защиты; КнП и КнС — кнопки пуска и остановки электродвигателя. Защитное отключение применяют в случаях, когда безопасность персонала не может быть обеспечена устройством зануления или заземления. Во взрывоопасных зонах искрение, возникшее при появлении разности потенциалов между попавшими под напряжение частями электрооборудования и землей, может вызвать воспламенение окружающей взрывоопасной смеси. Наличие зануления, заземления или защитного отключения устраняет эту опасность. Занулению (заземлению) подлежат корпуса электрических машин, аппаратов, светильников, кабельные конструкции, металлическая оболочка кабелей, стальные трубы электропроводки, лотки, короба, металлические конструкции щитов, панелей и т. п. Заземляющие устройства. Устройство, состоящее из заземлителей (электродов заземления) и соединенных с ним зануляющих (заземляющих) проводников называется заземляющим устройством. Заземляющие и зануляющие проводники . В качестве заземляющих и зануляющих проводников используют специально прокладываемые для этой цели провода, а также трубы электропроводки, алюминиевую оболочку кабелей, кожухи шинопроводов, лотки, короба, подкрановые пути, металлические фермы, колонны зданий. В сетях с изолированной нейтралью проводимость заземляющих проводников должна быть не менее 1/3 проводимости фазных проводников. Не требуется применять для заземления медные проводники сечением более 25 мм2 , алюминиевые проводники сечением более 35 мм2 и стальные проводники сечением более 120 мм2 . В сетях с глухозаземленной нейтралью проводимость зануляющих проводников должна быть не менее половины проводимости фазных проводников. При одинаковом материале фазных и зануляющих проводников это требование обеспечивается, если сечение зануляющего проводника будет не меньше половины фазного. В осветительных сетях с глухозаземленной нейтралью невзрывоопасных установок для защитного зануления необходимо использовать нулевые рабочие провода. Во взрывоопасных установках для защитного зануления прокладывают специальный проводник, проходящий по одной трассе и в непосредственной близости от фазных проводов. В трехфазных силовых сетях для этой цели используют четвертую жилу кабеля или четвертый провод, проложенный в стальной трубе, вместе с фазными проводами. В двухпроводных осветительных сетях взрывоопасных установок всех классов (кроме класса B-I) в качестве нулевого защитного провода допускается использовать нулевой рабочий провод, а в помещениях класса B-I прокладывают третий провод. В электроустановках с глухозаземленной нейтралью сечения (а значит и проводимость) зануляющих проводников должны быть такими, чтобы при замыкании фазы на корпус возникающий в петле фазовый провод - нулевой провод ток однофазного короткого замыкания обеспечивал срабатывание защиты - перегорание плавкой вставки предохранителя или отключение автомата. Для этого возникающий ток однофазного короткого замыкания в невзрывоопасных установках должен не менее чем в 3 раза превышать номинальный ток плавкой вставки ближайшего предохранителя или ток уставки автомата с обратно зависимой от тока характеристикой (например, с тепловым расцепителем), а при автоматах с электромагнитным расцепителем - в 1,25 - 1,4 раза номинальный ток уставки мгновенного срабатывания автомата. Во взрывоопасных установках для ускорения действия защиты сечения зануляющих проводов выбирают такими, чтобы возникающий ток однофазного короткого замыкания превышал ток плавкой вставки ближайшего предохранителя не менее чем в 4 раза, а номинальный ток автомата с обратно зависимой от тока характеристикой не менее чем в 6 раз. Требования к защите автоматики с электромагнитными расщепителями для взрывоопасных установок те же, что и для невзрывоопасных. При применении автоматических выключателей с комбинированным расцепителем, состоящим из теплового и электромагнитного элементов, для отключения однофазного короткого замыкания достаточно обеспечить срабатывание только теплового элемента, требующего по сравнению с электромагнитным элементом меньшей величины тока замыкания. Величину тока однофазного короткого замыкания в А, возникающего в петле фаза - нулевой провод при однофазном замыкании на корпус, определяют по формуле
где Uф - фазовое напряжение сети, В;
rф и rн - активное сопротивление фазных и зануляющих проводников, Ом; x - реактивное сопротивление, Ом (определяется только для электропроводок в стальных трубах); Zт/3 - сопротивление трансформатора, Ом. Значения активных сопротивлений жил проводов и кабелей и алюминиевой оболочки трехжильных кабелей, используемой в качестве зануляющего проводника, приведены в табл. XV.1 (реактивное сопротивление не учитывается в силу его незначительности). Сопротивления даны при температуре нагрева жил при полной токовой нагрузке, допускаемой по нормам (для проводов и кабелей с резиновой и пластмассовой изоляцией 70° C, для кабелей с бумажной изоляцией 80° C). Величины активного и реактивного сопротивлений стальных труб электропроводки, используемых в качестве зануляющих проводников, приведены в табл. XV.2. Поскольку удельное сопротивление стальных труб зависит от величины проходящего по ним тока, приведенные в таблице значения активных и реактивных сопротивлений определены по величине тока однофазного короткого замыкания, который может пройти по петле фаза - нуль при указанных в таблице сечениях проводов и диаметров труб.
Для выбора зануляющих проводников из полосовой стали в табл. XV.3 приведены размеры стальных полос, эквивалентных по проводимости алюминиевым и медным проводам указанных в таблице сечений. Расчетные сопротивления трансформаторов Zт/3 при вторичном напряжении 400/230 В приведены в табл. XV.4.
Пример. Во взрывоопасном помещении установлен электродвигатель мощностью 40 кВт, с номинальным током Iн = 77 А и пусковым током Iп = 577 А. Электродвигатель присоединен к распределительному щиту кабелем длиной 95 м. Питание щита осуществляется от трансформатора мощностью 630 кВ·А кабелем длиной 30 м, сечением 3¤95+1¤35 мм2 с алюминиевыми жилами. Трансформатор имеет соединение звезда - звезда с выведенным нулем. Требуется выбрать марку кабеля, сечение жил и защитный аппарат к электродвигателю; проверить действие защиты при замыкании фазы на корпус электродвигателя. Решение. Выбираем к электродвигателю кабель ВБВ с медными жилами сечением 3¤25+11¤16 мм2 , с допускаемой нагрузкой 105 А, что составляет 138% номинального тока электродвигателя (по ПУЭ требуется не менее 125%). В качестве защитного аппарата устанавливается автоматический выключатель А3124 на номинальный ток 100 А, с комбинированным расцепителем — тепловым на 100 А для защиты от перегрузки и электромагнитным для защиты от токов короткого замыкания с установкой мгновенного срабатывания на 800 А. При пуске электродвигателя автомат не отключится, так как пусковой ток электродвигателя 577 А, а электромагнитный расцепитель срабатывает при 800 А. Для проверки действия защиты при однофазном коротком замыкании на корпус электродвигателя определим суммарное сопротивление петли фаза - нуль. 1. Сопротивление трансформатора 630 кВ·А 0,043 Ом; 2. Активное сопротивление фазных шин алюминиевого кабеля 95 мм2 = 0,408 Ом/км; сопротивление нулевой жилы 35 мм2 = 1,11 Ом/км (табл. XV.1). Сопротивление на участке длиной 30 м (0,030 км): фазной жилы 95 мм2 ... 0,408·0,03 = 0,01224 Ом; нулевой жилы 35 мм2 ... 1,110·0,03=0,03330 Ом. 3. Активное сопротивление фазных жил медного кабеля 25 мм2 = 0,888 Ом/км; сопротивление нулевой жилы 16 мм2 = 1,39 Ом/км. Сопротивление на участке 95 м (0,095 км): фазной жилы 25 мм2 , ..... 0,888·0,095 = 0,08436 Ом, нулевой жилы 16 мм2 ..... 1,390·0,095 = 0,13205 Ом. 4. Полное сопротивление петли фаза—нуль: Rп = 0,043 + 0,01224 + 0,03330 + 0,08436 + 0,13205 = 0,30495 Ом. Ток однофазного короткого замыкания определится по формуле (IV.1):
что превышает номинальный ток теплового элемента расщепителя автоматического выключателя в 721 / 100 = 7,21 раз (для взрывоопасных установок требуется не менее чем в 6 раз). Таким образом, выбранный автомат надежно отключает поврежденный участок. Аналогичным образом ведется расчет при использовании в качестве зануляющих проводников алюминиевой оболочки кабеля, стальных труб электропроводки и стальных полос. Зануляющие (заземляющие) проводники из стальных полос крепятся в сухих помещениях непосредственно к опорной поверхности (рис. XV.3, a), в помещениях сырых и с химически агрессивными средами - на опорах, на расстоянии 10 - 20 мм от поверхности основания (рис. XV.3, б). Непрерывность электрической цепи стальных труб электропроводки обеспечивается муфтами на резьбе, а тонкостенных труб приваркой в двух точках соединительной манжеты к трубе (рис. XV.3, в). Отдельные элементы используемых строительных металлоконструкций (ферм, балок, колонну соединяют между собой перемычкой на сварке (рис. ХV.3, г), а в местах пересечения температурных швов гибкой перемычкой из стального троса с соединительной гильзой (рис. XV.3, д).
Заземлители. Для непосредственного соединения с землей зануляемых и заземляемых частей электроустановок служат заземлители, которые могут быть естественными и искусственными. В качестве естественных заземлителей используют металлические конструкции зданий и сооружений, имеющие надежное соединение с землей, свинцовые оболочки кабелей и проложенные в земле трубопроводы (кроме труб с горючими газами и жидкостями). Алюминиевые оболочки кабелей и голые алюминиевые провода использовать в качестве заземлителей нельзя, так как они покрываются оксидной пленкой, плохо проводящей ток. Искусственные заземлители применяют горизонтальные и вертикальные. Вертикальные заземлители изготовляют из стальных круглых стержней диаметром 12 - 16 мм, длиной 4,5 - 5 м, а также из стальных уголков 50¤50 мм и отбракованных стальных водопроводных труб диаметром 40 - 50 мм, длиной 2,5 - 3 м. Приближенное значение сопротивления растеканию тока одного вертикального заземлителя в Ом можно определить по формуле R = ρ / l , (XV.2) где ρ - удельное сопротивление грунта, Ом·м (табл. XV.5); l - длина вертикального заземлителя, м.
Обычно заземляющее устройство выполняют из нескольких заземлителей (стержней, уголков, труб), закладываемых в землю в ряд или по контуру. Общее сопротивление группы вертикальных заземлителей определяют по формуле Rв.о = Rв / nη , (XV.3) где Горизонтальные заземлители применяют для соединения между собой вертикальных заземлителей, реже - в качестве самостоятельных заземлителей. Их изготовляют из стальных полос толщиной 4 - 5 мм или из стальных прутков диаметром 12 - 16 мм и закладывают в землю на глубину 500 - 700 мм. Сопротивление растеканию горизонтального заземлителя определяют по формуле
Полное сопротивление растеканию вертикальных и горизонтальных заземлителей определится по формуле
В электроустановках напряжением выше 1000 В с токами замыкания на землю более 500 А, сопротивление заземляющего устройства должно быть не более 0,5 Ом. В электроустановках напряжением выше 1000 В с токами замыкания, равными или меньше 500 А, без компенсации емкостных токов сопротивление заземляющего устройства определяется по формуле
Если это же заземляющее устройство используется одновременно и для электроустановок напряжением до 1000 В, то сопротивление земляющего устройста определяется по формуле
где В сетях с компенсацией емкостных токов сопротивление заземляющего устройства также рассчитывается по приведенным выше формулам. При этом за расчетный ток принимают: для заземляющих устройств, к которым присоединяют компенсирующие аппараты - ток, равный 125% номинального тока этих аппаратов; для заземляющих устройств, к которым не присоединены аппараты, компенсирующие емкостный ток, - остаточный ток замыкания на землю, который может иметь место в данной сети при отключении наиболее мощного из компенсирующих аппаратов, но не менее 30 А. Сопротивление заземляющего устройства, к которому присоединяют нейтраль трансформатора в электроустановках напряжением до 1000 В с глухозаземленной нейтралью, и заземляющее устройство, используемое для заземления электрооборудования в электроустановках напряжением до 1000 В с изолированной нейтралью, должно быть не более 4 Ом. При мощности трансформатора 100 кВ·А и меньше сопротивление заземляющего устройства может быть повышено до 10 Ом. Пример. Определяем количество вертикальных заземлителей для заземления нейтрали трансформатора. Общее сопротивление растеканию заземлителей Rв.о = 4 Ом. Удельное сопротивление грунта ρ = 60 Ом·м Решение. В качестве заземлителей принимаем круглые стальные стержни диаметром 16 мм, длиной 5 м. Сопротивление растеканию тока одного вертикального заземлителя по формуле (XV.3):
При расположении заземлителей в один ряд η = 0,9. Из формулы (XV.5): определим необходимое количество заземлителей
Вертикальные заземлители из стальных круглых стержней заглубляют в землю ввертыванием электродрелью (рис. XV.4), а при отсутствии источника питания - ямобуром, для чего на конец стержня приваривают направляющие, изогнутые по винтовой линии (рис. XV.5, a). Заземлители из угловой стали и труб забивают в землю передвижным механическим копром или вибромолотом. Глубина заложения вертикального заземлителя должна быть такой, чтобы верхний конец его был на глубине 500 - 700 мм от поверхности спланированной земли. В местах с плохопроводящим грунтом для улучшения проводимости применяют увлажнение грунта или подсыпку поваренной соли (рис. XV.5, б). Заземляющие проводники и горизонтальные заземлители соединяют с вертикальными заземлителями сваркой (рис. XV.5, в).
Присоединение зануляющих и заземляющих проводников. Для присоединения зануляющих и заземляющих проводников все виды электрооборудования имеют на металлическом корпусе заземляющий болт (винт) с отличительным знаком "Земля". Каждый элемент электроустановки присоединяется к зануляющей (заземляющей) магистрали отдельным проводником (рис. XV.6, a). Последовательное присоединение (рис. XV.6, б) через корпус электрооборудования не допускается, так как при снятии на ремонт одного из элементов электроустановки непрерывность заземляющей цепи всей установки нарушается. Силовые трансформаторы зануляют (заземляют) присоединением заземляющего проводника к заземляющему болту 1 на корпусе трансформатора (рис. XV.7). Для возможности выкатки трансформатора на ревизию или для замены соединение заземляющего проводника 3 с трансформатором выполняют гибкой съемной перемычкой 2. В сетях с глухозаземленной нейтралью нулевая шина присоединяется к заземлителю (рис. XV.7, a); в сетях с изолированной нейтралью одна из фаз присоединяется к заземленному корпусу трансформатора через пробивной предохранитель 4 (рис. XV.7, б).
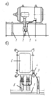
Электродвигатели, устанавливаемые на бетонном фундаменте или на салазках, зануляют (заземляют) присоединением заземляющего проводника к заземляющему болту на корпусе электродвигателя. Для электродвигателей, установленных на металлических конструкциях, достаточно заземлить эти конструкции, приварив к ним заземляющий проводник 1 (рис. XV.8, а). В случае подвода питания к электродвигателю кабелем или изолированными проводами в стальной трубе (рис. XV.8, а) заземляющими проводниками могут служить металлическая оболочка кабеля и стальная труба электропроводки 2, которые присоединяются перемычкой 3 к заземляющему болту 4 электродвигателя. Пусковые аппараты (рис. XV.8, б) зануляют (заземляют) присоединением заземляющего проводника 1 к крепежным металлическим конструкциям, на которых установлен аппарат 6, или к болту заземления 4 на самом аппарате. Броня кабеля 5 заземляется присоединением перемычки 3 к заземляющему болту 4. Взрывозащищенные электродвигатели имеют по два заземляющих болта. Один из них расположен внутри вводной коробки и предназначен для присоединения зануляющего проводника в виде четвертого провода при электропроводках в стальных трубах или четвертой жилы при кабельных проводках и металлической оболочки кабеля, вводимого внутрь коробки электродвигателя. Другой болт расположен снаружи, на корпусе электродвигателя, и предназначен для присоединения внешних заземляющих проводников стальной трубы электропроводки или стальной полосы. Для зануления и заземления достаточно присоединить заземляющий проводник к одному из этих двух болтов. Светильники в сетях с глухозаземленной нейтралью зануляют присоединением нулевого рабочего провода 2 осветительной сети к заземляющему винту 4 на корпусе светильника перемычкой 3 либо при выходе нулевого провода из трубы (рис. XV.9, a), либо на ближайшем ролике или изоляторе (рис. XV.9, б). В сетях с изолированной нейтралью в качестве заземляющего проводника используют трубу электропроводки 1 (рис. XV.9, в), для чего флажок 5 на трубе соединяют перемычкой 3 с заземляющим винтом 4 на светильнике. Если же труба ввертывается в светильник, то заземление осуществляется соединением на резьбе металлического корпуса светильника с заземленной трубой.
Пылеводозащищенные светильники, питающиеся кабелями ВРГ, НРГ и СРГ (рис. XV.9, г) в сетях с глухозаземленной нейтралью, зануляют непосредственно в светильнике присоединением нулевого провода 2 к заземляющему винту 4, а в сетях с изолированной нейтралью присоединением к заземляющему винту 4 третьей (заземляющей) жилы кабеля. Взрывозащищенные светильники (рис. XV.9, д) в установках всех классов, кроме класса B-I, зануляют присоединением нулевого рабочего провода к заземляющему винту 4 внутри светильника, а в установках класса B-I присоединением к винту 4 отдельного (третьего) заземляющего проводника 7. 45) Средства индивидуальной защиты на производстве, классификация, условия использования Cредства индивидуальной защиты (СИЗ) — приспособления, предназначенные для защиты кожных покровов и органов дыхания от воздействия отравляющих веществ и других вредных примесей в воздухе. Такие средства делятся на средства индивидуальной защиты органов дыхания (СИЗОД) и средства защиты кожи. К СИЗОД относятся противогазы, респираторы, ватно-марлевые повязки, к средствам защиты кожи — защитные костюмы. Выбор средств защиты производится с учётом их назначения и защитных свойств, конкретных условий обстановки и характера заражения. Классификациясредства индивидуальной защитыКлассификация СИЗ в России устанавливается ГОСТ 12.4.011-89, где в зависимости от назначения они подразделяются на 11 классов, которые, в свою очередь, в зависимости от конструкции подразделяются на типы: 1. Одежда специальная защитная(тулупы, пальто, полупальто, накидки, халаты и т. д.) 2. Средства защиты рук(рукавицы, перчатки, напалечники, нарукавники и т. д.) 3. Средства защиты ног(сапоги, ботинки, туфли, балахоны, тапочки и т. д.) 4. Cредства защиты глаз и лица(очки защитные, щитки лицевые) 5. Средства защиты головы(каски, шлемы, шапки, береты и т. д.) 6. Средства защиты органов дыхания(противогазы, респираторы, самоспасатели и т. д.) 7. Костюмы изолирующие(пневмокостюмы, скафандры и т.д) 8. Средства защиты органов слуха(затычки, наушники, беруши и т. д.) 9. Средства защиты от падения с высоты(предохранительные пояса, тросы и т. д.) 10. Средства дерматологические защитные(очистители кожи, репативные средства) 11. Средства защиты комплексные Контроль качества СИЗВсе СИЗ поступающие на предприятия, выдаются работникам после проверки комиссией(состав утверждается работодателем). Основной задачей комиссии является предупреждение использования на предприятии СИЗ:
Проверка СИЗ проводится по мере поступления на склад, но не позднее чем через 10 дней со дня поступления. Для проверки на предприятии должно выделятся помещение с рабочим столом и измерительные приборы, нормативно-технической документацией, каталогами, справочниками и др. Каждая партия вновь поступивших на предприятие СИЗ должна быть подвергнута внешнему осмотру и проверке на соответствие заявленному ассортименту по моделям, размерам, ростам, расцветке, родовому признаку, назначению. Большие партии подвергаются выборочному контролю, но не менее 10 % от всего объема. Основным признаком, подтверждающим соответствие СИЗ нормам, является сертификат соответствия и соответствующий знак, маркируемый по ГОСТ 50460-92. По результата проверки СИЗ составляется акт установленной формы. В случаях несоответствия ИСЗ подлежат возврату поставщику. Правила обеспечения СИЗ на предприятияхОсновным нормативно-правовым актом, определяющим порядок обеспечения работников СИЗ, являются Правила обеспечения работников специальной одеждой, специальной обувью и другими средствами индивидуальной защиты , утвержденные постановлением Министерства труда и социального развития России от 18 декабря 1998 года № 51. Правила предусматривают обеспечение СИЗ по Типовым нормам независимо от того, к какой отрасли экономики относятся производства, а так же независимо от форм собственности организаций. В отдельных случаях в соответствии с особенностями производства работодатель может по согласованию с государственным инспектором по охране труда и соответствующим профсоюзным органом или иным уполномоченным работниками представительным органом заменять один вид средств индивидуальной защиты, предусмотренных Типовыми отраслевыми нормами, другим, обеспечивающим полную защиту от опасных и вредных производственных факторов: комбинезон хлопчатобумажный может быть заменен костюмом хлопчатобумажным или халатом и наоборот, костюм хлопчатобумажный — полукомбинезоном с рубашкой (блузой) или сарафаном с блузой и наоборот, костюм суконный — костюмом хлопчатобумажным с огнезащитной или кислотозащитной пропиткой и наоборот, костюм брезентовый — костюмом хлопчатобумажным с огнезащитной или водоотталкивающей пропиткой и наоборот, ботинки (полусапоги) кожаные — сапогами резиновыми и наоборот, ботинки (полусапоги) кожаные — сапогами кирзовыми и наоборот, валенки — сапогами кирзовыми и наоборот, фартук прорезиненный — фартуком из полимерных материалов и наоборот, рукавицы — перчатками и наоборот, перчатки резиновые — перчатками из полимерных материалов и наоборот, вачеги — перчатками теплостойкими из синтетического материала и наоборот, нарукавники пластикатовые — нарукавниками из полимерных материалов и наоборот. В тех случаях, когда такие средства индивидуальной защиты, как жилет сигнальный, предохранительный пояс, диэлектрические галоши и перчатки, диэлектрический резиновый коврик, защитные очки и щитки, респиратор, противогаз, защитный шлем, подшлемник, накомарник, каска, наплечники, налокотники, самоспасатели, антифоны, заглушки, шумозащитные шлемы, светофильтры, виброзащитные рукавицы и другие, не указаны в Типовых отраслевых нормах, они могут быть выданы работодателем работникам на основании аттестации рабочих мест в зависимости от характера выполняемых работ со сроком носки — до износа или как дежурные и могут включаться в коллективные договоры и соглашения. Работодатель обязан заменять или ремонтировать СИЗ пришедшее в негодность до окончания сроков носки по причинам, не зависящим от работника. Решение задач Задача № 4. Определите уровень шума в октавной полосе F на территории предприятия, если уровень звукового давления источника шума Lр, дБ. Кратчайшее расстояние от центра источника шума до расчетной точки r, м; фактор направленности r источника шума Ф=5;6;7. Затухание звука в атмосфере ∆, дБ/м. Сделайте вывод об экологической чистоте акустической среды территории предприятия и дайте рекомендации по применению средств для уменьшения шума оборудования, характеризующегося высоким уровнем звукового давления.
Решение Задачи №4: Уровень звукового давления на территории предприятия рассчитывается по формуле:
где Lр – октавный уровень звуковой мощности источника шума, дБ; r – кратчайшее расстояние от центра источника шума до расчетной точки, м; ф – фактор направленности источника шума, безразмерная величина; ∆ - затухание звука в атмосфере (по условию задачи), дБ/м. Решение: Lр =90 дБ r = 50 м ф = 7 ∆ = 0,012 дБ/м
Уровень шума на территории предприятия составил 55,02 дБ Вывод: Исходя из таблицы Допустимых уровней звукового давления: Допустимые уровни звукового давления, уровни звука и эквивалентные уровни звука на рабочих местах в производственных помещениях и на территории предприятий (СН 2.2.4/2.1.8.582-96).
Можно сделать вывод, что уровень звукового давления в пределах нормы и работник в этой зоне может заниматься следующими видами деятельности: творческая деятельность, руководящая работа с повышенными требованиями, научная деятельность, конструирование и проектирование, программирование, преподавание и обучение.Задача №20. Определите количество избыточной теплоты, выделяющейся в производственное помещение, если в нем установлено оборудование с теплоотдающей поверхностью F, м2
. Коэффициент теплоотдачи поверхности оборудования
Решение Задачи №20: Количество избыточной теплоты, подлежащей удалению из помещения, рассчитывают по формуле:
где Σθпт – теплота, поступающая в помещение от различных источников в течение часа, Вт; Σθр – расходуемая теплота, теряемая стенами здания, уходящая через оконные проемы и т.п. за один час, Вт. Суммарное количество теплоты, поступающей в помещение, определяют по формуле:
где
где F – площадь теплоотдающей поверхности, м2 α – коэффициент теплоотдачи, Вт/м2 0 С tпов . – температура горячей поверхности, 0 С tнорм . – нормативная температура воздуха в производственном помещении, 0 С
где М – масса нагретой продукции, кг; См – теплоемкость нагретой массы, Вт/ кг0 С; tм – температура массы по фактическому замеру, 0 С; tнорм – нормативная температура воздуха в производственном помещении, 0 C;
Количество теплоты ( электрической энергии в тепловую в течение часа
где Р – общая установочная мощность электродвигателей, кВт
φ – коэффициент использования электроэнергии (загрузка установочной мощности), принимают 0,75 z – коэффициент одновременности работы оборудования, принимают 0,9 103 – тепловой эквивалент электричества, Вт/кВт·ч Решение: F=20 м2tn =40 0 Сtн =240 СМ=200 кгСМ =0,25 Вт/кг0 Сtм = 90 0 СР= 40 кВт
|
||||||||||||||||||||||||||||||||||||||||||||||||||||||||||||||||||||||||||||||||||||||||||||||||||||||||||||||||||||||||||||||||||||||||||||||||||||||||||||||||||||||||||||||||||||||||||||||||||||||||||||||||||||||||||||||||||||||||||||||||||||||||||||||||||||||||||||||||||||||||||||||||||||||||||||||||||||||||||||||||||||||||||||||||||||||||||||||||||||||||||||||||||||||||||||||||||||||||||||||||||||||||||||||||||||||||||||||||||||||||||||||||||||||||||||||||||









,
, Вт,